//
ТехЛит.ру
- крупнейшая бесплатная электронная интернет библиотека для "технически умных" людей.
WWW.TEHLIT.RU - ТЕХНИЧЕСКАЯ ЛИТЕРАТУРА

:: Алготрейдинг::


АЛГОТРЕЙДИНГ
шаг за шагом
с нуля по урокам!

Торговые роботы на PYTHON, BackTrader,
Pandas, Pine Script для TradingView. Связка с брокерами, телеграм и легкими приложениями.


ГОСУДАРСТВЕННЫЙ СТАНДАРТ СОЮЗА ССР

УСТАНОВКИ КОМПАКТНЫЕ
ДЛЯ ОЧИСТКИ ПОВЕРХНОСТНЫХ
ВОД НА ПИТЬЕВЫЕ НУЖДЫ

ТИПЫ, ОСНОВНЫЕ ПАРАМЕТРЫ И РАЗМЕРЫ

ГОСТ 25297-82

ГОСУДАРСТВЕННЫЙ КОМИТЕТ СССР ПО ДЕЛАМ СТРОИТЕЛЬСТВА

Москва

РАЗРАБОТАН Министерством жилищно-коммунального хозяйства РСФСР

ИСПОЛНИТЕЛИ

А.М. Перлина, канд. техн. наук (руководитель темы); В.М. Корабельников, канд. техн. наук; Э.М. Михайлова; Е.А. Артемов; Б.В. Тамбовцев

ВНЕСЕН Министерством жилищно-коммунального хозяйства РСФСР

Член Коллегии К.К. Клопотов

УТВЕРЖДЕН И ВВЕДЕН В ДЕЙСТВИЕ Постановлением Государственного комитета СССР по делам строительства от 26 апреля 1982 г. № 106

ГОСУДАРСТВЕННЫЙ СТАНДАРТ СОЮЗА ССР

УСТАНОВКИ КОМПАКТНЫЕ ДЛЯ ОЧИСТКИ
ПОВЕРХНОСТНЫХ ВОД НА ПИТЬЕВЫЕ НУЖДЫ

Типы, основные параметры и размеры

Compact treatment plants for surface potable water.

Types, basic parameters and dimensions

ГОСТ
25297-82

Постановлением Государственного комитета СССР по делам строительства от 26 апреля 1982 г. № 106 срок введения установлен

с 01.01. 1983 г.

1. Настоящий стандарт распространяется на компактные установки заводского изготовления, работающие на реагентной (Р) и безреагентной (БР) схемам, предназначенные для очистки поверхностных вод с целью их использования в системах хозяйственно-питьевого водоснабжения.

2. Типы, основные размеры и параметры установок в зависимости от метода обработки воды и производительности должны соответствовать указанным в таблице и на чертеже.

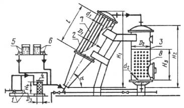
3. Основными элементами установок являются:

насосы подачи воды, трубчатый отстойник, скорый фильтр, сетчатый фильтр, блок обеззараживания воды и блок коагулирования воды.

4. Установки должны изготавливаться в соответствии с требованиями настоящего стандарта по рабочим чертежам, утвержденным в установленном порядке.

5. Для изготовления установок и при их эксплуатации должны применяться материалы и реагенты, разрешенные Минздравом СССР для применения в практике хозяйственно-питьевого водоснабжения.

1 - насосы подачи воды; 2 - трубчатый отстойник; 3 - скорый фильтр; 4 - сетчатый фильтр; 5 - блок коагулирования воды; 6 - блок обеззараживания воды; 7 - трубчатые элементы отстойника; 8 - загрузка скорого фильтра


Типы установок

Производительность, м3/сут

Рабочее давление, МПа, (кгс/см2), не более

Металлоемкость, т, не более

Потребляемая мощность, кВт, не более

Основное оборудование

Трубчатый отстойник

Скорый фильтр

Сетчатый фильтр

Количество, шт.

Диаметр D1, м

Высота Н1, м

Длина трубчатого элемента l, м

Диаметр трубок d1, мм

Угол наклона

Количество, шт.

Диаметр D2, м

Высота Н2, м

Высота фильтрующей загрузки Н3, м

Крупность зерен загрузки d2, мм

Количество, шт.

Диаметр D3, м

Высота Н4, м

При работе по реагентной схеме

Струя 100Р

100

0,3 (3)

2,8

1,5

1

1

4,7

2,0

40 - 80

60°

1

1,0

4,0

1,5

0,8 - 2

1

0,35

0,6

Струя 200Р

200

0,3 (3)

4,8

2,3

2

1

4,7

2,0

40 - 80

60

2

1,0

4,0

1,5

0,8 - 2

1

0,35

0,6

Струя 400Р

400

0,3 (3)

5,1

4,8

1

2

5,0

2,0

40 - 80

60

1

2,0

4,3

1,5

0,8 - 2

1

0,4

0,75

Струя 800Р

800

0,3 (3)

10,2

8,3

2

2

5,0

2,0

40 - 80

60

2

2,0

4,3

1,5

0,8 - 2

1

0,4

0,75

При работе по безреагентной схеме

Струя 25БР

25

0,3 (3)

2,8

0,8

1

1

4,7

2,0

40 - 80

60

1

1,0

4,0

1,5

0,3 - 1

1

0,35

0,6

Струя 50БР

50

0,3 (3)

4,8

1,0

2

1

4,7

2,0

40 - 80

60

2

1,0

4,0

1,5

0,3 - 1

1

0,35

0,6

Струя 100БР

100

0,3 (3)

5,1

1,2

1

2

5,0

2,0

40 - 80

60

1

2,0

4,3

1,5

0,3 - 1

1

0,4

0,75

Струя 200БР

200

0,3 (3)

10,2

2,1

2

2

5,0

2,0

40 - 80

60

2

2,0

4,3

1,5

0,3 - 1

1

0,4

0,75

Продолжение

Типы установок

Блок коагулирования

Блок обеззараживания

Насос подачи воды

Баки для раствора

Дозатор

Баки для раствора

Дозатор

Количество, шт.

 

 

Количество, шт.

Вместимость, м3

Количество, шт.

Подача, л/ч

Напор, м, не менее

Количество, шт.

Вместимость, м3

Количество, шт.

Подача, л/ч

Напор, м, не менее

Подача, м3/ч, не менее

Напор, м, не менее

При работе по реагентной схеме

Струя 100Р

1

0,32

2

1 - 5

50

1

0,32

1

1 - 5

50

2

6,0

35

Струя 200Р

1

0,32

2

2 - 10

50

1

0,32

1

2 - 10

50

2

12,0

35

Струя 400Р

1

2,0

2

4 - 20

50

1

2,0

1

4 - 20

50

2

18,0

35

Струя 800Р

1

2,0

2

8 - 40

50

1

2,0

1

8 - 40

50

2

24,0

35

При работе по безреагентной схеме

Струя 25БР

-

-

-

-

-

1

0,32

2

0,5 - 1

50

2

1,5

35

Струя 50БР

-

-

-

-

-

1

0,32

2

1 - 5

50

2

3,0

35

Струя 100БР

-

-

-

-

-

1

0,32

2

2 - 10

50

2

4,5

35

Струя 200БР

-

-

-

-

-

1

2,0

2

4 - 20

50

2

6,0

35


6. Трубчатые отстойники, скорые и сетчатые фильтры, баки для растворов реагентов должны изготовляться из углеродистой стали обыкновенного качества по ГОСТ 380-71.

7. Баки для растворов реагентов должны иметь внутреннее антикоррозионное покрытие.

8. Оборудование установок следует размещать в соответствии с проектом их привязки, выполненным для данного конкретного объекта.

В зависимости от конкретных условий привязки установки насосы подачи воды могут не предусматриваться.

9. При работе установки по реагентной схеме мутность исходной (поверхностной) воды не должна превышать 1000 мг/л, цветность 300°, при работе по безреагентной схеме - соответственно 100 мг/л и 40°.

При больших значениях мутности и цветности воды необходимо производить предварительную ее очистку до указанных пределов.

10. Очищенная на установках вода должна соответствовать требованиям ГОСТ 2874-73.

11. Дозы реагентов (коагулянт, хлорреагент) устанавливаются для различных периодов года в зависимости от качества исходной (обрабатываемой) воды в соответствии с действующими методиками и корректируются в период наладки и эксплуатации установок.

12. Периодичность и режим промывки скорого фильтра, отстойника и сетчатого фильтра устанавливаются в зависимости от местных условий в соответствии с действующими нормативно-техническими документами и уточняются в процессе наладки и эксплуатации.




Яндекс цитирования



   Copyright © 2007-2026,  www.tehlit.ru.

[ ѓосты, стандарты, нормативы, инструкции, правила, строительные нормы ]