//
ТехЛит.ру
- крупнейшая бесплатная электронная интернет библиотека для "технически умных" людей.
WWW.TEHLIT.RU - ТЕХНИЧЕСКАЯ ЛИТЕРАТУРА

:: Алготрейдинг::


АЛГОТРЕЙДИНГ
шаг за шагом
с нуля по урокам!

Торговые роботы на PYTHON, BackTrader,
Pandas, Pine Script для TradingView. Связка с брокерами, телеграм и легкими приложениями.


ГОСУДАРСТВЕННЫЙ СТАНДАРТ СОЮЗА ССР

УСТАНОВКИ КОМПАКТНЫЕ
ДЛЯ ОЧИСТКИ БЫТОВЫХ СТОЧНЫХ ВОД

ТИПЫ, ОСНОВНЫЕ ПАРАМЕТРЫ И РАЗМЕРЫ

ГОСТ 25298-82

ИЗДАТЕЛЬСТВО СТАНДАРТОВ

Москва

ГОСУДАРСТВЕННЫЙ СТАНДАРТ СОЮЗА ССР

УСТАНОВКИ КОМПАКТНЫЕ ДЛЯ ОЧИСТКИ
БЫТОВЫХ СТОЧНЫХ ВОД

Типы, основные параметры и размеры

Compact treatment plants for domestic sewage water.

Types, basic parameters and dimensions

ГОСТ
25298-82

Дата введения 01.01.83

1. Настоящий стандарт распространяется на компактные установки заводского изготовления, предназначенные для полной биологической очистки бытовых сточных вод, а также производственных сточных вод, близких по составу к бытовым, или их смесей.

При этом состав производственных сточных вод или их смесей с бытовыми должен удовлетворять требованиям, изложенным в строительных нормах и правилах по проектированию наружных сетей и сооружений канализации, утвержденных Госстроем СССР.

2. Установки подразделяют в зависимости от:

- технологического процесса - полное окисление, аэробная стабилизация активного ила;

- способа аэрации - мелко- или среднепузырчатая пневматическая, низконапорная, механическая, эжекционная.

3. Типы, основные параметры и размеры установок должны соответствовать указанным на черт.  1-  3 и в табл.  1 2. Отклонения от размеров не должны превышать ± 20 мм.

Зоны отстаивания могут располагаться с одной или двух сторон установки, а также в центральной ее части при соблюдении указанных размеров.

4. Установки должны изготавливаться в соответствии с требованиями настоящего стандарта и технических условий по рабочим чертежам, утвержденным в установленном порядке.

5. Все узлы установки и вспомогательное оборудование следует размещать в соответствии с проектом привязки установок.

6. Установки располагаются на открытом воздухе в районах с расчетной зимней температурой наружного воздуха не ниже минус 30 град. С, в отапливаемых помещениях - в районах с более низкими температурами.

7. Для изготовления установок необходимо применять углеродистую сталь обыкновенного качества по ГОСТ 380.

8. Поставка установок заводами-изготовителями должна осуществляться в комплекте с аэрационными системами, включая воздуходувки (при пневматической аэрации), вентиляторы (при низконапорной аэрации), насосы и эжекторы (при эжекционной аэрации) или привод аэратора (при механической аэрации).

Допускается поставка установок в разобранном виде (в объемных элементах, панелях) с комплектацией всеми элементами внутреннего устройства.

(Измененная редакция, Изм. № 1).

9. Бытовые сточные воды или смесь бытовых и производственных сточных вод при поступлении на установки очистки не должны иметь:

- БПКполн. выше 375 мг/л;

- содержание взвешенных веществ более 325 мг/л;

- температуру ниже 6 °С.

При больших значениях БПКполн. следует пропорционально снижать производительность установок по сточным водам.

10. Очищенные сточные воды должны иметь:

- БПКполн. не выше 15 мг/л;

- содержание взвешенных веществ не более 20 мг/л.

11. Периодичность удаления избыточного активного ила в зависимости от действительного загрязнения сточных вод и климатических условий уточняется в процессе эксплуатации установки в соответствии с ее паспортом и инструкцией по эксплуатации.

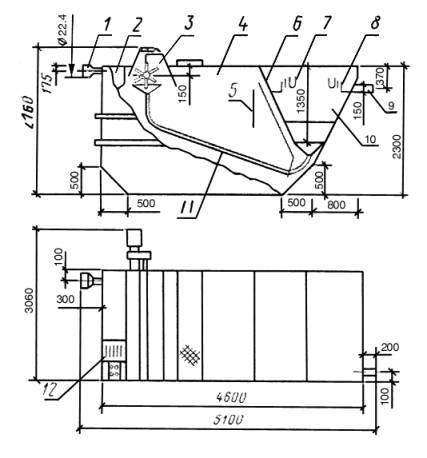
Установка КУ-12

1 - входной патрубок; 2 - лоток; 3 - аэратор; 4 - аэрационная зона; 5 - успокоительная перегородка; 6 - разделительная перегородка; 7 - скобы для погружных досок; 8 - сборные лотки с водосливами; 9 - отводной патрубок; 10 - отстойная зона; 11 - система возврата ила; 12 - решетка или решетка-дробилка

Черт. 1


Установки КУТМ-30; КУТМ-60; КУТМ-120

1 - аэрационная система; 2 - подающий лоток; 3 - аэротенк; 4 - сборный лоток; 5 - эрлифт; 6 - отстойник; 7 - блок тонкослойного модуля

Черт. 2

Примечание. На чертеже приведена пневматическая система аэрации.

Установка КУ-200

_______________

* Размеры для справок.

Примечание. На чертеже приведена пневматическая система аэрации.

1 - аэротенк; 2 - аэрационная система; 3 - эрлифты; 4 - сборные лотки; 5 - отстойник; 6 - эрлифты плавающих веществ; 7 - аэробный стабилизатор; 8 - выпуск ила; 9 - опорожнение аэротенка; 10 - отвод очищенных вод

Черт. 3

Черт. 2, 3 (Измененная редакция, Изм. № 1).

Таблица 1

Типы, основные параметры и размеры

Типы

Производительность, м3/сут

Метод очистки сточных вод

Максимальный расход сточных вод, м3

Габаритные размеры, мм, не более

Технологический объем, м3, не менее

Число блоков тонкослойных модулей

Габариты блоков тонкослойных модулей, мм

Металлоемкость, т, не более

высота

длина

ширина

зоны аэрации

зоны отстаивания

зоны аэробной стабилизации

КУ-12

12

Полное окисление

1,5

2750

5100

3060

12,0

3,0

-

-

-

2,7

КУТМ-30

30

То же

3,75

3950

2630

6330

29,0

2,5

-

2

980´1150´2005

5,2

КУТМ-60

60

То же

7,50

3950

4630

6330

58,0

5,0

-

4

980´1150´2005

7,5

КУТМ-120

120

То же

15,0

3950

8630

6330

116,0

10,0

-

8

980´1150´2005

12,7

КУ-200

200

Аэрация с аэробной стабилизацией избыточного ила

25,0

4200

13300

6880

90,0

35,0

45,0

-

-

18,2


Таблица 2

Основные параметры и размеры систем аэрации установок

Типы

Метод аэрации

Расход воздуха, л/с

Расход воды, л/с

Потребляемая мощность, кВт, не более

Механический аэратор

диаметр, мм

мощность электродвигателя, кВт

Число оборотов аэратора, об/мин

Масса, кг

КУ-12

Механический

-

-

1,0

500

1,5

90

-

КУТМ-30

Механический

-

-

1,2

500

1,5

150

220

Пневматический

14,1

-

1,5

-

-

-

-

Низконапорный

165

-

2,8

-

-

-

-

Эжекционный

-

8,5

1,5

-

-

-

-

КУТМ-60

Механический

-

-

2,1

600

3,0

90

300

Пневматический

28,3

-

2,0

-

-

-

-

Низконапорный

250

-

3,8

-

-

-

-

Эжекционный

-

17,0

3,0

-

-

-

-

КУТМ-120

Механический

-

-

3,6

800

4,5

90

500

Пневматический

56,6

-

4,0

-

-

-

-

Низконапорный

500

-

6,9

-

-

-

-

Эжекционный

-

34,0

6,0

-

-

-

-

КУ-200

Механический

-

-

4,4

1000

5,5

75

590

Пневматический

98

-

7,5

-

-

-

-

Низконапорный

850

-

11,0

-

-

-

-

Эжекционный

-

68,0

12,0

-

-

-

-

ИНФОРМАЦИОННЫЕ ДАННЫЕ

1. РАЗРАБОТАН И ВНЕСЕН Министерством жилищно-коммунального хозяйства РСФСР

РАЗРАБОТЧИКИ

Э. С. Разумовский, канд. техн. наук (руководитель темы); А. П. Чекрыгин; Л. В. Башкатова; Л. С. Васильева

2. УТВЕРЖДЕН И ВВЕДЕН В ДЕЙСТВИЕ Постановлением Государственного комитета СССР по делам строительства от 27.04.82 № 107

3. ВВЕДЕН ВПЕРВЫЕ

4. ССЫЛОЧНЫЕ НОРМАТИВНО-ТЕХНИЧЕСКИЕ ДОКУМЕНТЫ

5. ПЕРЕИЗДАНИЕ (апрель 1994 г.) с Изменением № 1, утвержденным в ноябре 1987 г. (ИУС 2-88)




Яндекс цитирования



   Copyright © 2007-2026,  www.tehlit.ru.

[ ѓосты, стандарты, нормативы, инструкции, правила, строительные нормы ]