//
ТехЛит.ру
- крупнейшая бесплатная электронная интернет библиотека для "технически умных" людей.
WWW.TEHLIT.RU - ТЕХНИЧЕСКАЯ ЛИТЕРАТУРА

:: Алготрейдинг::


АЛГОТРЕЙДИНГ
шаг за шагом
с нуля по урокам!

Торговые роботы на PYTHON, BackTrader,
Pandas, Pine Script для TradingView. Связка с брокерами, телеграм и легкими приложениями.


ГОСУДАРСТВЕННЫЙ СТАНДАРТ СОЮЗА ССР

 

ГРУНТЫ

МЕТОДЫ ЛАБОРАТОРНОГО ОПРЕДЕЛЕНИЯ
СОДЕРЖАНИЯ ОРГАНИЧЕСКИХ ВЕЩЕСТВ

ГОСТ 23740-79

 

 

ГОСУДАРСТВЕННЫЙ КОМИТЕТ СССР
ПО ДЕЛАМ СТРОИТЕЛЬСТВА

Москва

 

РАЗРАБОТАН Государственным комитетом СССР по делам строительства

ИСПОЛНИТЕЛИ

Г.В. Сорокина, канд. техн. наук; Н.П. Бетелев, канд. геол.-минер. наук Р.С. Зиангиров, д-р геол.-минер. наук; И.С. Бочарова; Т.А. Кудинова

ВНЕСЕН Государственным комитетом СССР по делам строительства

Член Коллегии В.И. Сычев

УТВЕРЖДЕН И ВВЕДЕН В ДЕЙСТВИЕ Постановлением Государственного комитета СССР по делам строительства от 20 июня 1979 г. № 89

 

ГОСУДАРСТВЕННЫЙ СТАНДАРТ СОЮЗА ССР

ГРУНТЫ

Методы лабораторного определения содержания органических веществ

Soils. Methods of laboratory determination
of organic composition

ГОСТ
23740-79

Постановлением Государственного комитета СССР по делам строительства от 20 июня 1979 г. № 89 срок введения установлен

с 01.01.1980 г.

Несоблюдение стандарта преследуется по закону

Настоящий стандарт распространяется на песчаные и глинистые грунты и устанавливает методы лабораторного определения содержания органических веществ при исследовании этих грунтов для строительства.

1. ОБЩИЕ ПОЛОЖЕНИЯ

1.1. Для определения содержания органических веществ в грунте надлежит установить раздельно количество растительных остатков и гумуса.

1.2. Растительные остатки следует выделить из грунта сухим или мокрым способом, после чего определить их количество.

1.3. Для установления количества гумуса необходимо определить содержание углерода разложившихся органических веществ в грунте - органического углерода (Сорг).

Для определения органического углерода надлежит применять методы:

оксидометрический;

сухого сжигания.

1.4. Оксидометрический метод следует применять для определения органического углерода в песчаных и глинистых грунтах, содержащих менее 10 % гумуса, а в грунтах, содержащих хлориды, - после удаления последних.

Метод не допускается применять для определения органического углерода в песчаных и глинистых грунтах морского, лиманного, старичного, озерного и болотного происхождения.

1.5. Метод сухого сжигания в кислороде следует применять для определения органического углерода в грунтах морского, лиманного, старичного, озерного, болотного происхождения и в грунтах, содержащих более 10 % гумуса, после удаления карбонатов.

1.6. Содержание органического углерода в грунте надлежит определять в процентах сухого вещества пробы и пересчитывать на количественное содержание гумуса, применяя коэффициент 1,724.

1.7. Отбор и транспортирование образцов грунтов ненарушенного сложения надлежит выполнять по ГОСТ 12071-72.

1.8. Органические вещества следует определять для средней пробы грунта в воздушно-сухом состоянии.

Вес средней пробы грунта должен быть не менее 100 гс.

1.9. Для проведения испытания необходимо пробу грунта воздушно-сухого состояния подготовить растиранием в фарфоровой ступке пестиком с резиновым наконечником: для определения и выделения растительных остатков - до размера агрегатов 3 - 5 мм; для определения органического углерода - до размера частиц менее 0,25 мм, а затем произвести пробу на хлориды и карбонатность.

1.10. Погрешность взвешивания проб должна быть не более 0,01 гс, при определении количества растительных остатков и не более 0,0002 гс при определении органического углерода.

1.11. Количество параллельных определений органических веществ должно быть не менее двух.

Погрешность результатов параллельных определений не должна превышать 2,5 % от средней определяемой величины. Если расхождение между результатами двух параллельных определений превышает 2,5 %, количество определений надлежит увеличить до трех и более.

За окончательный результат анализа следует принимать среднее арифметическое результатов параллельных определений.

1.12. Количество органических веществ следует определять с точностью до второго десятичного знака и регистрировать их в журнале (см. приложение 2) с указанием метода определения (пп. 1.2 и 1.3).

1.13. Термины и определения, применяемые в стандарте, приведены в приложении 1.

2. МЕТОД ОПРЕДЕЛЕНИЯ РАСТИТЕЛЬНЫХ ОСТАТКОВ

2.1. Растительные остатки надлежит выделить из средней пробы грунта воздушно-сухого состояния и определить их количество в процентах.

2.2. Аппаратура

Баня песчаная или водяная.

Весы лабораторные по ГОСТ 19491-74 с гирями по ГОСТ 7328-73.

Воронка стеклянная диаметром 14 см по ГОСТ 8613-75.

Груша резиновая.

Кисточка для сметания частиц с сита.

Лупа.

Мешалка.

Нож.

Пинцет.

Сита с сетками проволочными ткаными № 1 и 0,25 по ГОСТ 3584-73.

Стекло органическое листовое по ГОСТ 17622-72.

Цилиндр (см. приложение 3).

Ступка фарфоровая по ГОСТ 9147-73, пестик по ГОСТ 9147-73 с резиновым наконечником.

Термометр по ГОСТ 215-73, с погрешностью измерений до 0,5 °С.

Ткань суконная или шерстяная (кусочек).

Чашки фарфоровые по ГОСТ 9147-73.

Шкаф сушильный по ГОСТ 7365-55.

Шпатель по ГОСТ 9147-73.

Эксикатор по ГОСТ 6371-73 с кальцием хлористым 2-водным по ГОСТ 4161-77.

2.3. Проведение испытания

2.3.1. Подготовленный грунт надлежит тщательно перемешать и отобрать методом квадратов среднюю пробу не менее 25 гс. Одновременно следует отобрать пробу для определения гигроскопической влажности по ГОСТ 5180-75.

2.3.2. Взятую пробу необходимо поместить на стекло с подложенной под него бумагой (для фона). Растительные остатки следует тщательно отбирать (под лупой), раздавливая комочки грунта пинцетом (сухой способ). Для ускорения процесса удаления растительных остатков из грунта следует пользоваться неэлектризованной пластинкой из органического стекла, а при больших количествах растительных остатков применять отмучивание их в водопроводной воде (мокрый способ).

Сухую пластинку из органического стекла необходимо натереть кусочком шерстяной или суконной ткани и быстро провести ее над грунтом, распределенным тонким слоем на стекле или бумаге, следя, чтобы к пластинке не притягивались вместе с растительными остатками глинистые частицы. Пластинку следует держать примерно на 5 см выше слоя грунта.

2.3.3. Для отмучивания растительных остатков среднюю пробу грунта следует высыпать в заранее взвешенную фарфоровую чашку, взвесить, смочить водой, и слегка растереть пестиком с резиновым наконечником так, чтобы не повредить растительные остатки. Затем следует отмутить песок, для чего грунт заливают водой, перемешивают и сливают верхний слой с глинистыми частицами сквозь сито с сеткой № 1 в течение 5 - 8 с в большую фарфоровую чашку, следя, чтобы на сито не попал песок. Операцию необходимо повторять до полной отмывки песка в чашке.

Растительные остатки на сите следует отмыть от глинистых частиц и перенести во взвешенную фарфоровую чашку. Прошедшие сквозь сито глинистые частицы следует в чашке взболтать дать им возможность осесть, а растительные остатки, прошедшие сквозь сито с сеткой № 1, слить через сито с сеткой № 0,25 в другую чашку.

Растительные остатки, оставшиеся на ситах с сетками № 1 и 0,25, следует соединить в одной чашке, а воду выпарить на бане. Все прошедшие через сито частицы грунта следует из чашки перенести в цилиндр и проверить полноту выделения растительных остатков (см. приложение 3).

2.3.4. Выделенные песчаные, глинистые частицы и растительные остатки следует высушить в сушильном шкафу до постоянного веса при температуре 100 - 105 °С и взвесить с погрешностью не более 0,01 гс.

2.4. Обработка результатов

2.4.1.Количество растительных остатков Jот в процентах следует вычислить по формуле

где mso - вес сухих растительных остатков, гс;

ms - вес сухого грунта, гс.

Для пересчета воздушно-сухой навески на сухую применяют коэффициент  где wг - гигроскопическая влажность в процентах.

3. ОКСИДОМЕТРИЧЕСКИЙ МЕТОД

3.1. Органическое вещество надлежит окислить двухромовокислым калием в сильнокислой среде до образования углекислоты, затем оттитровать избыток двухромовокислого калия раствором соли Мора и определить содержание органического углерода в грунте по разности объемов соли Мора, израсходованных на титрование двухромовокислого калия в опыте без грунта и в опыте с грунтом.

3.2. Аппаратура и материалы

3.2.1. Аппаратура

Баня песчаная или баня водяная.

Бутыли с притертыми пробками емкостью 5000 мл.

Бутыль с притертой пробкой емкостью 10000 мл.

Бюретки.

Весы лабораторные по ГОСТ 19491-74 с гирями по ГОСТ 7328-73.

Воронки стеклянные по ГОСТ 8613-75 диаметром 3,5 и 10 см.

Капельницы лабораторные стеклянные по ГОСТ 9876-73.

Колбы конические плоскодонные из термостойкого стекла емкостью 100 и 2500 - 5000 мл.

Колба мерная по ГОСТ 1770-74 емкостью 1000 мл.

Палочки стеклянные.

Пробирки стеклянные по ГОСТ 10515-75.

Склянка типа СПТ (Тищенко) по ГОСТ 10378-73.

Стекло часовое.

Шкаф сушильный.

Чашки фарфоровые по ГОСТ 9147-73 диаметром 5 и 9 см.

Шпатель по ГОСТ 9147-73.

3.2.2. Материалы

Вода дистиллированная по ГОСТ 6709-72.

Калия гидрат окиси (кали едкое).

Калий двухромовокислый (бихромат) по ГОСТ 2652-78.

Калий марганцовокислый по ГОСТ 20490-75.

Кислота азотная по ГОСТ 4461-77.

Кислота серная по ГОСТ 4204-77.

Кислота фенилантраниловая.

Пирогаллол по ГОСТ 10451-63.

Натрий углекислый по ГОСТ 83-79.

Серебро азотнокислое по ГОСТ 1277-75.

Соль закиси железа и аммония двойная сернокислая (соль Мора) по ГОСТ 4208-72.

3.3. Подготовка к испытанию

3.3.1. Среднюю пробу весом около 3 гс следует отобрать способом квадратов из грунта (с удаленными растительными остатками и просеянного через сито с сеткой № 1), залить дистиллированной водой и перемешать в фарфоровой чашке стеклянной палочной в течение 15 мин.

3.3.2. Раствор необходимо отфильтровать в пробирку, подкислить раствором (1 н) азотнокислого серебра и перемешать (взбалтыванием). Если появляется сильная муть, из грунта перед определением углерода окислением органического вещества двухромовокислым калием следует удалить хлориды.

3.3.3. Для удаления хлоридов необходимо взять 25 гс подготовленного к анализу грунта. Навеску грунта следует поместить в стакан, залить дистиллированной водой, подкисленной несколькими каплями серной кислоты (1 н), и способом декантации перенести на фильтр.

Во взятой сухой навеcке грунта отмывать хлориды следует до исчезновения хлора (реакция на хлор). Отмытую навеску грунта с фильтра следует перенести в фарфоровую чашку, высушить до воздушно-сухого состояния на водяной бане и после охлаждения взвесить.

Для определения содержания углерода необходимо установить соотношение К1 между первоначальным весом взятого грунта и его весом после удаления хлоридов и высушивания

где m1 - вес воздушно-сухой пробы, взятой для удаления хлоридов, гс;

m2 - вес пробы после удаления хлоридов, гс.

3.4. Проведение испытания

3.4.1. Среднюю пробу весом 10 - 20 гс следует дополнительно растереть в ступке до размеров частиц, которые полностью проходят через сито с отверстиями сетки 0,25 мм (до состояния пудры) и тщательно перемешать.

Величина навески должна быть от 0,05 до 1 гс в зависимости от предполагаемого содержания гумуса в соответствии с таблицей.

Окраска сухого грунта

Содержание гумуса, %

Величина навески, гс

Очень черная или темно-коричневая

10 - 15

0,05 - 0,1

Черная или коричневая

7 - 10

0,1 - 0,15

Темно-серая

4 - 7

0,15 - 0,2

Серая

2 - 4

0,2 - 0,6

Светло-серая

1 - 2

0,5 - 1

Белесая

Менее 1

1,0

3.4.2. Одновременно необходимо отобрать пробу для определения гигроскопической влажности по ГОСТ 5180-75.

3.4.3. Пробу грунта следует взвесить на листочке кальки. Вес пробы определить по разности между весом кальки с пробой и весом после пересыпания пробы в коническую колбу емкостью 100 мл. Погрешность взвешивания должна быть в пределах ± 0,0002 гс.

3.4.4. К навеске грунта с помощью бюретки надлежит добавить 10 мл хромовой смеси (0,4 н раствор двухромовокислого калия в разбавленной 1:1 серной кислоте). Раствор из бюретки спускают от нулевого деления по каплям (медленно) с соблюдением одинакового интервала времени при параллельных испытаниях.

Содержимое в колбе следует осторожно перемешивать круговыми движениями колбы.

Колбы необходимо закрыть воронками диаметром 3,5 см для охлаждения водяных паров и поставить на горячую электроплитку с закрытой спиралью или песчаную баню*.

* Кипячение допускается проводить в термостате в течение 30 мин при температуре 150 °С.

Кипячение раствора следует продолжать 5 мин (без выделения пара из воронки); оно должно быть еле заметным, т.е. выделение пузырьков углекислоты, образующихся от окисления органических веществ грунта, должно быть обильным, при этом пузырьки должны быть немного больше макового зерна. Отсчет времени кипячения производят с момента появления первого относительно крупного пузырька газа.

В процессе кипячения окраска раствора должна изменяться из оранжевой в буровато-коричневую. Если появляется зеленая окраска, что говорит о полном израсходовании хромовой кислоты и возможном недостатке ее на окисление гумуса, опыт следует повторить, уменьшив навеску грунта.

По окончании кипячения колбу следует снять с плитки (бани) или вынуть из термостата, обмыть воронку небольшим количеством воды, дать колбе охладиться до комнатной температуры и провести титрование.

3.4.5. Титрование избытка хромовой смеси следует проводить в присутствии фенилантраниловой кислоты. Перед титрованием необходимо обмыть горло колбы из промывалки дистиллированной водой (количество воды не должно превышать 20 мл), прибавить 5 - 6 капель 0,2 %-ного раствора фенилантраниловой кислоты и титровать раствором соли Мора (0,2 н.) до перехода окраски в зеленую. Раствор соли Мора под конец титрования следует приливать по каплям, все время перемешивая раствор энергичным взбалтыванием.

3.4.6. Перед началом или в конце испытания надлежит провести опыт без грунта для установления соотношения между растворами хромовой смеси и соли Мора в условиях, аналогичных п. 3.4.4. В две конические колбы емкостью 100 мл следует налить 10 мл хромовой смеси, для равномерности кипения прибавить на кончике тонкого шпателя примерно 0,2 гс растертой в порошок прокаленной пемзы (использовать для этой цели песок не допускается) и содержимое в колбах кипятить 5 мин, как указано в п. 3.4.4.

После охлаждения прокипяченую хромовую смесь следует титровать 0,2 н раствором соли Мора в соответствии с п. 3.4.5 и определить среднее из двух опытов количество соли Мора, израсходованное на титрование 10 мл хромовой смеси.

3.4.7. Определение органического углерода следует проводить в двух параллельных испытаниях. Целесообразно сначала провести одно определение органического углерода для серии навесок грунтов, затем подсчитать результаты и провести повторное определение для тех же образцов, но с уточненными навесками.

3.5. Обработка результатов

Количество органического углерода Сорг в процентах на сухую навеску грунта следует вычислить по формуле

где а - количество раствора соли Мора, израсходованное на титрование 10 мл хромовой смеси в «опыте с пемзой», мл;

b - количество соли Мора, израсходованное на титрование избытка хромовой смеси в опыте с грунтом, мл;

н - нормальность раствора соли Мора, устанавливаемая по ее титрованию раствором перманганата (0,1 н.);

0,003 - величина 1 мгс.-экв. углерода*;

____________

* Грамм - эквивалент углерода , где 1 мгс-экв. углерода будет равен 0,003 гс.

г - навеска сухого грунта, гс.

Для пересчета воздушной сухой навески на сухую применяют коэффициент  где wг - гигроскопическая влажность грунта.

При наличии в грунте хлоридов для пересчета Сорг применяют коэффициент К1 (п. 3.3.3).

4. МЕТОД СУХОГО СЖИГАНИЯ

4.1. Окисление углерода бескарбонатной навески грунта следует производить сжиганием этой навески в потоке кислорода при температуре 950 - 1000 °С до прекращения выделения углекислого газа, учитываемого газообъемным методом, с последующим пересчетом на углерод.

4.2. Аппаратура и материалы

4.2.1. Аппаратура

Автотрансформатор ЛАТР-1 М.

Баня песчаная или баня водяная.

Баллон кислородный с редуктором по ГОСТ 13861-68.

Барометр-анероид.

Весы лабораторные по ГОСТ 19491-74 с гирями по ГОСТ 7328-73.

Газоанализатор ГОУ-1 по ГОСТ 10713-75.

Газометр стеклянный по ГОСТ 11582-75.

Воронки стеклянные диаметром 10 - 14 см по ГОСТ 8613-75.

Калиаппарат по ГОСТ 17784-72 или оклянка с насадкой СН (Дрекселя) по ГОСТ 10378-73.

Колонки для сушки газов, 2 шт.

Краны двухходовые по ГОСТ 7995-68.

Крючок из прочной низкоуглеродистой проволоки.

Лодочки фарфоровые по ГОСТ 6675-73.

Печь электрическая трубчатая горизонтальная, обеспечивающая нагрев до 1000 °С, типа СУОЛ-025 1/12-М1.

Плитка с закрытой спиралью.

Пробки резиновые по ГОСТ 7852-76.

Сетка медная.

Склянки промывные по ГОСТ 10378-73, 3 шт.

Тигли емкостью 50 см3 по ГОСТ 9147-73.

Трубка U-образная по ГОСТ 17784-72.

Трубка кварцевая пли фарфоровая длиной 750 мм и внутренним диаметром 18 - 20 мм по ГОСТ 8680-73.

Трубка резиновая внутренним диаметром 3 - 4 мм.

Чашки фарфоровые по ГОСТ 9147-73, 2 шт.

Шкаф сушильный по ГОСТ 7365-55.

Эксикатор по ГОСТ 6371-73 с кальцием хлористым 2-водным по ГОСТ 4161-77.

4.2.2. Материалы

Ангидрид хромовый по ГОСТ 3776-78.

Аскарит с размером зерен 3 - 5 мм или известь натронная.

Вата стеклянная.

Вода дистиллированная по ГОСТ 6709-72.

Индикаторная универсальная бумага или лакмус.

Калия гидрат окиси (кали едкое).

Калий двухромовокислый (бихромат) по ГОСТ 2652-78.

Кальций хлористый безводный по ГОСТ 4460-77.

Кислород газообразный по ГОСТ 5583-78, полученный методом глубокого охлаждения воздуха.

Кислота серная по ГОСТ 4204-77.

Кислота соляная по ГОСТ 3118-77.

Метиловый оранжевый.

Натрия гидроокись (натр едкий) по ГОСТ 4328-77.

Кварцевая пудра.

Фильтры.

4.3. Подготовка установки к испытанию

4.3.1. Для подготовки установки (см. чертеж) к испытанию надлежит сосуд 17 и калиаппарат 2 наполнить 40 %-ным раствором калия, гидрата окиси. В уравнительную склянку 16 налить 450 мл дистиллированной воды, добавить несколько капель серной кислоты и 2 - 3 капли метилоранжа (окрашенная жидкость). В рубашку газоизмерительной бюретки 14 и рубашку холодильника 10 следует налить дистиллированную воду.

4.3.2. Газометр 1 надлежит наполнить кислородом, колонку для сушки газов 3 - натронной известью или аскаритом, колонку для сушки газов 4 - безводным хлористым кальцием. В U-образную трубку 7 следует поместить стеклянную вату, а в фарфоровую трубку 6 - медную сетку со стороны, обращенной к U-образной трубке. В сосуд 8 надлежит налить раствор хромового ангидрида в серной кислоте (см. приложение 5, п. 3), а в сосуд 9 - раствор двухромовокислого калия в серной кислоте (см. приложение 5, п. 2).

4.3.3. Установку следует проверить на герметичность. Установка герметична, если уровни растворов в сосуде 17 и измерительной бюретке 14 остаются без изменения в течение 10 - 15 мин. Если установка негерметична, ее следует разобрать, протереть все краны мягкой тканью, смазать вазелином, собрать и снова проверить на герметичность.

4.3.4. Фарфоровую трубку 6 и лодочки для сжигания надлежит прокалить в токе кислорода при температуре 1000 °С. Лодочки следует хранить в эксикаторе.

Шлиф крышки эксикатора не следует покрывать смазывающими веществами, так как кислород взрывоопасен при попадании масел.

4.3.5. При герметичности через установку следует пропустить кислород в течение 15 - 20 мин при температуре печи 1000 °С, после чего провести опыт без лодочки. Опыт без лодочки надлежит проводить так же, как и сжигание (см. п. 4.4), но при этом показание шкалы 15 после поглощения газов кали едким должно быть нулевым. Если уровень жидкости в бюретке 14 после обработки газов кали едким стал выше нуля, опыт без лодочки следует повторить.

Установка для определения углерода органических соединений сухим сжиганием

1 - газометр с кислородом; 2 - калиаппарат с кали едким; 3 - колонка для сушки газов с аскаритом или натронной известью; 4 - колонка для сушки газов с хлористым кальцием; 5 - печь электрическая трубчатая горизонтальная; 6 - трубка фарфоровая или кварцевая; 7 - трубка U-образная со стеклянной ватой для удерживания механических примесей; 8 - сосуд поглотительный с раствором хромового ангидрида в серной кислоте для удержания окислов серы; 9 - сосуд поглотительный с раствором двухромовокислого калия в серной кислоте, для удержания окислов азота; 10 - холодильник; 11 - кран трехходовой; 12 - кран для соединения газоизмерительной бюретки с атмосферой; 13 - термометр; 14 - газоизмерительная бюретка № 2; 15 - подвижная шкала газоизмерительной бюретки; 16 - склянка уравнительная; 17 - сосуд, наполненный раствором едкого кали для поглощения углекислого газа

4.4. Подготовка пробы к испытанию

4.4.1. Перед сжиганием грунта надлежит проверить его на карбонатность: для этого из подготовленного к испытанию образца грунта способом квадратов следует взять среднюю пробу (1 гс) в фарфоровую чашку и прибавить 2 - 3 капли 10 %-ной соляной кислоты. Если вскипание отсутствует, карбонатов нет, вскипание сильное и продолжительное - карбонатов меньше 10 % вскипание бурное и продолжительное - карбонатов больше 10 %. Карбонаты должны быть удалены способом, исключающим разложение органического вещества.

4.4.2. Для разрушения карбонатов следует применять раствор 5 %-ной серной кислоты.

В фарфоровый тигель емкостью 50 мл необходимо взять способом квадратов среднюю пробу грунта весом 3 гс, налить 3 - 4 мл дистиллированной воды, перемешивая грунт стеклянной палочкой. Затем в тигель из бюретки или делительной воронки налить раствор 5 %-ной серной кислоты. Во избежание бурного вскипания и разбрызгивания суспензии кислоту следует лить небольшими порциями, все время перемешивая грунт. При прекращении выделения пузырьков газа, образующихся при реакции, необходимо проверить рН суспензии по индикаторной универсальной бумаге (рН 1 - 10). Доводя реакцию суспензии до кислой (рН 5,5 - 5,0), добавляют еще 0,5 мл раствора 5 %-ной серной кислоты. После тщательного перемешивания вынимают стеклянную палочку из тигля и осторожно смывают ее дистиллированной водой из промывалки. Переносят тигель на плитку с закрытой спиралью, кипятят суспензию в течение 5 мин при слабом нагреве и проверяют реакцию жидкости с помощью индикаторной бумаги.

Если рН суспензии сохраняется кислым, то разрушение карбонатов закончено.

При наличии щелочной реакции (рН > 7) добавляют еще немного серной кислоты и вновь кипятят суспензию 5 мин.

После окончания разрушения карбонатов тигель снимают с плитки. Нейтрализуют суспензию и определяют реакцию по индикаторной бумаге, добавляя по каплям 2 %-ный раствор натра едкого до рН 6,5.

Тигель надлежит перенести на песчаную баню, выпарить содержимое, а затем высушить в сушильном шкафу в течение 5 ч.

После охлаждения в эксикаторе тигли с осадками следует взвесить с погрешностью ± 0,0002 гс.

4.4.3. Для расчета углерода необходимо установить соотношение между первоначальным весом взятого грунта и его весом после разрушения карбонатов

где m1- вес воздушно-сухой пробы до разрушения карбонатов, гс;

m2 - вес высушенной пробы после разрушения карбонатов, гс.

Примечания:

1. В процессе кислотной обработки происходят разрушение карбонатных минералов и образование сернокислых солей. При этом вес пробы грунта, как правило, увеличивается;

2. До определения углерода высушенную пробу следует хранить в эксикаторе.

4.4.4. Из некарбонатного растертого грунта надлежит взять навеску с погрешностью ± 0,0002 гс для определения углерода органических соединений.

Величина навески определяется предполагаемым содержанием гумуса:

для песков....................................................................................................... 1 гс

для глин........................................................................................................... 0,5 гс

для грунтов с содержанием гумуса больше 10 %........................................ 0,01 - 0,03 гс

4.5. Проведение испытания

4.5.1. Определение углерода органических соединений следует проводить с помощью установки (см. чертеж).

4.5.2. Газоизмерительную бюретку 14 следует заполнить доверху окрашенной жидкостью из уравнительной склянки 16, для чего открыть кран 12 и поднять уравнительную склянку в верхнее положение, затем кран 12 закрыть.

4.5.3. Навеску грунта следует поместить в предварительную прокаленную лодочку, присыпать сверху кварцевой пудрой для предотвращения вспышки и при помощи крючка ввести лодочку в центральную часть фарфоровой трубки 5, предварительно нагретой до 950 - 1000 °С, затем быстро закрыть трубку 6 пробкой, через отверстие в которой подается кислород для сжигания, для чего следует открыть кран газометра 1 и пустить кислород со скоростью 3 - 4 пузырька в секунду. Счет пузырьков ведется в калиаппарате 2.

4.5.4. Кран 11, соединяющий фарфоровую трубку 6 с измерительной бюреткой 14, некоторое время (» 30 с) следует держать закрытым, чтобы начало сжигания проходило под давлением. Затем кран 11 следует открыть, соединяя фарфоровую трубку 6 с измерительной бюреткой 14. Газовая смесь (кислород и углекислый газ) из фарфоровой трубки 6, пройдя сосуды 7, 8, 9 и холодильник 10, поступает в измерительную бюретку 14, вытесняя окрашенную жидкость. Заполнение бюретки газом продолжается около 3 мин. Затем надлежит прекратить подачу кислорода, закрыть кран газометра 1 и для герметизации измерительной бюретки закрыть кран 11.

4.5.5. Перемещая уравнительную склянку 16 следует установить поверхность жидкости в ней на одном уровне с жидкостью в бюретке 14 и с этими уровнями совместить нулевое деление подвижной шкалы 15 бюретки 14.

4.5.6. Поставив кран 11 в положение, соединяющее измерительную бюретку 14 с сосудом 17, и поднимая уравнительную склянку 16 в верхнее положение, следует перевести газовую смесь из бюретки 14 в сосуд 17; затем, опуская уравнительную склянку 16, следует перевести газ из сосуда 17 обратно в бюретку 14. Эту операцию повторяют два раза для лучшего поглощения углекислого газа.

4.5.7. Затем следует закрыть кран 11, соединяющий бюретку 14 с сосудом 17, и установить поверхность жидкости в уравнительной склянке 16 на одном уровне с жидкостью в бюретке 14. Отсчет положения этого уровня по шкале 15 бюретки дает количество углекислого газа, поглощенное в сосуде 17, то есть содержание углерода в анализируемой навеске.

4.5.8. После перевода газа из сосуда 17 в бюретку 14 перед отсчетом уровня жидкости необходимо установить полное отекание капель жидкости со стенок бюретки (обычно около 1 мин).

4.5.9. Операцию по сжиганию навески грунта в потоке кислорода повторяют 4 - 6 раз до прекращения выделения углекислого газа. Для расчета содержания углерода в навеске грунта следует суммировать количество выделившегося при ее сжигании углекислого газа. После испытания надлежит измерить температуру газа в бюретке 14 по термометру 13 и атмосферное давление по барометру.

4.6. Обработка результатов

4.6.1. Количество органического углерода Сорг в процентах следует вычислять по формуле

где а - показание шкалы газоизмерительной бюретки (сумма отсчетов) содержания органического углерода в пробе, %;

р - поправочный коэффициент на температуру и давление, принимаемый в соответствии с таблицей приложения 6;

г - вес пробы, гс.

Для пересчета воздушно-сухой навески на сухую следует применить коэффициент К (п. 3.5). Вычисленная величина Согр для карбонатного грунта определяет содержание органического углерода в процентах в грунте, из которого удалены карбонаты (нерастворимый остаток).

4.6.2. Пересчет Согр на карбонатный грунт следует производить по формуле

где К2 - поправка на содержание нерастворимого остатка в грунте, в долях единицы (п. 4.4.3).

 

ПРИЛОЖЕНИЕ 1

Рекомендуемое

ТЕРМИНЫ И ОПРЕДЕЛЕНИЯ

Термин

Определение

Органическое вещество

Под органическим веществом следует понимать растительные остатки, находящиеся в грунте в виде неразложившихся механических включений, и продукты их разложения и преобразования - аморфные гумифицированные органические вещества

Растительные остатки

Неразложившиеся механические включения растений

Гумус

Сложный агрегат темноокрашенных аморфных продуктов преимущественно биохимического разложения отмерших остатков организмов

Органический углерод

Углерод, входящий в состав органических соединений

Оксидометрический метод

Определение содержания органического углерода методом окисления двухромовокислым калием

Сильнокислая среда

рН меньше 1

Метод сухого сжигания

Окисление углерода бескарбонатной навески в токе кислорода при температуре 950 - 1000 °С до углекислого газа, учитываемого газообъемным методом с последующим пересчетом на углерод


ПРИЛОЖЕНИЕ 2

Рекомендуемое

ЖУРНАЛ ОПРЕДЕЛЕНИЯ ОРГАНИЧЕСКИХЬТ ВЕЩЕСТВ В ГРУНТЕ

1. Журнал определения количества растительных остатков в грунте

Дата

Лабораторный номер

Наименование грунта

Номер чашки

Вес, гс

Гигроскопическая влажность, %

Вес сухого грунта, гс

Номер чашки

Вес, гс

Количество растительных остатков, %

Метод выделения растительных остатков

воздушно-сухого грунта и чашки

чашки

воздушно-сухого грунта

воздушно-сухих растительных остатков и чашки

сухих растительных остатков и чашки

чашки

сухих растительных остатков

 

 

 

 

 

 

 

 

 

 

 

 

 

 

 

 

Исполнитель_________________________________________________________

(фамилия, имя, отчество, подпись)

Журнал проверил «     » _________ 19_____г. _________________________________

(должность, фамилия, имя, отчество, подпись)

2. Журнал определения оксидометрическим методом количества органического углерода в грунте

Дата

Лабораторный номер

Наименование грунта

Номер колбы

Вес, гс

Гигроскопическая влажность, %

Вес сухого грунта, гс

Хромовая смесь, мл

Соль Мора

Количество Сорг, %

Гумус, %

воздушно-сухого грунта и кальки

кальки

воздушно

сухого грунта

Нормальность, н

Израсходовано, мл

 

 

 

 

 

 

 

 

 

 

 

 

 

 

Исполнитель_________________________________________________________

(фамилия, имя, отчество, подпись)

Журнал проверил «     » _________ 19_____г. _________________________________

(должность, фамилия, имя, отчество, подпись)

3.    Журнал определения методом сухого сжигания количества органического углерода в грунте

Дата

Лабораторный номер

Наименование грунта

Вес, гс

Показания шкалы

Поправочный коэффициент на температуру и давление р

Количество Сорг, %

Гумус, %

лодочки с грунтом

лодочки

грунта

1

2

3

Сумма

в некарбонатной навеске

в карбонатном грунте

 

 

 

 

 

 

 

 

 

 

 

 

 

 

Исполнитель_________________________________________________________

(фамилия, имя, отчество, подпись)

Журнал проверил «     » _________ 19_____г. _________________________________

(должность, фамилия, имя, отчество, подпись)


ПРИЛОЖЕНИЕ 3

Рекомендуемое

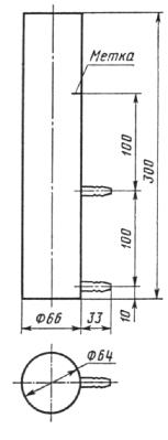
ПРОВЕРКА ЧИСТОТЫ ВЫДЕЛЕНИЯ РАСТИТЕЛЬНЫХ ОСТАТКОВ ИЗ ГРУНТА

Для проверки чистоты выделения растительных остатков из грунта рекомендуется оставшийся в фарфоровой чашке глинистой осадок (п. 2.3.3) перенести методом декантации через сито с сеткой № 0,25 в цилиндр (см. чертеж) и долить его водой до метки. Затем следует измерить температуру воды, взболтать перенесенный в цилиндр грунт мешалкой в течение 1 мин и слить через верхний штуцер во взвешенную фарфоровую чашку 100 миллиметровый слой суспензии через интервал времени, указанный в зависимости от температуры в таблице.

Через нижний штуцер слить нижний слой суспензии в другую чашку, если на стенках цилиндра остались растительные остатки, собрать их пальцем и добавить к растительным остаткам, оставшимся на сите. Собранные в чашках суспензии выпаривать на бане и каждую фракцию проверить на чистоту выделения растительных остатков. Оставшиеся в процессе выпаривания на стенках чашек растительные остатки следует собрать с помощью пластинки из органического стекла и добавить к выделенным ранее растительным остаткам.

Таблица 1

Плотность частиц, гс/см2

Температура °С

10

12,5

15

17,5

20

22,5

25

27,5

30

Время падения частиц 0,005 мм на глубину более 10 см

2,45

1 ч 49¢33"

1 ч 42¢22"

1ч 36¢

1 ч 30¢5"

1 ч 24¢52"

1 ч 19¢54"

1 ч 15¢31"

1 ч 11¢15"

1 ч 7¢28"

Цилиндр для проверки полноты выделения растительных остатков

ПРИЛОЖЕНИЕ 4

Справочное

ПРИГОТОВЛЕНИЕ РАСТВОРОВ ДЛЯ ОПРЕДЕЛЕНИЯ СОДЕРЖАНИЯ ОРГАНИЧЕСКИХ ВЕЩЕСТВ В ГРУНТЕ ОКИСЛЕНИЕМ ДВУХРОМОВОКИСЛЫМ КАЛИЕМ

1. Приготовление хромовой смеси (0,4 н. раствор двухромовокислого калия в разбавленной 1:1 серной кислоте).

Растворяют 40 г измельченного в фарфоровой ступке кристаллического двухромовокислого калия в 500 - 600 мл дистиллированной воды и фильтруют через бумажный фильтр в мерную колбу емкостью 1000 мл.

Раствор доводят до метки дистиллированной водой и переливают в колбу из термостойкого стекла емкостью на 2,5 - 5 л.

К раствору приливают (под тягой) небольшими порциями (по 100 мл) 1 л серной кислоты (плотностью 1,84 гс/см3) при осторожном и многократном помешивании. Раствор закрывают воронкой, оставляют стоять для полного охлаждения до следующего дня, еще раз перемешивают и переливают в бутыль с притертой пробкой. Хранят раствор в темном месте.

2. Приготовление 0,2 н раствора соли Мора

Для приготовления 0,2 н раствора помещают 80 гс соли Мора (используют только голубые кристаллы, сильно побуревшие отбрасывают), в колбу емкостью 1 л и заливают 1 н раствором серной кислоты примерно на 2/3 ее объема. Раствор взбалтывают до полного растворения соли, фильтруют через двойной складчатый фильтр, добавляют дистиллированную воду до метки и хорошо перемешивают.

Раствор хранят в бутыли, изолированной от воздуха (см. чертеж). В склянку Тищенко помещают щелочной раствор пирогаллола. Для приготовления щелочного раствора пирогаллола растворяют 12 гс пирогаллола в 50 мл воды и смешивают с раствором едкого кали (180 гс кали едкого на 300 мл воды).

Нормальность раствора соли Мора устанавливают и проверяют по 0,1 и раствору марганцовокислого калия. В коническую колбу емкостью 250 мл отмеряют бюреткой 10 мл раствора соли Мора, прибавляют 50 мл дистиллированной воды и 1 мл серной кислоты (плотность 1,84 гс/см3 титруют 0,1 и раствором марганцовокислого калия до слаборозовой окраски, не исчезающей в течение 1 мин. Титрование проводят в трехкратной повторности. Нормальность раствора соли Мора (N1) вычисляют по формуле

где V2 - объем марганцовокислого калия, см3;

N2 - нормальность раствора марганцовокислого калия, н;

V1 - объем соли Мора, см3

3. Приготовление раствора фенилантраниловой кислоты

Отвешивают 0,2 гс фенилантраниловой кислоты и растворяют в 100 мл 0,2 %-ного раствора соды.

Для улучшения смачивания порошка индикатора взятую навеску необходимо предварительно перемешать в фарфоровой чашке стеклянной палочкой с несколькими миллилитрами 0,2 %-ного раствора соды до пастообразного состояния. Затем добавляют остальное количество раствора соды при тщательном перемешивании.

Установка для хранения титрованного раствора соли Мора

1 - предохранительная трубка с кристаллами сернокислого железа, 2 - склянка Тищенко со щелочным раствором пирогаллола

ПРИЛОЖЕНИЕ 5

Справочное

ПРИГОТОВЛЕНИЕ РАСТВОРОВ ДЛЯ ОПРЕДЕЛЕНИЯ СОДЕРЖАНИЯ УГЛЕРОДА ОРГАНИЧЕСКИХ СОЕДИНЕНИЙ В ГРУНТЕ СУХИМ СЖИГАНИЕМ

1. Приготовление 40 %-ного раствора кали едкого

Растворяют 40 весовых частей гранулированного кали едкого в 60 весовых частях дистиллированной воды. Плотность 40 %-ного раствора кали едкого равна 1,40 гс/см3. Если плотность приготовленного по весовым соотношениям компонентов раствора кали едкого оказалась ниже, чем 1,40 гс/см3, добавляют еще гранулированного кали едкого, доводя плотность раствора до 1,40 гс/см3.

2. Приготовление раствора двухромовокислого калия в серной кислоте.

Растворяют 0,3 гс измельченного в фарфоровой ступке кристаллического двухромовокислого калия в 50 мл серной кислоты плотностью 1,84 гс/см3. При необходимости получения более значительного объема раствора увеличивают количество двухромовокислого калия и серной кислоты в том же соотношении.

3. Приготовление раствора хромового ангидрида в серной кислоте.

Берут 30 мл дистиллированной воды и добавляют 12 гс измельченного в фарфоровой ступке кристаллического хромового ангидрида, растворенного в 15 мл серной кислоты плотностью 1,84 гс/см3.

При необходимости получения более значительного объема раствора увеличивают количество всех трех компонентов в том же соотношении.


ПРИЛОЖЕНИЕ 6

Справочное

Поправки на атмосферное давление и температуру к газометрическому определению углерода

Атмосферное давление мм рт. ст.

Температура в бюретке, °С

18

19

20

21

22

23

24

25

26

27

28

29

30

730

0,9507

0,9462

0,9415

0,9369

0,9322

0,9274

0,9226

0,9177

0,9127

0,9077

0,9026

0,8975

0,8922

732

0,9534

0,9488

0,9442

0,9395

0,9348

0,9300

0,9252

0,9203

0,9153

0,9108

0,9052

0,900

0,8948

734

0,9861

0,9515

0,9468

0,9421

0,9374

0,9326

0,9278

0,9229

0,9179

0,9129

0,9078

0,9026

0,8974

736

0,9587

0,9541

0,9495

0,9448

0,9400

0,9352

0,9304

0,9255

0,9205

0,9155

0,9103

0,9052

0,8999

738

0,9614

0,9568

0,9521

0,9474

0,9427

0,9379

0,9330

0,9281

0,9231

0,9180

0,9129

0,9077

0,9025

740

0,9640

0,9594

0,9548

0,9500

0,9453

0,9405

0,9356

0,9307

0,9257

0,9206

0,9155

0,9103

0,9050

742

0,9667

0,9621

0,9574

0,9527

0,9479

0,9431

0,9382

0,9333

0,9288

0,9232

0,9181

0,9129

0,9076

744

0,9694

0,9647

0,9600

0,9553

0,9505

0,9457

0,9408

0,9359

0,9309

0,9258

0,9206

0,9154

0,9101

746

0,9720

0,9674

0,9627

0,9579

0,9532

0,9483

0,9434

0,9385

0,9334

0,9284

0,9232

0,9180

0,9127

748

0,9747

0,9700

0,9653

0,9606

0,9558

0,9509

0,9460

0,9411

0,9360

0,9309

0,9258

0,9206

0,9152

750

0,9774

0,9727

0,9680

0,9632

0,9584

0,9535

0,9486

0,9437

0,9386

0,9335

0,9284

0,9231

0,9178

752

0,9800

0,9753

0,9706

0,9659

0,9601

0,9562

0,9502

0,9463

0,9412

0,9361

0,9309

0,9254

0,9204

754

0,9827

0,9780

0,9733

0,9685

0,9637

0,9588

0,9538

0,9489

0,9438

0,9387

0,9335

0,9282

0,9229

756

0,9854

0,9806

0,9759

0,9711

0,9663

0,9614

0,9564

0,9515

0,9464

0,9413

0,9361

0,9308

0,9255

758

0,9880

0,9833

0,9785

0,9738

0,9689

0,9640

0,9591

0,9541

0,9490

0,9439

0,9387

0,9334

0,9280

760

0,9907

0,9860

0,9812

0,9764

0,9715

0,9666

0,9617

0,9567

0,9516

0,9464

0,9412

0,9359

0,9306

762

0,9933

0,9886

0,9838

0,9790

0,9742

0,9692

0,9643

0,9593

0,9542

0,9490

0,9438

0,9385

0,9331

764

0,9960

0,9913

0,9865

0,9817

0,9768

0,9719

0,9669

0,9619

0,9568

0,9516

0,9464

0,9411

0,9357

766

0,9987

0,9939

0,9801

0,9843

0,9794

0,9745

0,9696

0,9645

0,9594

0,9542

0,9489

0,9236

0,9382

768

1,0013

0,9966

0,9918

0,9869

0,9820

0,9771

0,9721

0,9670

0,9619

0,9568

0,9515

0,9462

0,9408

770

1,0040

0,9992

0,9944

0,9896

0,9847

0,9797

0,9747

0,9696

0,9645

0,9593

0,9541

0,9488

0,9434

Примечание. Таблица содержит поправочные коэффициенты для измерительной бюретки, калиброванной при 16 °С и давлении 760 мм рт. ст., с использованием в качестве запирающей жидкости 2 %-ного раствора серной кислоты. Для других условий проведения измерений (давление ниже 730 и выше 770 мм рт. ст.) следует брать поправочные коэффициенты из табл. 1, прилагаемой к прибору ГОУ-1.





Яндекс цитирования



   Copyright © 2007-2026,  www.tehlit.ru.

[ ѓосты, стандарты, нормативы, инструкции, правила, строительные нормы ]