//
ТехЛит.ру
- крупнейшая бесплатная электронная интернет библиотека для "технически умных" людей.
WWW.TEHLIT.RU - ТЕХНИЧЕСКАЯ ЛИТЕРАТУРА

:: Алготрейдинг::


АЛГОТРЕЙДИНГ
шаг за шагом
с нуля по урокам!

Торговые роботы на PYTHON, BackTrader,
Pandas, Pine Script для TradingView. Связка с брокерами, телеграм и легкими приложениями.


ГОСУДАРСТВЕННЫЙ СТАНДАРТ СОЮЗА ССР

 

ГРУНТЫ

МЕТОДЫ ЛАБОРАТОРНОГО ОПРЕДЕЛЕНИЯ
КОЭФФИЦИЕНТА ФИЛЬТРАЦИИ

ГОСТ 25584-90

 

ГОСУДАРСТВЕННЫЙ КОМИТЕТ РОССИЙСКОЙ ФЕДЕРАЦИИ
ПО ЖИЛИЩНОЙ И СТРОИТЕЛЬНОЙ ПОЛИТИКЕ

Москва

 

ИНФОРМАЦИОННЫЕ ДАННЫЕ

1. РАЗРАБОТАН И ВНЕСЕН Государственным строительным комитетом СССР

РАЗРАБОТЧИКИ

А. А. Васильева, канд. геол.-минер, наук (руководитель темы); В. М. Павилонский, канд. техн. наук; Р. С. Зиангиров, д-р геол.-минер. наук; Н. А. Понкратова; А. П. Афонин; И. С. Ронжин, канд. техн. наук; Н. И. Лоскутов, канд. техн. наук; В. Н. Жиленков, д-р техн. наук; В. А. Дубиняк

2. УТВЕРЖДЕН И ВВЕДЕН В ДЕЙСТВИЕ постановлением Государственного комитета СССР от 04.04.90 № 32

3. ВЗАМЕН ГОСТ 25584-83

4. ССЫЛОЧНЫЕ НОРМАТИВНО-ТЕХНИЧЕСКИЕ ДОКУМЕНТЫ

Обозначение НТД, на который дана ссылка

Номер пункта

ГОСТ 5180-84

1.9, 2.2.2, 2.2.5, 3.2.2, 3.2.6.1, 3.3.4

ГОСТ 7328-82

2.1.1, 3.1.1

ГОСТ 12071-84

1.3

ГОСТ 12248-96

3.2.5

ГОСТ 12536-79

1.9

ГОСТ 20522-96

1.11

ГОСТ 24104-88

2.1.1, 3.1.1

ГОСТ 427-75

Приложение 5

ГОСТ 6613-86

То же

ГОСТ 9147-80

»

ГОСТ 1770-74

»

ГОСТ 22733-77

»

ГОСТ 23932-90

»

ГОСТ 28498-90

2.1.1, 3.1.1, Приложение 5

 

5. ПЕРЕИЗДАНИЕ. (ДЕКАБРЬ 1997 г.) с ИЗМЕНЕНИЕМ № 1, принятым постановлением Госстроя России от 02.12.93 № 18-51, введенным в действие с 01.07.94

 

 

Содержание

1 Общие положения

2 Определение коэффициента фильтрации песчаных грунтов

3 Определение коэффициента фильтрации глинистых грунтов

Приложение 1

Термины и определения

Приложение 2

Журнал лабораторного определения коэффициента фильтрации песчаных грунтов

Приложение 3

Журнал лабораторного определения коэффициента фильтрации глинистых грунтов

Приложение 4

Значения S/H0 и j (S/H0)

Приложение 5

Определение коэффициента фильтрации песчаных грунтов, применяемых в дорожном и аэродромном строительстве

 

 

ГОСУДАРСТВЕННЫЙ СТАНДАРТ СОЮЗА ССР

ГРУНТЫ

МЕТОДЫ ЛАБОРАТОРНОГО ОПРЕДЕЛЕНИЯ КОЭФФИЦИЕНТА ФИЛЬТРАЦИИ

Soils.
Laboratory methods for determination
of filtration factor

ГОСТ
25584-90

Дата введения 01.09.90

 

Настоящий стандарт распространяется на песчаные, пылеватые, глинистые грунты и устанавливает методы лабораторного определения коэффициента фильтрации при исследованиях грунтов для строительства.

Стандарт не распространяется на песчаные, пылеватые и глинистые грунты в мерзлом состоянии и не устанавливает коэффициент фильтрации при химической суффозии грунтов.

Пояснения к терминам, применяемым в стандарте, приведены в приложении 1.

1. ОБЩИЕ ПОЛОЖЕНИЯ

1.1. Коэффициентом фильтрации называют скорость фильтрации воды при градиенте напора, равном единице, и линейном законе фильтрации.

1.2. Коэффициент фильтрации определяют на образцах ненарушенного (природного) сложения или нарушенного сложения

заданной плотности.

1.3. Отбор, упаковка, транспортирование образцов грунта ненарушенного сложения должны производиться по ГОСТ 12071.

1.4. Для определения коэффициента фильтрации песчаных грунтов нарушенного сложения следует применять образцы, высушенные до воздушно-сухого состояния.

Коэффициент фильтрации песчаных грунтов, применяемых в дорожном и аэродромном строительстве, определяют по указаниям приложения 5 на образцах нарушенного сложения при максимальной плотности и оптимальной влажности.

(Измененная редакция, Изм. № 1).

1.5. Максимальный размер частиц песчаных грунтов не должен превышать 1/5 внутреннего диаметра прибора для определения коэффициента фильтрации.

1.6. Коэффициент фильтрации песчаных грунтов определяют при постоянном заданном градиенте напора с пропуском воды сверху вниз или снизу вверх, при предварительном насыщении образца грунта водой снизу вверх.

Коэффициент фильтрации пылеватых и глинистых грунтов определяют при заданных давлении на грунт и переменном градиенте напора с пропуском воды сверху вниз или снизу вверх, при предварительном  насыщении образца грунта водой снизу вверх без возможности его набухания.

1.7. Для насыщения образцов грунта и фильтрации применяют грунтовую воду с места отбора грунта или воду питьевого качества. В случаях, устанавливаемых программой исследований, допускается применять дистиллированную воду.

1.8. Образцы грунта взвешивают на лабораторных весах с погрешностью ±0,01 г.

1.9. Результаты определения коэффициента фильтрации должны сопровождаться данными о гранулометрическом составе по ГОСТ 12536, влажности, плотности частиц, плотности сухого грунта, границе текучести и раскатывания по ГОСТ 5180, степени влажности и коэффициенте пористости.

1.10. Количество частных определений коэффициента фильтрации для каждого инженерно-геологического элемента (слоя грунта) должно составлять не менее шести.

Количество частных определений коэффициента фильтрации грунта допускается уменьшать при наличии одноименных определений в материалах предыдущих испытаний, выполненных на той же площадке для того же инженерно-геологического элемента.

1.11. Нормативные значения коэффициента фильтрации для каждого инженерно-геологического элемента (слоя грунта) устанавливают методом статистической обработки результатов частных определении по ГОСТ 20522. Расчетные значения коэффициентов фильтрации следует принимать равными нормативным.

1.12. В процессе подготовки, проведения и обработки результатов испытаний образцов грунта ведут журналы по формам, приведенным приложениях 2 и 3.

2. ОПРЕДЕЛЕНИЕ КОЭФФИЦИЕНТА ФИЛЬТРАЦИИ ПЕСЧАНЫХ ГРУНТОВ

2.1. Оборудование и приборы

2.1.1. В комплект оборудования для определения коэффициента фильтрации должны входить:

прибор КФ-00М;

Весы лабораторные квадратные (ВЛК) или лабораторные общего назначения по ГОСТ 24104 с комплектом гирь к ним по ГОСТ 7328;

термометр с погрешностью измерения не более 0,5 °С по ГОСТ 28498;

секундомер;

нож из нержавеющей стали с прямым лезвием;

лопатка;

пресс винтовой;

пластины плоские с гладкой поверхностью (из стекла, плексигласа или металла).

(Измененная редакция, Изм. № 1).

2.1.2. В состав прибора КФ-00М, конструкция которого приведена на чертеже, должны входить:

фильтрационная трубка, состоящая из прямого полого цилиндра внутренним диаметром 56,5 мм и высотой 100 мм с заостренными краями,  перфорированного  дна с отверстиями размером (2´2) мм (или диаметром 2 мм) и муфты с латунными сетками, мерного стеклянного баллона объемом 140 см3 и высотой 110-115 мм со шкалой объема фильтрующейся жидкости; телескопическое приспособление для насыщения грунта водой и регулирования градиента напора, состоящее из подставки, подъемного винта, планки со шкалой градиентов напора от 0 до 1 ценой деления 0,02; корпус с крышкой.

Примечание. Для определения коэффициента фильтрации допускается применять приборы, конструкция которых подобна КФ-00М (КФ-01, ПКФ-3 Союздорнии, ФВ-3).

 

 

1 - цилиндр; 2 - муфта; 3 - перфорированное дно; 4 - латунная сетка;
5 - подставка; 6- корпус; 7 - крышка; 8 - подъемный винт;
9 - стеклянный баллон со шкалой объема фильтрующейся жидкости;
10 - планка со шкалой градиентов напора; 11 - испытуемый образец грунта

2.1.3. Цилиндр, планка со шкалой градиентов напора, сетки, подъемный винт должны изготавливаться из некоррозирующегося металла.

2.1.4. Измерительные приборы, применяемые для определения коэффициента фильтрации грунтов, должны поверяться в соответствии с технической документацией.

2.2. Подготовка к испытанию

2.2.1. К испытанию грунт следует подготавливать в следующей последовательности:

песок и воду, предназначенные для определения коэффициента фильтрации, выдерживают в лаборатории до выравнивания их температуры с температурой воздуха;

из корпуса прибора извлекают фильтрационную трубку и разбирают ее;

заполняют цилиндр испытываемым грунтом в соответствии с порядком, установленным в п.п. 2.2.2, 2.2.4;

в корпус наливают воду и вращением подъемного винта поднимают подставку до совмещения отметки градиента напора на планке с верхним краем крышки корпуса;

устанавливают цилиндр с грунтом на подставку и вращением подъемного винта медленно погружают в воду, содержащуюся в корпусе, до отметки градиента напора 0,8 и оставляют его в таком положении до тех пор, пока грунт увлажнится. В процессе водонасыщения грунта поддерживают постоянный уровень воды у верхнего края корпуса;

помещают на образец грунта латунную сетку, одевают на цилиндр; муфту, вращением подъемного винта опускают фильтрационную трубку в крайнее нижнее положение и оставляют на 15 мин.

2.2.2. Заполнение цилиндра испытываемым грунтом ненарушенного сложения выполняют в следующем порядке.

3apанеe взвешенный цилиндр ставят заостренным краем на выровненную поверхность грунта и винтовым прессом (или рукой) слегка вдавливают его в грунт, обозначая границы будущего образца для проведения испытаний;

грунт у заостренного края цилиндра (с внешней его стороны) срезают острым ножом в виде столбика диаметром на 0,5 - 1 мм больше диаметра цилиндра и высотой примерно 10 мм. Одновременно, по мере срезания грунта, легким надавливанием пресса постепенно надвигают цилиндр на грунт, не допуская перекоса, до полного заполнения цилиндра. В грунт, из которого не удается вырезать столбик, цилиндр вдавливают;

верхний торец, образца грунта зачищают ножом вровень с краями цилиндра и накрывают заранее взвешенной пластинкой;

подхватывают цилиндр с грунтом снизу лопаткой, перевертывают его, зачищают нижний торец образца грунта вровень с краями цилиндра и также накрывают заранее взвешенной пластинкой:

взвешивают цилиндр с образцом грунта и покрывающими его пластинками;

определяют плотность грунта по ГОСТ 5180;

2.2.3. Надевают на цилиндр с образцом грунта дно с латунной сеткой, покрытой кружками марли.

2.2.4. Заполнение цилиндра грунтом нарушенного сложения выполняют в следующем порядке:

на цилиндр надевают дно с латунной сеткой, покрытой кружком марли;

наполняют цилиндр грунтом, подготовленным в соответствии с п. 1.4, через верх слоями толщиной 1 - 2 см;

необходимую массу грунта (m) в граммах вычисляют по формулам:

            или       ,                                    (1)

где V - объем цилиндра, см3;

r - заданная плотность, г/см3;

w - влажность грунта, доли единицы;

rs - плотность частиц грунта, г/см3

е - коэффициент пористости.

Если грунт массой m не укладывается в цилиндр, то его уплотняют трамбованием.

2.2.5. Заполнение цилиндра испытываемым грунтом в предельно рыхлом и предельно плотном состоянии выполняют в следующем порядке:

цилиндр с дном и латунной сеткой, покрытой кружком марли, взвешивают;

для получения образца в предельно рыхлом состоянии цилиндр заполняют грунтом, насыпая его с высоты 5 - 10 см без уплотнения, в предельно плотном состоянии - слоями толщиной 1 - 2 см с уплотнением каждого слоя трамбованием;

зачищают поверхность образца грунта вровень с краями цилиндра и взвешивают цилиндр с грунтом; определяют плотность грунта по ГОСТ 5180.

2.3. Проведение испытания

2.3.1. Коэффициент фильтрации грунта определяют в следующем порядке:

вращением подъемного винта устанавливают цилиндр с грунтом до совмещения отметки необходимого градиента напора на планке с верхним краем крышки корпуса и доливают воду в корпус до верхнего его края. Испытания проводят при поэтапном увеличении значений градиента напора;

замеряют температуру воды;

заполняют мерный стеклянный баллон водой и, закрывая пальцем его отверстие, опрокидывают отверстием вниз,, подносят возможно ближе к цилиндру с грунтом и, отнимая палец, быстро вставляют в муфту фильтрационной трубки так, чтобы его горлышко соприкасалось с латунной сеткой, а в баллон равномерно поднимались мелкие пузырьки воздуха. Если в мерный баллон прорываются крупные пузырьки воздуха, то его необходимо опустить ниже, добившись появления мелких пузырьков;

отмечают время, когда уровень воды достигнет деления шкалы мерного баллона, отмеченного цифрой 10 (или 20) см3 принимая это время за начало фильтрации воды. В дальнейшем фиксируют время, когда уровень воды достигнет соответственно делений 20, 30, 40, 50 (или 20, 40, 60, 80) см3 или других кратных значений. Производят четыре отсчета.

2.4. Обработка результатов

2.4.1. Коэффициент фильтрации К10, м/сут, приведенный к условиям фильтрации при температуре 10 °С, вычисляют по формуле

                                      (2)

где Vw - объем профильтровавшейся воды при одном замере, см3;

tm - средняя продолжительность фильтрации (по замерам при одинаковых расходах воды), с;

A - площадь поперечного сечения цилиндра фильтрационной трубки, см2,

J - градиент напора;

Т = (0,7 + 0,03 Тф) - поправка для приведения значения коэффициента фильтрации к условиям фильтрации воды при температуре 10 °С, где Тф - фактическая температура воды при испытании, °С;

864 - переводной коэффициент (из см/с в м/сут).

2.4.2. Коэффициент фильтрации вычисляют до второй значащей цифры.

2.4.3. Для расчета коэффициента фильтрации следует составлять таблицу расчетных данных для постоянного расхода воды из цилиндра определенной площади поперечного сечения при различных градиентах напора и температуре.

3. ОПРЕДЕЛЕНИЕ КОЭФФИЦИЕНТА ФИЛЬТРАЦИИ
ПЫЛЕВАТЫХ
И ГЛИНИСТЫХ ГРУНТОВ

3.1. Оборудование и приборы

3.1.1. В комплект оборудования для определения коэффициента фильтрации глинистых грунтов должны входить:

компрессионно-фильтрационный прибор, позволяющий проводить испытания под нагрузкой при переменном напорном градиенте;

весы лабораторные квадрантные (ВЛК.) или общего назначения по ГОСТ 24104 с комплектом ГОСТ 7328;

термометр с погрешностью измерения не более 0,5 °С по ГОСТ 28498;

секундомер;

нож из нержавеющей стали с прямым лезвием;

лопатка;

пресс винтовой;

пластины плоские с гладкой поверхностью (из стекла, плексигласа или металла).

(Измененная редакция, Изм. № 1).

3.1.2. В состав компрессионно-фильтрационного прибора должны входить:

поддон с емкостью для воды и штуцером с боковой стороны; кольцо (цилиндр) для образца грунта с заостренным нижним краем;

металлические фильтры, обеспечивающие свободное поступление воды к образцу и ее отвод;

насадку (крышу) на кольцо;

пьезометр диаметром 0,4 см (при быстрой фильтрации до 1 см, при медленной - 0,1-0,2 см), соединенный с прибором через штуцер и тройник; при наличии в приборе двух пьезометров диаметр их должен быть одинаковым.;

арретир - приспособление для предотвращения набухания образца грунта при его насыщении водой;

индикатор с ценой деления шкалы 0,01 мм для измерения вертикальных деформаций образца грунта;

механизм вертикальной нагрузки на образец.

3.1.3. Конструкция компрессионно-фильтрационного прибора должна обеспечивать:

герметичность всех стыков прибора;

отсутствие защемленных пузырьков воздуха;

создание заданного градиента напора (до 100);

подачу воды к образцу грунта снизу вверх или сверху вниз и отвод ее;

центрированную передачу нагрузки на образец грунта;

передачу на образец грунта давления ступенями;

постоянство давления на каждой ступени;

неподвижность кольца с грунтом при испытаниях;

измерение вертикальных деформаций грунта с точностью 0,01 мм;

нагрузку на образец, создаваемую фильтром, измерительным оборудованием и неуравновешенными деталями не более 0,0025 МПа.

3.1.4. Части прибора, соприкасающиеся с водой, должны быть изготовлены из некоррозирующегося материала.

3.1.5. Компрессионно-фильтрационные приборы необходимо тарировать не реже одного раза в год.

Индикаторы должны подвергаться поверкам в соответствии с технической документацией.

3.2. Подготовка к испытанию

3.2.1. Воду и грунт, предназначенные для определения коэффициента фильтрации, выдерживают в лаборатории до выравнивания их температуры с температурой воздуха.

3.2.2. Приготавливают образец грунта (п. 2.2.2), предварительно смазав внутреннюю поверхность кольца техническим вазелином.

Из остатков срезанного грунта отбирают пробы для определения влажности по ГОСТ 5180.

При заполнении кольца грунтом необходимо учитывать, в каком направлении относительно природного напластования определяют коэффициент фильтрации.

На нижнюю и верхнюю поверхность грунта накладывают фильтровальную бумагу, смоченную водой и вырезанную по внутреннему диаметру кольца.

3.2.3. Заполняют поддон прибора водой до верхней поверхности металлического фильтра через пьезометр и ставят на фильтр кольцо с грунтом.

Металлический фильтр ставят на образец грунта и опускают винт арретира так, чтобы при насыщении водой образец не набухал.

В случае испытания грунта под нагрузкой закрепляют индикатор.

3.2.4. Образец грунта насыщают водой снизу вверх через пьезометр. Водонасыщение следует производить не менее 2 сут для супесей, не менее 5 сут для суглинков; продолжительность водонасыщения глин устанавливают заданием.

При степени влажности грунта более 0,98 водонасыщение можно не производить.

3.2.5. Заливают образец грунта водой (до краев насадки или верха крышки) и передают на образец заданное давление ступенями.

Значения ступеней давления и время их выдерживания назначают в соответствии с ГОСТ 12248.

Если заданное давление равно pstr (соответствующее структурной прочности), то образец нагружают ступенями давления по 0,0025 МПа до начала сжатия по ГОСТ 12248.

3.2.6. Подготовка образцов глинистого грунта нарушенного сложения

3.2.6.1. Для подготовки образцов глинистых грунтов с заданными значениями плотности необходимо размять грунт пестиком с резиновым наконечником до исчезновения комков крупнее 2 мм и определить влажность грунта по ГОСТ 5180.

3.2.6.2. Массу грунта, которая в объеме кольца должна обеспечить заданное значение плотности, рассчитывают по формулe (1).

Если задано значение плотности сухого грунта (pd), г/см3 то массу грунта в объеме кольца рассчитывают по формуле

                                       (3)

3.2.6.3. Заполняют кольцо приготовленным грунтом необходимой массы.

Если вручную не удается уложить весь грунт, то применяют пресс.

3.2.6.4. Накрывают торцы образца грунта кружками влажной фильтровальной бумаги и выполняют последовательно операции п.п. 3.2.3 - 3.2.5.

3.3. Проведение испытания

3.3.1. Наливают воду в пьезометр и устанавливают начальный напор, соответствующий заданному градиенту напора.

Начальный напор равен высоте столба воды от постоянного ее уровня над образцом грунта до уровня в пьезометре.

В приборах, имеющих два пьезометра, соединенных с крышкой и поддоном, начальный напор равен разности уровней в пьезометрах. При исследовании фильтрации в нисходящем потоке пьезометр, присоединенный к верхней части прибора, должен быть заполнен поддон до верхней отметки, а пьезометр, присоединенный к нижней части, - до нижней отметки и наоборот.

3.3.2. Открывают кран (краны), соединяющий (соединяющие) пьезометр (пьезометры) с прибором, и отмечают время начала фильтрации воды.

3.3.3. Замеряют числа делений, на которые опустился (поднялся) уровень воды в пьезометре, через одинаковые промежутки времени и температуру воды с точностью до 0,5 °С.

Отсчеты по пьезометру производят в зависимости от скорости фильтрации. Промежутки времени отсчетов могут быть 5, 10, 15, 30 мин 1 ч, при медленной фильтрации - два раза, в начале и в конце рабочего дня. Производят не менее шести отсчетов.

Если уровень воды в пьезометре понижается на одно деление за время, превышающее 40 с, то следует заменить пьезометры на более тонкие трубки.

3.3.4. После испытания определяют влажность и плотность грунта по ГОСТ 5180.

3.4 Обработка результатов

3.4.1. Коэффициент фильтрации грунта (К10), м/сут, приведенный к условиям фильтрации при температуре 10 °С, вычисляют по формуле

,                                                 (4)

где S - наблюдаемое падение уровня воды в пьезометре, отсчитанное от первоначального уровня, см;

H0 - начальный напор, см;

 - безразмерный коэффициент, определяемый по приложению 4;

t - время падения уровня воды, с;

Aп - площадь сечения пьезометра, см2;

AК - площадь кольца, см2;

h - высота образца грунта, равная высоте кольца, см;

T= (0,7+0,03 Tф) - поправка для приведения значения коэффициента фильтрации к условиям фильтрации воды при температуре 10 °С, где Tф - фактическая температура воды при опыте, °С;

864 - переводной коэффициент (из см/с в м/сут).

3.4.2. Коэффициент фильтрации вычисляют для каждого отсчета по пьезометру.

За коэффициент фильтрации образца грунта принимают среднее арифметическое отдельных вычисленных значений.

Коэффициент фильтрации выражают с точностью до второй значащей цифры.

3.4.3. Для расчетов коэффициента фильтрации составляют вспомогательные таблицы, разделив формулу (4) на два множителя:

             и                               (5)

Рекомендуется составить таблицы значений множителя В в зависимости от значения падения уровня воды в пьезометре и значений множителя М в зависимости от температуры воды при опыте.

 

ПРИЛОЖЕНИЕ 1

Справочное

ТЕРМИНЫ И ПОЯСНЕНИЯ

Градиент напора - отношение разности напора воды к длине пути фильтрации.

Масса грунта - свойство тела или вещества, характеризующее их инерционность и способность создавать гравитационное поле (скалярная величина).

Плотность грунта - масса единицы объема грунта.

Плотность сухого грунта - отношение массы сухого грунта (исключая массу воды в его порах) к его первоначальному объему.

Плотность частиц грунта - масса единицы объема грунта без пор или масса единицы объема твердых частиц грунта.

Коэффициент пористости - отношение объема пор к объему твердых частиц грунта.

Гранулометрический состав грунта - содержание по массе групп частиц (фракций) грунта различной крупности по отношению к общей массе абсолютно-сухого грунта.

Воздушно-сухое состояние грунта - состояние грунта, высушенного на воздухе.

Предельно рыхлое состояние грунта - состояние грунта при минимальной плотности.

Предельно плотное состояние грунта - состояние грунта при максимальной плотности.

 

ПРИЛОЖЕНИЕ 2

Рекомендуемое

 

Организация (лаборатория) __________________________________________

 

ПРИЛОЖЕНИЕ 3

Рекомендуемое

 

Организация (лаборатория) __________________________________________

 

ПРИЛОЖЕНИЕ 4

Обязательное

Значения  и

0,01

0,010

0,34

0,416

0,67

1,109

0,02

0,020

0,35

0,431

0,68

1,139

0,03

0,030

0,36

0,446

0,69

1,172

0,04

0,040

0,37

0,462

0,70

1,204

0,05

0,051

0,38

0,478

0,71

1,238

0,06

0,062

0,39

0,494

0,72

1,273

0,07

0,073

0,40

0,510

0,73

1,309

0,08

0,083

0,41

0,527

0,74

1,347

0,09

0,094

0,42

0,545

0,75

1,386

0,10

0,105

0,43

0,562

0,76

1,427

0,11

0,117

0,44

0,580

0,77

1,470

0,12

0,128

0,45

0,598

0,78

1,514

0,13

0,139

0,46

0,616

0,79

1,561

0,14

0,151

0,47

0,635

0,80

1,609

0,15

0,163

0,48

0,654

0,81

1,661

0,16

0,174

0,49

0,673

0,82

1,715

0,17

0,186

0,50

0,693

0,83

1,771

0,18

0,196

0,51

0,713

0,84

1,833

0,19

0,210

0,52

0,734

0,85

1,897

0,20

0,223

0,53

0,755

0,86

1,966

0,21

0,236

0,54

0,777

0,87

2,040

0,22

0,248

0,55

0,799

0,88

2,120

0,23

0,261

0,56

0,821

0,89

2,207

0,24

0,274

0,57

0,844

0,90

2,303

0,25

0,288

0,58

0,868

0,91

2,408

0,26

0,301

0,59

0,892

0,92

2,526

0,27

0,315

0,60

0,916

0,93

2,659

0,28

0,329

0,61

0,941

0,94

2,813

0,29

0,346

0,62

0,967

0,95

2,996

0,30

0,357

0,63

0,994

0,96

3,219

0,31

0,371

0,64

1,022

0,97

3,507

0,32

0,385

0,65

1,050

0,98

3,912

0,33

0,400

0,66

1,079

0,99

4,605

 

ПРИЛОЖЕНИЕ 5

Обязательное

(Измененная редакция, Изм. № 1).

ОПРЕДЕЛЕНИЕ КОЭФФИЦИЕНТА ФИЛЬТРАЦИИ ПЕСЧАНЫХ ГРУНТОВ, ПРИМЕНЯЕМЫХ В ДОРОЖНОМ И АЭРОДРОМНОМ СТРОИТЕЛЬСТВЕ.

1. Настоящий метод распространяется на песчаные грунты, применяемые в дорожном и аэродромном строительстве для устройства дренирующих и морозозащитных слоев дорожной и аэродромной одежды и защитного слоя под балластной призмой железнодорожного пути.

Коэффициент фильтрации определяют на образцах грунта нарушенного сложения при максимальной плотности и оптимальной влажности, значения которых предварительно устанавливают по ГОСТ 22733.

2. Оборудование и приборы

2.1. В комплект оборудования для определения коэффициента фильтрации должны входить:

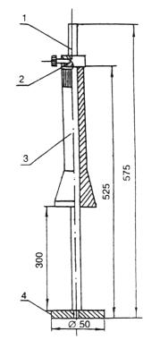
- прибор Союздорнии для определения коэффициента фильтрации песчаных грунтов (рисунок 1);

- трамбовка с массой падающего груза 0,5 кг (рисунок 2);

- весы лабораторные квадрантные /ВЛК/ или лабораторные общего назначения по ГОСТ 24104 с комплектом гирь к ним по ГОСТ 7328;

- термометр с погрешностью измерения не более 0,5 °С по ГОСТ 28498;

- секундомер;

- эксикатор по ГОСТ 23932;

- сито с отверстиями диаметром 5 мм по ГОСТ 6613;

- цилиндр мерный вместимостью 100 мл по ГОСТ 1770;

- чашка фарфоровая по ГОСТ 9147;

- емкость для воды объемом 8-10 л;

- линейка металлическая длиной 300 мм по ГОСТ 427;

- нож из нержавеющей стали с прямым лезвием.

2.2. В состав прибора для определения коэффициента фильтрации, конструкция которого приведена на рисунке 1, должны входить:

- фильтрационная трубка, состоящая из прямого цилиндра внутренним диаметром 50,5 мм и высотой 220 мм, съемного перфорированного дна с отверстиями диаметром 3 мм и латунной сетки с размерами ячейки 0,25 мм;

- пьезометр с делениями от 0 до 50 мм;

- подставка для трубки с прорезями в боковых стенках и отверстиями в днище;

- стакан для создания градиента напора, равного единице;

- поддон.

 

1 - образец грунта; 2 - пьезометр; 3 - трубка; 4 - стакан; 5 - латунная сетка; 6 - перфорированное съемное дно; 7 - подставка; 8 - поддон

1 - направляющая; 2 - фиксатор; 3 - падающий груз; 4-наковальня

Рисунок 1 - Прибор для определения коэффициента фильтрации песчаных грунтов

Рисунок 2 - Трамбовка

3. Подготовка к испытанию

3.1. К испытанию грунт подготавливают следующим образом:

- песок и воду, предназначенные для определения коэффициента фильтрации, выдерживают в лаборатории до выравнивания их температуры с температурой воздуха;

- просеивают через сито с отверстиями 5 мм предварительно высушенный до воздушно-сухого состояния песчаный грунт и определяют его гигроскопическую влажность по ГОСТ 5180;

- отбирают в фарфоровую чашку пробу грунта способом квартования массой не менее 450 г;

- увлажняют с помощью мерного цилиндра отобранную пробу до оптимальной влажности и выдерживают ее в эксикаторе с водой не менее 2 ч; пески крупные и средней крупности допускается не выдерживать в эксикаторе.

3.2. Необходимый для увлажнения объем воды Q, см3, определяют по формуле

 ,                                        (6)

где m -масса пробы грунта, г;

Wо - оптимальная влажность грунта, доли единицы;

Wg - гигроскопическая влажность грунта, доли единицы;

rw -плотность воды, принимаемая равной 1 г/см3.

3.3. Из подготовленной пробы влажного грунта отбирают навеску массой m1 для помещения в фильтрационную трубку прибора и навеску для контрольного определения фактической влажности грунта по ГОСТ 5180.

Массу навески m1, г определяют по формуле

,                                      (7)

где V - объем грунта в трубке, равный 200 см3;

rdmax - максимальная плотность сухого грунта, установленная по ГОСТ 22733, г/см3.

3.4. Трубку прибора заполняют грунтом в следующем порядке:

- съемное перфорированное дно с латунной сеткой, покрытой кружком марли, смоченной водой, крепят к трубке и ставят ее на жесткое массивное основание;

- навеску влажного грунта массой m1 делят на три порции и последовательно укладывают их в трубку, уплотняя каждую из них при помощи трамбовки, производя по 40 ударов груза с высоты 300 мм; перед укладкой каждой порции поверхность предыдущей уплотненной порции взрыхляют ножом на глубину 1 - 2 мм;

- измеряют линейкой расстояние от верхнего края трубки до поверхности уплотненного грунта; измерения проводят не менее, чем в трех точках; в расчет принимают среднее значение.

При высоте образца грунта в трубке более 100 мм проводят дополнительное уплотнение, которое заканчивают при высоте образца (100 + 1)мм.

Укладывают на поверхность грунта слой гравия (фракция 2 - 5 мм) толщиной 5 - 10 мм.

3.5. Устанавливают трубку с грунтом на подставку и вместе с ней помещают в стакан, который постепенно наполняют водой до верха.

Помещают стакан с трубкой в емкость для воды и заполняют ее до уровня выше слоя гравия на 10 - 15 мм.

После появления воды в трубке над слоем гравия доливают воду в верхнюю часть трубки примерно на 1/3 ее высоты.

3.6. Извлекают стакан с трубкой из емкости и устанавливают его на поддон. В этом случае начальный градиент напора воды в образце грунта равен единице.

4. Проведение испытания

4.1. Испытание проводят в следующем порядке:

- доливают воду в трубку не менее чем на 5 мм выше нулевого деления;

- при вытекании воды через перфорированное дно определяют с помощью секундомера падение уровня воды в пьезометре от 0 до 50 мм.

Указанную операцию повторяют не менее четырех раз, каждый раз доливая воду в трубку на 5 мм выше нулевого деления. В расчет принимают среднее время падения уровня воды. В случае отклонений отдельных отсчетов от среднеарифметического значения более чем на 10 %, следует увеличить число определений.

При времени падения уровня воды в пьезометре более 2 мин допускается уменьшать высоту падения уровня.

При времени падения более 10 мин допускается проводить испытание при начальном градиенте напора, равном двум. В этом случае трубку с подставкой извлекают из стакана и ставят непосредственно на поддон.

4.2. В течение всего испытания не допускается снижение уровня воды в трубке ниже слоя гравия.

4.3. Разность между плотностью сухого грунта в трубке и максимальной плотностью, установленной по ГОСТ 22733, не должна превышать 0,02 г/см3. В противном случае испытание повторяют.

Плотность сухого грунта в трубке rdi , г/см3, вычисляют по формуле:

,                                             (8)

где Vi - фактический объем грунта в трубке, см3;

wi - фактическая влажность грунта в трубке, доли единицы.

5. Обработка результатов

5.1. Коэффициент фильтрации песчаного грунта К10, м/сут, приведенный к условиям фильтрации при температуре 10 °С. вычисляют по формуле

                                              (9)

где h - высота образца грунта в трубке, см;

S, Н0, j(S/H0), t, Т, 864 - обозначения те же, что в формуле 4.

5.2 Количество частных определений коэффициента фильтрации должно быть не менее трех.

 

 




Яндекс цитирования



   Copyright © 2007-2026,  www.tehlit.ru.

[ ѓосты, стандарты, нормативы, инструкции, правила, строительные нормы ]