//
ТехЛит.ру
- крупнейшая бесплатная электронная интернет библиотека для "технически умных" людей.
WWW.TEHLIT.RU - ТЕХНИЧЕСКАЯ ЛИТЕРАТУРА

:: Алготрейдинг::


АЛГОТРЕЙДИНГ
шаг за шагом
с нуля по урокам!

Торговые роботы на PYTHON, BackTrader,
Pandas, Pine Script для TradingView. Связка с брокерами, телеграм и легкими приложениями.


ГОСУДАРСТВЕННЫЙ СТАНДАРТ СОЮЗА ССР

СВАИ ЗАБИВНЫЕ ЖЕЛЕЗОБЕТОННЫЕ
КВАДРАТНОГО СЕЧЕНИЯ
С КРУГЛОЙ ПОЛОСТЬЮ

КОНСТРУКЦИЯ И РАЗМЕРЫ

ГОСТ 19804.3-80

ГОСУДАРСТВЕННЫЙ КОМИТЕТ СССР ПО ДЕЛАМ СТРОИТЕЛЬСТВА

Москва

 

ГОСУДАРСТВЕННЫЙ стандарт СОЮЗА ССР

СВАИ ЗАБИВНЫЕ ЖЕЛЕЗОБЕТОННЫЕ КВАДРАТНОГО СЕЧЕНИЯ С КРУГЛОЙ ПОЛОСТЬЮ

Конструкция и размеры

Reinforced concrete driven piles of square cross-section inner round cave. Construction and dimensions

ГОСТ

19804.3-80*

Постановлением Государственного комитета СССР по делам строительства от 12 сентября 1980 г. № 145 срок введения установлен

с 01.07.81

Несоблюдение стандарта преследуется по закону

1. Настоящий стандарт распространяется на забивные железобетонные сваи квадратного сечения с круглой полостью с ненапрягаемой и напрягаемой продольной арматурой и устанавливает конструкцию свай и арматурных изделий к ним.

2. Железобетонные свай квадратного сечения с круглой полостью должны удовлетворять требованиям ГОСТ 19804.0-78 и требованиям настоящего стандарта.

3. Форма, марки и номинальные размеры свай должны соответствовать указанным на черт. 1 и в табл. 1.

Сваи квадратного сечения с круглой полостью

1 - подъемные петли; 2 - штырь для фиксации места строповки при подъеме на копер.

Черт. 1

Таблица 1

Марка сваи

Номинальные размеры, мм

Объем бетона, м3

Масса сваи, т

Расход стали, кг

L

l1

12

b

d

СП3-30

СПН3-30

3000

600

-

300

160

0,21

0,52

12,9

8,1

СП3,5-30

СПН3,5-30

3500

700

0,24

0,61

15,0

9,4

СП4-30

СПН4-30

4000

800

0,28

0,70

16,5

10,1

СП4,5-30

СПН4,5-30

4500

900

0,31

0,79

18,2

10,7

СП5-30

СПН5-30

5000

1000

0,35

0,87

19,7

11,1

СП5,5-30

СПН5,5-30

5500

1100

0,38

0,96

21,4

11,7

СП6-30

СПН6-30

6000

1200

0,42

1,05

23,0

12,4

СП7-30

СПН7-30

7000

1400

0,49

1,22

33,8

14,9

СП8-30

СПН8-30

8000

1600

2400

0,56

1,40

38,8

17,8

СП9-30

СПН9-30

9000

1800

2600

0,63

1,57

43,1

19,1

СП10-30

СПН10-30

10000

2100

2900

0,70

1,75

47,4

20,6

СП11-30

СПН11-30

11000

2300

3200

0,77

1,92

51,8

28,8

СП12-30

СПН12-30

12000

2500

3500

0,84

2,10

56,1

30,7

СП3-40

СПН3-40

3000

600

-

400

275

0,30

0,75

15,4

10,8

СП3,5-40

СПН3,5-40

3500

700

0,35

0,88

17,2

11,4

СП4-40

СПН4-40

4000

800

0,40

1,01

18,9

12,2

СП4,5-40

СПН4,5-40

4500

900

0,45

1,13

20,8

12,9

СП5-40

СПН5-40

5000

1000

0,50

1,26

22,5

13,4

СП5,5-40

СПН5,5-40

5500

1100

0,55

1,38

25,1

15,7

СП6-40

СПН6-40

6000

1300

0,60

1,51

26,8

16,5

СП7-40

СПН7-40

7000

1400

0,70

1,76

37,9

19,8

СП8-40

СПН8-40

8000

1600

2400

0,80

2,01

42,6

21,6

СП9-40

СПН9-40

9000

1800

2600

0,91

2,26

48,1

24,8

СП10-40

СПН10-40

10000

2100

2900

1,01

2,52

52,6

26,6

СП11-40

СПН11-40

11000

2300

3200

1,11

2,77

57,3

28,3

СП12-40

СПН12-40

12000

2500

3500

1.21

3,02

62,0

28,9

Марки свай квадратного сечения с круглой полостью с ненапрягаемой арматурой имеют в обозначении буквы СП, марки свай с круглой полостью с напрягаемой арматурой - СПН.

4. Сваи длиной до 5 м включительно допускается изготовлять без подъемных петель и поднимать их за торцы с помощью специальных захватов.

5. Сваи длиной до 7 м включительно допускается изготовлять без штырей, фиксирующих место строповки при подъеме на копер. В этих случаях стропы при подъеме сваи на копер должны располагаться у подъемной петли.

6. Сваи должны изготавливаться из тяжелого бетона марки по прочности на сжатие не ниже М300.

7. В качестве крупного заполнителя для бетона свай должен применяться щебень из естественного камня и гравия по ГОСТ 10268-80 с размером фракций не более 20 мм.

8. Сваи с ненапрягаемой арматурой армируются пространственными каркасами.

В качестве продольной ненапрягаемой арматуры каркасов должна применяться горячекатаная арматурная сталь классов A-I, A-II и A-III по ГОСТ 5781-82.

Для поперечного армирования свай в качестве конструктивной арматуры следует применять проволоку класса B-I диаметром 5 мм по ГОСТ 6727-80. При отсутствии проволоки класса B-I в качестве поперечной арматуры следует применять проволоку периодического профиля класса Вр-I по ГОСТ 6727-80. Поперечная арматура должна быть приварена к продольным. стержням в каждом пересечении контактной точечной сваркой.

9. Расположение арматуры в сваях с ненапрягаемой арматурой должно соответствовать указанному на черт. 2. Общий вид арматурного каркаса показан на черт. 3.

Спецификация арматурных изделий на сваю приведена в табл. 2, выборка арматурной стали на одну сваю - в табл. 3, ведомость стержней и выборка стали на один каркас - в табл. 4 и 5.

10. В сваях с напрягаемой продольной арматурой в качестве продольной арматуры должна применяться высокопрочная арматурная проволока периодического профиля класса Вр-11 по ГОСТ 7348-81.

Армирование свай с ненапрягаемой арматурой

Черт. 2

Арматурный каркас

1 - продольная арматура; 2 - поперечная арматура.

Черт. 3

Таблица 2

Спецификация арматурных изделий на сваи марок СП3-30 ÷ СП12-40

Марка сваи

Арматурный каркас (1 шт.)

Петли (2 шт.)

Штырь (1 шт.)

Марки

СП3-30

КП3-30

Пп1

-

СП3,5-30

КП3,5-30

Пп2

СП4-30

КП4-30

СП4,5-30

КП4,5-30

СП5-30

КП5-30

СП5,5-30

КП5,5-30

СП6-30

КП6-30

СП7-30

КП7-30

СП8-30

КП8-30

Пп3

Ш1

СП9-30

КП9-30

СП10-30

КП10-30

СП11-30

КП11-30

СП12-30

КП12-30

СП3-40

КП3-40

Пп4

-

СП3,5-40

КП3,5-40

СП4-40

КП4-40

СП4,5-40

КП4,5-40

СП5-40

КП5-40

СП5,5-40

КП5,5-40

Пп5

СП6-40

КП6-40

СП7-40

КП7-40

Ш1

СП8-40

КП8-40

СП9-40

КП9-40

Пп6

СП10-40

КП10-40

СП11-40

КП11-40

СП12-40

КП12-40

Таблица 3

Выборка арматурной стали на сваи марок СП3-30 ÷ СП12-40

Марка сваи

Арматурная сталь

по ГОСТ 5781-82

по ГОСТ 5781-82 класс A-III

по ГОСТ 6727-80, класс B-I

Всего, масса, кг

Класс A-I

Класс A-II

Диаметр, мм

Масса, кг

Диаметр, мм

Масса, кг

Диаметр, мм

Масса, кг

Итого, кг

Диаметр, мм

Масса, кг

Диаметр, мм

Масса, кг

Диаметр, мм

Масса, кг

СП3-30

10

7,4

-

-

8

0,8

8,2

-

-

-

-

5

4,7

12,9

СП3,5-30

9,8

-

-

9,8

5,2

15,0

СП4-30

11,0

11,0

5,5

16,5

СП4,5-30

12,3

12,3

5,9

18.2

СП5-30

13,5

13,5

6,2

19,7

СП5,5-30

14,7

14,7

6,7

21,4

СП6-30

16,0

16,0

7,0

23,0

СП7-30

1,2

12

24,8

26.0

7,8

33,8

СП8-30

0,1

30,1

30,2

8,6

38,8

СП9-30

33,7

33,8

9,3

43,1

СП10-30

37,2

37,3

10,1

47,4

СП11-30

1,8

1,9

12

39,0

10,9

51,8

СП12-30

1,8

1,9

-

-

12

42,6

11,6

56,1

СП3-40

10

8,8

-

-

-

-

8,8

-

-

-

-

5

6,6

15,4

СП3,5-40

10,0

10,0

7,2

17,2

СП4-40

11,2

11,2

7,7

18,9

СП4,5-40

12,5

12,5

8,3

20,8

СП5-40

13,7

13,7

8,8

22,5

СП5,5-40

13,5

12

2,2

15,7

9,4

25,1

СП6-40

14,8

2,2

17,0

9,8

26,8

СП7-40

-

27,0

27,0

10,9

37,9

СП8-40

0,1

30,5

30,5

12,0

42,6

СП9-40

31,9

14

3,0

35,0

13,1

48,1

СП10-40

35,4

38,5

14,1

52,6

СП11-40

-

-

 

12

39,0

15,2

57,3

СП12-40

3.1

-

-

12

42,6

16,3

62,0

Таблица 4

Ведомость стержней на каркасы марок КП3-30 ÷ КП12-40

Марка каркаса

Позиция

Эскиз

Диаметр, мм класс

Длина, мм

Количество

КП3-30

1

2

Поз. 1

Поз. 2

10АI

5BI

2980

30600

4

1

КП3,5-30

1

2

10АI

5BI

3480

33600

4

1

КП4-30

1

2

10AI

5BI

3980

35600

4

1

КП4,5-30

1

2

10AI

5BI

4480

38600

4

1

КП5-30

1

2

10AI

5BI

4980

40600

4

1

КП5,5-30

1

2

10AI

5BI

5480

43600

4

1

КП6-30

1

2

10AI

5BI

5980

45600

4

1

КП7-30

1

2

12AI

5BI

6980

50600

4

1

КП8-30

1

2

12AI

5BI

7980

55600

4

1

КП9-30

1

2

12AI

5BI

8980

60600

4

1

КП10-30

1

2

12AI

5BI

9980

65600

4

1

КП11-30

1

2

12AII

5BI

10980

70600

4

1

КП12-30

1

2

12AIII

5BI

11980

75600

4

1

КП3-40

1

2

Поз. 1

Поз. 2

10AI

5BI

2980

43000

4

1

КП3,5-40

1

2

10AI

5BI

3480

47100

4

1

КП4-40

1

2

10AI

5BI

3980

49900

4

1

КП4,5-40

1

2

10AI

5BI

4480

54100

4

1

КП5-40

1

2

10AI

5BI

4980

56900

4

1

КП5,5-40

1

2

10AI

5BI

5480

61100

4

1

КП6-40

1

2

10AI

5BI

5980

63900

4

1

КП7-40

1

2

12AI

5BI

6980

70800

4

1

КП8-40

1

2

12AI

5BI

7980

77800

4

1

КП9-40

1

2

12AI

5BI

8980

84800

4

1

КП10-40

1

2

12AI

5BI

9980

91800

4

1

КП11-40

1

2

12AII

5BI

10980

98700

4

1

КП12-40

1

2

12AIII

5BI

11980

105800

4

1

Таблица 5

Выборка стали на каркасы марок КП3-30 ÷ КП12-40

Марка каркаса

Арматурная сталь, кг

Всего масса, кг

по ГОСТ 5781-82

по ГОСТ 5781-82, класс A-III, диаметр 12 мм

по ГОСТ 6727-80, класс B-I, диаметр 5 мм

Класс A-I, диаметр

Класс A-II, диаметр 12 мм

10 мм

12 мм

КП3-30

7,4

-

-

-

4,7

12,1

КП3,5-30

8,6

-

-

-

5,2

13,8

КП4-30

9,8

-

-

-

5,5

15,3

КП4,5-30

11,1

-

-

-

5,9

17,0

КП5-30

12,3

-

-

-

6,2

18,5

КП5,5-30

13,5

-

-

-

6,7

20,2

КП6-30

14,8

-

-

-

7,0

21,8

КП7-30

-

24,8

-

-

7,8

32,6

КП8-30

-

28,3

-

-

8,6

36,9

КП9-30

-

31,9

-

-

9,3

41,2

КП10-30

-

35,4

-

-

10,1

45,5

КП11-30

-

-

39,0

-

10,9

49,9

КП12-30

-

-

-

42,6

11,6

54,2

КП3-40

7,4

-

-

-

6,6

14,0

КП3,5-40

8,6

-

-

-

7,2

15,8

КП4-40

9,8

-

-

-

7,7

17,5

КП4,5-40

11,1

-

-

-

8,3

19,4

КП5-40

12,3

-

-

-

8,8

21,1

КП5,5-40

13,5

-

-

-

9,4

22,9

КП6-40

14,8

-

-

-

9,8

24,6

КП7-40

-

24,8

-

-

10,9

35,7

КП8-40

-

28,3

-

-

12,0

40,3

КП9-40

-

31,9

-

-

13,1

45,0

КП10-40

-

35,4

-

-

14,1

49,5

КП11-40

-

-

39,0

-

15,2

54,2

КП12-40

-

-

-

42,6

16,3

58,9

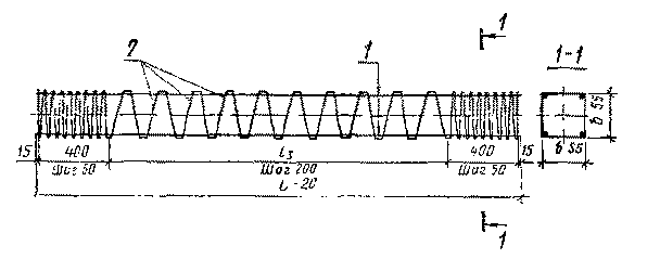
Поперечная арматура в виде спирали из проволоки диаметром 5 мм должна быть привязана вязальной проволокой к продольной арматуре в каждом четвертом пересечении с тем, чтобы шаг спирали был зафиксирован. Шаг спирали по обоим концам сваи на длине 400 мм должен быть равным 50 мм.

В средней части сваи шаг спирали должен быть равным:

200 мм - для сваи длиной 7-12 м;

300 мм - для свай длиной до 6 м включительно.

11 Натяжение арматуры класса Вр-II следует осуществлять механическим способом. Допускается использовать электротермический способ. При натяжении электротермическим способом высокопрочной проволоки дополнительно должны производиться контрольные испытания арматуры на растяжение после электронагрева. Образцы испытываются на растяжение в соответствии с требованиями ГОСТ 10446-80.

Температура нагрева напрягаемой проволоки при электротермическом способе натяжения не должна превышать величин, установленных нормативными документами по технологии изготовления предварительно напряженных конструкций.

12. Предельная величина предварительного натяжения арматуры принята σ0 = 0,76RaII, где RaII - расчетное сопротивление арматуры растяжению для предельных состояний второй группы, кгс/см2.

(Измененная редакция, Изм. № 1).

13. Прочность бетона в момент отпуска натяжения арматуры (передаточная прочность) должна быть не ниже 200 кгс/см2.

14. После отпуска натяжения арматура должна быть срезана заподлицо с бетоном.

15. Расположение арматуры в сваях с напрягаемой арматурой должно соответствовать указанному на черт. 4. Спираль показана на черт. 5.

Спецификация арматурных изделий и выборка стали на сваю приведены в табл. 6 и 7.

Ведомость стержней, выборка стали на продольную арматуру и усилие натяжения приведены в табл. 8.

Армирование свай с напрягаемой арматурой

1 - продольная арматура; 2 - поперечная арматура (спираль); 3 - отдельные стержни

Черт. 4

Спираль

Черт. 5

Ведомость стержней и выборка стали на спираль приведены в табл. 9 и 10.

16. Расположение петель и штырей в сваях с напрягаемой и ненапрягаемой арматурой должно соответствовать указанному на черт. 1. Петли должны быть привязаны к продольной арматуре вязальной проволокой. Штырь устанавливается после формования бетона.

17. Ведомость стержней и выборка стали на один элемент (петли, штырь, стержни) для свай с напрягаемой и ненапрягаемой арматурой приведены в табл. 11 и 12.

18. Изменение класса и диаметра продольной арматуры сваи, предусмотренных настоящим стандартом, при технико-экономическом обосновании допускается по согласованию с базовой организацией по стандартизации свай.

19. Сваи с ненапрягаемой арматурой должны быть испытаны на раскрытие трещин, а сваи с напрягаемой арматурой на образование трещин по схеме, указанной на черт. 6.

20. После укладки сваи на две опоры через 10 мин производят осмотр се верхней грани над опорами.

Сваю считают выдержавшей испытание, если на ее гранях:

раскрытие трещин не превышает 0,2 мм - для свай с ненапрягаемой арматурой;

не появятся трещины - для свай с напрягаемой арматурой.

21. Ширину раскрытия трещин измеряют с точностью до 0,05 мм.

22. Испытание на трещиностойкость свай, в которых площадь поперечного сечения продольной арматуры увеличена по сравнению с приведенной в настоящем стандарте, производят в соответствии со схемой, которая должна быть приложена к заказной спецификации.

23. Условия расчета и применения свай даны в приложении 1.

Таблица 6

Спецификация арматурных изделий на сваи марок СПН3-30 ÷ СПН12-40

Марка сваи

Продольная арматура

Спираль (1 шт.)

Петли (2 шт.)

Штырь (1 шт.)

Отдельные стержни (4 шт.)

Марки

СПН3-30

4Æ5ВрII

СпП3-30

Пп1

-

ОС1

СПН3,5-30

СпП3,5-30

Пп2

ОС2

СПН4-30

СпП4-30

СПН4,5-30

СпП4,5-30

СПН5-30

СпП5-30

СПН5,5-30

СпП5,5-30

СПН6-30

СпП6-30

СПН7-30

СпП7-30

СПН8-30

СпП8-30

Пп3

Ш1

ОС3

СПН9-30

СпП9-30

СПН10-30

СпП10-30

СПН11-30

8Æ5ВрII

СпП11-30

СПН12-30

СпП12-30

СПН3-40

4Æ5ВрII

СпП3-40

Пп4

-

ОС2

СПН3,5-40

СпП3,5-40

СПН4-40

СпП4-40

СПН4,5-40

СпП4,5-40

СПН5-40

СпП5-40

СПН5,5-40

СпП5,5-40

Пп5

ОС3

СПН6-40

СпП6-40

СПН7-40

СпП7-40

СПН8-40

СпП8-40

Ш1

СПН9-40

СпП9-40

Пп6

ОС4

СПН10-40

СпП10-40

СПН11-40

8Æ5ВрII

СпП11-40

СПН12-40

СпП12-40

Таблица 7

Выборка арматурной стали на сваи марок СПН3-80 ÷ СПH12-40

Марка сваи

Арматурная сталь

Всего масса, кг

по ГОСТ 7348-81, класс Вр-II

по ГОСТ 5781-82, класс A-I

по ГОСТ 6727-80, класс В-I

Диаметр, мм

Масса, кг

Диаметр, мм

Масса, кг

Диаметр, мм

Масса, кг

Итого, кг

Диаметр, мм

Масса, кг

СПН3-30

5

1,8

8

2,0

-

-

2,0

5

4,3

8,1

СПН3,5-30

2,2

10

2,8

2,8

4,4

9,4

СПН4-30

2,5

4,8

10,1

СПН4,5-30

2,8

5,1

10,7

СПН5-30

3,1

5,2

11,1

СПН5,5-30

3,4

5,5

11,7

СПН6-30

3,7

5,9

12,4

СПН7-30

4,3

7,8

14,9

СПН8-30

4,9

12

4,2

10

0,1

4,3

8,6

17,8

СПН9-30

5,5

9,3

19,1

СПН10-30

6,2

10,1

20,6

СПН11-30

13,6

10,9

28,8

СПН12-30

14,8

11,6

30,7

СПН3-40

1,8

10

3,0

-

-

3,0

6,0

10,8

СПН3,5-40

2,2

6,2

11,4

СПН4-40

2,5

6,7

12,2

СПН4,5-40

2,8

7,1

12,9

СПН5-40

3,1

7,3

13,4

СПН5,5-40

3,4

12

4,6

4,6

7,7

15,7

СПН6-40

3,7

8,2

16,5

СПН7-40

4,3

10,9

19,8

СПН8-40

4,9

14

6,2

10

0,1

6,3

12,0

21,6

СПН9-40

5,5

13,1

24,9

СПН10-40

6,2

14,1

26,6

СПН11-40

6,8

15,2

28,3

СПН12-40

7,4

16,3

30,0

Таблица 8

Ведомость стержней, выборка стали и усилие натяжения продольной арматуры свай марок СПН3-30 ÷ СПН12-40

Марка свай

Арматурная сталь по ГОСТ 7348-81

Усилие натяжения всех проволок, тс

Количество диаметр, мм, класс

Длина, мм

Масса, кг

СПН3-30

СПН3-40

4Æ5ВрII

3000

1,8

7,6

СПН3,5-30

СПН3,5-40

3500

2,2

СПН4-30

СПН4-40

4000

2,5

СПН4,5-30

СПН4,5-40

4500

2,8

СПН5-30

СПН5-40

5000

3,1

СПН5,5-30

СПН5,5-40

5500

3,4

СПН6-30

СПН6-40

6000

3,7

СПН7-30

СПН7-40

7000

4,3

СПН8-30

СПН8-40

8000

4,9

СПН9-30

СПН9-40

9000

5,5

СПН10-30

СПН10-40

10000

6,2

СПН11-30

СПН11-40

8Æ5ВрП

11000

6,8

15,2

СПН12-30

СПН12-40

12000

7,4

Примечание. Усилие натяжения одной проволоки составляет 1,9 тс.

Таблица 9

Ведомость стержней (спиралей) свай марок СПН3-30 ÷ СПН12-40

Марка спирали

Эскиз

l3, мм

Количество витков

Длина, мм

СпП3-30

СпП3,5-30

СпП4-30

СпП4,5-30

СпП5-30

СпП5,5-30

СпП6-30

2150

2650

3150

3650

4150

4650

5150

28

29

31

33

34

36

38

27800

28800

30900

32900

34000

36000

38100

СпП7-30

СпП8-30

СпП9-30

СпП10-30

СпП11-30

СпП12-30

6150

7150

8150

9150

10150

11150

51

56

61

66

71

77

50600

55600

60600

65600

70600

75600

СпП3-40

СпП3,5-40

СпП4-40

СпП4,5-40

СпП5-40

СпП5,5-40

СпП6-40

2150

2650

3150

3650

4150

4650

5150

28

29

31

33

34

36

38

38900

40300

43200

46000

47430

50200

53100

СпП7-40

СпП8-40

СпП9-40

СпП10-40

СпП11-40

СпП12-40

6150

7150

8150

9150

10150

11150

51

56

61

66

71

76

70800

77800

84800

91800

98700

105700

Таблица 10

Выборка арматурной стали на спираль

Марка спирали

Арматурная сталь, кг, по ГОСТ 6727-80, класс B-I, диаметр 5 мм

Марка спирали

Арматурная сталь, кг, по ГОСТ 6727-80, класс B-I, диаметр 5 мм

СпП3-30

4,3

СпП3-40

6,0

СпП3,5-30

4,4

СпП3,5-40

6,2

СпП4-30

4,8

СпП4-40

6,7

СпП4,5-30

5,1

СпП4,5-40

7,1

СпП5-30

5,2

СпП5-40

7,3

СпП5,5-30

5,5

СпП5,5-40

7,7

СпП6-30

5,9

СпП6-40

8,2

СпП7-30

7,8

СпП7-40

10,9

СпП8-30

8,6

СпП8-40

12,0

СпП9-30

9,3

СпП9-40

13,1

СпП10-30

10,1

СпП10-40

14,1

СпП11-30

10,9

СпП11-40

15,2

СпП12-30

11,6

СпП12-40

16,3

Таблица 11

Ведомость стержней на один элемент (петли, штырь, отдельные стержни)

Марка элемента

Эскиз

Диаметр, мм, класс

Длина

а1

мм

Пп1

Пп2

Пп3

Пп4

Пп5

Пп6

8AI

10AI

12AI

10AI

12AI

14AI

1000

1000

1010

1200

1210

1220

363

362

367

468

467

471

Ш1

ОС1

ОС2

ОС3

ОС4

 

10AI

8AI

10AI

12AI

14AI

250

700

700

700

700

-

-

-

-

-

Таблица 12

Выборка стали на один элемент (петли, штырь, отдельные стержни)

Марка элемента

Арматурная сталь по ГОСТ 5781-82, класс А-I

Диаметр, мм

Масса, кг

Пп1

8

0,4

Пп2

10

0,6

Пп3

12

0,9

Пп4

10

0,7

Пп5

12

1,1

Пп6

14

1,5

Ш1

10

0,1

ОС1

8

0,3

ОС2

10

0,4

ОС3

12

0,6

ОС4

14

0,8

Схема испытаний свай

Размер 0,36L - для свай с ненапрягаемой арматурой; размер 0,33L - для свай с напрягаемой арматурой.

Черт. 6

ПРИЛОЖЕНИЕ 1

Справочное

УСЛОВИЯ РАСЧЕТА И ПРИМЕНЕНИЯ СВАЙ

1. Сваи, предусмотренные настоящим стандартом, рассчитаны на изгиб от усилий, возникающих при подъеме на копер за одну точку, расположенную от торца на расстоянии, равном 0,294 длины сваи, по прочности и по:

раскрытию (кратковременному) трещин до ат.кр = 0,3 мм для свай с ненапрягаемой арматурой;

образованию трещин для свай с напрягаемой проволочной арматурой.

Коэффициент перегрузки к нагрузке от собственной массы не учитывается. Коэффициент динамичности принят равным:

1,5 - при расчете по прочности;

1,25 - при расчете по образованию трещин.

2. При проектировании свайных фундаментов сваи должны быть рассчитаны на прочность и трещиностойкость на нагрузки, передаваемые на сваи в строительный и эксплуатационный периоды. При этом категория трещиностойкости свай в зависимости от условий их работы и вида продольной арматуры, а также величины предельно допустимой ширины раскрытия трещин должны быть приняты согласно СНиП II.21-75.

Допускается увеличивать поперечное сечение продольной арматуры, если это требуется по расчету. При этом в конце марки сваи добавляется буква У (усиленная) и в заказной спецификации дополнительно указывается класс, диаметр и количество стержней продольной арматуры.

3. При проверке свай с ненапрягаемой арматурой по прочности и раскрытию трещин до ат.дл = 0,2 мм и свай с напрягаемой арматурой по прочности и образованию трещин на внецентренное сжатие от эксплуатационных нагрузок допускается пользоваться графиками, приведенными на черт. 1-6.

4. Вопрос о необходимости заполнения внутренней полости свай после их погружения решается при проектировании свайных фундаментов.

5. Графики для проверки свай, предусмотренных настоящим стандартом, на внецентренное сжатие от эксплуатационных нагрузок М и N приведены на черт. 1-6 (N - в тс, М - в тс м).

6. Предполагается, что свая по всей длине находится в грунте и продольный изгиб сваи не учитывается.

7. После выбора длины и сечения сваи (по геологическим условиям) устанавливается класс, диаметр и количество стержней или проволок продольной арматуры в соответствии с настоящим стандартом.

8. Если точка с координатами М и N на черт. 1-6 лежит ниже линии, соответствующей принятому армированию свай, то выбранная свая удовлетворяет расчету по прочности, раскрытию или образованию трещин (для соответствующей, продольной арматуры) на эксплуатационные нагрузки М и N, если точка лежит выше, - не удовлетворяет.

Сваи сечением 30×30 см. Бетон М300

Черт. 1

Сваи сечением 30×30 см. Бетон М300

Черт. 2

Сваи сечением 40×40 см. Бетон М300

Черт. 3

Сваи сечением 40×40 см. Бетон М300

Черт. 4

Сваи сечением 30×30 см. Бетон М300

Черт. 5

Сваи сечением 40×40 см. Бетон М300

Черт. 6

(Измененная редакция, Изм. № 1).




Яндекс цитирования



   Copyright © 2007-2026,  www.tehlit.ru.

[ ѓосты, стандарты, нормативы, инструкции, правила, строительные нормы ]