|
| |

ГОСУДАРСТВЕННЫЕ СТАНДАРТЫ СОЮЗА
ССР
СВАИ ЗАБИВНЫЕ ЖЕЛЕЗОБЕТОННЫЕ
СВАИ ПОЛЫЕ КРУГЛОГО СЕЧЕНИЯ
И СВАИ-ОБОЛОЧКИ ЖЕЛЕЗОБЕТОННЫЕ ЦЕЛЬНЫЕ С НЕНАПРЯГАЕМОЙ АРМАТУРОЙ
Конструкция и размеры
ГОСТ 19804.5-83
ИЗДАТЕЛЬСТВО СТАНДАРТОВ
МОСКВА
ГОСУДАРСТВЕННЫЙ СТАНДАРТ СОЮЗА ССР
|
СВАИ ПОЛЫЕ КРУГЛОГО
СЕЧЕНИЯ И СВАИ-ОБОЛОЧКИ
ЖЕЛЕЗОБЕТОННЫЕ ЦЕЛЬНЫЕ С НЕНАПРЯГАЕМОЙ
АРМАТУРОЙ
Конструкция и размеры
Reinforced
concrete round hole piles and pile-shells.
Structure and dimensions
|
ГОСТ
19804.5-83
|
Постановлением
Государственного комитета СССР по делам строительства от 23 декабря 1982 г. №
296 срок введения установлен
с 01.07.83
Переиздание. Май 1995 г.
1. Настоящий стандарт
распространяется на железобетонные цельные полые сваи диаметром от 400 до 800
мм, сваи-оболочки диаметром от 1000 до 1600 мм с ненапрягаемой продольной
арматурой и устанавливает конструкцию и размеры полых свай круглого сечения,
свай-оболочек и арматурных изделий к ним.
2. Железобетонные цельные
полые сваи круглого сечения (далее - сваи) и сваи-оболочки с ненапрягаемой
продольной арматурой должны удовлетворять требованиям ГОСТ 19804-91 и
настоящего стандарта.
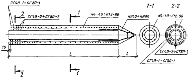
3. Сваи изготовляют с
закрытым нижним концом (с наконечником) или с открытым нижним концом (без
наконечника). Сваи-оболочки изготовляют с открытым нижним концом.
4. Обозначения марок свай и
свай-оболочек должны соответствовать указанным в ГОСТ 19804-91. Марки свай
с наконечником имеют в конце цифрового обозначения строчную букву «н», например
СК15-40н.
5. Форма, марки, номинальные
размеры свай и свай-оболочек, а также проектные марки бетона по прочности на
сжатие должны соответствовать указанным на черт.
1, 2 и в табл. 1.
6. Условия расчета и
применения свай и свай-оболочек даны в приложении.
7. Марка бетона по прочности
на сжатие принимается в соответствии с требованиями ГОСТ 19804-91 и
настоящего стандарта.
8. Марки бетона по
морозостойкости и водонепроницаемости устанавливаются в соответствии с
требованиями ГОСТ 19804-91.
9. Обвалы бетона с
внутренней поверхности с обнажением арматуры не допускаются.
10. В качестве крупного и
мелкого заполнителей для бетона свай и свай-оболочек следует применять
фракционированный щебень из естественного камня и гравия с размерами фракций
10-20 мм и природный обогащенный песок, отвечающие требованиям ГОСТ 10268-80.
Применение гравия в качестве
крупного заполнителя не допускается.
11. Сваи и сваи-оболочки
армируются пространственными каркасами. В качестве продольной арматуры следует
применять горячекатаную арматурную сталь классов A-I и A-III по ГОСТ
5781-82.
Для поперечного армирования
следует применять проволоку класса B-I или Вр-I
диаметром 5 мм по ГОСТ
6727-80.
12. Арматурные каркасы
следует изготовлять на навивочно-сварочных станках. Спираль следует приваривать
к продольным стержням в каждом третьем пересечении или в каждом пересечении
через два витка на третий.
На расстоянии 0,5 м от
концов каркаса спираль должна быть приварена в каждом пересечении к продольным
стержням.
Свая
без наконечника и свая-оболочка

1 – место строповки при выемке из опалубки и
транспортировании (одинарная полоса); 2 – место строповки при подъеме на копер
(двойная полоса)
Черт. 1
Свая с наконечником

1 – место строповки при выемке из опалубки и
транспортировании (одинарная полоса); 2 – место строповки при подъеме на копер
(двойная полоса)
Черт.
2
Таблица 1
|
Марка сваи и сваи-оболочки
|
Номинальные
размеры, мм
|
Проектная
марка бетона по прочности на сжатие
|
Объем
бетона (справочный), м3
|
Масса
сваи и сваи-оболочки (справочная), т
|
Расход
стали на одну сваю, сваю-оболочку, кг
|
|
L
|
l1
|
l2
|
l
|
D
|
d
|
d
|
|
СК4-40
|
4000
|
-
|
-
|
-
|
400
|
240
|
80
|
М300
|
0,32
|
0,80
|
19,2
|
|
СК4-40н
|
400
|
0,34
|
0,85
|
19,6
|
|
СК5-40
|
5000
|
-
|
0,40
|
1,00
|
22,2
|
|
СК5-40н
|
400
|
0,42
|
1,05
|
22,6
|
|
СК6-40
|
6000
|
1200
|
1800
|
-
|
0,48
|
1,21
|
25,2
|
|
СК6-40н
|
400
|
0,50
|
1,26
|
25,6
|
|
СК7-40
|
7000
|
1450
|
2100
|
-
|
0,56
|
1,41
|
31,2
|
|
СК7-40н
|
400
|
0,58
|
1,46
|
31,6
|
|
СК8-40
|
8000
|
1650
|
2400
|
-
|
0,64
|
1,61
|
35,0
|
|
СК8-40н
|
400
|
0,66
|
1,66
|
35,4
|
|
СК9-40
|
9000
|
1900
|
2650
|
-
|
0,72
|
1,81
|
38,3
|
|
CK9-40н
|
400
|
0,74
|
1,86
|
38,7
|
|
СК10-40
|
10000
|
2100
|
2900
|
-
|
0,80
|
2,01
|
46,2
|
|
СК10-40н
|
400
|
0,82
|
2,06
|
46,6
|
|
СК11-40
|
11000
|
2300
|
3200
|
-
|
0,88
|
2,21
|
50,0
|
|
СК11-40н
|
400
|
0,90
|
2,26
|
50,4
|
|
СК12-40
|
12000
|
2500
|
3500
|
-
|
0,96
|
2,41
|
65,2
|
|
СК12-40н
|
400
|
0,98
|
2,46
|
65,6
|
|
СК13-40
|
13000
|
2700
|
3800
|
-
|
1,04
|
2,61
|
70,0
|
|
СК13-40н
|
400
|
1,06
|
2,66
|
70,4
|
|
СК14-40
|
14000
|
2900
|
4100
|
-
|
1,12
|
2,81
|
85,8
|
|
СК14-40н
|
400
|
1,14
|
2,86
|
86,2
|
|
СК15-40
|
15000
|
3100
|
4400
|
-
|
1,20
|
3,01
|
91,5
|
|
СК15-40н
|
400
|
1,22
|
3,06
|
91,9
|
|
СК16-40
|
16000
|
3300
|
4700
|
-
|
1,29
|
3,22
|
109,6
|
|
СК16-40н
|
400
|
1,31
|
3,27
|
110,0
|
|
СК17-40
|
17000
|
3500
|
5000
|
-
|
1,37
|
3,42
|
140,7
|
|
СК17-40н
|
400
|
1,39
|
3,47
|
141,1
|
|
СК18-40
|
18000
|
3700
|
5300
|
-
|
1,45
|
3,62
|
148,5
|
|
СК18-40н
|
400
|
1,47
|
3,67
|
148,9
|
|
СК4-50
|
4000
|
-
|
-
|
-
|
500
|
340
|
0,42
|
1,06
|
26,0
|
|
СК4-50н
|
500
|
0,45
|
1,14
|
25,9
|
|
СК5-50
|
5000
|
-
|
-
|
-
|
0,53
|
1,32
|
29,8
|
|
СК5-50н
|
500
|
0,56
|
1,40
|
29,7
|
|
СК6-50
|
6000
|
1200
|
1800
|
-
|
0,63
|
1,58
|
33,8
|
|
СК6-50н
|
500
|
0,66
|
1,66
|
33,7
|
|
СК7-50
|
7000
|
1450
|
2100
|
-
|
0,74
|
1,85
|
37,7
|
|
СК7-50н
|
500
|
0,77
|
1,93
|
37,6
|
|
СК8-50
|
8000
|
1650
|
2400
|
-
|
0,84
|
2,11
|
41,9
|
|
СК8-50н
|
500
|
0,87
|
2,19
|
41,8
|
|
СК9-50
|
9000
|
1900
|
2650
|
-
|
0,95
|
2,37
|
45,7
|
|
СК9-50н
|
500
|
0,98
|
2,45
|
45,6
|
|
СК10-50
|
10000
|
2100
|
2900
|
-
|
1,06
|
2,64
|
54,1
|
|
СК10-50н
|
500
|
1,09
|
2,72
|
54,0
|
|
СК11-50
|
11000
|
2300
|
3200
|
-
|
1,16
|
2,90
|
58,4
|
|
СК11-50н
|
500
|
1,19
|
2,98
|
58,3
|
|
СК12-50
|
12000
|
2500
|
3500
|
-
|
1,27
|
3,16
|
74,0
|
|
СК12-50н
|
500
|
1,30
|
3,24
|
73,9
|
|
СК13-50
|
13000
|
2700
|
3800
|
-
|
1,37
|
3,43
|
79,3
|
|
СК13-50н
|
500
|
1,40
|
3,51
|
79,2
|
|
СК14-50
|
14000
|
2900
|
4100
|
-
|
1,48
|
3,69
|
95,6
|
|
СК14-50н
|
500
|
1,51
|
3,77
|
95,5
|
|
СК15-50
|
15000
|
3100
|
4400
|
-
|
1,58
|
3,96
|
101,8
|
|
СК15-50н
|
500
|
1,61
|
4,04
|
101,7
|
|
СК16-50
|
16000
|
3300
|
4700
|
-
|
1,69
|
4,22
|
120,4
|
|
СК16-50н
|
500
|
1,72
|
4,30
|
120,3
|
|
СК17-50
|
17000
|
3500
|
5000
|
-
|
1,79
|
4,48
|
152,0
|
|
СК17-50н
|
500
|
1,82
|
4,56
|
151,9
|
|
СК18-50
|
18000
|
3700
|
5300
|
-
|
1,90
|
4,75
|
160,3
|
|
СК18-50н
|
500
|
1,93
|
4,83
|
160,2
|
|
СК4-60
|
4000
|
-
|
-
|
-
|
600
|
400
|
100
|
0,63
|
1,57
|
30,3
|
|
СК4-60н
|
600
|
0,69
|
1,71
|
29,8
|
|
СК5-60
|
5000
|
-
|
0,78
|
1,96
|
34,5
|
|
СК5-60н
|
600
|
0,84
|
2,10
|
34,0
|
|
СК6-60
|
6000
|
1200
|
1800
|
-
|
0,94
|
2,36
|
38,8
|
|
СК6-60н
|
600
|
1,00
|
2,50
|
38,3
|
|
СК7-60
|
7000
|
1450
|
2100
|
-
|
1,10
|
2,75
|
43,1
|
|
СК7-60н
|
600
|
1,16
|
2,89
|
42,6
|
|
СК8-60
|
8000
|
1650
|
2400
|
-
|
1,26
|
3,14
|
47,6
|
|
СК8-60н
|
600
|
1,32
|
3,28
|
47,1
|
|
СК9-60
|
9000
|
1900
|
2650
|
-
|
1,41
|
3,53
|
55,9
|
|
СК9-60н
|
600
|
1,47
|
3,67
|
54,4
|
|
СК10-60
|
10000
|
2100
|
2900
|
-
|
1,57
|
3,92
|
70,1
|
|
СК10-60н
|
600
|
1,63
|
4,06
|
69,6
|
|
СК11-60
|
11000
|
2300
|
3200
|
-
|
1,73
|
4,32
|
75,7
|
|
СК11-60н
|
600
|
1,76
|
4,46
|
75,2
|
|
СК12-60
|
12000
|
2500
|
3500
|
-
|
1,88
|
4,71
|
90,8
|
|
СК12-60н
|
600
|
1,94
|
4,85
|
90,3
|
|
СК13-60
|
13000
|
2700
|
3800
|
-
|
2,04
|
5,10
|
97,3
|
|
СК13-60н
|
600
|
2,10
|
5,24
|
96,8
|
|
СК14-60
|
14000
|
2900
|
4100
|
-
|
2,20
|
5,50
|
117,9
|
|
СК14-60н
|
600
|
2,26
|
5,64
|
117,4
|
|
СК15-60
|
15000
|
3100
|
4400
|
-
|
2,36
|
5,89
|
125,3
|
|
СК15-60н
|
600
|
2,42
|
6,03
|
124,8
|
|
СК16-60
|
16000
|
3300
|
4700
|
-
|
2,51
|
6,28
|
152,6
|
|
СК16-60н
|
600
|
2,57
|
6,42
|
152,1
|
|
СК17-60
|
17000
|
3500
|
5000
|
-
|
2,67
|
6,67
|
182,2
|
|
СК17-60н
|
600
|
2,73
|
6,81
|
181,7
|
|
СК18-60
|
18000
|
37010
|
5300
|
-
|
2,83
|
7,06
|
192,2
|
|
СК18-60н
|
600
|
2,89
|
7,20
|
191,7
|
|
СК4-80
|
4000
|
-
|
-
|
-
|
800
|
600
|
М400
|
0,88
|
2,20
|
45,6
|
|
СК4-80н
|
800
|
1,01
|
2,53
|
43,6
|
|
СК5-80
|
5000
|
-
|
1,10
|
2,75
|
51,8
|
|
СК5-80н
|
800
|
1,23
|
3,08
|
49,8
|
|
СК6-80
|
6000
|
-
|
-
|
|
1,32
|
3,30
|
57,8
|
|
СК6-80н
|
800
|
1,45
|
3,63
|
55,8
|
|
СК7-80
|
7000
|
|
1,54
|
3,85
|
64,0
|
|
СК7-80н
|
800
|
1,67
|
4,18
|
62,0
|
|
СК8-80
|
8000
|
|
|
-
|
1,76
|
4,40
|
86,9
|
|
СК8-80н
|
800
|
1,89
|
4,73
|
84,9
|
|
СК9-80
|
9000
|
1900
|
2650
|
-
|
1,98
|
4,94
|
95,2
|
|
СК9-80н
|
800
|
2,11
|
5,28
|
93,2
|
|
СК10-80
|
10000
|
2100
|
2900
|
-
|
2,20
|
5,50
|
103,4
|
|
СК10-80н
|
800
|
2,33
|
5,83
|
101,4
|
|
СК11-80
|
11000
|
2300
|
3200
|
-
|
2,42
|
6,04
|
120,3
|
|
СК11-80н
|
800
|
2,55
|
6,38
|
118,3
|
|
СК12-80
|
12000
|
2500
|
3500
|
-
|
2,64
|
6,59
|
129,2
|
|
СК12-80н
|
800
|
2,77
|
6,93
|
127,2
|
|
СО6-100
|
6000
|
-
|
-
|
-
|
1000
|
760
|
120
|
1,99
|
4,97
|
131,6
|
|
СО7-100
|
7000
|
2,32
|
5,80
|
148,5
|
|
СО8-100
|
8000
|
2,65
|
6,63
|
165,4
|
|
CО9-100
|
9000
|
2,98
|
7,46
|
182,3
|
|
CО10-100
|
10000
|
3,32
|
8,29
|
199,3
|
|
СО11-100
|
11000
|
3,65
|
9,12
|
216,2
|
|
СО12-100
|
12000
|
3,98
|
9,95
|
233,1
|
|
СО6-120
|
6000
|
1200
|
960
|
2,44
|
6,10
|
140,1
|
|
CО7-120
|
7000
|
2,85
|
7,12
|
156,7
|
|
СO8-120
|
8000
|
3,26
|
8,14
|
173,2
|
|
СО9-120
|
9000
|
3,66
|
9,16
|
189,7
|
|
СО10-120
|
10000
|
4,07
|
10,17
|
206,3
|
|
СО11-120
|
11000
|
4,48
|
11,19
|
222,8
|
|
СО12-120
|
12000
|
4,88
|
12,21
|
239,4
|
|
CО6-160
|
6000
|
1600
|
1360
|
3,35
|
8,36
|
260,6
|
|
CО7-160
|
7000
|
3,90
|
9,76
|
292,9
|
|
CО8-160
|
8000
|
4,46
|
11,15
|
325,1
|
|
CО9-160
|
9000
|
5,02
|
12,55
|
357,4
|
|
CО10-160
|
10000
|
5,58
|
13,94
|
389,6
|
|
СО11-160
|
11000
|
6,13
|
15,34
|
421,9
|
|
CO12-160
|
12000
|
6,69
|
16,73
|
454,2
|
Примечание. Расход стали на одну сваю (сваю-оболочку)
приведен при условии армирования проволокой класса B-I.
Допускается изготовлять
арматурные каркасы на специализированных стендах с обязательной контактной
точечной сваркой пересечений продольной и поперечной арматуры.
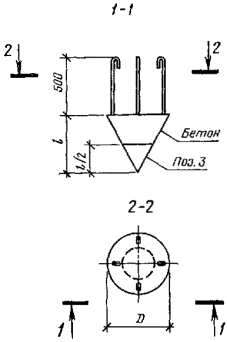
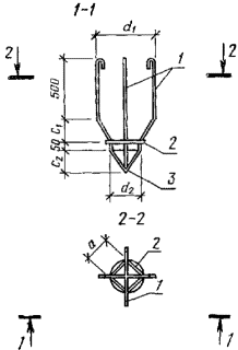
13. Сваи без наконечника и
сваи-оболочки следует армировать в соответствии с черт. 3, а сваи с наконечником - в соответствии с черт. 4. Арматурные каркасы следует
изготовлять в соответствии с черт. 5.
Армирование
сваи без наконечника и сваи-оболочки

Черт.
3
Армирование сваи с
наконечником

Черт.
4
Арматурные каркасы К4-40¸К12-160

Черт.
5
Спецификация арматурных
изделий и выборка стали на одну сваю и сваю-оболочку приведены в табл. 2 и 3,
ведомость стержней и выборка стали на один каркас сваи и сваи-оболочки - в табл. 4 и 5.
Таблица
2
Спецификация
арматурных изделий на сваю и сваю-оболочку
|
Марка сваи и сваи-оболочки
|
Арматурный
каркас (1 шт.)
|
Спираль
головы
|
Каркас
наконечника (1 шт.)
|
|
Марка
|
Кол.
|
|
СК4-40
|
К4-40
|
СГ40-1
|
2
|
-
|
|
СГ40-2
|
2
|
|
СК4-40н
|
СГ40-1
|
1
|
КН40
|
|
СГ40-2
|
1
|
|
СК5-40
|
К5-40
|
СГ40-1
|
2
|
-
|
|
СГ40-2
|
2
|
|
СК5-40н
|
СГ40-1
|
1
|
КН40
|
|
СГ40-2
|
1
|
|
СК6-40
|
К6-40
|
СГ40-1
|
2
|
-
|
|
СГ40-2
|
2
|
|
СК6-40н
|
СГ40-1
|
1
|
КН40
|
|
СГ40-2
|
1
|
|
СК7-40
|
К7-40
|
СГ40-1
|
2
|
-
|
|
СГ40-2
|
2
|
|
СК7-40н
|
СГ40-1
|
1
|
КН40
|
|
СГ40-2
|
1
|
|
СК8-40
|
К8-40
|
СГ40-1
|
2
|
-
|
|
СГ40-2
|
2
|
|
СК8-40н
|
СГ40-1
|
1
|
КН40
|
|
СГ40-2
|
1
|
|
СК9-40
|
К9-40
|
СГ40-1
|
2
|
-
|
|
СГ40-2
|
2
|
|
СК9-40н
|
СГ40-1
|
1
|
КН40
|
|
СГ40-2
|
1
|
|
СК10-40
|
К10-40
|
СГ40-1
|
2
|
-
|
|
СГ40-2
|
2
|
|
СК10-40н
|
СГ40-1
|
1
|
КН40
|
|
СГ40-2
|
1
|
|
СК11-40
|
К11-40
|
СГ40-1
|
2
|
-
|
|
СГ40-2
|
2
|
|
СК11-40н
|
СГ40-1
|
1
|
КН40
|
|
СГ40-2
|
1
|
|
СК12-40
|
К12-40
|
СГ40-1
|
2
|
-
|
|
СГ40-2
|
2
|
|
СК12-40н
|
СГ40-1
|
1
|
КН40
|
|
СГ40-2
|
1
|
|
СК13-40
|
К13-40
|
СГ40-1
|
2
|
-
|
|
СГ40-2
|
2
|
|
СК13-40н
|
СГ40-1
|
1
|
KH40
|
|
СГ40-2
|
1
|
|
СК14-40
|
К14-40
|
СГ40-1
|
2
|
-
|
|
СГ40-2
|
2
|
|
СК14-40н
|
СГ40-1
|
1
|
КН40
|
|
СГ40-2
|
1
|
|
СК15-40
|
К15-40
|
СГ40-1
|
2
|
-
|
|
СГ40-2
|
2
|
|
СК15-40н
|
СГ40-1
|
1
|
КН40
|
|
СГ40-2
|
1
|
|
СК16-40
|
К16-40
|
СГ40-1
|
2
|
-
|
|
СГ40-2
|
2
|
|
СК16-40н
|
СГ40-1
|
1
|
КН40
|
|
СГ40-2
|
1
|
|
СК17-40
|
КI7-40
|
СГ40-1
|
2
|
-
|
|
СГ40-2
|
2
|
|
СК17-40н
|
СГ40-1
|
1
|
КН40
|
|
СГ40-2
|
1
|
|
СК18-40
|
К18-40
|
СГ40-1
|
2
|
-
|
|
СГ40-2
|
2
|
|
СК18-40н
|
СГ40-1
|
1
|
КH40
|
|
СГ40-2
|
1
|
|
СК4-50
|
К4-50
|
СГ50-1
|
2
|
-
|
|
СГ50-2
|
2
|
|
СК4-50н
|
СГ50-1
|
1
|
КH50
|
|
СГ50-2
|
1
|
|
СК5-50
|
К5-50
|
СГ50-1
|
2
|
-
|
|
СГ50-2
|
2
|
|
СК5-50н
|
СГ50-1
|
1
|
КH50
|
|
СГ50-2
|
1
|
|
СК6-50
|
К6-50
|
CГ50-1
|
2
|
-
|
|
СГ50-2
|
2
|
|
СК6-50н
|
СГ50-1
|
1
|
КH50
|
|
СГ50-2
|
1
|
|
СК7-50
|
К7-50
|
СГ50-1
|
2
|
-
|
|
СГ50-2
|
2
|
|
СК7-50н
|
CГ50-1
|
1
|
КH50
|
|
СГ50-2
|
1
|
|
СК8-50
|
К8-50
|
СГ50-1
|
2
|
-
|
|
СГ50-2
|
2
|
|
СК8-50н
|
СГ50-1
|
1
|
КH50
|
|
СГ50-2
|
1
|
|
СК9-50
|
К9-50
|
СГ50-1
|
2
|
-
|
|
СГ50-2
|
2
|
|
СК9-50н
|
CГ50-1
|
1
|
КH50
|
|
СГ50-2
|
1
|
|
СК10-50
|
К10-50
|
СГ50-1
|
2
|
-
|
|
СГ50-2
|
2
|
|
СК10-50н
|
СГ50-1
|
1
|
КH50
|
|
СГ50-2
|
1
|
|
СК11-50
|
К11-50
|
СГ50-1
|
2
|
-
|
|
СГ50-2
|
2
|
|
СК11-50н
|
СГ50-1
|
1
|
КH50
|
|
СГ50-2
|
1
|
|
СК12-50
|
К12-50
|
СГ50-1
|
2
|
-
|
|
СГ50-2
|
2
|
|
СК12-50н
|
СГ50-1
|
1
|
КH50
|
|
СГ50-2
|
1
|
|
СК13-50
|
К13-50
|
СГ50-1
|
2
|
-
|
|
СГ50-2
|
2
|
|
СК13-50н
|
СГ50-1
|
1
|
КH50
|
|
СГ50-2
|
1
|
|
СК14-50
|
К14-50
|
СГ50-1
|
2
|
-
|
|
СГ50-2
|
2
|
|
СК14-50н
|
СГ50-1
|
1
|
КН50
|
|
СГ50-2
|
1
|
|
СК15-50
|
К15-50
|
СГ50-1
|
2
|
-
|
|
СГ50-2
|
2
|
|
СК15-50н
|
СГ50-1
|
1
|
КН50
|
|
СГ50-2
|
1
|
|
СК16-50
|
К16-50
|
СГ50-1
|
2
|
-
|
|
СГ50-2
|
2
|
|
СК16-50н
|
СГ50-1
|
1
|
КН50
|
|
СГ50-2
|
1
|
|
СК17-50
|
К17-50
|
СГ50-1
|
2
|
-
|
|
СГ50-2
|
2
|
|
СК17-50н
|
СГ50-1
|
1
|
КН50
|
|
СГ50-2
|
1
|
|
СК18-50
|
К18-50
|
СГ50-1
|
2
|
-
|
|
СГ50-2
|
2
|
|
СК18-50н
|
СГ50-1
|
1
|
КН50
|
|
СГ50-2
|
1
|
|
СК4-60
|
К4-60
|
СГ60-1
|
2
|
-
|
|
СГ60-2
|
2
|
|
СК4-60н
|
СГ60-1
|
1
|
КН60
|
|
СГ60-2
|
1
|
|
СК5-60
|
К5-60
|
СГ60-1
|
2
|
-
|
|
СГ60-2
|
2
|
|
СК6-60н
|
СГ60-1
|
1
|
КН60
|
|
СГ60-2
|
1
|
|
СК6-60
|
К6-60
|
СГ60-1
|
2
|
-
|
|
СГ60-2
|
2
|
|
СК6-60н
|
СГ60-1
|
1
|
КН60
|
|
СГ60-2
|
1
|
|
СК7-60
|
К7-60
|
СГ60-1
|
2
|
-
|
|
СГ60-2
|
2
|
|
СК7-60н
|
СГ60-1
|
1
|
КН60
|
|
СГ60-2
|
1
|
|
СК8-60
|
К8-60
|
СГ60-1
|
2
|
-
|
|
СГ60-2
|
2
|
|
СК8-60н
|
СГ60-1
|
1
|
КН60
|
|
СГ60-2
|
1
|
|
СК9-60
|
К9-60
|
СГ60-1
|
2
|
-
|
|
СГ60-2
|
2
|
|
СК9-60н
|
СГ60-1
|
1
|
КН60
|
|
СГ60-2
|
1
|
|
СК10-60
|
К10-60
|
СГ60-1
|
2
|
-
|
|
СГ60-2
|
2
|
|
СК10-60н
|
СГ60-1
|
1
|
КН60
|
|
СГ60-2
|
1
|
|
СК11-60
|
К11-60
|
СГ60-1
|
2
|
-
|
|
СГ60-2
|
2
|
|
СК11-60н
|
СГ60-1
|
1
|
КН60
|
|
СГ60-2
|
1
|
|
СК12-60
|
К12-60
|
СГ60-1
|
2
|
-
|
|
СГ60-2
|
2
|
|
СК12-60н
|
СГ60-1
|
1
|
КН60
|
|
СГ60-2
|
1
|
|
СК13-60
|
К13-60
|
СГ60-1
|
2
|
-
|
|
СГ60-2
|
2
|
|
СК13-60н
|
СГ60-1
|
1
|
КН60
|
|
СГ60-2
|
1
|
|
СК14-60
|
К14-60
|
СГ60-1
|
2
|
-
|
|
СГ60-2
|
2
|
|
СК14-60н
|
СГ60-1
|
1
|
КН60
|
|
СГ60-2
|
1
|
|
СК15-60
|
К15-60
|
СГ60.-1
|
2
|
-
|
|
СГ60-2
|
2
|
|
СК15-60н
|
СГ60-1
|
1
|
КН60
|
|
СГ60-2
|
1
|
|
СК16-60
|
К16-60
|
СГ60-1
|
2
|
-
|
|
СГ60-2
|
2
|
|
СК16-60н
|
СГ60-1
|
1
|
КН60
|
|
СГ60-2
|
1
|
|
СК17-60
|
К17-60
|
СГ60-1
|
2
|
-
|
|
СГ60-2
|
2
|
|
СК17-60н
|
СГ60-1
|
1
|
КН60
|
|
СГ60-2
|
1
|
|
СК18-60
|
К18-60
|
СГ60-1
|
2
|
-
|
|
СГ60-2
|
2
|
|
СК18-60н
|
СГ60-1
|
1
|
КН60
|
|
СГ60-2
|
1
|
|
СК4-80
|
К4-80
|
СГ80-1
|
2
|
-
|
|
СГ80-2
|
2
|
|
СК4-80н
|
СГ80-1
|
1
|
КН80
|
|
СГ80-2
|
1
|
|
СК5-80
|
К5-80
|
СГ80-1
|
2
|
-
|
|
СГ80-2
|
2
|
|
СК5-80н
|
СГ80-1
|
1
|
КН80
|
|
СГ80-2
|
1
|
|
СК6-80
|
К6-80
|
СГ80-1
|
2
|
-
|
|
СГ80-2
|
2
|
|
СК6-80н
|
СГ80-1
|
1
|
КН80
|
|
СГ80-2
|
1
|
|
СК7-80
|
К7-80
|
СГ80-1
|
2
|
-
|
|
СГ80-2
|
2
|
|
СК7-80н
|
СГ80-1
|
1
|
КН80
|
|
СГ80-2
|
1
|
|
СК8-80
|
К8-80
|
СГ80-1
|
2
|
-
|
|
СГ80-2
|
2
|
|
СК8-80н
|
СГ80-1
|
1
|
КН80
|
|
СГ80-2
|
1
|
|
СК9-80
|
К9-80
|
СГ80-1
|
2
|
-
|
|
СГ80-2
|
2
|
|
СК9-80н
|
СГ80-1
|
1
|
КН80
|
|
СГ80-2
|
1
|
|
СК10-80
|
К10-80
|
СГ80-1
|
2
|
-
|
|
СГ80-2
|
2
|
|
СК10-80н
|
СГ80-1
|
1
|
КН80
|
|
СГ80-2
|
1
|
|
СК11-80
|
К11-80
|
СГ80-1
|
2
|
-
|
|
СГ80-2
|
2
|
|
СК11-80н
|
СГ80-1
|
1
|
КН80
|
|
СГ80-2
|
1
|
|
СК12-80
|
К12-80
|
СГ80-1
|
2
|
-
|
|
СГ80-2
|
2
|
|
СК12-80н
|
СГ80-1
|
1
|
КН80
|
|
СГ80-2
|
1
|
|
CО6-100
|
К6-100
|
СГ100-1
|
2
|
-
|
|
СГ100-2
|
|
CО7-100
|
К7-100
|
СГ100-1
|
|
СГ100-2
|
|
CО8-100
|
К8-100
|
СГ100-1
|
|
СГ100-2
|
|
CО9-100
|
К9-100
|
СГ100-1
|
|
СГ100-2
|
|
СО10-100
|
К10-100
|
СГ100-1
|
|
СГ100-2
|
|
СО11-100
|
К11-100
|
СГ100-1
|
|
СГ100-2
|
|
СО12-100
|
К12-100
|
СГ100-1
|
|
СГ100-2
|
|
СО6-120
|
К6-120
|
СГ120-1
|
|
СГ120-2
|
|
СО7-120
|
К7-120
|
СГ120-1
|
|
СГ120-2
|
|
CO8-120
|
К8-120
|
СГ120-1
|
|
СГ120-2
|
|
CО9-120
|
К9-120
|
СГ120-1
|
|
СГ120-2
|
|
CО10-120
|
К10-120
|
СГ120-1
|
|
СГ120-2
|
|
СО11-120
|
К11-120
|
СГ120-1
|
|
СГ120-2
|
|
CO12-120
|
К12-120
|
СГ120-1
|
|
СГ120-2
|
|
CО6-160
|
К6-160
|
СГ160-1
|
|
СГ160-2
|
|
CО7-160
|
К7-160
|
СГ160-1
|
|
СГ160-2
|
|
CO8-160
|
К8-160
|
СГ160-1
|
|
СГ160-2
|
|
CО9-160
|
К9-160
|
СГ160-1
|
|
СГ160-2
|
|
CO10-160
|
К10-160
|
СГ160-1
|
|
СГ160-2
|
|
CO11-160
|
К11-160
|
СГ160-1
|
|
СГ160-2
|
|
CO12-160
|
К12-160
|
СГ160-1
|
|
СГ160-2
|
|
|
|
|
|
|
Таблица
3
Выборка
стали на одну сваю и сваю-оболочку
|
Марка сваи и сваи-оболочки
|
Арматурная
сталь
|
Листовая
сталь по ГОСТ 19903-74, толщина 1 мм
|
Всего
масса
|
|
|
по ГОСТ
5781-82
|
по ГОСТ
6727-80, класс
В-I
|
|
|
Класс A-I
|
Класс A-III
|
|
|
Диаметр, мм
|
Масса, кг
|
Диаметр, мм
|
Масса, кг
|
Итого, кг
|
Диаметр, мм
|
Масса, кг
|
Диаметр, мм
|
Масса, кг
|
|
|
кг
|
|
|
СК4-40
|
6
|
5,3
|
8
|
-
|
5,3
|
-
|
-
|
5
|
13,9
|
-
|
19,2
|
|
|
СК4-40н
|
5,3
|
1,8
|
7,1
|
11,9
|
0,6
|
19,6
|
|
|
СК5-40
|
6,6
|
-
|
6,6
|
15,6,
|
-
|
22,2
|
|
|
СК5-40н
|
6,6
|
1,8
|
8,4
|
13,6
|
0,6
|
22,6
|
|
|
СК6-40
|
8,0
|
-
|
8,0
|
17,2
|
-
|
25,2
|
|
|
СК6-40н
|
8,0
|
1,8
|
9,8
|
1,5,2
|
0,6
|
25,6
|
|
|
СК7-40
|
12,4
|
-
|
12,4
|
18,8
|
-
|
31,2
|
|
|
СК7-40н
|
12,4
|
1,8
|
14,2
|
16,8
|
0,6
|
31,6
|
|
|
СК8-40
|
-
|
-
|
-
|
-
|
6
|
14,9
|
20,7
|
-
|
35,0
|
|
|
СК8-40н
|
1,8
|
1,8
|
14,9
|
18,7
|
0,6
|
35,4
|
|
|
СК9-40
|
-
|
-
|
15,9
|
22,3
|
-
|
38,3
|
|
|
СК9-40н
|
1,8
|
1,8
|
15,9
|
20,3
|
0,6
|
38,7
|
|
|
СК10-40
|
-
|
-
|
22,2
|
24,0
|
-
|
46,2
|
|
|
CК10-40н
|
1,8
|
1,8
|
22,2
|
22,0
|
0,6
|
46,6
|
|
|
CК11-40
|
-
|
-
|
24,4
|
25,6
|
-
|
50,0
|
|
|
CК11-40н
|
1,8
|
1,8
|
24,4
|
23,6
|
0,6
|
50,4
|
|
|
СК12-40
|
-
|
-
|
8
|
37,9
|
27,3
|
-
|
65,2
|
|
|
СК12-40н
|
1,8
|
1,8
|
37,9
|
25,3
|
0,6
|
65,6
|
|
|
СК13-40
|
-
|
-
|
41,0
|
29,0
|
-
|
70,0
|
|
|
СК13-40н
|
1,8
|
1,8
|
41,0
|
27,0
|
0,6
|
70,4
|
|
|
СК14-40
|
-
|
-
|
55,2
|
30,6
|
-
|
85,8
|
|
|
СК14-40н
|
1,8
|
1,8
|
55,2
|
28,6
|
0,6
|
86,2
|
|
|
СК15-40
|
-
|
-
|
59,2
|
32,3
|
-
|
91,5
|
|
|
СК15-40н
|
1,8
|
1,8
|
59,2
|
30,3
|
0,6
|
91,9
|
|
|
СК16-40
|
-
|
-
|
75,7
|
33,9
|
-
|
109,6
|
|
|
СК16-40н
|
1,8
|
1,8
|
75,7
|
31,9
|
0,6
|
110,0
|
|
|
СК17-40
|
-
|
-
|
10
|
104,8
|
35,9
|
-
|
140,7
|
|
|
СК17-40н
|
1,8
|
1,8
|
104,8
|
33,9
|
0,6
|
141,1
|
|
|
СК18-40
|
-
|
-
|
110,9
|
37,6
|
-
|
148,5
|
|
|
СК18-40н
|
1,8
|
1,8
|
110,9,
|
35,6
|
0,6
|
148,9
|
|
|
СК4-50
|
6
|
7,1
|
-
|
7,1
|
-
|
-
|
18,9
|
-
|
26,0
|
|
|
СК4-50н
|
7,1
|
2,0
|
9,1
|
15,9
|
0,9
|
25,9
|
|
|
СК5-50
|
8,8
|
-
|
8,8
|
21,0
|
-
|
29,8
|
|
|
СК5-50н
|
8,8
|
2,0
|
10,8
|
18,0
|
0,9
|
29,7
|
|
|
СК6-50
|
10,6
|
-
|
10,6
|
23,2
|
-
|
33,8
|
|
|
СК6-50н
|
10,6
|
2,0
|
12,6
|
20,2
|
0,9
|
33,7
|
|
|
CК7-50
|
12,4
|
-
|
12,4
|
25,3
|
-
|
37,7
|
|
|
СК7-50н
|
12,4
|
2,0
|
14,4
|
22,3
|
0,9
|
37,6
|
|
|
СК8-50
|
-
|
-
|
-
|
-
|
6
|
14,3
|
27,6
|
-
|
41,9
|
|
|
СК8-50н
|
2,0
|
2,0
|
14,3
|
24,6
|
0,9
|
41,8
|
|
|
СК9-50
|
-
|
-
|
15,9
|
29,7
|
-
|
45,7
|
|
|
СК9-50н
|
2,0
|
2,0
|
15,9
|
26,7
|
0,9
|
45,6
|
|
|
СК10-50
|
-
|
-
|
22,2
|
31,9
|
-
|
54,1
|
|
|
СК10-50н
|
2,0
|
2,0
|
22,2
|
28,9
|
0,9
|
54,0
|
|
|
СК11-50
|
-
|
-
|
24,4
|
34,0
|
-
|
58,4
|
|
|
СК11-50н
|
2,0
|
2,0
|
24,4
|
31,0
|
0,9
|
58,3
|
|
|
СК12-50
|
-
|
-
|
8
|
37,9
|
36,1
|
-
|
74,0
|
|
|
CК12-50н
|
2,0
|
2,0
|
37,9
|
33,1
|
0,9
|
73,9
|
|
|
СК13-50
|
-
|
-
|
41,0
|
38,3
|
-
|
79,3
|
|
|
СК13-50н
|
2,0
|
2,0
|
41,0
|
35,3
|
0,9
|
79,2
|
|
|
CК14-50
|
-
|
-
|
55,2
|
40,4
|
-
|
95,6
|
|
|
СК14-50н
|
2,0
|
2,0
|
55,2
|
37,4
|
0,9
|
95,5
|
|
|
СК15-50
|
-
|
-
|
59,2
|
42,6
|
-
|
101,8
|
|
|
СК15-50н
|
2,0
|
2,0
|
59,2
|
39, 6
|
0,9
|
101,7
|
|
|
СК16-50
|
-
|
-
|
75,7
|
44,7
|
-
|
120,4
|
|
|
СК16-50н
|
2,0
|
2,0
|
75,7
|
41,7
|
0,9
|
120,3
|
|
|
СК17-50
|
-
|
-
|
10
|
104,8
|
47,2
|
-
|
152,0
|
|
|
CК17-50н
|
2,0
|
2,0
|
104,8
|
44,2
|
0,9
|
151,0
|
|
|
CК18-50
|
-
|
-
|
110,9
|
49,4
|
-
|
160,3
|
|
|
СК18-50н
|
2,0
|
2,0
|
110,9
|
46,4
|
0,9
|
160,2
|
|
|
СК4-60
|
6
|
7,1
|
-
|
7,1
|
-
|
-
|
23,2
|
-
|
30,3
|
|
|
СК4-60н
|
7,1
|
2,2
|
9,3
|
19,2
|
1,3
|
29,8
|
|
|
СК5-60
|
8,8
|
-
|
8,8
|
25,7
|
-
|
34,5
|
|
|
СК5-60н
|
8,8
|
2,2
|
11,0
|
21,7
|
1,3
|
34,0
|
|
|
СК6-60
|
10,6
|
-
|
10,6
|
28,2
|
-
|
38,8
|
|
|
СК6-60н
|
10,6
|
2,2
|
12,8
|
24,2
|
1,3
|
38,3
|
|
|
СК7-60
|
12,4
|
-
|
12,4
|
30,7
|
-
|
43,1
|
|
|
СК7-60н
|
12,4
|
2,2
|
14,6
|
26,7
|
1,3
|
42,6
|
|
|
CК8-60
|
-
|
-
|
-
|
-
|
6
|
14,2
|
33,4
|
-
|
47,6
|
|
|
СК8-60н
|
2,2
|
2,2
|
14,2
|
29,4
|
1,3
|
47,1
|
|
|
СК9-60
|
-
|
-
|
19,9
|
36,0
|
-
|
55,9
|
|
|
СК9-60н
|
2,2
|
2,2
|
19,9
|
32,0
|
1,3
|
55,4
|
|
|
СК10-60
|
-
|
-
|
8
|
31,6
|
38,5
|
-
|
70,1
|
|
|
СК10-60н
|
2,2
|
2,2
|
31,6
|
34,5
|
1,3
|
69,6
|
|
|
СК11-60
|
-
|
-
|
34,7
|
41,0
|
-
|
75,7
|
|
|
СК11-60н
|
2,2
|
2,2
|
34,7
|
37,0
|
1,3
|
75,2
|
|
|
СК12-60
|
-
|
-
|
47,3
|
43,5
|
-
|
90,8
|
|
|
CК12-60н
|
2,2
|
2,2
|
47,3
|
39,5
|
1,3
|
90,3
|
|
|
СК13-60
|
-
|
-
|
51,3
|
46,0
|
-
|
97,3
|
|
|
СК13-60н
|
2,2
|
2,2
|
51,3
|
42,0
|
1,3
|
96,8
|
|
|
СК14-60
|
-
|
-
|
10
|
69,0
|
48,9
|
-
|
117,9
|
|
|
СК14-60н
|
2,2
|
2,2
|
69,0
|
44,9
|
1,3
|
117,4
|
|
|
СК15-60
|
-
|
-
|
73,9
|
51,4
|
-
|
125,3
|
|
|
CК15-60н
|
2,2
|
2,2
|
73,9
|
47,4
|
1,3
|
124,8
|
|
|
СК16-60
|
-
|
-
|
98,6
|
54,0
|
-
|
152,6
|
|
|
СК16-60н
|
2,2
|
2,2
|
98,6
|
50,0
|
1,3
|
152,1
|
|
|
СК17-60
|
-
|
-
|
125,7
|
56,5
|
-
|
182,2
|
|
|
СК17-60н
|
2,2
|
2,2
|
125,7
|
52,5
|
1,3
|
181,7
|
|
|
СК18-60
|
-
|
-
|
133,1
|
59,1
|
-
|
192,2
|
|
|
СК18-60н
|
2,2
|
2,2
|
133,1
|
55,1
|
1,3
|
191,7
|
|
|
СК4-80
|
6
|
10,6
|
-
|
10,6
|
-
|
|
35,0
|
-
|
45,6
|
|
|
СК4-80н
|
10,6
|
2,7
|
13,3
|
28,1
|
2,2
|
43,6
|
|
|
СК5-80
|
13,3
|
-
|
13,3
|
38,5
|
-
|
51,8
|
|
|
СК5-80н
|
13,3
|
2,7
|
16,0
|
31,6
|
2,2
|
49,8
|
|
|
СК6-80
|
15,9
|
-
|
15,9
|
41,9
|
-
|
57,8
|
|
|
СК6-80н
|
15,9
|
2,7
|
18,6
|
35,0
|
2,2
|
55,8
|
|
|
СК7-80
|
18,6
|
-
|
18,6
|
45,4
|
-
|
64,0
|
|
|
СК7-80н
|
18,6
|
2,7
|
21,3
|
38,5
|
2,2
|
62,0
|
|
|
CК8-80
|
-
|
-
|
37,8
|
37,8
|
49,1
|
-
|
86,9
|
|
|
СК8-80н
|
40,5
|
40,5
|
42,2
|
2,2
|
84,9
|
|
|
СК9-80
|
42,6
|
42,6
|
52,6
|
-
|
95,2
|
|
|
СК9-80н
|
45,3
|
45,3
|
45,7
|
2,2
|
93,2
|
|
|
СК10-80
|
47,3
|
47,3
|
56,1
|
-
|
103,4
|
|
|
СК10-80н
|
50,0
|
50,0
|
49,2
|
2,2
|
101,4
|
|
|
СК11-80
|
-
|
-
|
8
|
60,7
|
59,6
|
-
|
120,3
|
|
|
СК10-80н
|
2,7
|
2,7
|
60,7
|
52,7
|
2,2
|
118,3
|
|
|
CК12-80
|
-
|
-
|
66,2
|
63,0
|
-
|
129,2
|
|
|
CК12-80н
|
2,7
|
2,7
|
66,2
|
56,1
|
2,2
|
127,2
|
|
|
CО6-100
|
-
|
-
|
-
|
12
|
74,3
|
57,3
|
-
|
131,6
|
|
|
CО7-100
|
86,8
|
61,7
|
148,5
|
|
|
C08-100
|
99,2
|
66,2
|
165,4
|
|
|
CО9-100
|
111,6
|
70,7
|
182,3
|
|
|
CО10-100
|
124,1
|
75,2
|
199,3
|
|
|
CO11-100
|
136,5
|
79,7
|
216,2
|
|
|
СО12-100
|
148,9
|
84,2
|
233,1
|
|
|
СО6-120
|
10
|
66,4
|
73,7
|
140,1
|
|
|
CО7-120
|
77,5
|
79,2
|
156,7
|
|
|
CО8-120
|
88,6
|
84,6
|
173,2
|
|
|
CО9-120
|
99,7
|
90,0
|
189,7
|
|
|
CO10-120
|
110,8
|
95,5
|
206,3
|
|
|
CO11-120
|
121,9
|
100,9
|
222,8
|
|
|
CO12-120
|
133,0
|
106,4
|
239,4
|
|
|
CО6-160
|
12
|
148,7
|
111,9
|
260,6
|
|
|
CО7-160
|
173,6
|
119,3
|
292,9
|
|
|
CО8-160
|
198,4
|
126,7
|
325,1
|
|
|
CО9-160
|
223,3
|
134,1
|
357,4
|
|
|
CO10-160
|
248,1
|
141,5
|
389,6
|
|
|
СО11-160
|
273,0
|
148,9
|
421,9
|
|
|
CО12-160
|
297,9
|
156,3
|
454,2
|
|
Таблица
4
Ведомость
стержней на один каркас сваи и сваи-оболочки
|
Марка каркаса
|
Поз.
|
Эскиз
|
Диаметр,
мм, класс
|
Размеры,
мм
|
Кол.
|
|
L-20
|
D1
|
с
|
|
К4-40
|
1
|

|
6AI
|
3980
|
-
|
171
|
6
|
|
2
|
5BI
|
64690
|
337
|
-
|
1
|
|
К5-40
|
1
|
6AI
|
4980
|
-
|
171
|
6
|
|
2
|
5BI
|
75320
|
337
|
-
|
1
|
|
К6-40
|
1
|
6AI
|
5980
|
-
|
171
|
6
|
|
2
|
5BI
|
85950
|
337
|
-
|
1
|
|
К7-40
|
1
|
6AI
|
6980
|
-
|
128
|
8
|
|
2
|
5BI
|
96570
|
337
|
-
|
1
|
|
К8-40
|
1
|
6AI
|
7980
|
-
|
129
|
8
|
|
2
|
5BI
|
108470
|
337
|
-
|
1
|
|
К9-40
|
1
|
6AI
|
8980
|
-
|
129
|
8
|
|
2
|
5BI
|
119220
|
337
|
-
|
1
|
|
К10-40
|
1
|
6AI
|
9980
|
-
|
129
|
10
|
|
2
|
5BI
|
129980
|
337
|
-
|
1
|
|
К11-40
|
1
|
6AI
|
10980
|
-
|
129
|
10
|
|
2
|
5BI
|
140730
|
337
|
-
|
1
|
|
К12-40
|
1
|
8AIII
|
11980
|
-
|
128
|
8
|
|
2
|
5BI
|
151480
|
341
|
-
|
1
|
|
К13-40
|
1
|
8AIII
|
12980
|
-
|
129
|
8
|
|
2
|
5BI
|
162240
|
341
|
-
|
1
|
|
К14-40
|
1
|
8AIII
|
13980
|
-
|
103
|
10
|
|
2
|
5BI
|
172990
|
341
|
-
|
1
|
|
К15-40
|
1
|
8AIII
|
14980
|
-
|
103
|
10
|
|
2
|
5BI
|
183750
|
341
|
-
|
1
|
|
К16-40
|
1
|
8AIII
|
15980
|
-
|
86
|
12
|
|
2
|
5BI
|
194500
|
341
|
-
|
1
|
|
К17-40
|
1
|
10AIII
|
16980
|
-
|
104
|
10
|
|
2
|
5BI
|
207640
|
345
|
-
|
1
|
|
К18-40
|
1
|
10AIII
|
117980
|
-
|
104
|
10
|
|
2
|
5BI
|
218520
|
345
|
-
|
1
|
|
К4-50
|
1
|
6AI
|
31980
|
-
|
167
|
8
|
|
2
|
5BI
|
83810
|
437
|
-
|
1
|
|
К5-50
|
1
|
6AI
|
4980
|
-
|
167
|
8
|
|
2
|
5BI
|
97570
|
437
|
-
|
1
|
|
К6-50
|
1
|
6AI
|
5980
|
-
|
167
|
8
|
|
2
|
5BI
|
111330
|
437
|
-
|
1
|
|
К7-50
|
1
|
6AI
|
6980
|
-
|
167
|
8
|
|
2
|
5BI
|
125080
|
437
|
-
|
1
|
|
К8-50
|
1
|
6AI
|
7980
|
-
|
168
|
8
|
|
2
|
5BI
|
140110
|
437
|
-
|
1
|
|
К9-50
|
1
|
6AIII
|
8980
|
-
|
168
|
8
|
|
2
|
5BI
|
153990
|
437
|
-
|
1
|
|
К10-50
|
1
|

|
6AIII
|
9980
|
-
|
168
|
10
|
|
2
|
5BI
|
167880
|
437
|
-
|
1
|
|
К11-50
|
1
|
6AIII
|
10980
|
-
|
168
|
10
|
|
2
|
5BI
|
181760
|
437
|
-
|
1
|
|
К12-50
|
1
|
8AIII
|
11980
|
-
|
168
|
8
|
|
2
|
5BI
|
195640
|
441
|
-
|
1
|
|
К13-50
|
1
|
8AIII
|
12980
|
-
|
168
|
8
|
|
1
|
5BI
|
209530
|
441
|
-
|
1
|
|
К14-50
|
1
|
8AIII
|
13980
|
-
|
134
|
10
|
|
2
|
5BI
|
223410
|
441
|
-
|
1
|
|
К15-50
|
1
|
8AIII
|
14980
|
-
|
134
|
10
|
|
2
|
5BI
|
237290
|
441
|
-
|
1
|
|
К16-50
|
1
|
8AIII
|
15980
|
-
|
112
|
12
|
|
2
|
5BI
|
251180
|
441
|
-
|
1
|
|
К17-50
|
1
|
10AIII
|
16900
|
-
|
135
|
10
|
|
2
|
5BI
|
267450
|
445
|
-
|
1
|
|
К18-50
|
1
|
10AIII
|
17980
|
-
|
135
|
10
|
|
2
|
5BI
|
281460
|
445
|
-
|
1
|
|
К4-60
|
1
|
6AI
|
3980
|
-
|
199
|
8
|
|
2
|
5BI
|
99120
|
517
|
-
|
1
|
|
К5-60
|
1
|
6AI
|
4980
|
-
|
199
|
8
|
|
2
|
5BI
|
115380
|
517
|
-
|
1
|
|
К6-60
|
1
|
6AI
|
5980
|
-
|
199
|
8
|
|
2
|
5BI
|
131650
|
517
|
-
|
1
|
|
К7-60
|
1
|
6AI
|
6980
|
-
|
159
|
8
|
|
2
|
5BI
|
147910
|
517
|
-
|
1
|
|
К8-60
|
1
|
6AIII
|
7980
|
-
|
199
|
8
|
|
2
|
5BI
|
165440
|
517
|
-
|
1
|
|
К9-60
|
1
|
6AIII
|
8980
|
-
|
160
|
10
|
|
2
|
5BI
|
181830
|
517
|
-
|
1
|
|
К10-60
|
1
|
8AIII
|
9980
|
-
|
160
|
8
|
|
2
|
5BI
|
198220
|
521
|
-
|
1
|
|
К11-60
|
1
|
8AIII
|
10980
|
-
|
160
|
8
|
|
2
|
5BI
|
214610
|
521
|
-
|
1
|
|
К12-60
|
1
|
8AIII
|
11980
|
-
|
160
|
10
|
|
2
|
5BI
|
231000
|
521
|
-
|
1
|
|
К13-60
|
1
|
8AIII
|
12980
|
-
|
160
|
10
|
|
2
|
5BI
|
247390
|
521
|
-
|
1
|
|
К14-60
|
1
|
10AIII
|
13980
|
-
|
200
|
8
|
|
2
|
5BI
|
265800
|
525
|
-
|
1
|
|
К15-60
|
1
|
10AIII
|
14980
|
-
|
200
|
8
|
|
2
|
5BI
|
282320
|
525
|
-
|
1
|
|
К16-60
|
1
|

|
10AIII
|
15980
|
-
|
160
|
10
|
|
2
|
5BI
|
298830
|
525
|
-
|
1
|
|
К17-60
|
1
|
10AIII
|
16980
|
-
|
133
|
12
|
|
2
|
5BI
|
315350
|
525
|
-
|
1
|
|
К18-60
|
1
|
10AIII
|
17980
|
-
|
133
|
12
|
|
2
|
5BI
|
331920
|
525
|
-
|
1
|
|
К4-80
|
1
|
6AI
|
3980
|
-
|
185
|
12
|
|
2
|
5BI
|
137400
|
717
|
-
|
1
|
|
К5-80
|
1
|
6AI
|
4980
|
-
|
185
|
12
|
|
2
|
5BI
|
159940
|
717
|
-
|
1
|
|
К6-80
|
1
|
6AI
|
5980
|
-
|
185
|
12
|
|
2
|
5BI
|
182470
|
717
|
-
|
1
|
|
К7-80
|
1
|
6AI
|
6980
|
-
|
185
|
12
|
|
2
|
5BI
|
205010
|
717
|
-
|
1
|
|
К8-80
|
1
|
8AI
|
7980
|
-
|
185
|
12
|
|
2
|
5BI
|
228810
|
721
|
-
|
1
|
|
К9-80
|
1
|
8AI
|
8980
|
-
|
185
|
12
|
|
2
|
5BI
|
251470
|
721
|
-
|
1
|
|
К10-80
|
1
|
8AI
|
9980
|
-
|
185
|
12
|
|
2
|
5BI
|
274130
|
721
|
-
|
1
|
|
К11-80
|
1
|
8AIII
|
10980
|
-
|
159
|
14
|
|
2
|
5BI
|
296800
|
721
|
-
|
1
|
|
К12-80
|
1
|
8AIII
|
11980
|
-
|
159
|
14
|
|
2
|
5BI
|
319460
|
721
|
-
|
1
|
|
К6-100
|
1
|
12AIII
|
5980
|
-
|
205
|
14
|
|
2
|
5BI
|
236370
|
897
|
-
|
1
|
|
К7-100
|
1
|
12AIII
|
6980
|
-
|
205
|
14
|
|
2
|
5BI
|
265550
|
897
|
-
|
1
|
|
К8-100
|
1
|
12AIII
|
7980
|
-
|
205
|
14
|
|
2
|
5BI
|
294740
|
897
|
-
|
1
|
|
К9-100
|
1
|
12AIII
|
8980
|
-
|
205
|
14
|
|
2
|
5BI
|
323930
|
897
|
-
|
1
|
|
К10-100
|
1
|
12AIII
|
9980
|
-
|
205
|
14
|
|
2
|
5BI
|
353120
|
897
|
-
|
1
|
|
К11-100
|
1
|
12AIII
|
10980
|
-
|
205
|
14
|
|
2
|
5BI
|
382310
|
897
|
-
|
1
|
|
К12-100
|
1
|
12AIII
|
11980
|
-
|
205
|
14
|
|
2
|
5BI
|
411490
|
897
|
-
|
1
|
|
К6-120
|
1
|
10AIII
|
5980
|
-
|
194
|
18
|
|
2
|
5BI
|
286200
|
1093
|
-
|
1
|
|
К7-120
|
1
|
10AIII
|
6980
|
-
|
194
|
18
|
|
2
|
5BI
|
321540
|
1093
|
-
|
1
|
|
К8-120
|
1
|

|
10АIII
|
7980
|
-
|
194
|
18
|
|
|
2
|
5BI
|
356880
|
1093
|
-
|
1
|
|
К9-120
|
1
|
10АIII
|
8980
|
-
|
194
|
18
|
|
|
2
|
5BI
|
392220
|
1093
|
-
|
1
|
|
К10-120
|
1
|
10АIII
|
9980
|
-
|
194
|
18
|
|
|
2
|
5BI
|
407560
|
1093
|
-
|
1
|
|
К11-120
|
1
|
10АIII
|
10980
|
-
|
194
|
18
|
|
|
2
|
5BI
|
462900
|
1093
|
-
|
1
|
|
К12-120
|
1
|
10АIII
|
11980
|
-
|
194
|
18
|
|
|
2
|
5BI
|
498240
|
1093
|
-
|
1
|
|
К6-160
|
1
|
12АIII
|
5980
|
-
|
170
|
28
|
|
|
2
|
5BI
|
388940
|
1497
|
-
|
1
|
|
К7-160
|
1
|
10АIII
|
6980
|
-
|
170
|
28
|
|
|
2
|
5BI
|
436960
|
1497
|
-
|
1
|
|
К8-160
|
1
|
10АIII
|
7980
|
-
|
170
|
28
|
|
|
2
|
5BI
|
484980
|
1497
|
-
|
1
|
|
К9-160
|
1
|
10АIII
|
8980
|
-
|
170
|
28
|
|
|
2
|
5BI
|
533000
|
1497
|
-
|
1
|
|
К10-160
|
1
|
10АIII
|
9980
|
-
|
170
|
28
|
|
|
2
|
5BI
|
581020
|
1497
|
-
|
1
|
|
К11-160
|
1
|
10АIII
|
10980
|
-
|
170
|
28
|
|
|
2
|
5BI
|
629040
|
1497
|
-
|
1
|
|
К12-160
|
1
|
10АIII
|
11980
|
-
|
170
|
28
|
|
|
2
|
5BI
|
77060
|
1497
|
-
|
1
|
Примечание. Размеры каркасов сваи и сваи-оболочки
обозначены на черт. 5.
Таблица
5
Выборка
стали на один каркас сваи и сваи-оболочки
|
Марка каркаса
|
Арматурная
сталь
|
Всего
масса, кг
|
|
по ГОСТ
5781-82
|
по ГОСТ
6727-80, класс
В-I
|
|
Класс A-I
|
Класс
А-III
|
|
Диаметр,
мм
|
Масса, кг
|
Диаметр,
мм
|
Масса, кг
|
Диаметр,
мм
|
Масса, кг
|
|
К4-40
К5-40
К6-40
К7-40
|
6
|
5,3
6,6
8,0
12,4
|
-
|
-
|
5
|
9,9
11,6
13,2
14,8
|
15,2
18,3
21,2
27,2
|
|
К8-40
К9-40
К10-40
К11-40
|
-
|
-
|
6
|
14,3
15,9
22,2
24,4
|
16,7
18,3
20,0
21,6
|
31,0
34,1
42,2
46,0
|
|
К12-40
К13-40
К14-40
К15-40
К16-40
|
-
|
37,9
41,0
55,2
59,2
75,7
|
23,3
25,0
26,6
28,3
29,9
|
61,2
66,0
81,8
87,5
105,6
|
|
К17-40
К18-40
|
10
|
104,8
110,9
|
31,9
33,6
|
136,7
144,5
|
|
К4-50
К5-50
К6-50
К7-50
|
6
|
7,1
8,8
10,6
12,4
|
-
|
-
|
12,9
15,0
17,2
19,3
|
20,0
23,8
27,8
31,7
|
|
К8-50
К9-50
К10-50
К11-50
|
-
|
-
|
6
|
14,3
15,9
22,2
24,4
|
21,6
23,7
25,9
28,0
|
35,9
39,6
48,1
52,4
|
|
К12-50
К13-50
К14-50
К15-50
К16-60
|
8
|
37,9
41,0
55,2
59,2
75,7
|
30,1
32,3
34,4
36,6
38,7
|
68,0
73,3
89,6
95,8
114,4
|
|
К17-50
К18-50
|
10
|
104,8
110,9
|
41,2
43,4
|
146,0
154,3
|
|
К4-60
К5-60
К5-60
К7-60
К8-60
К9-60
К10-60
К11-60
К12-60
К13-60
К14-60
К15-60
К16-60
К17-60
К18-60
|
6
|
7,1
8,8
10,6
12,4
|
-
|
-
|
15,2
17,7
20,2
22,7
|
22,3
26,5
30,8
35,1
|
|
-
|
-
|
6
|
14,2
19,9
31,6
34,7
47,3
51,3
69,0
73,9
98,6
125,7
133,1
|
25,4
28,0
30,5
33,0
35,5
38,0
40,9
43,4
46,0
48,5
51,1
|
39,6
47,9
62,1
67,7
82,8
89,3
109,9
117,3
144,6
174,2
184,2
|
|
8
|
|
10
|
|
К4-80
К5-80
К6-80
К7-80
К8-80
К9-80
К10-80
К11-80
К12-80
|
6
|
10,6
13,3
15,9
18,6
|
-
|
-
|
21,2
24,7
28,1
31,6
35,3
38,8
42,3
45,8
49,2
|
31,8
38,0
44,0
50,2
73,1
81,4
89,6
106,5
115,4
|
|
8
|
37,8
42,6
47,3
|
|
-
|
-
|
8
|
60,7
66,2
|
|
К6-100
К7-100
К8-100
К9-100
К10-100
К11-100
К12-100
|
12
|
74,3
86,8
99,2
111,6
124,1
136,5
148,9
|
36,5
40,9
45,4
49,9
54,4
58,9
63,4
|
110,8
127,7
144,6
161,5
178,5
195,4
212,3
|
|
К6-120
К7-120
К8-120
К9-120
К10-120
К11-120
К12-120
|
10
|
66,4
77,5
88,6
99,7
110,8
121,9
133,0
|
44,1
49,6
55,0
60,4
65,9
71,3
76,8
|
110,5
127,1
143,6
160,1
176,7
193,2
209,8
|
|
К6-160
К7-160
К8-160
К9-160
К10-160
К11-160
К12-160
|
12
|
148,7
173,6
198,4
223,3
248,1
278,0
297,9
|
59,9
67,3
74,7
82,1
89,5
96,9
104,3
|
208,6
240,9
273,1
305,4
337,6
369,9
402,2
|
14. Форма, номинальные
размеры наконечников должны соответствовать указанным на черт. 6, 7 и в табл. 1. Марки каркасов наконечников
приведены в табл. 2.
Для армирования наконечника
свай следует применять арматурную сталь класса A-I по ГОСТ
5781-82 и листовую сталь по ГОСТ 19903-74.
Ведомость стержней и выборка
стали на каркас наконечника приведены в табл.
6 и 7.
Наконечники
свай СК4-40н¸СК12-80н

Черт. 6
Каркасы наконечников
КН40-КН80

Черт. 7
Таблица
6
Ведомость
стержней на один каркас наконечника
|
Марка каркаса наконечника
|
Поз.
|
Эскиз
|
Диаметр,
мм, класс
|
Размеры,
мм
|
Длина, мм
|
Кол.
|
|
c1
|
c2
|
d1
|
d2
|
a
|
R
|
|
КН40
|
1
|



|
8AI
|
150
|
170
|
310
|
190
|
-
|
-
|
1932
|
2
|
|
2
|
8AI
|
-
|
-
|
-
|
-
|
148
|
-
|
592
|
1
|
|
3
|
-
|
-
|
-
|
-
|
-
|
-
|
223
|
-
|
1
|
|
КН50
|
1
|
8AI
|
200
|
220
|
410
|
238
|
-
|
-
|
2154
|
2
|
|
2
|
8AI
|
-
|
-
|
-
|
-
|
183
|
-
|
732
|
1
|
|
3
|
-
|
-
|
-
|
-
|
-
|
-
|
279
|
-
|
1
|
|
КН60
|
1
|
8AI
|
250
|
270
|
490
|
288
|
-
|
-
|
2371
|
2
|
|
2
|
8AI
|
-
|
-
|
-
|
-
|
225
|
-
|
900
|
1
|
|
3
|
-
|
-
|
-
|
-
|
-
|
-
|
335
|
-
|
1
|
|
КН80
|
1
|
8AI
|
350
|
370
|
690
|
388
|
-
|
-
|
2818
|
2
|
|
2
|
8AI
|
-
|
-
|
-
|
-
|
298
|
-
|
1192
|
1
|
|
3
|
-
|
-
|
-
|
-
|
-
|
-
|
446
|
-
|
1
|
Таблица
7
Выборка
стали на каркас наконечника
|
Марка каркаса
|
Арматурная
сталь по ГОСТ
5781-82, диаметр
8 мм, класс A-I
|
Листовая
сталь по ГОСТ 19903-74, толщина 1 мм
|
Всего
масса
|
|
кг
|
|
КН40
|
1,8
|
0,6
|
2,4
|
|
КН50
|
2,0
|
0,9
|
2,9
|
|
КН60
|
2,2
|
1,3
|
3,5
|
|
КН80
|
2,7
|
2,2
|
4,9
|
Арматурные выпуски
наконечников следует скреплять с продольной арматурой сваи точечной сваркой или
вязальной проволокой. Наконечник следует устанавливать по шаблону.
15. Концы сваи без
наконечника и сваи-оболочки должны быть усилены спиралями из проволоки класса B-I или
Вр-I диаметром 5 мм по ГОСТ
6727-80.
Марки, ведомость стержней и
выборка стали на спирали приведены в табл. 8.
Таблица
8
Ведомость стержней и выборка стали на спираль головы
|
Марка спирали
|
Эскиз
|
Диаметр,
мм, класс
|
Длина
заготовки l, мм
|
D2, мм
|
Кол.
витков
|
Масса, кг
|
|
СГ40-1
СГ40-2
|

|
5ВI
|
7450
5100
|
395
270
|
6
|
1,2
0,8
|
|
СГ50-1
СГ50-2
|
10890
8140
|
495
370
|
7
|
1,7
1,3
|
|
СГ60-1
СГ60-2
|
114950
10810
|
595
430
|
8
|
2,3
1,7
|
|
СГ80-1
СГ80-2
|
24970
19790
|
795
630
|
10
|
3,8
3,1
|
|
СГ100-1
СГ100-2
|
37500
29770
|
995
790
|
12
|
5,8
4,6
|
|
СГ120-1
СГ120-2
|
52540
43530
|
1195
990
|
14
|
8,1
6,7
|
|
СГ160-1
СГ160-2
|
90150
78570
|
1595
1380
|
18
|
13,9
12,1
|
16. Все сварные соединения
должны удовлетворять требованиям ГОСТ
14098-91, ГОСТ
10922-90 и СН 393-78.
17. Подъем свай и
свай-оболочек следует производить захватами в местах, отмеченных на поверхности
свай и свай-оболочек краской: в виде одинарной полосы - при транспортировании и
выемке из опалубки на расстоянии l1 от торца, в виде двойной
полосы - при подъеме на копер на расстоянии l2 от торца. Отметки наносят
на двух противоположных сторонах поверхности свай и свай-оболочек, длина
отметки должна быть не менее 10 см для полых свай и 20 см для свай-оболочек.
Разметку мест захвата производят в соответствии с черт. 1, 2 и табл. 1. Краски должны быть несмываемыми.
Конструкции захвата должны удовлетворять требованиям техники безопасности.
Сваи и сваи-оболочки, для
которых не указаны места подъема при транспортировании и выемке из опалубки,
разрешается поднимать за торцы при помощи захватов специальной конструкции.
При складировании и
транспортировании прокладки под такие сваи и сваи-оболочки следует располагать
на расстоянии 0,5 м от торцов.
18. Сваи длиной 6 м и более
должны быть испытаны на раскрытие трещин путем укладки их на две опоры,
расположенные по схеме, указанной на черт. 8.
Схема
испытания свай

Черт.
8
После укладки сваи на две
опоры через 10 мин производят осмотр ее верхней поверхности над опорами. Сваю
считают выдержавшей испытание, если ширина раскрытия трещин не превышает 0,2
мм. Ширину раскрытия трещин измеряют с точностью до 0,05 мм.
Сваи-оболочки, изготовленные
по чертежам, приведенным в настоящем стандарте, на раскрытие трещин не
испытывают.
ПРИЛОЖЕНИЕ
Справочное
УСЛОВИЯ РАСЧЕТА И ПРИМЕНЕНИЯ СВАЙ И СВАЙ-ОБОЛОЧЕК
1. Сваи и сваи-оболочки,
предусмотренные настоящим стандартом, рассчитаны на изгиб от усилий,
возникающих при подъеме на копер за одну точку, расположенную от торца на
расстоянии, равном 0,294 длины цилиндрической части сваи и сваи-оболочки, по
прочности и по кратковременному раскрытию трещин до ат.кр =
0,3 мм. Коэффициент перегрузки к нагрузке от собственного веса не учитывают.
Коэффициент динамичности
принят равным:
1,5 - при расчете по
прочности;
1,25 - при расчете по
раскрытию трещин.
2.
Сваи-оболочки рассчитаны также на вибропогружение. Рекомендуемые марки
вибропогружателей приведены в таблице.
|
Размеры свай-оболочек
|
Марки вибропогружателя
|
|
Наружный диаметр,
|
Длина, м
|
|
1000
|
6-12
|
ВП-3М
|
|
11200
|
|
1600
|
ВУ-1,6
|
3. При проектировании свайных
фундаментов сваи и сваи-оболочки должны быть рассчитаны по прочности и
раскрытию трещин на нагрузки, передаваемые на сваю или сваю-оболочку в
строительный и эксплуатационный периоды. При этом допустимую ширину раскрытия
трещин принимают в соответствии с требованиями СНиП II-21-75.
4. При проверке свай и
свай-оболочек по прочности и раскрытию трещин до ат.дл = 0,3
мм на внецентренное сжатие от эксплуатационных нагрузок М и N
допускается пользоваться графиками, приведенными на черт. 1-5
настоящего приложения.
На графиках приняты
обозначения: N - нормальная сила, тс
и М - изгибающий момент относительно оси сваи или сваи-оболочки,
т×см, передаваемые на сваю или
сваю-оболочку при эксплуатации здания и сооружения. Предполагается, что свая
или свая-оболочка по всей длине находится в грунте, и ее продольный изгиб не
учитывают.
5. После выбора длины и
сечения сваи и сваи-оболочки (по геологическим условиям) устанавливают класс,
диаметр и количество стержней продольной арматуры в соответствии с настоящим
стандартом.
6. Если точка с координатами М
и N лежит ниже кривой, соответствующей принятому армированию сваи или
сваи-оболочки, то выбранная свая или свая-оболочка удовлетворяет расчету по
прочности и раскрытию трещин на эксплуатационные нагрузки М и N,
если точка лежит выше - не удовлетворяет.
Сваи
диаметром 400 мм. Бетон М300

Черт. 1
Сваи диаметром 500 мм. Бетон
М300

Черт. 2
Сваи диаметром 600 мм. Бетон
М300

Черт. 3
Сваи диаметром 800 мм. Бетон
М400

Черт. 4
Сваи-оболочки диаметром 1000,
1200, 1600 мм. Бетон М400

Черт. 5
| |
|