//
ТехЛит.ру
- крупнейшая бесплатная электронная интернет библиотека для "технически умных" людей.
WWW.TEHLIT.RU - ТЕХНИЧЕСКАЯ ЛИТЕРАТУРА

:: Алготрейдинг::


АЛГОТРЕЙДИНГ
шаг за шагом
с нуля по урокам!

Торговые роботы на PYTHON, BackTrader,
Pandas, Pine Script для TradingView. Связка с брокерами, телеграм и легкими приложениями.


ГОСУДАРСТВЕННЫЙ СТАНДАРТ СОЮЗА ССР

ШПАЛЫ ЖЕЛЕЗОБЕТОННЫЕ
ПРЕДВАРИТЕЛЬНО НАПРЯЖЕННЫЕ
ДЛЯ ТРАМВАЙНЫХ ПУТЕЙ
ШИРОКОЙ КОЛЕИ

ГОСТ 21174-75

ГосударственнЫЙ СТРОИТЕЛЬНЫЙ комитет СССР

москва

ГОСУДАРСТВЕННЫЙ СТАНДАРТ СОЮЗА ССР

ШПАЛЫ ЖЕЛЕЗОБЕТОННЫЕ ПРЕДВАРИТЕЛЬНО
НАПРЯЖЕННЫЕ ДЛЯ ТРАМВАЙНЫХ ПУТЕЙ
ШИРОКОЙ КОЛЕИ

Prestressed reinforced concrete sleepers
for the wide-gauge tramways

ГОСТ
21174-75

Постановлением Государственного комитета Совета Министров СССР по делам строительства от 29 сентября 1975 г. № 160 срок введения установлен

с 01.07.75

Несоблюдение стандарта преследуется по закону

Настоящий стандарт распространяется на брусковые железобетонные предварительно напряженные шпалы, применяемые в прямых и кривых участках трамвайных путей широкой колеи бесстыковых и со стыками, с дорожным покрытием и без него. Шпалы предназначены для применения с рельсами типов Тв60, Тв65, Р43, Р50, Р65, Р75 и промежуточными скреплениями типа ЛС-053.

Расчетные нагрузки на шпалы и расход материалов приведены в приложениях 1 и 2.

1. ТИП И ОСНОВНЫЕ РАЗМЕРЫ

1.1. Шпалы должны изготовляться типа ЛШ-5. Шпалы, армированные проволокой диаметром 3 мм, изготовляются в двух исполнениях - 1 и 2, армированные проволокой диаметром 5 мм - в одном исполнении.

1.2. Форма и основные размеры шпал должны соответствовать указанным на черт. 1-4.

Черт. 1

А - вариант очертания поверхности шпалы; Б - арматура показана пунктиром.

Черт. 2

Черт. 3

Расположение напрягаемой арматуры

Черт. 4

2. ТЕХНИЧЕСКИЕ ТРЕБОВАНИЯ

2.1. Шпалы изготовляют в соответствии с требованиями настоящего стандарта по технологическим инструкциям и картам, утвержденным в установленном порядке.

2.2. Шпалы должны изготовляться из тяжелого цементного бетона марки по прочности на сжатие не ниже 500.

2.3. Поставку шпал потребителю производят при достижении бетоном отпускной прочности, равной 90% проектной марки.

Завод-изготовитель обязан гарантировать достижение бетоном проектной марки через 28 суток со дня изготовления шпал при твердении бетона в нормальных условиях.

2.4. Прочность бетона на сжатие при передаче на него предварительного напряжения должна быть не менее 350 кгс/см2 (35МПа).

2.5. Марка бетона шпал по морозостойкости должна быть не ниже Мрз 200.

2.6. Для изготовления шпал применяют:

а) портландцемент по ГОСТ 10178-85 марки не ниже 500 с содержанием добавок в количестве не более 5% и трехкальцевого алюмината (С3А) в количестве не более 6%. По соглашению сторон допускается применение портландцемента марки 400 по ГОСТ 10178-85 без добавок при условии обеспечения заданной прочности и морозостойкости бетона шпал;

б) щебень или щебень из гравия фракции 5-20 мм по ГОСТ 10268-80 с содержанием зерен пластинчатой (лещадной) и игловатой формы в количестве не более 25% по массе; марка щебня по прочности должна быть не ниже 1200 для щебня из изверженных пород и 1000 для щебня из осадочных пород;

в) природный обогащенный песок по ГОСТ 10268-80;

г) стальная проволока периодического профиля диаметром 3 и 5 мм.

2.7. Количество арматурных проволок в зависимости от их диаметра и величины предварительного напряжения арматуры должны соответствовать указанным в табл. 1.

Таблица 1

Показатели арматуры

Диаметр арматурной проволоки, мм

3

5

Число проволок, шт.

32

12

Величина предварительного напряжения арматуры, кгс/мм2 (МПа)

120 (1200)

110 (1100)

Общее усилие предварительного напряжения арматуры, тс (кН)

26,8 (268)

24,8 (248)

Расположение арматурных проволок в шпалах должно соответствовать указанному на черт. 4.

2.8. Общее усилие контролируемого предварительного напряжения арматуры шпалы должно быть не менее указанного в табл. 1. Величина контролируемого предварительного напряжения отдельных проволок при проектном армировании не должна отличаться от указанной в табл. 1 более чем на 10%.

При натяжении арматуры допускается обрыв или проскальзывание в захватах с полной потерей предварительного натяжения не более двух проволок диаметром 3 мм или одной проволоки диаметром 5 мм при условии, что общее усилие предварительного напряжения оставшихся проволок будет не менее величины, указанной в табл. 1.

2.9. Опорные шайбы, служащие для удержания закладных болтов рельсового скрепления, должны изготовляться из сталей марки 15ХСНД или 15ХГ2СФМР. Форма и размеры шайб должны соответствовать указанным на черт. 5. Схема установки на шпале скрепления типа ЛС-053 показана на черт. 6.

Примечание. По согласованию с потребителем допускается изготовлять шпалы без металлических закладных шайб, с гнездами для размещения съемных пластмассовых вкладышей для закладных болтов.

2.10. Отклонения от проектных размеров шпал не должны превышать следующих величин в мм:

по длине................................................................................................................................ ±16

по ширине................................................................................................................................ ±8

по высоте................................................................................................................................ +10; -3

по разности высот шпалы, измеренной в одном поперечном сечении................................................................................................................................ 8

по расстоянию а между наружными кромками углубления в подрельсовых площадках разных концов шпалы................................................................................................................................ ±2

по расстоянию б между кромками углублений в подрельсовой площадке одного конца шпалы................................................................................................................................ +3; -1

по расстоянию в и г между осями отверстий закладных болтов и наружной кромкой углубления в подрельсовой площадке одного конца шпалы................................................................................................................................ ±2

по глубине д заделки в бетон закладных шайб................................................................................................................................ ±5

по поперечным размерам отверстий для закладного болта................................................................................................................................ +5; -2

по толщине защитного слоя бетона над верхним рядом напряженной арматуры и расстоянию по вертикали от каждого ряда проволок до верхней кромки торца шпалы................................................................................................................................ +8; -3

Примечание. Размеры а, б, в, г, д указаны на черт. 1-4.

2.11. Подуклонка подрельсовых площадок должна быть равной 1 : 20. Допускается отклонение величины подуклонки в пределах 1 : 19 - 1 : 22.

2.12. Угол взаимного поворота подрельсовых площадок разных концов шпалы относительно ее продольной оси («пропеллерность») не должен превышать 0,015 рад.

Шайба опорная

Черт. 5

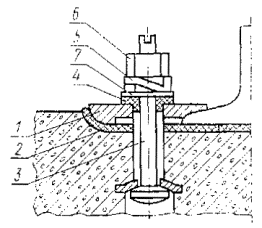
Схема установки скрепления типа ЛС-053

1 - прижимная клемма; 2 - резиновая прокладка; 3 - болт М22´175-01 ГОСТ 16017-79; 4 - текстолитовая втулка ВИ-22-00; 5 - двухвитковая или трехвитковая пружинная шайба; 6 - гайка М22´22-01 ГОСТ 16018-79; 7 - шайба 25.

Черт. 6

2.13. В шпалах не допускаются:

а) трещины, за исключением усадочных поверхностных;

б) обнажения арматуры, за исключением концов напряженной арматуры, которые не должны выступать за плоскость торцов шпалы более чем на 15 мм;

в) пустоты вокруг проволок на торцах шпал;

г) околы рабочих кромок подрельсовых площадок;

д) наплывы бетона в отверстиях для закладных болтов;

е) раковины, местные неровности и околы, размеры которых превышают указанные в табл. 2.

Таблица 2

Вид поверхности

Предельные размеры, мм

Раковины

Местные неровности (высота и глубина)

Околы бетона

диаметр

глубина

длина на 1 м шпалы

глубина

Верхняя

15

10

10

40

15

Прочие

25

15

15

100

25

Подрельсовые площадки должны быть плоскими. Непрямолинейность (выпуклость или вогнутость) подрельсовых площадок не должна превышать 1 мм на всей их длине. Местные неровности на поверхности подрельсовых площадок не допускаются.

На каждой подрельсовой площадке допускается не более одной раковины и одного окола бетона. Размеры этих раковин или околов не должны превышать указанных в табл. 2 для верхней поверхности шпал.

2.14. Заделка раковин и околов на поверхности шпал, а также заделка пустот вокруг проволок на торцах шпал не допускается.

2.15. При испытаниях на трещиностойкость в шпалах не должны появляться видимые трещины длиной более 30 мм и шириной раскрытия у основания более 0,05 мм.

3. ПРАВИЛА ПРИЕМКИ

3.1. Готовые шпалы должны быть приняты техническим контролем предприятия-изготовителя.

3.2. Приемку шпал производят партиями. В состав партии должны входить шпалы, последовательно изготовленные в течение не более одних суток из одних и тех же материалов и по одной и той же технологии.

3.3. Для проверки размеров, формы и внешнего вида шпал от каждой партии до 1000 шпал отбирают образцы в количестве 2%, но не менее 10 шт., а от партии более 1000 шпал - 1%, но не менее 20 шт.

3.4. Партия шпал может быть принята по размерам и внешнему виду, если ни на одном из проверяемых образцов не обнаружено отклонений, превышающих допускаемые.

Партию шпал более 1000 шт., в которой хотя бы на одним отобранном образце обнаружены отклонения, превышающие допускаемые, разрешается разделить на мелкие партии по 100 шт. в каждой и предъявлять их для повторной проверки размеров и внешнего вида в соответствии с требованиями настоящего стандарта.

В случае неудовлетворительных результатов повторной проверки партию не принимают и производят поштучную приемку шпал всей партии.

3.5. При определении прочности бетона шпал нормы и порядок отбора проб бетона и правила подсчета результатов принимают по ГОСТ 18105-86.

Прочность бетона шпал определяют на образцах-кубах, изготовленных из той же, что и шпалы, бетонной смеси и прошедших тепловую обработку в одинаковых условиях со шпалами.

Если при проверке окажется, что прочность бетона шпал ниже отпускной, то шпалы могут быть предъявлены к повторной проверке после достижения бетоном отпускной прочности.

3.6. Для испытания шпал на трещиностойкость от каждой партии шпал отбирают образцы в количестве 0,5% партии, но не менее 3 шт.

3.7. Партия шпал считается выдержавшей испытания на трещиностойкость, если все шпалы, отобранные из этой партии в соответствии с п. 3.5, выдержали контрольные нагрузки, указанные в п. 4.11.

3.8. В случае неудовлетворительных результатов испытания на трещиностойкость допускается разделить крупную партию шпал на мелкие партии по 100 шт. в каждой и проводить повторные испытания на трещиностойкость отдельно для каждой из этих мелких партий по той же методике.

Если при повторной проверке хотя бы одна шпала не выдержит испытаний на трещиностойкость, то всю партию из 100 шпал считают некондиционной.

3.9. Испытания образцов бетона на морозостойкость производят не реже одного раза в год, а также при изменении состава бетона, вида материалов, технологии приготовления и укладки бетонной смеси и условий твердения бетона.

3.10. Потребитель имеет право производить контрольную проверку качества шпал, применяя для этого правила отбора образцов и методы испытаний, предусмотренные настоящим стандартом.

4. МЕТОДЫ ИСПЫТАНИЙ

4.1. Размеры шпал, а также наличие дефектов на их поверхности (раковины, околы и др.) проверяют измерительной рулеткой по ГОСТ 7502-80, штангенциркулем по ГОСТ 166-80 и специальным шаблоном с точностью до 1 мм.

4.2. Размеры а, б, в, г (табл. 2), подуклонку и «пропеллерность» подрельсовых площадок измеряют специальными шаблонами.

4.3. Поперечные размеры шпал по ширине и высоте проверяют в сечениях, расположенных по оси каждой подрельсовой площадки и в среднем сечении шпалы.

4.4. Проверку размеров шпал производят после удаления с поверхности шпал местных неровностей.

4.5. Состояние отверстий для закладных болтов и глубину заделки закладных шайб проверяют специальным шаблоном.

4.6. Проверку толщины защитного слоя бетона над верхним рядом арматуры производят на торцах и в средней части шпалы. Толщину защитного слоя бетона в средней части шпалы определяют при помощи специального устройства без вырубки бетона.

4.7. Шаблоны должны проходить проверку не реже одного раза в год и иметь соответствующее клеймо о проверке.

4.8. Прочность бетона шпал определяют по ГОСТ 10180-78.

4.9. Морозостойкость бетона шпал определяют по ГОСТ 10060-76.

4.10. Усилие предварительного напряжения арматуры контролируют в процессе изготовления шпал с применением соответствующей аппаратуры.

4.11. Испытание шпал на трещиностойкость проводят статической нагрузкой на прессе, обеспечивающем точность нагрузки с погрешностью не более ±3%, проверенном органами государственного метрологического контроля и имеющем об этом соответствующий аттестат. Аттестация пресса должна производиться не реже одного раза в два года. В промежутках между государственными проверками не реже одного раза в год производят ведомственную проверку пресса.

Каждую шпалу, отобранную для испытания на трещиностойкость, испытывают последовательно в обоих подрельсовых сечениях по схеме, показанной на черт. 7, и в среднем сечении по схеме, показанной на черт. 8. Величины контрольных нагрузок должны быть равны:

7 тс (70 кН) - в подрельсовом сечении шпалы;

8 тс (80 кН) - в среднем сечении шпалы.

Поверхности шпал при испытании на трещиностойкость должны быть удобными для осмотра и иметь освещенность не менее 3000 лк.

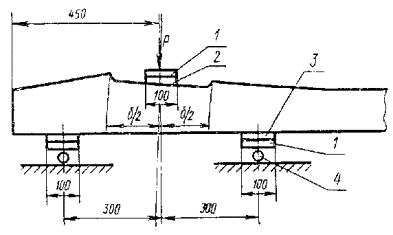
Схема испытания шпалы на трещиностойкость в подрельсовом сечении

1 - стальная пластина размером 200´100´25 мм; 2 - деревянная прокладка с уклоном нижнего основания 1 : 20; 3 - деревянная прокладка размером 200´100´25 мм; 4 - стальной валик диаметром 30-40 мм и длиной 200 мм.

Черт. 7

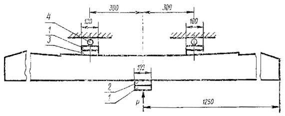
Схема испытания шпалы на трещиностойкость в среднем сечении

1 - стальная пластина размером 200´100´25 мм; 2 - деревянная прокладка размером 200´100´25 мм; 3 - деревянная прокладка размером 200´100´25 мм со скошенным краем; 4 - стальной валик диаметром 30-40 мм и длиной 250 мм.

Черт. 8

Нагрузку пресса увеличивают равномерно со скоростью не более 100 кгс/с (1 кН/с) и доводят до контрольной нагрузки.

Контрольную нагрузку поддерживают постоянной в течение 3 мин и производят тщательный осмотр поверхности шпалы у испытываемого сечения с целью обнаружения трещин в растянутой зоне бетона.

Измерение ширины раскрытия трещин должно производиться лупами или микроскопами, обеспечивающими точность измерения 0,05 мм.

Шпалу считают выдержавшей испытание на трещиностойкость, если при контрольной нагрузке во всех трех испытанных сечениях трещины, превышающие указанные в п. 2.15, не обнаружены.

5. МАРКИРОВКА, ХРАНЕНИЕ И ТРАНСПОРТИРОВАНИЕ

5.1. На верхней поверхности каждой шпалы должна быть нанесена вдавливанием в бетон при изготовлении следующая маркировка:

а) товарный знак предприятия-изготовителя;

б) год изготовления шпалы (двумя последними цифрами). Глубина вдавливания знаков и цифр должна быть равна 3 мм, размер знаков и цифр по высоте - не менее 50 мм. Места нанесения маркировки указаны на черт. 9.

Схема маркировки шпал

1 - номер партии; 2 - товарный знак предприятия-изготовителя и год изготовления шпалы; 3 - знак некондиционной шпалы.

Черт. 9

5.2. В концевой части на расстоянии 120 мм от торца шпалы наносят несмываемой краской номер партии и клеймо отдела технического контроля предприятия-изготовителя. Размер знаков по высоте должен быть не менее 50 мм.

5.3. На концах шпал, признанных некондиционными, наносят несмываемой черной краской поперечную полосу шириной 20 - 30 мм.

5.4. Предприятие-изготовитель должно сопровождать каждую поставляемую потребителю партию шпал паспортом, в котором указывают:

а) наименование и адрес предприятия-изготовителя;

б) номер и дату выдачи паспорта;

в) тип шпал;

г) количество отгруженных шпал в партии;

д) номер партии;

е) дату изготовления шпал;

ж) проектную марку и отпускную прочность бетона шпал;

з) марку бетона шпал по морозостойкости (по данным испытаний за последний год);

и) обозначение настоящего стандарта.

5.5. Шпалы, признанные некондиционными, должны храниться отдельно.

5.6. Шпалы при хранении и транспортировании должны укладываться горизонтальными рядами в рабочем положении (основанием вниз). Высота штабеля не должна превышать 16 рядов. Между рядами должны быть уложены деревянные прокладки толщиной 40 мм на расстоянии 450 мм от концов шпал. Укладка прокладок посередине шпал не допускается.

5.7. Шпалы транспортируют в открытых вагонах или автомобилях. Погрузку шпал производят способами, исключающими удары шпал друг о друга и их повреждение.

5.8. Транспортирование стандартных и некондиционных шпал в одном вагоне или автомобиле не допускается.

6. ГАРАНТИИ ИЗГОТОВИТЕЛЯ

6.1. Предприятие-изготовитель должно гарантировать соответствие шпал требованиям настоящего стандарта, при соблюдении потребителем установленных правил эксплуатации транспортирования и хранения.

6.2. Гарантийный срок устанавливается два года со дня отгрузки шпал предприятием-изготовителем. Изготовитель обязан безвозмездно заменять те шпалы, у которых в течение указанного гарантийного срока будут обнаружены отступления от требований настоящего стандарта, возникшие по вине предприятия-изготовителя.

ПРИЛОЖЕНИЕ 1

РАСЧЕТНЫЕ НАГРУЗКИ

Конструкция шпалы рассчитана на воздействие на рельс двухосного вагона с давлением на колесо 6 тс (60 кН) и четырехосного с давлением на колесо 5,5 тс (55 кН).

В расчетах шпалы на прочность принято максимальное вероятное значение давления рельса на шпалу, равное наибольшему эксплуатационному плюс 2,5 среднеквадратических отклонения. Наибольшее эксплуатационное значение указанного давления имеет место при стечении следующих обстоятельств: рельс с износом, смежные шпалы в процессе эксплуатации выведены из строя, вагон движется со скоростью 80 км/ч. В этих условиях нагрузка на шпалы в расчетах на прочность составляет 7 тс (70 кН).

В расчетах шпалы на трещиностойкость принято наибольшее эксплуатационное значение давления, наиболее часто повторяемого в эксплуатационных условиях, равное 5,6 тс (56 кН).

Шпалы рассчитаны также на нагрузку безрельсовым транспортом, передаваемую через конструкцию Дорожного покрытия на среднюю часть шпалы при применении в закрытых путях.

ПРИЛОЖЕНИЕ 2

Справочное

РАСХОД МАТЕРИАЛОВ НА ШПАЛУ

Материалы

Диаметр арматурной проволоки, мм

3

5

Бетон марки 500, м3

0,069

Арматура - стальная проволока периодического профиля

 

 

число проволок, шт.

32

12

общая длина проволок, м

80

30

масса проволок, кг

4,40

4,60

масса 4 шт. опорных шайб, кг

1,18

Итого масса металла, кг

5,58

5,78

Справочная масса шпалы, кг

189

СОДЕРЖАНИЕ

 




Яндекс цитирования



   Copyright © 2007-2026,  www.tehlit.ru.

[ ѓосты, стандарты, нормативы, инструкции, правила, строительные нормы ]