//
ТехЛит.ру
- крупнейшая бесплатная электронная интернет библиотека для "технически умных" людей.
WWW.TEHLIT.RU - ТЕХНИЧЕСКАЯ ЛИТЕРАТУРА

:: Алготрейдинг::


АЛГОТРЕЙДИНГ
шаг за шагом
с нуля по урокам!

Торговые роботы на PYTHON, BackTrader,
Pandas, Pine Script для TradingView. Связка с брокерами, телеграм и легкими приложениями.


ГОСУДАРСТВЕННЫЙ СТАНДАРТ СОЮЗА ССР

КОЛОННЫ ЖЕЛЕЗОБЕТОННЫЕ
ДЛЯ ОДНОЭТАЖНЫХ ЗДАНИЙ
ПРЕДПРИЯТИЙ

ТЕХНИЧЕСКИЕ УСЛОВИЯ

ГОСТ 25628-90

ГОСУДАРСТВЕННЫЙ СТРОИТЕЛЬНЫЙ КОМИТЕТ СССР

Москва

ГОСУДАРСТВЕННЫЙ СТАНДАРТ СОЮЗА ССР

КОЛОННЫ ЖЕЛЕЗОБЕТОННЫЕ
ДЛЯ ОДНОЭТАЖНЫХ ЗДАНИЙ ПРЕДПРИЯТИЙ

Технические условия

Reinforced concrete columns for single-story industrial buildings. Specifications

ГОСТ
25628-90

Дата введения 01.01.91

Настоящий стандарт распространяется на железобетонные колонны сплошного прямоугольного поперечного сечения и двухветвевые (далее колонны), изготовляемые из тяжелого бетона и предназначенные для каркасов одноэтажных зданий предприятий всех отраслей промышленности и народного хозяйства, за исключением зданий гражданского строительства. Колонны применяют в соответствии с указаниями рабочих чертежей конкретного здания.

1. ТЕХНИЧЕСКИЕ ТРЕБОВАНИЯ

1.1. Колонны следует изготовлять в соответствии с требованиями настоящего стандарта и технологической документации, утвержденной предприятием-изготовителем, по рабочим чертежам серий 1.423-2, 1.423.1-3/88, 1.423.1-5/88, 1.423.1-7, 1.424.1-5, 1.424.1-6/89, 1.424.1-9, 1.424.1-10, 1.427.1-3, 1.427.1-5, 1.427.1-6, 1.823.1-2 и шифров 4H-79, 15-74.

1.2. Основные параметры и размеры

1.2.1. Колонны сплошного прямоугольного поперечного сечения подразделяют на типы.

К - для каркасов зданий без мостовых опорных и подвесных кранов и зданий, оборудованных подвесными кранами, при стропильных конструкциях покрытий с прямолинейным нижним поясом;

КС - то же, при стропильных конструкциях покрытий с провисающим нижним поясом;

КК - для каркасов зданий, оборудованных мостовыми электрическими опорными кранами, при стропильных конструкциях покрытий с прямолинейным нижним поясом;

ККС - то же, при стропильных конструкциях покрытий с провисающим нижним поясом;

ККП - для каркасов зданий, оборудованных мостовыми электрическими опорными кранами, с проходами в уровне крановых путей, при стропильных конструкциях покрытий с прямолинейным нижним поясом;

КР - для каркасов зданий, оборудованных мостовыми ручными опорными кранами, при стропильных конструкциях покрытий с прямолинейным нижним поясом;

КФ - для фахверков стеновых ограждений зданий (фахверковые колонны).

1.2.2. Двухветвевые колонны подразделяют на типы:

КД - для каркасов зданий, оборудованных электрическими опорными и подвесными кранами и зданий без кранов;

КДП - для каркасов зданий, оборудованных мостовыми электрическими опорными кранами, с проходами в уровне крановых путей;

КДФ - для фахверков стеновых ограждений зданий (фахверковые колонны).

1.2.3. Форма и основные размеры колонн должны соответствовать указанным в приложении.

1.2.4. Показатели расхода бетона и стали на колонны должны соответствовать указанным в рабочих чертежах на эти колонны.

1.2.5. Колонны следует изготовлять со строповочными отверстиями для подъема и монтажа. Допускается вместо строповочных отверстий предусматривать монтажные петли, выполненные в соответствии с указаниями рабочих чертежей на эти колонны.

1.2.6. Колонны применяют с учетом их предела огнестойкости, указанного в рабочих чертежах на эти колонны.

1.2.7. Колонны обозначают марками в соответствии с требованиями ГОСТ 23009. Марка колонны состоит из буквенно-цифровых групп, разделенных дефисами.

В первой группе указывают обозначение типоразмера колонны. Буквы обозначают тип колонны. Цифры перед буквами обозначают порядковый номер типоразмера колонны для данной высоты здания, после букв - высоту здания, а для фахверковых колони и основных колонн, устанавливаемых в фундаменты, верх которых заглублен на 500 мм и ниже, - длину колонны в дециметрах.

Во второй группе указывают порядковый номер колонн по несущей способности, класс напрягаемой арматуры (для предварительно напряженных колонн).

В третью группу, при необходимости, включают дополнительные характеристики, отражающие особые условия применения колонн и их стойкость к воздействию агрессивной газообразной среды, сейсмическим и другим воздействиям, а также обозначения конструктивных особенностей колонн (наличие дополнительных закладных изделий и др.).

Пример условного обозначения (марки) колонны типоразмера 2К120, второй по несущей способности, с напрягаемой арматурной сталью класса А-IV:

2K120-2AIV

То же, типоразмера 5КК144, первой по несущей способности, изготовленной из бетона пониженной проницаемости (П) и предназначенной для применения в условиях воздействия среднеагрессивной газообразной среды, с закладными изделиями для крепления стропильных конструкций:

5КК144-1-Па

То же, типоразмера 5КД18, двадцать восьмой по несущей способности, с закладными изделиями для крепления стропильных конструкций:

5КД18-28-а

Примечание. Допускается принимать обозначение марок колонн в соответствии с рабочими чертежами на эти колонны до их пересмотра.

1.3.Характеристики

1.3.1. Колонны должны удовлетворять требованиям ГОСТ 13015.0:

по прочности, жесткости и трещиностойкости; при этом требования по испытанию колонн нагружением не предъявляют;

по показателям фактической прочности бетона на сжатие (передаточной отпускной и в проектном возрасте);

по морозостойкости бетона, а для колонн, эксплуатируемых в условиях воздействия агрессивной газообразной среды, - также по водонепроницаемости бетона;

к маркам сталей для арматурных и закладных изделий, в том числе для монтажных петель;

по толщине защитного слоя бетона до арматуры;

по защите от коррозии.

1.3.2. Колонны следует изготовлять из тяжелого бетона по ГОСТ 26633 классов или марок по прочности на сжатие, указанных в рабочих чертежах на эти колонны.

1.3.3. Передачу усилий обжатия на бетон (отпуск натяжения арматуры) в предварительно напряженных колоннах следует производить после достижения бетоном требуемой передаточной прочности.

Нормируемая передаточная прочность бетона колонн в зависимости от класса или марки бетона, вида и класса напрягаемой арматурной стали должна соответствовать указанной в рабочих чертежах на эти колонны.

1.3.4. Нормируемая отпускная прочность бетона колонн с напрягаемой арматурой должна быть равна нормируемой передаточной прочности бетона, а колонн с ненапрягаемой арматурой - 70 % класса или марки бетона по прочности на сжатие.

При поставке колонн в холодный период года нормируемая отпускная прочность бетона колонн может быть повышена до 90 % класса или марки бетона по прочности на сжатие согласно указаниям рабочих чертежей на эти колонны.

1.3.5. Для армирования колонн следует применять арматурную сталь следующих видов и классов:

в качестве напрягаемой арматуры - термомеханически упрочненную стержневую класса Ат-IVС по ГОСТ 10884, горячекатаную стержневую классов A-V, A-IV по ГОСТ 5781 и стержневую класса А-IIIв, изготовляемую из арматурной стали класса А-III по ГОСТ 5781 путем упрочнения вытяжкой с контролем удлинений и напряжений;

в качестве ненапрягаемой арматуры - термомеханически упрочненную стержневую классов Ат-IVС и Ат-IIIС по ГОСТ 10884, стержневую горячекатаную периодического профиля класса А-III и гладкую класса А-I по ГОСТ 5781, арматурную проволоку обыкновенную периодического профиля класса Вр I по ГОСТ 6727, повышенной прочности класса Врп-I по ТУ 14-4-1322.

1.3.6. Значения напряжений в напрягаемой арматуре, контролируемые по окончании натяжения ее на упоры, а также допустимые предельные отклонения напряжений в напрягаемой арматуре должны соответствовать приведенным в рабочих чертежах на колонны.

1.3.7. Форма и размеры арматурных и закладных изделий и их положение в колоннах должны соответствовать указанным в рабочих чертежах на эти колонны. Сварные арматурные и закладные изделия должны удовлетворять требованиям ГОСТ 10922.

1.3.8. Значения действительных отклонений геометрических параметров колонн не должны превышать предельных, указанных в табл. 1.

1.3.9. Требования к качеству бетонных поверхностей и внешнему виду колонн - по ГОСТ 13015.0. При этом качество бетонных поверхностей колонн должно удовлетворять требованиям, установленным для категории А6.

1.3.10. В бетоне колонн, поставляемых потребителю, трещины не допускаются, за исключением усадочных и других поверхностных технологических трещин, ширина которых не должна превышать 0,25 мм.

1.3.11. Концы напрягаемой арматуры не должны выступать за торцевые поверхности колонн более чем на 10 мм. Они должны быть защищены слоем цементно-песчаного раствора или битумным лаком.

Таблица 1

мм

Наименование отклонения геометрического параметра

Наименование геометрического параметра

Пред. откл.

Отклонение от линейного размера

Длина колонны и размер от торца колонны до опорной плоскости консоли:

 

до 4000 включ.

± 12

св. 4000 » 8000 »

± 15

» 8000 » 16000 »

± 20

» 16000

± 25

Размер поперечного сечения колонны или ветви двухветвевой колонны:

 

до 250 включ.

± 4

св. 250 » 500 »

± 5

» 500

± 6

Общая высота поперечного сечения нижней части двухветвевой колонны:

 

до 1600 включ.

± 8

св. 1600

± 10

Размер, определяющий положение:

 

строповочного отверстия или монтажной петли

15

закладного изделия на плоскости колонны для элемента закладного изделия длиной:

 

до 100 мм включ.

5

св. 100 мм

10

Несовпадение плоскостей колонны и элемента закладного изделия

3

Отклонение от прямолинейности профиля боковых граней на всей длине колонны длиной:

-

 

до 4000 включ.

8

св. 4000 », 8000 »

10

» 8000 » 16000 »

12

» 16000

15

Отклонение от перпендикулярности торцевой и боковых граней колонны при размере ее поперечного сечения:

 

 

до 250 включ.

4

св. 250 » 500 »

5

» 500

6

1.3.12. На боковых гранях колонн должны быть нанесены установочные риски по ГОСТ 13015.2 в бетоне или в закладных изделиях в виде канавок или несмываемой краской, определяющие разбивочные оси здания, а на консолях - установочные риски, определяющие оси подкрановых балок.

1.4. Маркировка

Маркировка колонн - по ГОСТ 13015.2. Маркировочные надписи и знаки следует наносить на видимую при хранении и монтаже боковую поверхность колонны вблизи ее нижнего торца.

2. ПРИЕМКА

2.1. Приемка колонн - по ГОСТ 13015.1 и настоящему стандарту. При этом колонны принимают по результатам:

периодических испытаний - по показателям морозостойкости, а также по водонепроницаемости бетона колонн, предназначенных для эксплуатации в условиях воздействия агрессивной газообразной среды;

приемо-сдаточных испытаний - по показателям прочности бетона (классу или марке бетона порочности на сжатие, передаточной и отпускной прочности), соответствия арматурных и закладных изделий рабочим чертежам, прочности сварных соединений, точности геометрических параметров, толщины защитного слоя бетона до арматуры, ширины раскрытия поверхностных технологических трещин, категории бетонной поверхности, правильности нанесения установочных рисок.

Приемку колонн по прочности, жесткости и трещиностойкости осуществляют по комплексу нормируемых и проектных показателей в соответствии с требованиями ГОСТ 13015.1.

2.2. Колонны типов КС и КР, а также К и КФ длиной до 12 000 мм включ. по показателям точности геометрических параметров, толщины защитного слоя бетона до арматуры, категории бетонной поверхности и ширины раскрытия поверхности технологических трещин следует принимать по результатам выборочного контроля.

Колонны типов КК, ККС, ККП, КД и КДФ, а также К и КФ длиной более 12 000 мм по указанным показателям следует принимать по результатам сплошного контроля.

2.3. Правильность нанесения установочных рисок на колонны проверяют по результатам сплошного контроля.

2.4. В документе о качестве колонн по ГОСТ 13015.3 дополнительно должны быть приведены марка бетона по морозостойкости, а для колонн, предназначенных для эксплуатации в условиях воздействия агрессивной газообразной среды - марка бетона по водонепроницаемости (если эти показатели оговорены в заказе на изготовление колонн).

3. МЕТОДЫ КОНТРОЛЯ

3.1. Прочность бетона колонн следует определять по ГОСТ 10180 на серии образцов, изготовленных из бетонной смеси рабочего состава и хранившихся в условиях, установленных ГОСТ 18105.

При проверке прочности бетона методами неразрушающего контроля фактическую передаточную и отпускную прочность бетона на сжатие определяют ультразвуковым методом по ГОСТ 17624 или приборами механического действия по ГОСТ 22690. Допускается применение других методов неразрушающего контроля, предусмотренных стандартами на методы испытания бетона.

3.2. Морозостойкость бетона колонн следует определять по ГОСТ 10060 или ультразвуковым методом по ГОСТ 26134 на серии образцов, изготовленных из бетонной смеси рабочего состава.

3.3. Водонепроницаемость бетона колонн следует определять по ГОСТ 12730.0 и ГОСТ 12730.5.

3.4. Контроль сварных арматурных и закладных изделий - по ГОСТ 10922 и ГОСТ 23858.

3.5. Силу натяжения арматуры, контролируемую по окончании натяжения, измеряют по ГОСТ 22362.

3.6. Размеры и отклонения от прямолинейности, перпендикулярности поверхностей колонн, ширину раскрытия поверхностных технологических трещин, размеры раковин, наплывов и околов бетона колонн следует проверять методами, установленными ГОСТ 26433.0 и ГОСТ 26433.1

3.7. Размеры и положение арматурных и закладных изделий, а также толщину защитного слоя бетона до арматуры следует определять по ГОСТ 17625 и ГОСТ 22904.

4. ТРАНСПОРТИРОВАНИЕ И ХРАНЕНИЕ

4.1. Транспортирование и хранение колонн - по ГОСТ 13015.4 и настоящему стандарту.

4.2. Колонны следует транспортировать и хранить в горизонтальном положении в штабелях с опиранием на подкладки и прокладки в соответствии со схемами, приведенными в рабочих чертежах на колонны.

Высота штабеля колонн при их хранении не должна превышать ширину штабеля более чем в два раза и не должна быть более 2500 мм.

4.3. Все подкладки и прокладки должны иметь одинаковую толщину не менее 40 мм, ширину - не менее 150 мм, длину - на 100 мм больше ширины боковой грани колонны.

4.4. Подъем колонн следует осуществлять с применением специальных траверс с захватом за строповочные отверстия или монтажные петли.

ПРИЛОЖЕНИЕ

Обязательное

ФОРМА И ОСНОВНЫЕ РАЗМЕРЫ КОЛОНН

Колонны типа К для зданий высотой 3,0 - 9,6 м (серия 1.4231-3/88)

1. Форма и основные размеры колонн приведены:

типа К для зданий высотой 3,0 - 9,6 м

(серия 1.423.1-3/88)                                                   - на черт. 1 и в табл. 2;

»     для зданий высотой 10,8 - 14,4 м

(серия 1.423 1-5/88)                                                   - на черт. 1 и в табл. 3;

»   предварительно напряженные для

зданий высотой 4,8 - 14,4 м

(серия 1.423.1-7)                                                       - на черт. 1 и в табл. 4;

»   для сельскохозяйственных зданий

высотой 2,4 - 7,2 м (серия 1.823.1-2)                       - на черт. 1 и в табл. 5;

»   для сельскохозяйственных зданий

высотой 2,4 м (шифр 4Н-79)                                     - на черт. 1 и в табл. 6;

типа КС для зданий высотой 4,8; 6,0; 7,2 и

8,4 м (шифр 15-74)                                                     - на черт. 1 и в табл. 7;

типа КК для зданий высотой 8,4 - 14,4 м

(серия 1,424.1-5)                                                        - на черт. 2 и в табл. 8;

типа ККС для зданий высотой 8,4; 9,6 и

10,8 м (шифр 15-74)                                                   - на черт. 2 и в табл. 9;

типа ККП для зданий высотой 10,8 - 14,4 м

(серия 1.424.1-6/89)                                                   - на черт. 3 и в табл. 10;

типа КР для зданий высотой 6,0 - 9,6 м

(серия 1.423-2)                                                           - на черт. 4 и в табл. 11;

типа КФ для зданий высотой 3,0 - 14,0 м

(серия 1.427.1-3)                                                        - на черт. 5 и в табл. 12;

»   предварительно напряженные для

зданий высотой 4,8 - 12,0 м

(серия 1.427.1-5)                                                        - на черт. 5 и в табл. 13;

типа КД для зданий высотой 15,6; 16,8 и

18,0 м (серия 1.424.1-9)                                             - на черт. 6 и в табл. 14;

типа КДП для зданий высотой 15,6; 16,8 и

18,0 м (серия 1.424.1-10)                                           - на черт. 7 и в табл. 15;

типа КДФ для зданий высотой 15,6; 16,8 и

18,0 м (серия 1.427.1-6)                                             - на черт. 6 и в табл. 16.

2. В табл. 2, 3, 8, 10, 14 и 15 в скобках приведены размеры колонн, предназначенных для опирания на них железобетонных подстропильных конструкций высотой на опоре 700 мм.

3. В табл. 14 в графе «Грузоподъемность крана» обозначение Б/К принято для зданий с подвесными кранами и без кранов.

Таблица 2

Колонны типа К для зданий высотой 3,0 - 9,6 м (серия 1.423.1-3/88)

Высота здания, м

Типоразмер колонны

Основные размеры колонны, мм

Номер чертежа

l

b

h

3,0

1К30

3800

300

300

1a

2К30

1г

3,6

1К36

4400

1a

2К36

1г

4,2

1К42

5000

1a

2К42

1г

4,8

1К48

5600

300

1a

2К48

400

3К48

5700

400

500

1б

4К48

5600

300

300

1г

5К48

400

6К48

5700

500

500

7К48

5100

(5000)

5,4

1К54

6200

300

300

1a

2К54

1г

6,0

1К60

6800

400

1а

2К60

6900

400

3К60

500

1б

4К60

6800

300

400

1г

5К60

6900

400

6К60

500

500

7К60

6300

(6200)

6,6

1К66

7400

300

400

1а

2К66

7500

400

3К66

500

1б

4К66

7400

300

400

1г

5К66

7500

400

6К66

500

500

7К66

6900

(6800)

7,2

1К72

8100

400

400

1а

2К72

500

500

3К72

1б

4К72

400

400

1г

5К72

500

500

6К72

7500

(7400)

500

500

7,8

1К78

8700

400

400

1а

2К78

500

500

3К78

1б

4К78

400

400

1г

5К78

500

500

6К78

8100

(8000)

8,4

1К84

9300

400

400

1а

2К84

500

3К84

500

4К84

1б

5К84

400

500

1г

6К84

500

600

1а

7К84

8700

(8600)

500

1г

8К84

600

1а

9К84

9300

500

1г

9,6

1К96

10500

400

400

1а

2К96

500

3К96

500

4К96

600

6К96

8К96

5К96

500

1б

7К96

1г

9К96

9900

(9800)

600

1а

Таблица 3

Колонны типа К для зданий высотой 10,8 - 14,4 м (серия 1.423.1-5/88)

Высота здания, м

Типоразмер колонны

Основные размеры колонны, мм

Номер чертежа

l

b

h

10,8

1К108

11700

400

500

1а

2К108

11850

700

3К108

11250

(11150)

1г

12,0

1К120

12900

500

1а

2К120

13050

700

3К120

12450

(12350)

1г

13,2

1К132

14100

600

1а

2К132

14250

800

3К132

13650

(13550)

1г

14,4

1К144

15300

600

1а

2К144

15450

800

3К144

14850

(14750)

1г

Таблица 4

Колонны типа К предварительно напряженные для зданий высотой 4,8 - 14,4 м (серия 1.423.1-7)

Высота здания, м

Типоразмер колонны

Основные размеры колонны, мм

Номер чертежа

l

b

h

4,8

1К48

5600

300

300

1а

2К48

400

3К48

5600

300

300

1г

4К48

400

5К48

5100

400

6К48

500

7К48

5700

400

8К48

500

5,4

1К54

6200

300

300

1а

2К54

1г

6,0

1К60

6800

1а

2К60

400

3К60

6900

400

4К60

6800

300

1г

5К60

6900

400

6К60

6300

7К60

500

8К60

6900

6,6

1К66

6900

400

500

1г

2К66

7400

300

400

1а

3К66

7500

400

4К66

1г

5К66

500

7,2

1К72

2К72

8000

300

400

1а

3К72

8100

400

4К72

1г

5К72

500

7,8

1К78

8700

400

1а

2К78

500

3К78

400

1г

4К78

500

5К78

8100

500

6К78

8700

8,4

1К84

8700

500

500

1г

2К84

9300

400

400

1а

3К84

500

4К84

400

1г

5К84

500

6К84

500

9,6

1К96

10500

400

400

1а

2К96

500

 

3К96

500

1г

4К96

600

1а

5К96

9900

10,8

1К108

11700

400

500

2К108

600

3К108

11250

700

4К108

11850

12,0

1К120

12900

500

2К120

12900

600

1а

3К120

12450

700

4К120

13050

13,2

1К132

14100

600

2К132

14250

700

3К132

13650

800

4К132

14250

14,4

1К144

15300

600

2К144

15450

700

3К144

14850

800

4К144

15450

Таблица 5

Колонны типа К для сельскохозяйственных зданий высотой 2,4 - 7,2 м (серия 1.823.1-2)

Высота здания, м

Типоразмер колонны

Основные размеры колонны, мм

Номер чертежа

l

b

h

2,4

1К33

3300

200

200

1a

2К33

300

300

3К33

3300

200

200

1г

4К33

300

300

2,4; 2,7

3К36

3600

200

200

1a

4К36

300

300

5К36

200

200

1г

6К36

300

300

2,4; 2,7; 3,0

1К39

3900

200

200

1а

2К39

300

300

3К39

200

200

1г

4К39

300

300

2,7; 3,0

1К42

4200

1а

2К42

1г

3,0; 3,6

1К45

4500

1а

2К45

400

400

3К45

300

300

1г

3,6

4К45

4500

400

400

1г

8К48

4800

300

300

1а

9К48

1г

1К51

5100

1а

2,4; 2.7; 3,6

2К51

1г

2,4; 2,7; 3,0

3К54

5400

4,8

1К57

5700

300

300

1а

2К57

400

400

3К57

500

500

2,7; 3,0; 4,8

4К57

300

300

1г

48

5К57

400

400

8К60

6000

300

300

1а

3,0; 4,8

9К60

1г

4,8

1К63

6300

1а

2К63

1г

6,0

1К69

6900

400

400

1а

2К69

500

500

3К69

400

400

1г

7,2

1К81

8100

1а

2К81

500

500

3К81

400

400

1г

Таблица 6

Колонны типа К для сельскохозяйственных зданий высотой 2,4 м (шифр 4Н-79)

Высота здания, м

Типоразмер колонны

Основные размеры колонны, мм

Номер чертежа

l

l1

b

h

2,4

7К36

3600

2620

300

300

1в

К49

4900

10К60

6000

-

1г

К73

7300

Таблица 7

Колонны типа КС для зданий высотой 4,8; 6,0; 7,2 и 8,4 м (шифр 15-74)

Высота здания, м

Типоразмер колонны

Основные размеры колонны, мм

Номер чертежа

l

b

h

4,8

КС48

7450

400

500

1а

6,0

КС60

8650

7,2

КС72

9850

8,4

КС84

11050

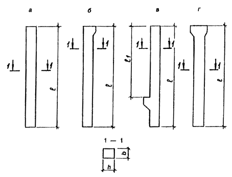
а - колонна для крайних и средних рядов;

б, в - колонна для крайних рядов;

г - колонна для средних рядов

Черт. 1

а

б

a - колонна для крайних рядов;

б - колонна для средних рядов

Черт. 2

Таблица 8

Колонны типа КК для зданий высотой 8,4 - 14,4 м (серия 1.424.1-5)

Высота здания, м

Грузоподъемность крана, т

Типоразмер колонны

Основные размеры колонны, мм

Номер чертежа

l

l1

b

h

h1

8,4

5

1КК84

9300

2900

400

380

600

2a

10; 16

2КК84

3500

5

3КК84

9450

3300

600

700

10; 16

4КК84

3900

5

5КК84

9300

2900

600

2б

10; 16

6КК84

3500

5

7КК84

9450

3300

700

10; 16

8КК84

3900

5

9КК84

8850

(8750)

2700 (2600)

10; 16

10КК84

3300 (3200)

9,6

5

1КК96

10500

2900

380

600

2а

10; 16

2КК96

3500

16; 20

3КК96

4100

5

4КК96

10650

3300

600

700

10; 16

5КК96

3900

16; 20

6КК96

4500

5

7КК96

10500

2900

600

2б

10; 16

8КК96

3500

16; 20

9КК96

10500

4100

5

10КК96

10650

3300

10; 16

11КК96

3900

16; 20

12КК96

4500

700

5

13КК96

10050

(9950)

2700

(2600)

10; 16

14КК96

3300

(3200)

16; 20

15КК96

3900

(3800)

10,8

5

1КК108

11850

2900

380

2а

10; 16

2КК108

3500

16; 20

3КК108

4100

20; 32

4КК108

600

5

5КК108

3300

800

10; 16

6КК108

3900

16; 20; 32

7КК108

4500

5

8КК108

2900

700

2б

10; 16

9КК108

3500

16; 20; 32

10КК108

4100

5

11КК108

3300

800

10; 16

12КК108

3900

16; 20; 32

13КК108

4500

5

14КК108

11250

(11150)

2700

(2600)

10; 16

15КК108

3300

(3200)

16; 20; 32

16КК108

3900

(3800)

12,0

10; 16

1КК120

13050

3500

400

380

700

2а

16; 20

2КК120

4100

20; 32

3КК120

600

10; 16

4КК120

3900

800

16; 20; 32

5КК120

4500

10; 16

6КК120

12450

(12350)

3300

(3200)

2б

16; 20

7КК120

3900

(3800)

20; 32

8КК120

12600 (12500)

800

10; 16

9КК120

13050

3900

16; 20

10КК120

4500

20; 32

11КК120

13200

900

13,2

10; 16

1КК132

14250

3500

380

800

2а

16; 20

2КК132

4100

20; 32

3КК132

600

10; 16

4КК132

14400

3900

900

16; 20; 32

5КК132

4500

10; 16

6КК132

13800

(13700)

3300

(3200)

2б

16; 20; 32

7КК132

3900

(3800)

10; 16

8КК132

14400

3900

16; 20; 32

9КК132

4500

14,4

10; 16

1КК144

15450

3500

380

800

2a

16; 20

2КК144

4100

20; 32

3КК144

600

10; 16

4КК144

15600

3900

900

16; 20; 32

5КК144

4500

10; 16

6КК144

15000

(14900)

3300

(3200)

2б

16; 20; 32

7КК144

3900

(3800)

10; 16

8КК144

15600

3900

16; 20; 32

9КК144

4500

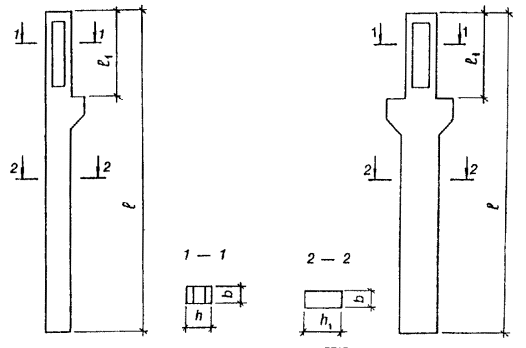
a - колонна для крайних рядов; б - колонна для средних рядов

Черт. 3

Таблица 9

Колонны типа ККС для зданий высотой 8,4; 9,6 и 10,8 м (шифр 15-74)

Высота здания, м

Грузоподъемность крана, т

Типоразмер колонны

Основные размеры колонны, мм

Номер чертежа

l

l1

b

h

h1

8,4

До 10

1ККС84

10550

5050

400

600

700

2a

2ККС84

2б

9,6

1ККС96

11750

2a

2ККС96

2б

20

3ККС96

12350

5650

2a

4ККС96

2б

10,8

До 10

1ККС108

12950

5050

2a

2ККС108

2б

20

3ККС108

13550

5650

2a

4ККС108

2б

Таблица 10

Колонны типа ККП для зданий высотой 10,8 - 14,4 м (серия 1.424.1-6/89)

Высота здания, м

Грузоподъемность крана, т

Типоразмер колонны

Основные размеры колонны, мм

Номер чертежа

l

l1

b

h

h1

10,8

10

1ККП108

11850

3500

400

900

700

3а

20; 32

2ККП108

4100

32

3ККП108

4700

10

4ККП108

4100

5ККП108

3900

800

20; 32

6ККП108

4500

32

7ККП108

5100

10

8ККП108

3900

3б

20; 32

9ККП108

4500

32

10ККП108

12000

5100

900

11ККП108

11400

(11300)

4500

(4400)

10

12ККП108

11250

(11150)

3900

800

20; 32

13ККП108

(3800)

12,0

10

1ККП120

13050

3500

700

3а

20; 32

2ККП120

4100

32

3ККП120

4700

10

4ККП120

4100

5ККП120

3900

800

20; 32

6ККП120

4500

32

7ККП120

5100

10

8ККП120

3900

20; 32

9ККП120

13200

4500

900

32

10ККП120

5100

11ККП120

12600 (12500)

4500

(4400)

10

12ККП120

 

3900

(3800)

20; 32

13ККП120

13,2

10

1ККП132

14250

3500

800

3а

20; 32

2ККП132

4100

32

3ККП132

4700

10

4ККП132

4100

10

5ККП132

14400

3900

900

20; 32

6ККП132

4500

32

7ККП132

5100

10

8ККП132

3900

3б

20; 32

9ККП132

4500

32

10ККП132

5100

11ККП132

13800

(13700)

4500

(4400)

10

12КК1132

3900

(3800)

20; 32

13ККП132

14,4

10

1ККП144

15450

3500

800

3а

20; 32

2ККП144

4100

32

3ККП144

4700

10

4ККП144

4100

5ККП144

15600

3900

900

20; 32

6ККП144

4500

32

7ККП144

5100

10

8ККП144

3900

3б

20; 32

9ККП144

4500

32

10ККП144

5400

11ККП144

15000

(14900)

4500

(4400)

10

12ККП144

3900

(3800)

20; 32

13ККП144

Черт. 4

Черт. 5

Таблица 11

Колонны типа КР для зданий высотой 6,0 - 9,6 м (серия 1.423-2)

Высота здания, м

Грузоподъемность крана, т

Типоразмер колонны

Основные размеры колонны, мм

Номер чертежа

l

l1

b

h

h1

6,0

3,2; 5; 8

КP60

6900

1600

300

250

500

4

6,6

КP66

7500

7,2

1КP72

8100

12,5; 20

2КP72

2200

7,8

3,2; 5; 8

1КP78

8700

1600

12,5; 20

2КP78

2200

8,4

3,2; 5; 8

1КP84

9300

1600

12,5; 20

2КP84

2200

9,0

12,5; 20

КP90

9900

9,6

КP96

10500

Таблица 12

Колонны типа КФ для зданий высотой 3,0 - 14,4 м (серия 1.427.1-3)

Высота здания, м

Типоразмер колонны

Основные размеры колонны, мм

Номер чертежа

l

l1

b

h

h1

3,0

1КФ37

3700

-

300

300

-

5а

1КФ40

4000

3,0; 3,6

1КФ43

4300

3,6

1КФ46

4600

3,6; 4,2; 4,8

1КФ49

4900

4,2

1КФ52

5200

4,2; 4,8

1КФ55

5500

4,8

1КФ57

5700

1КФ58

5800

4,8; 5,4; 6,0

1КФ61

6100

5,4

1КФ64

6400

5,4; 6,0; 6,6

1КФ67

6700

6,0

2КФ69

6900

400

6,6

2КФ75

7100

7,2

2КФ73

7300

2КФ81

8100

7,8

2КФ79

7900

2КФ87

8700

8,4

1КФ85

8500

300

1КФ93

9300

2КФ85

8500

400

3КФ93

9300

400

9,6

1КФ97

9700

300

300

1КФ105

10500

3КФ97

9700

400

400

4КФ105

10500

500

10,8

2КФ109

10900

300

400

2КФ117

11700

4КФ109

10900

400

500

4КФ125

12500

3КФ121

12100

400

12,0

3КФ129

12900

4КФ121

12100

500

4КФ137

13700

13,2

3КФ133

13300

400

3КФ141

14100

4КФ133

13300

500

5КФ149

14900

600

14,4

3КФ145

14500

400

3КФ153

15300

5КФ145

14500

600

5КФ161

16100

6,0

6КФ69

6900

900

300

400

300

5б

4,8; 6,0

6КФ70

7000

2200

4,8; 6,0; 6,6

6КФ73

7300

2500

6,6

6КФ85

7500

900

4,8; 6,6

6КФ76

7600

2800

4,8; 6,6; 7,2

6КФ79

7900

3100

7,2

6КФ81

8100

900

6,0; 7,2

6КФ82

8200

2200

6,0; 7,2; 7,8

6КФ85

8500

2500

7,8

6КФ87

8700

900

6,0; 6,6; 7,8

6КФ88

8800

2800

6,0; 6,6; 7,8; 8,4

6КФ91

9100

3100

6,6; 7,2

7КФ94

9400

2800

400

6,6; 7,2; 8,4

7КФ97

9700

3100

7,2; 7,8

7КФ100

10000

2800

7,2; 7,8; 9,6

7КФ103

10300

3100

7,8; 8,4

8КФ106

10600

2800

500

7,8; 8,4; 9,6

8КФ109

10900

3100

8,4

7КФ93

9300

900

400

8КФ112

11200

2800

500

8КФ115

11500

3100

9,6

8КФ105

10500

900

8КФ118

11800

2200

8КФ124

12400

2800

8КФ127

12700

3100

400

9,6; 10,8

8КФ121

12100

2500

10,8

6КФ117

11700

900

300

400

8КФ125

12500

900

400

500

8КФ130

13000

2200

8КФ136

13600

2800

8КФ139

13900

3100

10,8; 12,0

8КФ133

13300

2500

12,0

7КФ129

12900

900

400

8КФ137

13700

900

500

9КФ142

14200

2200

600

9КФ148

14800

2800

9КФ151

15100

3100

12,0; 13,2

9КФ145

14500

2500

13,2

7КФ141

14100

900

400

9КФ149

14900

900

600

9КФ154

15400

2200

9КФ160

16000

2800

9КФ163

16300

3100

13,2: 14,4

9КФ157

15700

2500

14,4

7КФ153

15300

900

400

9КФ161

16100

900

600

9КФ166

16600

2200

9КФ169

16900

2500

9КФ172

17200

2800

9КФ175

17500

3100

Таблица 13

Колонны типа КФ предварительно напряженные для зданий высотой 4,8 - 12,0 м (серия 1.427.1-5)

Высота здания, м

Типоразмер колонны

Основные размеры колонны, мм

Номер чертежа

l

b

h

4,8

КФ49

4900

300

300

5a

КФ55

5500

КФ57

5700

КФ58

5800

4,8; 5,4; 6,0

КФ61

6100

5,4

КФ64

6400

5,4; 6,0; 6,6

КФ67

6700

6,0

КФ69

6900

4,8; 6,0

КФ70

7000

4.8; 6,0; 6,6; 7,2

КФ73

7300

4,8; 6,6

КФ75

7500

КФ76

7600

4,8; 6,6; 7,2; 7,8

КФ79

7900

7,2

КФ81

8100

6,0; 7,2

КФ82

8200

6,0; 7,2; 7,8; 8,4

КФ85

8500

6,0; 7,8

КФ87

8700

6,0; 6,6; 7,8

КФ88

8800

6,0; 6,6; 7,8; 8,4

КФ91

9100

6,6; 8,4

КФ93

9300

6,6; 7,2; 8,4

КФ94

9400

6,6; 7,2; 8,4; 9,6

КФ97

9700

7,2

КФ99

9900

7,2; 7,8

КФ100

10000

7,2; 7,8; 9,6

КФ103

10300

7,8; 9,6

КФ105

10500

7,8; 8,4; 9,6

КФ106

10600

7,8; 8,4; 9,6; 10,8

КФ109

10900

8,4

КФ111

11100

КФ112

11200

КФ115

11500

10,8

КФ117

11700

9,6; 10,8

КФ118

11800

9,6; 10,8; 12,0

КФ121

12100

9,6

КФ123

12300

КФ124

12400

КФ127

12700

12,0

КФ129

12900

10,8

КФ130

13000

12,0

КФ131

13100

10,8; 12,0

КФ133

13300

10,8

КФ135

13500

КФ136

13600

КФ139

13900

12,0

КФ147

14700

а - колонна крайних рядов; б - колонна средних рядов

Черт. 6

Таблица 14

Колонны типа КД для зданий высотой 15,6; 16,8 и 18,0 м (серия 1.424.1-9)

Высота здания, м

Грузоподъемность крана, т

Типоразмер колонны

Основные размеры колонны, мм

Номер чертежа

l

l1

b

h

h1

h2

15,6

Б/К; 20; 32

1КД156

16900

4100

 

600

1400

200

6a

32; 50

2КД156

4700

Б/К; 20; 32

3КД156

4500

250

32; 50

4КД156

5100

Б/К; 20; 32

5КД156

4500

700

1900

300

6б

32; 50

6КД156

5100

Б/К; 20; 32

7КД156

16300

(16200)

3900

(3800)

32; 50

8КД156

16300

(16200)

4500

(4400)

16,8

Б/К; 20; 32

1КД168

18100

4100

600

1400

200

6a

32; 50

2КД168

4700

Б/К; 20; 32

3КД168

4500

250

32; 50

4КД168

5100

Б/К; 20; 32

5КД168

4500

700

1900

300

6б

32; 50

6КД168

5100

Б/К; 20; 32

7КД168

17500

(17400)

3900

(3800)

32; 50

8КД168

4500

(4400)

18,0

Б/К; 20; 32

1КД180

19300

4100

600

1400

200

6а

32; 50

2КД180

4700

Б/К; 20; 32

3КД180

4500

250

32; 50

4КД180

5100

Б/К; 20; 32

5КД180

4500

700

1900

300

32; 50

6КД180

5100

Б/К; 20; 32

7КД180

18700

(18600)

3900

(3800)

32; 50

8КД180

4500

(4400)

а - колонна крайних рядов; б - колонна средних рядов

Черт. 7

Таблица 15

Колонны типа КДП для зданий высотой 15,6; 16,8 и 18,0 м (серия 1.424.1-10)

Высота здания, м

Грузоподъемность крана, т

Типоразмер колонны

Основные размеры колонны, мм

Номер чертежа

l

l1

b

h

h1

h2

15,6

20; 32

1КДП156

16900

4100

500

900

1400

200

7а

32; 50

2КДП156

4700

20; 32

3КДП156

4500

250

32; 50

4КДП156

5100

20; 32

5КДП156

4500

1900

300

7б

32; 50

6КДП156

5100

20; 32

7КДП156

16300

(16200)

3900

(3800)

32; 50

8КДП156

4500

(4400)

16,8

20; 32

1КДП168

18100

4100

1400

200

7а

32; 50

2КДП168

4700

20; 32

3КДП168

4500

250

32; 50

4КДП168

5100

20; 32

5КДП168

4500

1900

300

7б

32; 50

6КДП168

5100

20; 32

7КДП168

17500

(17400)

3900

(3800)

300

32; 50

8КДП168

4500

(4400)

18,0

20; 32

1КДП180

19300

4100

1400

200

7а

32; 50

2КДП180

4700

20; 32

3КДП180

4500

1400

250

32; 50

4КДП180

5100

20; 32

5КДП180

4500

1900

300

7б

32; 50

6КДП180

5100

20; 32

7КДП180

3900

(3800)

32; 50

8КДП180

4500

(4400)

Таблица 16

Колонны типа КДФ для зданий высотой 15,6; 16,8 и 18,0 м (серия 1.427.1-6)

Высота здания, м

Типоразмер колонны

Основные размеры колонны, мм

Номер чертежа

l

l1

b

h

h1

h2

15,6

КДФ156

16800

5100

500

600

1400

200

6а

16,8

КДФ168

18000

18,0

КДФ180

19200

ИНФОРМАЦИОННЫЕ ДАННЫЕ

1. РАЗРАБОТАН И ВНЕСЕН Центральным научно-исследовательским и проектно-экспериментальным институтом промышленных зданий и сооружений (ЦНИИпромзданий) Госстроя СССР

РАЗРАБОТЧИКИ

А. М. Ривкин, канд. техн. наук (руководитель темы); Р. И. Рабинович, канд. техн. наук; H. И. Томышева, О. А. Химичева; А. Я. Розенблюм; В. А. Беликов, канд. техн. наук; М. Г. Коревицкая, канд. техн. наук; Г. H. Бердичевский, д-р техн. наук; Л. Г, Мовшович; А.И. Мангушев, канд. техн. наук; В. Е. Савранский, канд. техн. наук; М. И. Бродский; Л. М. Аксенова; В. И. Пименова; В. И. Деньщиков

2. УТВЕРЖДЕН И ВВЕДЕН В ДЕЙСТВИЕ Постановлением Государственного строительного комитета СССР от 29.01.90 № 6

3. ВЗАМЕН ГОСТ 25628-83

4. ССЫЛОЧНЫЕ НОРМАТИВНО-ТЕХНИЧЕСКИЕ ДОКУМЕНТЫ

Обозначение НТД, на который дана ссылка

Номер пункта, подпункта

ГОСТ 5781-82

1.3.5

ГОСТ 6727-80

1.3.5

ГОСТ 10060-87

3.2

ГОСТ 10180-78

3.1

ГОСТ 10884-81

1.3.5

ГОСТ 10922-75

1.3.7, 3.4

ГОСТ 12730.0-78

3.3

ГОСТ 12730.5-84

3.3

ГОСТ 13015.0-83

1.3.1; 1.3.9

ГОСТ 13015.1-81

2.1

ГОСТ 13015.2-81

1.3.12; 1.4

ГОСТ 13015.3-81

2.4

ГОСТ 13015.4-84

4.1

ГОСТ 17624-87

3.1

ГОСТ 17625-83

3.7

ГОСТ 18105-86

3.1

ГОСТ 22362-77

3.5

ГОСТ 22690-88

3.1

ГОСТ 22904-78

3.7

ГОСТ 23009-78

1.2.7

ГОСТ 23858-79

3.4

ГОСТ 26134-84

3.2

ГОСТ 26433.0-85

3.6

ГОСТ 26433.1-89

3.6

ГОСТ 26633-85

1.3.2

ТУ 14-1322-85

1.3.5

СОДЕРЖАНИЕ

1. Технические требования. 1

2. Приемка. 5

3. Методы контроля. 5

4. Транспортирование и хранение. 6

Приложение Форма и основные размеры колонн. 6

 




Яндекс цитирования



   Copyright © 2007-2026,  www.tehlit.ru.

[ ѓосты, стандарты, нормативы, инструкции, правила, строительные нормы ]