//
ТехЛит.ру
- крупнейшая бесплатная электронная интернет библиотека для "технически умных" людей.
WWW.TEHLIT.RU - ТЕХНИЧЕСКАЯ ЛИТЕРАТУРА

:: Алготрейдинг::


АЛГОТРЕЙДИНГ
шаг за шагом
с нуля по урокам!

Торговые роботы на PYTHON, BackTrader,
Pandas, Pine Script для TradingView. Связка с брокерами, телеграм и легкими приложениями.


ГОСУДАРСТВЕННЫЙ СТАНДАРТ СОЮЗА ССР

ПАНЕЛИ СТЕН И ПОКРЫТИЙ
ЗДАНИЙ СЛОИСТЫЕ С УТЕПЛИТЕЛЕМ
ИЗ ПЕНОПЛАСТОВ. ПЕНОПЛАСТЫ

МЕТОДЫ ИСПЫТАНИЙ НА ПРОЧНОСТЬ

ГОСТ 22695-77

Государственный комитет Совета Министров СССР
по делам строительства

МОСКВА

РАЗРАБОТАН

Центральным научно-исследовательским институтом строительных конструкций (ЦНИИСК) им. В. А. Кучеренко Госстроя СССР

Зам. директора А. М. Чистяков

Зав. отделением В. Н. Насонов

Руководители темы: К. В. Панферов, Ю. Н. Потапов, И. Г. Романенков

Исполнители: В. М. Бобряшов, В. В. Гурьев, С. Б. Ермолов, Ф. В. Расс, О.Б. Тюзнева

Всесоюзным научно-исследовательским и проектно-конструкторским институтом полимерных строительных материалов (ВНИИстройполимер) Министерства промышленности строительных материалов СССР

Зам. директора В. К. Комлев

Руководители темы и исполнители: А. Т. Бублик, Ю. Г. Горбачев

ВНЕСЕН Центральным научно-исследовательским институтом строительных конструкций (ЦНИИСК) им. В. А. Кучеренко Госстроя СССР

Зам. директора А. М. Чистяков

ПОДГОТОВЛЕН К УТВЕРЖДЕНИЮ Отделом технического нормирования и стандартизации Госстроя СССР

Начальник отдела В. И. Сычев

Начальник подотдела стандартизации в строительстве М. М. Новиков

Гл. специалист В. А. Богословский

УТВЕРЖДЕН И ВВЕДЕН В ДЕЙСТВИЕ Постановлением Государственного комитета Совета Министров СССР по делам строительства от 1 сентября 1977 г. № 136

ГОСУДАРСТВЕННЫЙ СТАНДАРТ СОЮЗА ССР

ПАНЕЛИ СТЕН И ПОКРЫТИЙ ЗДАНИЙ
СЛОИСТЫЕ С УТЕПЛИТЕЛЕМ
ИЗ ПЕНОПЛАСТОВ. ПЕНОПЛАСТЫ

Методы испытаний на прочность

Laminated wall and roof panels with plastic foam
thermal insulation. Plastic foams. Methods of strength
testing

ГОСТ
22695-77

Постановлением Государственного комитета Совета Министров СССР по делам строительства от 1 сентября 1977 г. № 136 срок введения установлен

с 01.01 1979 г.

Настоящий стандарт распространяется на пенопласты, применяемые в качестве утеплителя в слоистых панелях стен и покрытий зданий (с листами из металла, асбестоцемента, фанеры, древесноволокнистых и древесностружечных плит, стеклопластиков и картона), и устанавливает методы испытания прочности при сжатии, растяжении и сдвиге.

Требования к прочностным характеристикам пенопластов устанавливаются соответствующими стандартами на панели.

1. МЕТОДЫ ОТБОРА ОБРАЗЦОВ

1.1. Количество и порядок отбора образцов пенопластов для определения их прочностных характеристик следует принимать в соответствии со стандартами на панели.

1.2. Образцы пенопластов для определения прочности при сжатии, растяжении и сдвиге вырезают из панелей совместно с приформованными к утеплителю листами не ранее чем через трое суток после изготовления панелей. При профилированных листах образцы вырезают на плоских участках профиля.

Определение прочности пенопластов при сдвиге допускается производить на образцах без листов.

1.3. Образцы для определения прочности при сжатии должны иметь форму прямоугольной призмы с высотой, равной наименьшей толщине панели. Размеры сторон квадратного основания принимают равными толщине панели и кратными 5 мм (с округлением в большую сторону).

1.4. Образцы для определения прочности при растяжении должны иметь форму прямоугольной призмы с высотой, равной наименьшей толщине панели, и квадратным основанием 50´50 мм.

Допускается при профилированных листах применять образцы с прямоугольным основанием 40´60 мм.

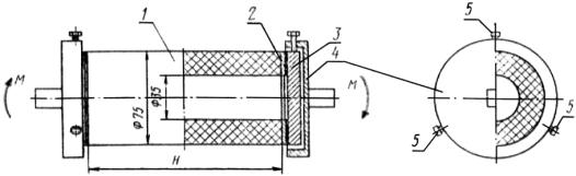
1.5. Образцы для определения прочности при сдвиге должны иметь форму полого цилиндра высотой, равной наименьшей толщине панели, наружным диаметром основания 75 мм и внутренним диаметром 35 мм.

1.6. Образцы для испытании не должны иметь видимых дефектов: трещин, расслаиваний, раковин, вмятин, вырывов.

1.7. Отклонения размеров поперечного сечения образцов от номинальных не должны быть более 1 мм.

1.8. Размеры образцов следует определять с точностью до 0,1 мм.

1.9. На образцах должны быть нанесены обозначения марки панели и порядкового номера партии, а также направление оси образца по отношению к плоскости панели.

1.10. Образцы до испытаний следует выдерживать в течение 24 ч в воздушной среде температурой 20 ± 2 °С и влажностью 65 ± 5 %, если в стандартах на панели нет других указаний.

1.11. Периодичность испытаний образцов следует принимать в соответствии со стандартами па панели.

2. МЕТОД ОПРЕДЕЛЕНИЯ ПРОЧНОСТИ ПРИ СЖАТИИ

2.1. Сущность метода заключается в определении напряжения сжатия в образце при 10 % деформации пенопласта или его разрушении.

2.2. Аппаратура

2.2.1. Для испытаний применяют серийную испытательную машину, обеспечивающую измерение нагрузки с точностью 1 % измеряемой величины.

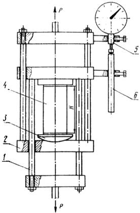
2.2.2. Испытательная машина должна иметь самоустанавливающуюся опору и систему измерения перемещений захватов. При отсутствии опоры и системы измерения применяют приспособление, показанное на черт. 1, с индикаторным устройством, обеспечивающим измерение деформаций с точностью 0,1 мм.

2.3. Проведение испытаний

2.3.1. При испытании образцы следует устанавливать на опорную плиту испытательной машины или приспособления таким образом, чтобы сжимающее усилие действовало по оси образца.

2.3.2. Образцы центрируют по рискам нижней плиты испытательной машины или приспособления. Скорость сжатия принимают равной (0,1 ± 0,002) Н/мин, где Н - толщина пенопласта, мм (см. черт. 1).

Образец и приспособление для испытания пенопласта на сжатие

1 - нижняя траверса реверсора; 2 - верхняя траверса реверсора; 3 - шарнирная опора; 4 - образец; 5 - индикатор часового типа; 6 - упорный шток

Черт. 1

2.3.3. Нагружение образца производят до достижения нагрузки, соответствующей 10 % относительной деформации пенопласта или до его разрушения при меньшей деформации. Эту нагрузку принимают за величину предельной нагрузки.

2.3.4. Прочность при сжатии sс, Па·105 (кгс/см2), определяют по формуле

где Р - предельная нагрузка даН (кгс);

F - площадь поперечного сечения образца, см2.

2.3.5. За результат испытаний принимают среднее арифметическое параллельных определений.

2.4. Обработка результатов

2.4.1. Результаты испытаний записывают в журнал, в котором указывают:

наименование и марку панелей, номер партии;

тип и марку испытательной машины и измерителя реформаций;

число образцов, взятых для испытания;

даты изготовления панелей и испытания образцов.

3. МЕТОД ОПРЕДЕЛЕНИЯ ПРОЧНОСТИ ПРИ РАСТЯЖЕНИИ

3.1. Сущность метода заключается в определении напряжения растяжения в образце при его разрушении.

3.2. Аппаратура

3.2.1. Для испытаний применяют серийную испытательную машину, обеспечивающую измерение нагрузки с точностью 1 % измеряемой величины.

3.2.2. Захваты испытательной машины должны обеспечивать надежное крепление образцов и совпадение продольной оси образца с направлением растяжения.

3.2.3. Для крепления образцов в захватах испытательной машины используют захватные приспособления, показанные на черт. 2 и состоящие из Т-образных металлических пластин с отверстиями. Размеры Т-образных пластин в плане должны соответствовать размерам образца в рабочем сечении. Поверхности Т-образных пластин должны быть плоскими и перпендикулярными продольной оси образца.

3.3. Проведение испытаний

3.3.1. Перед проведением испытаний захватные приспособления приклеивают к листам образцов. Клей, применяемый для приклеивания захватных приспособлений, должен иметь достаточную прочность, чтобы обеспечивать разрушение по образцу.

3.3.2. Образцы с захватными приспособлениями центрируют в захватах испытательной машины таким образом, чтобы растягивающее усилие действовало по оси образца.

3.3.3. Испытание проводят при скорости перемещения захватов испытательной машины (0,05 ± 0,001) Н/мин, где Н - толщина пенопласта, мм (см. черт. 2).

Образец и приспособление для испытания пенопласта на растяжение

1 - Т-образная пластина; 2 - клей; 3 - образец

Черт. 2

3.3.4. При испытаниях следует фиксировать характер разрушения образцов: по пенопласту или по поверхности контакта пенопласта с листами.

3.3.5. Прочность при растяжении sр, Па·105 (кгс/см2), определяют по формуле

где Р - максимальное усилие, даН (кгс);

F - площадь поперечного сечения образца, см2.

3.3.6. За результат испытаний принимают среднее арифметическое параллельных определений.

3.4. Обработка результатов

3.4.1. Результаты испытаний и характер разрушения образцов записывают в журнал, в котором указывают:

наименование и марку панели, номер партии;

тип и марку испытательной машины;

число образцов, взятых для испытания;

даты изготовления панелей и испытания образцов.

4. МЕТОД ОПРЕДЕЛЕНИЯ ПРОЧНОСТИ ПРИ СДВИГЕ

4.2.1. Для испытаний применяют испытательную машину, обеспечивающую измерение крутящего момента с точностью 1 % измеряемой величины.

4.2.2. Для установки образцов в испытательную машину и их центрирования применяют захватные приспособления, показанные на черт. 3 и состоящие из стальных опорных шайб, приклеиваемых к образцу, и захватных муфт, закрепляемых в захватах испытательной машины. Диаметр опорных шайб должен соответствовать наружному диаметру образцов. Опорные шайбы должны иметь по окружности зенковку под зажимные винты захватных муфт.

Образец и приспособление для испытания пенопласта на сдвиг при кручении

1 - образец; 2 - клей; 3 - опорная шайба; 4 - захватная муфта; 5 - зажимной винт

Черт. 3

4.3. Проведение испытаний

4.3.1. Перед проведением испытаний опорные шайбы приклеивают к торцам образца. Клей, применяемый для приклейки шайб, должен иметь достаточную прочность, чтобы обеспечивать разрушение по образцу.

4.32. Образец с приклеенными шайбами с помощью зажимных винтов закрепляют в захватных муфтах, установленных в захватах испытательной машины.

4.3.3. Испытания проводят при скорости взаимного вращения захватов испытательной машины, равной 1 ± 0,1 рад/мин.

4.3.4. Нагружение проводят до разрушения образца. За разрушающий момент принимают максимальную величину крутящего момента.

4.3.5. Прочность при сдвиге t, Па·105 (кгс/см2), определяют по формуле

где М - максимальный крутящий момент, даН·см (кгс·см);

W - полярный момент сопротивления поперечного сечения образца, см3, вычисляемый по формуле

где D -наружный диаметр образца, см;

d - внутренний диаметр образца, см.

4.3.6. За результат испытаний принимают среднее арифметическое параллельных определений.

4.4. Обработка результатов

4.4.1. Результаты испытаний записывают в журнал, в котором указывают:

наименование и марку панелей, номер партии;

тип и марку испытательной машины;

число образцов, взятых для испытания;

даты изготовления панелей и испытания образцов.

СОДЕРЖАНИЕ

1. Методы отбора образцов. 2

2. Метод определения прочности при сжатии. 3

3. Метод определения прочности при растяжении. 4

4. Метод определения прочности при сдвиге. 5

 




Яндекс цитирования



   Copyright © 2007-2026,  www.tehlit.ru.

[ ѓосты, стандарты, нормативы, инструкции, правила, строительные нормы ]