//
ТехЛит.ру
- крупнейшая бесплатная электронная интернет библиотека для "технически умных" людей.
WWW.TEHLIT.RU - ТЕХНИЧЕСКАЯ ЛИТЕРАТУРА

:: Алготрейдинг::


АЛГОТРЕЙДИНГ
шаг за шагом
с нуля по урокам!

Торговые роботы на PYTHON, BackTrader,
Pandas, Pine Script для TradingView. Связка с брокерами, телеграм и легкими приложениями.


СТ СЭВ 4180-83

СТАНДАРТ СОВЕТА ЭКОНОМИЧЕСКОЙ ВЗАИМОПОМОЩИ

ДВЕРИ ДЕРЕВЯННЫЕ

Метод испытания сопротивления ударной нагрузке

Дата введения:

в договорно-правовых отношениях по экономическому

и научно-техническому сотрудничеству 1985-01-01;

в народном хозяйстве 1986-01-01.

 

Информационные данные

 

1. Автор - делегация ЧССР в Постоянной Комиссии по сотрудничеству в области стандартизации.

2. Тема - 01.344.05-81.

3. Стандарт СЭВ утвержден на 53-м заседании ПКС.

4. Сроки начала применения стандарта СЭВ:

 

Страны - члены СЭВ

Сроки начала применения стандарта СЭВ

в договорно-правовых отношениях по экономическому и научно-техническому сотрудничеству

в народном хозяйстве

НРБ

Январь 1985 г.

Январь 1986 г.

ВНР

Январь 1985 г.

Январь 1986 г.

СРВ

 

 

ГДР

-

-

Республика Куба

 

 

МНР

 

 

ПНР

Январь 1985 г.

Январь 1986 г.

СРР

Январь 1986 г.

-

СССР

Январь 1985 г.

Январь 1986 г.

ЧССР

Январь 1986 г.

Январь 1986 г.

 

5. Срок первой проверки - 1990 г., периодичность проверки - 5 лет.

 

УТВЕРЖДЕН Постоянной Комиссией по сотрудничеству в области стандартизации, Прага, июль 1983 г.

 

ВВЕДЕН в действие постановлением Государственного комитета СССР по делам строительства от 5 июля 1984 г. № 107

введен в действие непосредственно в качестве государственного стандарта СССР

в народном хозяйстве СССР с 01.01.86

в договорно-правовых отношениях по сотрудничеству с 01.01.86*

 

Настоящий стандарт СЭВ распространяется на распашные деревянные двери.

1. Сущность метода

Метод заключается в определении остаточной деформации и разрушения створки, закрепленной неподвижно в коробке, от удара неупругим грузом в направлении закрывания двери.

2. Образцы

2.1. Образцами для испытания являются изделия, соответствующие техническим требованиям на конкретный вид дверей.

2.2. Количество образцов для испытания принимают в зависимости от объема партии, но не менее 3 шт.

3. Аппаратура

Для испытания применяют:

1) испытательный стенд, состоящий из конструкции для жесткого закрепления дверной коробки по периметру;

2) груз неупругий - кожаный мешок, заполненный сухим песком, массой (25±0,2) kg и диаметром (250±20) mm;

3) приспособление для определения высоты удара;

4) линейку металлическую длиной 1000 mm;

5) глубиномеры по СТ СЭВ 708-77, СТ СЭВ 1309-78;

6) щупы плоские.

4. Проведение испытаний

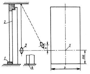
4.1. Образец устанавливают в испытательный стенд в соответствии с чертежом. Коробку закрепляют неподвижно.

 

 

1 - коробка с порогом; 2 - створка; 3 - неупругий груз; 4 - коробка без порога;

- высота падения груза; S - центр удара груза;  - ширина двери

 

Проверяют плоскостность створки в месте нанесения удара по СТ СЭВ 4181-83 и величины зазоров между коробкой и створкой .

4.2. Для определения центра S удара грузом проводят линию параллельно нижнему краю створки на расстоянии 250 mm от него. Точка пересечения этой линии с продольной осевой линией створки является центром S удара грузом.

4.3. При испытании дверей запирающие приборы должны быть в положении "Заперто".

4.4. Высота h падения груза должна составлять 200 mm - для внутренних дверей, 400 mm - для входных дверей в квартиру, 500 mm - для наружных дверей. Каждый образец подвергают удару трижды.

4.5. После испытания определяют наличие разрушений, измеряют величины остаточных деформаций и зазоров между коробкой и створкой, проверяют открывание и закрывание створки, отпирание и запирание приборов.

5. Оценка результатов

Сопротивление образцов дверей считают удовлетворительным, если после испытаний в образцах не возникло разрушений, изменения формы не превысили допустимых размеров, функции открывания и закрывания створок, отпирания и запирания приборов не нарушились.

6. Отчет об испытании

Отчет об испытании должен содержать:

1) краткое описание испытательных образцов (вид двери, особенности конструкции створки, размеры);

2) номер и наименование технической документации на двери;

3) данные об условиях и результатах испытаний согласно пп. 4.1-4.4;

4) оценку результатов испытаний;

5) дату поступления образцов на испытания и дату проведения испытаний;

6) наименование организации, представившей образцы на испытания, и наименование изготовителя дверей;

7) наименование организации, проводившей испытания;

8) обозначение настоящего стандарта СЭВ.

 




Яндекс цитирования



   Copyright © 2007-2026,  www.tehlit.ru.

[ ѓосты, стандарты, нормативы, инструкции, правила, строительные нормы ]