//
ТехЛит.ру
- крупнейшая бесплатная электронная интернет библиотека для "технически умных" людей.
WWW.TEHLIT.RU - ТЕХНИЧЕСКАЯ ЛИТЕРАТУРА

:: Алготрейдинг::


АЛГОТРЕЙДИНГ
шаг за шагом
с нуля по урокам!

Торговые роботы на PYTHON, BackTrader,
Pandas, Pine Script для TradingView. Связка с брокерами, телеграм и легкими приложениями.


ГОСУДАРСТВЕННЫЙ СТАНДАРТ СОЮЗА ССР

БЕТОНЫ

РАДИОИЗОТОПНЫЙ МЕТОД ОПРЕДЕЛЕНИЯ

СРЕДНЕЙ ПЛОТНОСТИ

ГОСТ 17623-87

ГОСУДАРСТВЕННЫЙ СТРОИТЕЛЬНЫЙ КОМИТЕТ СССР

Москва

ГОСУДАРСТВЕННЫЙ СТАНДАРТ СОЮЗА ССР

БЕТОНЫ

РАДИОИЗОТОПНЫЙ МЕТОД ОПРЕДЕЛЕНИЯ

СРЕДНЕЙ ПЛОТНОСТИ

Concrete. Radioisotope method of average

densiti determination

ГОСТ

17623-87

Дата введения 01.01.88

Настоящий стандарт распространяется на конструкционные тяжелые, легкие, ячеистые и плотные силикатные бетоны и бетонные смеси (далее - бетоны) и устанавливает радиоизотопный метод определения средней плотности этих бетонов (далее - плотности) и ее оценки по ГОСТ 27005-86.

Радиоизотопный метод основан на зависимости между плотностью контролируемого бетона и характеристиками ослабления или рассеяния регистрируемого гамма-излучения.

1. СРЕДСТВА ИЗМЕРЕНИЯ

1.1. Измерение плотности следует производить при помощи гамма плотномеров, соответствующих ГОСТ 22319-77.

Допускается применять другие средства измерений, которые удовлетворяют требованиям настоящего стандарта и ГОСТ 8.326-78.

Конструктивные схемы измерительных преобразователей гамма плотномеров приведены в приложении 1.

1.2. Средства измерений должны обеспечивать определение плотности в диапазоне 600-2500 кг/м3 с погрешностью не более:

2 % - для абсорбционных плотномеров, применяющихся для определения плотности бетона по схемам, приведенным на черт. 1а, б, в;

2,5 % - для альбедных плотномеров, применяющихся для определения плотности бетона по схемам, приведенным на черт. 1 г, д.

    

  

 

1 - источник излучения; 2 - детектор; 3 - выход к измерительному блоку;

4 - бетон, бетонная смесь

Черт. 1

1.3. Средства измерения, удовлетворяющие требованиям настоящего стандарта, но не имеющие первичной градуировочной зависимости, должны быть отградуированы по методике, приведенной в приложении 2.

Для привязки первичной градуировочной зависимости к составу бетона контролируемых изделий на предприятии-потребителе осуществляют ее корректировку по методике, изложенной в приложении 3.

1.4. При проведении измерений должны соблюдаться действующие санитарные правила работы с радиоактивными веществами и другими источниками ионизирующих излучений, утвержденные Минздравом СССР.

2. ПОДГОТОВКА И ПРОВЕДЕНИЕ ИЗМЕРЕНИЙ

2.1. Число и расположение участков, в которых должна определяться плотность бетона, устанавливают в соответствии с ГОСТ 27005-86

Для определения плотности бетона по ослаблению потока гамма-излучения источник и детектор размещают соосно с противоположных сторон контролируемого слоя бетона в соответствии с черт. 1а, б.

Для определения плотности бетона по рассеянию потока гамма-излучения источник и детектор размещают на поверхности контролируемой конструкции в соответствии с черт. 1 д или вводят в контролируемый бетон на определенную глубину в соответствии с черт. 1 г.

На каждом из контролируемых участков производят не менее трех измерений.

2.2. Поверхность конструкции в зоне установки измерительного преобразователя должна соответствовать требованиям ГОСТ 13015.0-83

Измерение плотности бетона следует производить на участках конструкций, свободных от облицовочного покрытия и фактурного слоя.

2.3. Допускается производить определение плотности бетона через облицовочную плитку при условии измерения толщины фактурного слоя градуирования плотномера на образцах с облицовочной плиткой или фактурным слоем различной толщины по методике, согласованной с головной научно-исследовательской организацией.

2.4. При определении плотности бетонных смесей марок по удобоукладываемости Ж1-Ж4 поГОСТ 7473-85 или затвердевшего бетона при помощи плотномеров с зондовыми преобразователями в соответствии с черт. 1 а, в, г в контролируемых участках конструкции подготавливают отверстия для установки измерительного преобразователя в соответствии с требованиями эксплуатационной документации на плотномер.

2.5. При проведении измерений измерительный преобразователь плотномера должен устанавливаться на конструкции в соответствии с черт. 2 таким образом, чтобы расстояния от него до края конструкции или борта формы со стороны источника rи, со стороны детектора rд и в направлении, перпендикулярном к оси «источник - детектор» rп, были не менее приведенных в табл. 1.

Таблица 1

Проектное значение

Значение радиусов действия преобразователя, мм

плотности, кг/м3

rи

rд

rп

До 1800

60

90

150

Св. 1800

50

60

100

2.6. Толщина слоя бетона контролируемой конструкции h при использовании измерительных преобразователей поверхностного типа должна быть не менее:

350 мм - при проектной плотности до 1000 кг/м3;

250 мм - при проектной плотности от 1000 до 1800 кг/м3;

150 мм - при проектной плотности более 1800 кг/м3.

При определении плотности бетона в конструкции, толщина которой менее приведенных значений (но не менее 40 мм), должна быть произведена градуировка плотномера на градуировочных образцах толщиной, равной толщине контролируемой конструкции.

2.7. В зоне распространения гамма-излучения на соответствующую глубину бетона (черт. 2), определяемую согласно табл. 2, не должны находиться закладные детали и арматура диаметром св. 8 мм.

Таблица 2

Проектное значение

Значение радиусов действия преобразователя, мм

плотности, кг/м3

rи

rд

rп

h

До 1800

50

80

120

200

Св. 1800

40

70

80

100

2.8. Измерительные преобразователи поверхностного типа в процессе измерения должны быть плотно прижаты к поверхности бетонной смеси или бетона конструкции или погружены на глубину 1-2 мм.

3. ОБРАБОТКА РЕЗУЛЬТАТОВ

3.1. Значение плотности бетона по результатам измерений радиоизотопным методом определяют с округлением до 10 кг/м3.

1 - источник излучения; 2 - измерительный преобразователь; 3 - детектор;

4 - бетон, бетонная смесь; 5 - зона распространения гамма-излучения

Черт. 2

3.2. За значение плотности контролируемого участка конструкции принимают среднее арифметическое значение, полученное по результатам трех измерений на данном участке.

3.3. Результаты измерений заносят в журнал, форма которого приведена в приложении 4.

ПРИЛОЖЕНИЕ 1

Справочное

СХЕМЫ ИЗМЕРИТЕЛЬНЫХ ПРЕОБРАЗОВАТЕЛЕЙ ГАММАПЛОТНОМЕРОВ И РЕКОМЕНДУЕМЫЕ ОБЛАСТИ ИХ ПРИМЕНЕНИЯ

1. Конструктивные схемы радиоизотопных измерительных преобразователей представлены на черт. 1.

2. Преобразователь П-образного типа применяют для послойного определения плотности бетонной смеси (черт. 1а) и бетона в конструкциях толщиной до 500 мм (черт. 1б).

3. Преобразователи Т-образного типа (черт. 1в) применяют для определения плотности слоя бетонной смеси толщиной до 400 мм. Допускается применение преобразователя Т-образного типа для контроля плотности бетона в конструкциях.

4. Преобразователь типа «глубинный зонд» (черт. 1г) применяют для определения плотности бетонной смеси в различных по высоте участках при изготовлении массивных изделий или монолитных конструкций.

5. Преобразователь поверхностного типа (черт. 1д) применяют для определения плотности бетонной смеси и затвердевшего бетона при одностороннем доступе к контролируемой конструкции.

ПРИЛОЖЕНИЕ 2

Обязательное

МЕТОДИКА ГРАДУИРОВКИ ПЛОТНОМЕРОВ, НЕ ИМЕЮЩИХ ПЕРВИЧНОЙ ГРАДУИРОВОЧНОЙ ЗАВИСИМОСТИ

1. Градуировку плотномеров, не имеющих первичной градуировочной зависимости, производят на контрольных образцах из бетона.

2. Размеры контрольных образцов для градуировки плотномеров различного типа выбирают согласно п.п. 2.6 и 2.7 настоящего стандарта.

3. Образцы для градуировки плотномеров готовят из бетонов, используемых для изготовления контролируемых конструкций.

4. Различные значения плотности бетона в образцах для градуировки плотномеров получают за счет изменения состава бетона, характеристик заполнителя, степени поризации и различной деятельности уплотнения бетонной смеси.

5. Влажность материала образцов при проведении градуировки не должна отличаться от влажности бетона контролируемой конструкции или бетонной смеси более чем на 5 %. Влажность определяют по ГОСТ 12730.2-78.

6. Число образцов в зависимости от требуемого диапазона измерения плотности (Dr) должно составлять не менее:

3 шт. - при £ 200 кг/м3;

4 шт. - при Dr от 200 до 400 кг/м3;

5 шт. - при Dr от 400 до 600 кг/м3.

7. Плотность r в кг/м3 в образцах для градуировки плотномеров определяют по ГОСТ 12730.1-78 с погрешностью не более 0,5 %.

8. Погрешность показаний плотномера при проведении градуировки не должна превышать 1,0 % при доверительной вероятности 0,95.

9. Градуировочную зависимость f в имп./с устанавливают по результатам измерения плотности бетона r и показаниям плотномера на образцах.

10. Погрешность градуировочной зависимости Sr в процентах вычисляют по формуле

                                                              (1)

где ri - плотность i-го образца, определенная по п. 7;

rio - значение плотности i-го образца, определенной по градуировочной зависимости;

n - число образцов, испытанных для установления градуировки.

11. Значение погрешности градуировочной зависимости Sr не должно превышать:

1,0 % -для абсорбционных (альбедно-абсорбционных) плотномеров;

1,5 % -для альбедных плотномеров.

12. Пример построения градуировочной зависимости в форме графика приведен на черт. 3.

Черт. 3

ПРИЛОЖЕНИЕ 3

Рекомендуемое

МЕТОДИКА

корректировки заводской градуировочной зависимости

серийных плотномеров

1. Корректировку заводской градуировочной зависимости серийных плотномеров проставленной в виде графика на черт. 4 а, б (сплошная толстая линия), производят по результатам измерений на одном образце, изготовленном из бетона используемого для изготовления контролируемых конструкций.

2. Размер образца для плотномеров различных типов выбирают в соответствии с п.п 2.6 и 2.7 настоящего стандарта.

3. Влажность бетона образца не должна отличаться от влажности бетонной смеси или влажности бетона контролируемой инструкции более чем на ± 5 абс. %. Влажность определяют по ГОСТ 12730.2-78.

4. Плотность бетона образца rк определяют по ГОСТ 12730.1-78.

5. Измерения на образце производят с 10-кратной повторностью.

6. За результат измерений плотномером принимают среднее арифметическое значение его показаний - .

7. Погрешность результата измерений, определяемая по формуле

где Ni  - i результат измерений по п. 5, не должна превышать:

0,5 % - для альбедных плотномеров;

0,25 % - для абсорбционных плотномеров.

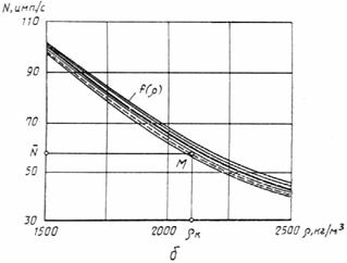
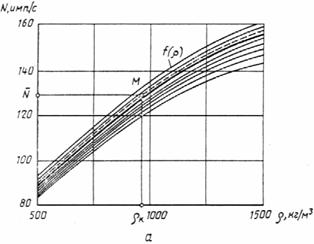
8 Откорректированную градуировочную зависимость получают как промежуточную кривую семейства линий на черт. 4 (показана пунктирной линией), проходящую через точку М, координаты которой равны соответственно:

rк - плотность бетона образца в кг/м3;

- среднее значение показаний плотномера при проведении измерений на образце по п. 5.

Градуировочные зависимости радиоизотопных плотномеров

Альбедного типа

Абсорбционного типа

Черт. 4

Тонкими линиями показано семейство корректировочных зависимостей.

9. Откорректированную градуировочную зависимость используют для определения плотности по результатам измерений плотномером для бетонов, марка которых по средней плотности отличается от марки бетона образца не более чем на две марки.

ПРИЛОЖЕНИЕ 4

Рекомендуемое

ФОРМА ЖУРНАЛА ДЛЯ ЗАПИСИ РЕЗУЛЬТАТОВ ИЗМЕРЕНИЙ

Наименование и паспортные данные конструкции

Номера и расположение контролируемых участков конструкции

Показания плотномера в делениях шкалы, импульсах или относительных единицах

Значение плотности по шкале плотномера, градуировочному графику или таблице

Фамилия оператора

и дата проведения измерений

1

2

3

4

5

 

 

 

 

 

 

Подпись оператора ______________________

ИНФОРМАЦИОННЫЕ ДАННЫЕ

1. РАЗРАБОТАН И ВНЕСЕН Министерством строительных материалов СССР

ИСПОЛНИТЕЛИ

3. М. Брейтман (руководитель темы); Л. Г. Родэ, канд. техн. наук; О. М. Нечаев, канд. тех. наук; Ю. Н. Мизрохи, канд. техн. наук; В. Р. Довжик, канд. техн. наук; С. Р. Котляр, канд. техн. наук; В. В. Судаков, канд. техн. наук; Л. Н. Рынин, канд. техн. наук; В. Г. Копытов; С. Л. Давыдов; И. И. Вайншток, канд. техн. наук; В. Е. Романчук; О. В. Лужин, д-р техн. наук; В. А. Волохов, канд. техн. наук; И. Э. Школьник, канд. техн. наук; В. А. Воробьев, д-р техн. наук; В. А. Горшков, канд. техн. наук; М. К. Трунцева; И. Н. Нагорняк

2. УТВЕРЖДЕН И ВВЕДЕН В ДЕЙСТВИЕ Постановлением Государственного строительного комитета СССР от 01.07.87 № 126

3. ВЗАМЕН ГОСТ 17623-78

4. ССЫЛОЧНЫЕ НОРМАТИВНО-ТЕХНИЧЕСКИЕ ДОКУМЕНТЫ

Обозначение НТД, на который

дана ссылка

Номер пункта, приложения

ГОСТ 8.326-78

1.1

ГОСТ 7473-85

2.4

ГОСТ 12730.1-78

Приложение 1, п. 7;

 

приложение 3, п. 4

ГОСТ 12730.2-78

Приложение 2, п. 5;

 

приложение 3, п. 3

ГОСТ 13015.0-83

2.2

ГОСТ 22319-77

1.1

ГОСТ 27005-86

Вводная часть, 2.1

СОДЕРЖАНИЕ

 




Яндекс цитирования



   Copyright © 2007-2026,  www.tehlit.ru.

[ ѓосты, стандарты, нормативы, инструкции, правила, строительные нормы ]