//
ТехЛит.ру
- крупнейшая бесплатная электронная интернет библиотека для "технически умных" людей.
WWW.TEHLIT.RU - ТЕХНИЧЕСКАЯ ЛИТЕРАТУРА

:: Алготрейдинг::


АЛГОТРЕЙДИНГ
шаг за шагом
с нуля по урокам!

Торговые роботы на PYTHON, BackTrader,
Pandas, Pine Script для TradingView. Связка с брокерами, телеграм и легкими приложениями.


ГОСУДАРСТВЕННЫЙ СТАНДАРТ СОЮЗА ССР

БЕТОНЫ

МЕТОДЫ ОПРЕДЕЛЕНИЯ ДЕФОРМАЦИЙ УСАДКИ И ПОЛЗУЧЕСТИ

ГОСТ 24544-81

 

РАЗРАБОТАНЫ

Научно-исследовательским институтом бетона и железобетона (НИИЖБ) Госстроя СССР

Министерством транспортного строительства

Научно-исследовательским институтом строительных конструкций (НИИСК) Госстроя СССР

Министерством промышленности строительных материалов СССР Государственным комитетом СССР по стандартам

ИСПОЛНИТЕЛИ

А. А. Гвоздев, д-р техн. наук; А. В. Яшин, канд. техн. наук (руководители темы); Н. Г. Хубова, канд. техн. наук; И. К. Белобров, канд. техн. наук; Р. Л. Серых, канд. техн. наук; А. Ф. Милованов, д-р техн. наук; А. Т. Баранов, канд. техн. наук; Ю. С. Волков, канд. техн. наук; В. И. Скатынский, канд. техн. наук; Н. И. Елисаветская; Е. Н. Щербаков, канд. техн. наук; К. М. Кац, канд. техн. наук; Е. С. Одинцов; А. А. Ахадов; А. И. Марков, канд. техн. наук; Р. О. Красновский, канд. техн. наук; В. В. Доркин, канд. техн. наук; Н. М. Васильев, канд. техн. наук; В. А. Критов, канд. техн. наук; А. И. Марченко, канд. техн. наук; В. А. Рахманов, канд. техн. наук; В. Н. Кравцов; В. А. Богословский

ВНЕСЕНЫ Научно-исследовательским институтом бетона и железобетона (НИИЖБ) Госстроя СССР

Директор К. В. Михайлов

УТВЕРЖДЕНЫ И ВВЕДЕНЫ В ДЕЙСТВИЕ Постановлениями Государственного комитета СССР по делам строительства от 31 декабря № 237

 

 

ГОСУДАРСТВЕННЫЙ СТАНДАРТ СОЮЗА ССР

БЕТОНЫ

Методы определения деформаций усадки и ползучести

Concretes. Methods of shrinkage and creep flow determination

ГОСТ
24544-81*

Постановлением Государственного комитета СССР по делам строительства от 31 декабря 1980 г. № 237 срок введения установлен

с 01.01.82 г.

Несоблюдение стандарта преследуется по закону

Настоящий стандарт распространяется на все виды цементных, а также силикатных бетонов, применяемых в промышленном, энергетическом, транспортном, водохозяйственном, жилищно-гражданском и сельскохозяйственном строительстве, в том числе на бетоны, подвергающиеся в процессе эксплуатации нагреву, насыщению водой или нефтепродуктами.

Стандарт устанавливает методы испытаний для определения деформаций усадки путем измерения их в направлении продольной оси незагруженного образца и деформаций ползучести путем измерения их в направлении продольной оси образца, загруженного постоянной по величине осевой сжимающей нагрузкой.

Предусмотренные настоящим стандартом испытания проводятся только на образцах, специально изготовленных из бетонной смеси. Образцы, выпиленные или выбуренные из элементов конструкций, при испытании бетона на усадку и ползучесть не применяются.

В стандарте учтены рекомендации СЭВ РС 279-65 в части методов определения усадки и ползучести, а также рекомендации РИЛЕМ Р12 в части методов определения ползучести.

1. МЕТОДЫ ОТБОРА И ИЗГОТОВЛЕНИЯ ОБРАЗЦОВ

1.1. Определение деформаций усадки и ползучести должно производиться на призматических образцах размерами 70´70´280, 100´100´400, 150´150´600, 200´200´800 мм не гидроизолированных от влагообмена с окружающей средой. В качестве базового образца следует принимать призму размерами 150´150´600 мм.

Для определения деформаций усадки ячеистого бетона допускается применять призмы размерами 40´40´160 мм.

1.2. Размеры образцов для определения деформаций усадки и ползучести выбирают в зависимости от наибольшей крупности заполнителя в пробе бетонной смеси в соответствии с требованиями ГОСТ 10180-78.

1.3. Образцы изготовляют отдельными сериями.

Определение деформаций ползучести производят одновременно с определением деформаций усадки, при этом перед испытаниями определяют прочность бетона на сжатие по ГОСТ 10180-78 и призменную прочность по ГОСТ 24452-80.

Каждая серия должна состоять из девяти образцов призм, из которых три предназначают для определения призменной прочности, три - для определения деформаций усадки и три - для определения деформаций ползучести, а также трех образцов-кубов с ребрами размерами, соответствующими размеру рабочего сечения призмы.

1.4. Изготовление и хранение образцов до распалубливания должно соответствовать требованиям ГОСТ 10180-78.

1.5. После распалубливания все образцы одной серии должны (включая образцы-кубы) храниться вплоть до начала испытаний в одинаковых, как правило, нормальных температурно-влажностных условиях согласно ГОСТ 10180-78.

При определении только усадки бетона образцы до начала испытаний должны храниться во влажных условиях, исключающих возможность испарения влаги из бетона.

1.6. Образцы из ячеистого бетона, изготовленные в соответствии с требованиями ГОСТ 10180-78, перед испытанием на усадку и ползучесть должны быть погружены в воду и храниться в ней в течение 3 сут в горизонтальном положении.

1.7. Число образцов в серии и условия их хранения при определении деформаций температурной усадки и ползучести при нагреве принимают в соответствии с обязательным приложением 1.

2. ОБОРУДОВАНИЕ, ПРИБОРЫ И МАТЕРИАЛЫ

2.1. Оборудование и приборы для проведения испытаний должны отвечать требованиям настоящего стандарта, быть проверены и аттестованы в установленном порядке в соответствии с ГОСТ 8.001-80 и МУ 8.7-77.

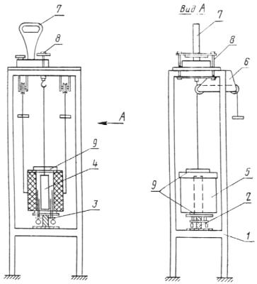
2.2. Для определения деформаций усадки применяют устройства, схемы которых показаны на черт. 1 и 2. Устройство, схема которого приведена на черт. 1, предназначено для измерения деформаций усадки образцов с поперечным сечением размерами 40´40 мм.

Схема устройства для определения деформаций усадки образцов с размерами поперечного сечения 40´40 мм

1 - стойка; 2 - кронштейн; 3 - конусообразный выступ; 4 - нижняя опора; 5 - индикатор; 6 - образец; 7 - репер; а - размер стороны поперечного сечения образца; Н - высота образца; l1 - база измерений.

Черт. 1

Устройство, схема которого приведена на черт. 2, предназначено для измерения деформаций усадки образцов с сечением размерами более 40´40 мм и состоит из уложенной на опоры 7 плоской сварной сетки 6, изготовленной из гладких арматурных стержней с ячейками размером не более 20 мм.

Схема устройства для определения деформаций усадки образцов с размерами поперечного сечения более 40´40 мм

1 - индикатор часового типа; 2 - рамка для крепления индикаторов; 3 - качающаяся штанга; 4 - образец; 5 - металлические пластинки по торцам образца; 6 - плоская сварная сетка; 7 - опора.

Черт. 2

2.3. Для определения деформаций ползучести применяют пневмогидравлические, пружинно-гидравлические или пружинные испытательные устройства, а также рычажные, приведенные в обязательном приложении 1.

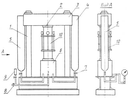
Пневмогидравлическое устройство, схема которого приведена на черт. 3, включает следующие основные узлы: плоскую раму, гидродомкрат с манометром и два баллона с инертным газом, в которых создают избыточное и расчетное давление.

Схема пневмогидравлического устройства для определения деформаций ползучести

1 - стойка; 2 - верхняя опорная плита; 3 - траверса; 4 - баллон с инертным газом (с избыточным давлением по отношению к расчетному); 5 - баллон с инертным газом при расчетном давлении; 6 - гидравлический домкрат с шарнирной опорной плитой; 7 - вентиль баллона; 8 - входной вентиль; 9 - манометр образцовый; 10 - образец.

Черт. 3

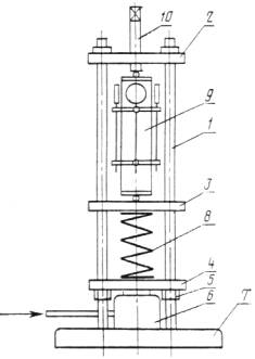
Пружинно-гидравлическое испытательное устройство, схема которого приведена на черт. 4, состоит из пространственной рамы, снабженной в верхней ее части гидравлическим мембранным домкратом 2, а в нижней части - пакетом тарельчатых пружин 7 и регулировочными винтами 6. Контроль передаваемого на образец усилия осуществляется с помощью образцового манометра 1 гидравлического домкрата 2.

Схема пружинно-гидравлического устройства для определения деформаций ползучести

1 - образцовый манометр; 2 - гидравлический домкрат плунжерного типа с гибкой диафрагмой; 3 - поршень домкрата; 4 - стойки; 5 - опорная плита; 6 - регулирующие винты; 7 - тарельчатые пружины; 8 - образец.

Черт. 4

Пружинное испытательное устройство, схема которого приведена на черт. 5, состоит из стоек 1, верхней траверсы 2 и постамента 7, образующих жесткую замкнутую раму, внутри которой размещены испытываемый образец 9, спиральные пружины 8 и установлен переносной гидравлический домкрат 6. Средняя 3 и нижняя 4 подвижные траверсы служат для передачи усилия, установочный винт 10 фиксирует образец до начала его загружения. С помощью домкрата 6 создают сжатие предварительно протарированной спиральной пружины и заданное усилие в образце, после чего положение нижней траверсы фиксируют гайками 5, а домкрат 6 освобождают и переносят на следующую установку.

Схема пружинного устройства для определения деформаций ползучести

1 - стойки; 2 - верхняя траверса; 3 - средняя траверса; 4 - нижняя траверса; 5 - гайки; 6 - гидравлический домкрат; 7 - постамент; 8 - спиральная пружина; 9 - бетонный образец; 10 - установочный винт.

Черт. 5

Требуемая величина усилия, передаваемого на образец обеспечивается выбором количества пружин 8 и гидравлического домкрата соответствующей мощности.

2.4. Методы определения деформаций температурной усадки и ползучести при нагреве приведены в обязательном приложении 1; оборудование для нагрева образцов принимают в соответствии с ГОСТ 24452-80.

2.5. Для измерения деформаций следует использовать измерительные приборы и приспособления для их крепления, применяемые для определения призменной прочности, модуля упругости и коэффициента Пуассона по ГОСТ 24452-80.

2.6. При определении деформаций ползучести сжимающее усилие на образец следует передавать через металлические прокладки толщиной 35-37 мм, размеры которых в плане равны размеру поперечного сечения образца. Твердость прокладок и шероховатость их рабочих поверхностей должны удовлетворять требованиям ГОСТ 10180-78.

2.7. Для определения линейных размеров, массы образцов и плотности бетона следует применять средства измерений и оборудование по ГОСТ 10180-78 и ГОСТ 12730.1-78, а для определения влажности бетона - по ГОСТ 12730.2-78.

2.8. Для насыщения образцов водой или нефтепродуктами следует применять оборудование по ГОСТ 24452-80.

2.9. Для измерения температуры и определения влажности окружающей среды в процессе испытаний следует применять серийно выпускаемые термометры (термографы) и психрометры (гигрографы).

2.10. Для гидроизоляции образцов рекомендуется применять полиэтиленовую пленку с липким слоем по ГОСТ 10354-73 и парафин по ГОСТ 16960-71.

Допускается применение других гидроизоляционных материалов, надежно исключающих массообмен между образцом и окружающей средой.

3. ПОДГОТОВКА К ИСПЫТАНИЯМ

3.1. Подготовку образцов к испытаниям следует начинать с их внешнего осмотра и определения линейных размеров, допускаемые отклонения которых от номинальных размеров должны удовлетворять требованиям ГОСТ 10180-78.

3.2. Торцевые поверхности всех образцов, предназначенных для определения ползучести и усадки, должны быть закрыты металлическими пластинами толщиной 4 - 5 мм, наклеиваемыми с помощью быстрополимеризующихся клеев.

К торцевым поверхностям образцов размерами 40´40´160 мм, подвергаемых испытанию на усадку, приклеивают реперы в соответствии со схемой, показанной на черт. 1.

Реперы изготавливают из инвара. Диаметр основания репера 7 должен быть не более 20 мм, а высота не более 15 мм.

Приклеиваемую поверхность репера обезжиривают органическим растворителем. Репер нагревают до температуры 50 - 60 °С и прижимают к образцу в центре торцевой грани, на которую предварительно наносят 2 - 3 капли клея.

Рекомендуется применять быстрополимеризующийся клей следующего состава (по массе):

эпоксидная смола по ГОСТ 10587-84                      80 частей

полиэтиленполиамин                                                  3 части

дибутилфталат по ГОСТ 8728-77                              1 часть

(Измененная редакция. Изм. № 1).

3.3. На боковых поверхностях образцов размечают базу измерения продольных деформаций, устанавливают крепежные приспособления и измерительные приборы в соответствии с требованиями ГОСТ 24452-80.

3.4. Насыщение (пропитка) образцов водой или нефтепродуктами следует производить по ГОСТ 24452-80.

3.5. Для предотвращения испарения влаги или летучих фракций нефтепродуктов из образцов, пропитанных водой или нефтепродуктами согласно п. 3.4, их боковую поверхность следует гидроизолировать внахлест двумя слоями полиэтиленовой пленки с липким слоем с последующим нанесением на нее расплавленного парафина слоем 2 - 3 мм. Гидроизоляцию торцевых поверхностей образцов производят согласно п. 3.2.

3.6. Подготовку образцов для определения деформаций температурной усадки и деформаций ползучести при нагреве следует производить в соответствии с требованиями ГОСТ 24452-80.

3.7. Не более чем за сутки до испытания образцов на ползучесть следует определить плотность бетона этих образцов по ГОСТ 12730.1-78, а также влажность бетона по ГОСТ 12730.2-78 на образцах, предварительно испытанных при определении призменной прочности.

3.8. Результаты измерений по п.п. 3.1 и 3.7 заносят в титульный лист журнала испытаний при определении деформаций усадки и ползучести по форме, приведенной в обязательном приложении 2.

4. ПРОВЕДЕНИЕ ИСПЫТАНИЙ

4.1. Испытания для определения деформаций усадки и ползучести следует проводить в помещении или в климатической камере, в которых постоянно поддерживается температура (20 ± 2) °С и относительная влажность воздуха (60 ± 5) %. Попадание прямых солнечных лучей на образцы не допускается.

4.2. Измерение деформаций только усадки следует начинать не позже чем через 4 ч после распалубливания образцов, а образцов из ячеистого бетона - после насыщения водой по п. 1.6.

Для измерения деформаций усадки подготовленный образец следует установить в устройство для испытания и снять начальные отсчеты по показаниям приборов.

Отсчеты показаний рекомендуется производить через сутки, затем на 3, 7, 14 сут и далее раз в 2 недели до конца испытаний.

Одновременно с измерением деформаций усадки рекомендуется определять влагопотери путем периодического взвешивания образцов.

4.3. При определении только деформаций усадки продолжительность испытания должна быть не менее 120 сут, однако, если три последовательных измерения показывают приращение деформаций, не превышающие погрешность измерительных приборов, испытания могут быть прекращены до этого срока, о чем делается соответствующая запись в журнале испытаний.

4.4. Загружение образцов и измерение деформаций ползучести следует осуществлять, как правило, при достижении бетоном проектной марки по прочности на сжатие.

Напряжение в образце от внешней нагрузки должно составлять 0,3 ± 0,005 от призменной прочности бетона, установленной перед началом испытаний (см. п. 1.3).

Проверку работы приборов и загружение образца до указанного уровня напряжения следует проводить в соответствии с требованиями ГОСТ 24452-80.

4.5. Отсчет показаний приборов на нагруженных образцах для определения деформаций ползучести следует производить непосредственно после загружения (начальный отсчет) и затем через 1 ч. Последующее снятие отсчетов рекомендуется производить через сутки, на 3, 7, 14 сут, последующие 6 недель - еженедельно, затем 10 недель - один раз в 2 недели и далее до конца испытаний один раз в 4 недели.

Одновременно с определением деформаций ползучести следует проводить определение деформаций усадки на незагруженных образцах с той же периодичностью и продолжительностью. При этом начальный отсчет деформаций усадки следует производить непосредственно после загружения образцов на ползучесть.

Продолжительность испытания при определении деформаций ползучести должна быть не менее 180 сут, а деформаций ползучести при нагреве и температурной усадки - не менее 60 сут.

4.6. Результаты измерений должны быть занесены в журнал, титульный лист и форма которого приведены в обязательных приложениях 2 и 3.

5. ОБРАБОТКА РЕЗУЛЬТАТОВ

5.1. По результатам испытаний вычисляют средние значения абсолютных деформаций  в мм для каждого загруженного и незагруженного образца как среднее арифметическое приращений (по отношению к начальному отсчету) показаний приборов по четырем граням соответствующего образца.

По средним абсолютным значениям деформаций вычисляют относительные величины деформаций  по формуле

                                                   (1)

где l1 - база измерения деформаций, мм.

5.2. Относительные деформации незагруженных образцов принимают в качестве деформаций усадки .

5.3. Относительные деформации ползучести каждого образца вычисляют по формуле

                              (2)

где  и  - средние значения полных и упругих деформаций, определяемых при ступенчатом загружении согласно ГОСТ 24452-80;

 - среднее значение относительной деформации заггруженного образца вычисляют по п. 5.1;

 - среднее значение относительной деформации усадки по п. 5.2.

5.4. По результатам определения относительных величин деформаций усадки и ползучести отдельных образцов определяют средние значения относительных деформаций усадки или ползучести для серии образцов по формуле

                                                          (3)

где  - среднее значение относительных деформаций усадки или ползучести для каждого образца данной серии;

n - число образцов в серии.

5.5. По средним значениям относительных деформаций усадки и ползучести, вычисленным по формуле 3, следует построить диаграммы в координатах «относительные деформации усадки (или ползучести) - продолжительность (время) испытаний, сут» и приложить их к журналу испытаний, а также определить предельные (условно предельные) значения этих деформаций.

5.6. Предельное значение деформаций усадки или ползучести определяют построением диаграммы. Для этого вычисляют значения приращений по формулам:

;                                                             (4)

,                                                             (5)

где           - продолжительность проведения испытаний с момента его начала (снятия начального отсчета), сут;

- соответствующие этой продолжительности относительные значения деформаций усадки или ползучести по п.п. 5.2 и 5.3.

На диаграмме по оси ординат откладывают значения, вычисленные по формулам 4 и 5, а по оси абсцисс значения , начиная с момента времени , равного 30 сут для усадки и 50 сут для ползучести. По полученным точкам графически или аналитически строят прямую регрессии, котангенс угла которой принимают за предельное значение деформаций усадки или ползучести , а отрезок, отсекаемый этой прямой на продолжении оси абсцисс, за параметр скорости нарастания деформаций  или .

Методика определения параметров  и  приведена в рекомендуемом приложении 4.

Параметры  и  определяют аналогичным способом.

5.7. Полученные согласно п. 5.6 числовые параметры деформаций используют при необходимости для вычисления относительных деформаций усадки и ползучести для сроков времени, превышающих общую продолжительность испытаний. Для этого используют формулы:

;                                        (6)

                                           (7)

5.8. При проведении испытаний на образцах, отличных от базовых (п. 1.1) предельные значения деформаций усадки и ползучести по п. 5.6 следует умножать на коэффициенты К1 и К2, приведенные в таблице

Размер ребра поперечного сечения образца, см

Переходные коэффициенты при определении

усадки К1

ползучести К2

7

0,90

0,83

10

0,95

0,90

15

1,0

1,0

20

1,05

1,10

Коэффициенты, указанные в таблице, применимы для тяжелых и мелкозернистых бетонов, а также бетонов на пористых заполнителях, приготовленных на цементных вяжущих.

Значения переходных коэффициентов для ячеистых и силикатных бетонов должны быть установлены экспериментально.

5.9. Методы вычисления деформаций температурной усадки и деформаций ползучести при нагреве приведены в обязательном приложении 1.

5.10. Применяемые в стандарте термины указаны в справочном приложении 5.

5.11. Допускается определение деформации ползучести бетонов ускоренным методом, приведенным в рекомендуемом приложении 6.

(Введен дополнительно. Изм. № 1).

6. ТРЕБОВАНИЯ БЕЗОПАСНОСТИ ТРУДА

6.1. При проведении испытаний должны выполняться мероприятия по безопасности труда в соответствии с требованиями главы СНиП III-4-79.

6.2. При работе на пневмогидравлических устройствах должны соблюдаться «Правила устройства и безопасной эксплуатации сосудов, работающих под давлением», утвержденные Госгортехнадзором СССР.

 

 

ПРИЛОЖЕНИЕ 1

Обязательное

МЕТОДЫ ОПРЕДЕЛЕНИЯ ДЕФОРМАЦИЙ ТЕМПЕРАТУРНОЙ УСАДКИ И ПОЛЗУЧЕСТИ БЕТОНА ПРИ НАГРЕВЕ

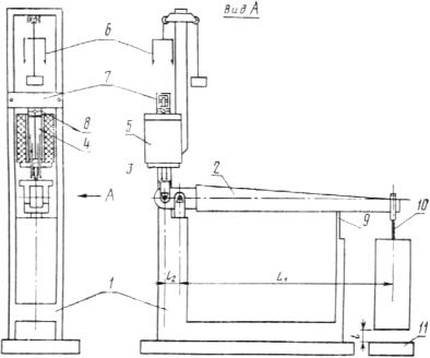
1. При определении деформаций температурной усадки бетона для каждой температуры нагрева серия должна состоять из шести образцов, из которых три образца подвергают кратковременному нагреву и три образца - длительному нагреву.

При определении деформаций ползучести бетона для каждой температуры нагрева серия должна состоять из девяти образцов, из которых три образца нагружают перед нагревом или после нагрева в зависимости от условий испытаний, три образца подвергают длительному нагреву без нагрузки и на трех образцах определяют призменную прочность при температуре нагрева.

2. При проведении испытаний применяют:

для определения деформаций температурной усадки - испытательное устройство, схема которого приведена на черт. 1;

Схема испытательного устройства для определения деформаций температурной усадки

1 - металлическая рама; 2 - опорный столик; 3 - выносные штанги; 4 ‑ образец; 5 - нагревательное устройство; 6 - система блоков для подъема нагревательного устройства; 7 - весы; 8 - приспособление для подъема и взвешивания образца; 9 - теплоизоляция.

Черт. 1

для определения деформаций ползучести при действии повышенных и высоких температур - испытательное устройство, принципиальная схема которого приведена на черт. 2;

Схема рычажного устройства для определения деформаций ползучести при нагреве

 

1 - металлическая рама; 2 - неравноплечий рычаг; 3 - опорный столик; 4 - образец; 5 - нагревательное устройство; 6 - приспособление для подъема нагревательного устройства; 7 - силовая балка; 8 ‑ металлические оголовники; 9 - страховочная стойка; 10 - подвеска с грузами; 11 - страховочная опора.

Черт. 2

весы циферблатные типа РН-10Ц 13У по ГОСТ 13882-68, нагревательное устройство, а также средства измерения деформаций и температур - по ГОСТ 24452-80.

3. Устройство для испытания бетона на температурную усадку при нагреве должно обеспечивать нагрев образца до требуемой температуры, измерение температуры, деформаций бетона и массы образца в нагретом состоянии.

При испытании бетона на температурную усадку в верхнем торце образца просверливают два отверстия на глубину 10-15 мм для установки болтов, за которые подвешивают образец.

4. Испытательное устройство для определения ползучести при нагреве должно обеспечивать нагружение и нагрев образца до требуемой температуры, измерение температуры и деформаций бетона в нагретом состоянии.

Основным рабочим органом рычажного испытательного устройства (см. черт. 2) является неравноплечий рычаг 2, имеющий такое очертание, при котором опора реверсивного устройства, промежуточная опора и опора грузовой подвески располагались на одной прямой линии. Все указанные опоры должны быть шарнирными.

Конструкция рычага должна обладать повышенной жесткостью и обеспечивать неизменность соотношения его плеч при максимальной нагрузке на грузовой подвеске. Соотношение плеч рычага L2/L1 рекомендуется принимать в пределах 1/10 - 1/15. Длина короткого плеча рычага L2 не должна превышать 25 см.

Рычажное устройство должно обеспечивать возможность контроля нагрузки, действующей на образец.

Усилие от массы рычага в нерабочем положении испытательного устройства должно восприниматься телескопической страховочной стойкой 9. Расстояние между низом грузовой подвески (10) и страховочной опорой (11) не должно превышать 4 см.

5. Выносные удлинители должны строго фиксировать базу замера деформаций и обеспечивать измерение деформаций бетона в нагретом состоянии с наименьшим температурным изменением их длины. Для этих целей удлинители изготавливают из штапиков кварцевого стекла диаметром 5-10 мм по ТУ 638 КВ или по ТУ-17 РСФСР 71-93-75.

При нагреве до 200 °С допускается изготавливать удлинители из железоникелевого сплава Н-36 по ГОСТ 5632-72, диаметром 4-6 мм.

6. Подготовку образцов для измерения деформаций усадки и ползучести при нагреве производят по ГОСТ 24452-80.

7. На каждом удлинителе устанавливают термопару.

8. Нагревание образца производят в возрасте 28 сут, если заданием на испытания не установлен другой срок.

Скорость подъема температуры в нагревательном устройстве должна соответствовать указанной в ГОСТ 10180-78.

9. Для определения температурной усадки бетона при кратковременном нагреве образец выдерживают при требуемой температуре 1 ч и потом охлаждают его вместе с печью до температуры воздуха в помещении. Затем образец таким же образом нагревают второй и третий раз.

(Измененная редакция. Изм. № 1).

Для определения температурной усадки бетона при длительном нагреве образец выдерживают при требуемой температуре не менее 20 сут. Затем образец охлаждают вместе с печью до температуры помещения и потом подвергают его кратковременному нагреву второй и третий раз.

10. Определение деформации ползучести в зависимости от задания на испытания производят для двух условий работы конструкции:

1-е условие работы - образец сначала нагружают до заданного уровня напряжения и затем нагревают до требуемой температуры;

2-е условие работы - образец сначала нагревают до требуемой температуры и затем нагружают до заданного уровня напряжения.

11. При определении деформаций ползучести бетона по первому условию работы приращение относительной продольной деформации ползучести, натекающей после выдержки на последней ступени нагрузки за время подъема температуры до требуемой величины, принимают за относительную продольную деформацию быстро натекающей ползучести для требуемой температуры, а модуль упругости бетона при требуемой температуре нагрева определяют по ГОСТ 24452-80.

12. При определении деформаций ползучести бетона по второму условию работы быстро натекающие деформации ползучести и модуль упругости бетона определяют по ГОСТ 24452-80.

13. Для определения деформаций ползучести бетона образец выдерживают при требуемой температуре не менее 60 сут, пока деформации не прекратятся или будут развиваться с постоянной скоростью.

14. Измерение температуры, деформаций и влажности бетона производят:

при подъеме температуры - каждый час;

при нагреве первые 5 сут - ежесуточно;

при нагреве в течение последних 15 сут - через сутки;

при более длительном нагреве - еженедельно;

при остывании - каждый час.

15. Относительную деформацию ползучести бетона при нагреве  вычисляют по формуле

,                                               (1)

где     - полная относительная деформация, измеряемая при ступенчатом и длительном загружении и нагреве при включенной электропечи;

       - относительная упругая деформация, измеренная при ступенчатом нагружении до заданного уровня напряжения и вычисленная, согласно ГОСТ 24452-80;

        - измеренная относительная деформация при включенной электропечи ненагруженного образца-близнеца при нагреве по режиму, принятому для определения

Деформации  и  в формуле (1) должны приниматься для одной и той же средней температуры бетона, полученной по показаниям термопар, установленных в центре образца и на его поверхностях.

16. Относительную температурную деформацию бетона  вычисляют по формуле

                                                                  (2)

где  - относительная температурная деформация выносных удлинителей при нагреве от начальной температуры t1 до требуемой температуры t2, которую вычисляют по формуле

,                                                        (3)

где ,  - коэффициенты линейного температурного расширения удлинителей соответственно при начальной температуре t1 и требуемой температуре t2; температуру t2 для удлинителей из кварцевого стекла принимают равной температуре рабочего пространства печи и для инвара - равной температуре удлинителей.

Коэффициент линейного температурного расширения для кварцевого стекла принимают равным 0,48·10-6 °С-1 при температурах нагрева до 1000 °С.

Коэффициенты линейного температурного расширения железоникелевого сплава Н-36 принимают равными: при 20 °С - 1,2·10-6 °С-1, при 100 °С - 1,9·10-6 °С-1 и при 200 °С - 5·10-6 °С-1. Для промежуточных температур значения коэффициента линейного температурного расширения инвара принимают по интерполяции.

17. Результаты определения деформаций температурной усадки при кратковременном или длительном нагреве оформляют в виде диаграммы, на которой по оси абсцисс откладывают температуру, а по оси ординат - величину температурной деформации при первом, втором и третьем нагреве и охлаждении. При первом нагреве вычисляют температурную деформацию бетона , при втором и третьем нагреве - деформацию температурного расширения бетона . Разность деформаций температурного расширения  и температурной деформации  представляет деформацию температурной усадки  при кратковременном или длительном нагреве.

18. Результаты определения ползучести бетона при нагреве оформляют согласно п. 5.3 настоящего стандарта для каждой требуемой температуры нагрева.

 

ПРИЛОЖЕНИЕ 2

Обязательное

 

ТИТУЛЬНЫЙ ЛИСТ ЖУРНАЛА ИСПЫТАНИЙ
ПРИ ОПРЕДЕЛЕНИИ ДЕФОРМАЦИЙ УСАДКИ И ПОЛЗУЧЕСТИ

Вид испытаний _______________________________________________________

Характеристика испытательного устройства ______________________________

Цена деления измерительного устройства ______________________________ мм

Условия последовательности действия температуры и нагрузки ______________

Температура нагрева ________________________________________________ °С

Характеристика образца и бетона

Шифр образца _______________________________________________________

Размеры образца ___________________________________________________ мм

База измерения деформаций _________________________________________ мм

Дата начала испытаний ________________________________________________

Возраст бетона к началу испытаний___________________________________ сут

Масса образца:

к началу испытаний ______________________________________________ кг

к концу испытаний _______________________________________________ кг

Масса высушенного образца _________________________________________ кг

Плотность (объемная масса) бетона _________________________________ кг/м3

Прочность бетона:

кубиковая ____________________________________________ МПа (кгс/см2)

призменная ___________________________________________ МПа (кгс/см2)

Напряжение в сечении образца _____________________________ МПа (кгс/см2)

Упругие деформации к моменту

окончания нагружения _______________ 105 ______________________________

Характеристика бетонной смеси

Состав бетонной смеси по массе ________________________________________

Вид добавки и ее количество ___________________________________________

Подвижность (жесткость) бетонной смеси по ГОСТ 10181-76 _______________

_____________________________________________________________ см (с)

Коэффициент уплотнения бетонной смеси, % ____________________________

Воздухосодержание бетонной смеси в % по объему ________________________

Характеристика вяжущего

Вид и марка цемента по ГОСТ 310.4-76 __________________________________

Тонкость помола цемента по ГОСТ 310.2-76 ______________________________

Химико-минералогический состав цемента, включающий содержание

щелочей по ГОСТ 5382-73 и ГОСТ 9552-76 _______________________________

_____________________________________________________________________

Характеристика заполнителей

Наименование и вид породы крупного заполнителя ________________________

Зерновой состав крупного заполнителя по ГОСТ 8269-76 ___________________

____________________________________________________________________

Модуль крупности песка по ГОСТ 8735-75 _______________________________

Водопоглощение (для пористых заполнителей) по ГОСТ 9758-78 ____________

____________________________________________________________________

 

 

ПРИЛОЖЕНИЕ 3

Обязательное

ФОРМА ЖУРНАЛА ИСПЫТАНИЙ

 

Начало испытаний « ____ » _________ 19 __ г.

Серия № _____

Окончание испытаний « ____ » _________ 19 __ г.

 

 


Дата снятия отсчета, ч, мин

Продолжительность испытаний, сут

Температура воздуха t, °С

Относительная влажность воздуха, %

Показания приборов, приращения абсолютных и относительных деформаций

Среднее приращение относительных деформаций в серии образцов

Средняя относительная деформация в серии образцов

Средняя относительная деформация в серии незагруженных образцов

Относительная деформация ползу чести в серии образцов

сухой термометр

влажный термометр

Устройство № _______

Образец №

Устройство № ___

Образец № ___

Устройство №___ Образец

№___

1

2

3

4

Dt2, мм

De1 · 105

Отсчет

Приращение

Отсчет

Приращение

Отсчет

Приращение

Отсчет

Приращение

1

2

3

4

5

6

7

8

9

10

11

12

13

14

15

16-25

26-35

36

37

38

39

 

 

 

 

 

 

 

 

 

 

 

 

 

 

 

 

 

 

 

 

 

 

 

 

Руководитель _________________________

Исполнитель ________________________

 


Примечания:

1. Приведенная форма журнала используется при испытаниях при испытаниях загруженных и не загруженных образцов. Графы 38 и 39 используются только для загруженных образцов.

2. Графы 16 - 25 и 26 - 35 заполняются по аналогии с графами 6 - 15.

 

ПРИЛОЖЕНИЕ 4

Рекомендуемое

 

ПРИМЕР ОБРАБОТКИ РЕЗУЛЬТАТОВ ИСПЫТАНИЙ
И ОПРЕДЕЛЕНИЯ ПРЕДЕЛЬНЫХ ЗНАЧЕНИЙ ДЕФОРМАЦИЙ ПОЛЗУЧЕСТИ

В результате испытаний базовых образцов вычислены средние значения относительных деформаций ползучести бетона, которые представлены в табл. 1.

Таблица 1

Продолжительность наблюдения, сут

50

60

75

100

125

150

175

180

Относительная деформация ползучести,

81,5

80

98,5

112

124

134

141

145

 

Для вычисления условно предельного значения относительных деформаций ползучести следует построить линию регрессии в координатах  имеющую вид

                                                        (1)

С этой целью вводят обозначения:

По результатам, приведенным в табл. 1, вычисляют значения  записывают в табл. 2 и наносят на координатную сетку, как это показано на чертеже.

Таблица 2

 сут

50

60

75

100

125

150

175

180

 сут

0,614

0,674

0,761

0,889

1,008

1,119

1,241

1,241

 

По данным табл. 2 вычисляют средние значения:

              

их дисперсии

корреляционный момент

коэффициент корреляции

где n - число точек измерений.

В результате подстановки в эти формулы значений из табл. 2 получено:

сут;         сут;

сут2;

сут;

(105 сут)2;

 сут;

 сут.

Коэффициент корреляции

Численные значения коэффициентов А и В  в уравнении регрессии определяют по формулам:

  

после подстановки получим

 сут

Уравнение регрессии имеет вид

 сут

Значение котангенса угла наклона прямой в соответствии с п. 5.6 дает предельное значение относительной деформации ползучести по средним точкам измерения.

Значение коэффициента aп в соответствии с 5.6 определяется из уравнения регрессии (1), приравнивая значение  нулю.

 сут

Результаты вычислений приведены на чертеже.

Таким образом, условно предельные значения относительной деформации ползучести бетона равны

Вычисление значений относительных деформаций ползучести на различные сроки выдерживания под нагрузкой проводят по формуле (7) п. 5.7 настоящего стандарта.

Построение линии регрессии при определении предельных значений относительных деформаций ползучести

 

ПРИЛОЖЕНИЕ 5

Справочное

ТЕРМИНЫ, ОБОЗНАЧЕНИЯ И ПОЯСНЕНИЯ

Термины

Обозначение

Пояснение

Линейная относительная деформация усадки

eус (t)

Относительное уменьшение линейных размеров ненагруженного образца во времени, вызванное гидратацией цемента (контракцией), уменьшением влажности цементного камня и его карбонизацией

Линейная относительная температурная деформация усадки

eус·t

Относительное уменьшение линейных размеров ненагруженного образца, вызванное испарением из него влаги при нагреве

Линейная относительная деформация температурного расширения

eр·t

Относительное увеличение размеров образца, вызванное температурным расширением бетона при нагреве

Линейная относительная температурная деформация

et

Относительное изменение линейных размеров образца, вызванное совместным действием температурной усадкой бетона

Линейная относительная деформация ползучести

e1п(t)

Относительное уменьшение линейных размеров нагруженного образца во времени, вызванное действием постоянной внешней нагрузки за вычетом деформаций усадки

 

ПРИЛОЖЕНИЕ 6

Рекомендуемое

МЕТОД УСКОРЕННОГО ОПРЕДЕЛЕНИЯ ДЕФОРМАЦИЙ ПОЛЗУЧЕСТИ

1. Оборудование и приборы для проведения испытаний должны отвечать требованиям настоящего стандарта. Применение пружинных загрузочных устройств допускается только при условии обеспечения контроля за поддержанием постоянной приложенной нагрузки в течение всего периода испытания с погрешностью, не выходящей за пределы ± 2 %.

2. Продолжительность испытаний должна составлять не менее 32 сут.

Снятие отсчетов по приборам следует производить, используя базовую схему измерений, в сроки наблюдения ti (с момента начального отсчета), равные 1, 2, 4, 8, 16, 32 сут, с погрешностью ± 1 ч.

3. В соответствии с разд. 5 настоящего стандарта вычисляют относительные деформации ползучести (ti) и их средние значения (ti) для каждого срока наблюдения ti, указанного в п. 2 настоящего приложения.

4. По средним значениям относительных деформаций ползучести (ti) в сроки наблюдения ti (i = 1¼6) следует построить соответственно два графика: в системе координат  и системе координат  соединить на каждом из них первую и последнюю точки прямой линией. Все промежуточные точки на обоих графиках при отсутствии аномальных результатов измерений должны быть расположены соответственно: в системе координат  - над указанной прямой, в системе координат  - под указанной прямой.

5. При отсутствии аномальных результатов измерений вычисляют значения параметров К, Ym и а по формулам:

;                                 (1)

;                           (2)

,                                                (3)

где  и  - средние значения относительных деформаций ползучести, соответствующие первому (t1 = 1 сут) и последнему (t6 = 32 сут) отсчетам по измерительным приборам;

 - значение относительной деформации ползучести в момент времени, соответствующий среднему геометрическому значению на принятом отрезке времени измерений, вычисляемое из формулы

.                           (4)

6. Относительные деформации ползучести определяют по формуле

,                                                      (5)

где К, Ym и а - значения параметров по формулам (1) - (3);

ti - время наблюдения с момента начального отсчета.

7. Допускается использовать последовательность снятия отсчетов, отличную от базовой схемы измерения, при условии, что снятие первого отсчета производят через ti =(24 ± 1) ч, а последующих - произвольно с указанием фактического времени каждого наблюдения, округленного с точностью до 0,1 сут.

В этом случае, а также в случае исключения аномальных результатов измерений при базовой схеме снятия показаний значения параметров К, Ym и а вычисляют по формулам:

;                                  (6)

;                           (7)

,                                     (8)

где  - значение деформации ползучести, соответствующее фактическому сроку последнего измерения  с момента начального отсчета

вычисляют из формулы

,                                  (9)

где S - площадь многоугольника 1-2-3 ¼ N (черт. 1), построенного по результатам всех намерении, за исключением результатов, признанных аномальными согласно п. 4, которую вычисляют по формуле

,                                        (10)

где  - сумма площадей трапеций 1-2-2¢-1¢ (), 2-3-3¢-2¢ () и т. д.;

 - площадь трапеции 1-N-N¢-1', вычисляемая по формуле

.                                          (11)

Схема представления результатов измерений для определения площади S

Черт. 1

Пример определения ползучести бетона при схеме измерений, отличной от базовой, при наличии аномальных результатов

В табл. 1 представлены средние значения относительных деформаций ползучести, полученных в результате испытания серии опытных образцов из подобранного состава бетона. Требуется определить деформацию ползучести бетона к моменту времени ti равному 720 сут.

Таблица 1

Наименование параметра

Норма для i-го измерения

1

2

3

4

5

6

7

8

9

Продолжительность наблюдения ti, сут

1,0

2,8

4,2

8,0

12,3

16,0

21,0

28,0

32,0

Средние относительные деформации ползучести

5,4

9,3

11,4

15,5

18,5

29,7

23,0

22,5

27,2

0

1,03

1,44

2,08

2,51

2,77

3,04

3,33

3,47

1,69

2,23

2,44

2,74

2,92

3,03

3,14

3,11

3,30

Как следует из графиков, приведенных на черт. 2а, б, построенных в соответствии с требованиями п. 4, точка 8 является аномальной. Поэтому, учитывая число и последовательность измерений, а также наличие аномального измерения, вычисление параметров К, Ym и а осуществляют по формулам (6), (7), (8). Расчет площади проводят, как указано в табл. 2.

Обработка результатов испытаний по схеме измерений, отличной от базовой, при наличии аномальных результатов

Черт. 2

Таблица 2

Отрезок ломаной

Высота трапеции

Площадь трапеции

1-2

2-3

3-4

4-5

5-6

6-7

7-9

1-9

Значение S по формуле (10)

Значения  находят по формуле (9)

Откуда

.

Далее по формулам (6) - (8) находим значения параметров К, Ym и а:

;

;

 сут.

Относительная деформация ползучести при длительности наблюдения 720 сут в соответствии с формулой (5) равна

.

(Введено дополнительно. Изм. № 1).

 

СОДЕРЖАНИЕ

1 Методы отбора и изготовления образцов

2 Оборудование, приборы и материалы

3 Подготовка к испытаниям

4 Проведение испытаний

5 Обработка результатов

6 Требования безопасности труда

Приложение 1

Методы определения деформаций температурной усадки и ползучести бетона при нагреве

Приложение 2

Титульный лист журнала испытаний при определении деформаций усадки и ползучести

Приложение 3

Форма журнала испытаний

Приложение 4

Пример обработки результатов испытаний и определения предельных значений деформаций ползучести

Приложение 5

Термины, обозначения и пояснения

Приложение 6

Метод ускоренного определения деформаций ползучести

 

 




Яндекс цитирования



   Copyright © 2007-2026,  www.tehlit.ru.

[ ѓосты, стандарты, нормативы, инструкции, правила, строительные нормы ]