//
ТехЛит.ру
- крупнейшая бесплатная электронная интернет библиотека для "технически умных" людей.
WWW.TEHLIT.RU - ТЕХНИЧЕСКАЯ ЛИТЕРАТУРА

:: Алготрейдинг::


АЛГОТРЕЙДИНГ
шаг за шагом
с нуля по урокам!

Торговые роботы на PYTHON, BackTrader,
Pandas, Pine Script для TradingView. Связка с брокерами, телеграм и легкими приложениями.


ГОСТ 2678-94

МЕЖГОСУДАРСТВЕННЫЙ СТАНДАРТ

МАТЕРИАЛЫ
РУЛОННЫЕ КРОВЕЛЬНЫЕ
И ГИДРОИЗОЛЯЦИОННЫЕ

МЕТОДЫ ИСПЫТАНИЙ

 

МЕЖГОСУДАРСТВЕННАЯ НАУЧНО-ТЕХНИЧЕСКАЯ КОМИССИЯ ПО СТАНДАРТИЗАЦИИ И ТЕХНИЧЕСКОМУ НОРМИРОВАНИЮ В СТРОИТЕЛЬСТВЕ (МНТКС)

Москва

 

Предисловие

1 РАЗРАБОТАН институтом ВНИИстройполимер АООТ «Полимерстройматериалы» Российской Федерации

ВНЕСЕН Минстроем России

2 ПРИНЯТ Межгосударственной научно-технической комиссией по стандартизации и техническому нормированию в строительстве (МНТКС) 17 марта 1994 г.

За принятие проголосовали:

Наименование государства

Наименование органа государственного управления строительством

Азербайджанская Республика

Госстрой Азербайджанской Республики

Республика Армения

Госупрархитектуры Республики Армения

Республика Беларусь

Госстрой Республики Беларусь

Республика Казахстан

Минстрой Республики Казахстан

Кыргызская Республика

Госстрой Кыргызской Республики

Республика Молдова

Минархстрой Республики Молдова

Российская Федерация

Минстрой России

Республика Таджикистан

Госстрой Республики Таджикистан

3 ВВЕДЕН В ДЕЙСТВИЕ с 1 января 1996 г. в качестве государственного стандарта Российской Федерации Постановлением Минстроя России от 06.04.1995 г. № 18-30

4 ВЗАМЕН ГОСТ 2678-87

Содержание

1 Область применения

2 Нормативные ссылки

3 Методы испытаний

3.1 Общие требования

3.2 Проверка внешнего вида

3.3 Определение линейных размеров и площади

3.4 Определение разрывной силы при растяжении, условной прочности, условного напряжения, относительного удлинения и относительного остаточного удлинения

3.5 Определение сопротивления статическому продавливанию

3.6 Определение сопротивления динамическому продавливанию

3.7 Определение сопротивления раздиру

3.8 Определение твердости по Шору А

3.9 Определение гибкости

3.10 Определение водопоглощения

3.11 Определение водонепроницаемости

3.12 Определение теплостойкости

3.13 Определение изменения линейных размеров полимерных материалов и изола при нагревании

3.14 Определение потери массы при нагревании

3.15 Определение массы покровного состава и содержания наполнителя

3.16 Определение массы абсолютно сухой основы и отношения массы пропиточного битума к массе абсолютно сухой основы

3.17 Определение массы основы при стандартной влажности

3.18 Определение массы вяжущего, массы основы и содержание наполнителя в вяжущем материале на стекловолокнистой основе

3.18а Определение массы вяжущего, массы основы и содержания наполнителя в вяжущем материала на стекловолокнистой основе с пылевидной и крупнозернистой посыпкой (метод сжигания)

3.19 Определение массы вяжущего с наплавляемой стороны

3.20 Определение массы вяжущего и температуры размягчения вяжущего материалов типа фольгоизол

3.21 Определение массы растворимой части битумного состава

3.22 Определение массы 1 м2 материала

3.23 Определение температуры хрупкости покровного состава и вяжущего

3.24 Определение температуры размягчения покровного состава и вяжущего

3.25 Определение потери посыпки

3.26 Определение снижения разрывной силы водонасыщенного материала

3.27 Определение цветостойкости посыпки

3.28 Определение справочной массы рулона

3.29 Определение полноты пропитки

3.30 Определение горючести

3.31 Правила оформления результатов испытаний

3.32 Допустимая погрешность испытания

Приложение А Форма и угол заточки режущей кромки ножа для вырубки образцов-лопаток типа 1

Приложение Б Форма и угол заточки режущей кромки ножа для вырубки образцов-лопаток типа 2

Приложение В Схема штампа для нанесения меток на образец

Приложение Г Методы определения содержания наполнителя, массы абсолютно сухой основы, отношения массы пропиточного битума к массе абсолютно сухой основы и массы покровного состава при осуществлении технологического контроля

 

ГОСТ 2678-94

МЕЖГОСУДАРСТВЕННЫЙ СТАНДАРТ

МАТЕРИАЛЫ РУЛОННЫЕ КРОВЕЛЬНЫЕ И ГИДРОИЗОЛЯЦИОННЫЕ

Методы испытаний

Rolled roofing and waterproof materials Methods of testing

Дата введения 1996-01-01

1 ОБЛАСТЬ ПРИМЕНЕНИЯ

Настоящий стандарт распространяется на рулонные кровельные и гидроизоляционные битумные, битумно-полимерные и полимерные материалы и устанавливает методы испытаний следующих показателей:

- внешнего вида;

- линейных размеров и площади;

- разрывной силы при растяжении, условной прочности, условного напряжения, относительного удлинения и относительного остаточного удлинения;

- сопротивления раздиру;

- твердости по Шору А;

- гибкости;

- водопоглощения;

- водонепроницаемости;

- теплостойкости;

- изменения линейных размеров полимерных материалов и изола при нагревании;

- потери массы при нагревании;

- массы покровного состава и содержания наполнителя;

- массы абсолютно сухой основы и отношения массы пропиточного битума к массе абсолютно сухой основы;

- массы основы при стандартной влажности;

- массы вяжущего, массы вяжущего с наплавляемой стороны, массы основы и содержания наполнителя в вяжущем материале на стекловолокнистой основе;

- массы вяжущего и температуры размягчения вяжущего материала типа фольгоизол;

- массы растворимой части битумного состава;

- массы 1 м материала;

- температуры хрупкости покровного состава и вяжущего;

- температуры размягчения покровного состава и вяжущего для материалов на картонной, асбестовой и стекловолокнистой основах;

- потери посыпки;

- снижения разрывной силы водонасыщенного материала;

- цветостойкости посыпки;

- справочной массы рулона;

- полноты пропитки;

- горючести.

Применение остальных методов и периодичность проведения испытаний устанавливаются в нормативной документации (НД) на продукцию конкретного вида.

Содержание вредных веществ в воздухе при производстве и применении рулонных кровельных и гидроизоляционных материалов определяют по методикам, утвержденным или согласованным органами Государственного санэпиднадзора.

2 НОРМАТИВНЫЕ ССЫЛКИ

В настоящем стандарте использованы ссылки на следующие стандарты:

ГОСТ 4-84 Углерод четыреххлористый технический. Технические условия

ГОСТ 262-93 Резина. Метод определения сопротивления раздиру.

ГОСТ 263-75 Резина. Метод определения твердости по Шору А.

ГОСТ 5789-78 Толуол. Технические условия.

ГОСТ 6613-86 Сетки проволочные тканые с квадратными ячейками. Технические условия.

ГОСТ 9389-75 Проволока стальная углеродистая пружинная. Технические условия.

ГОСТ 9572-93 Бензол нефтяной. Технические условия.

ГОСТ 9880-76 Толуол каменноугольный и сланцевый. Технические условия.

ГОСТ 11358-89 Толщиномеры и стенкомеры индикаторные с ценой деления 0,01 и 0,1 мм. Технические условия.

ГОСТ 11506-73 Битумы нефтяные. Метод определения температуры размягчения по кольцу и шару.

ГОСТ 11507-78 Битумы нефтяные. Метод определения температуры хрупкости по Фраасу.

ГОСТ 19265-73 Прутки и полосы из быстрорежущей стали. Технические условия.

ГОСТ 19728.17-74 Тальк и талькомагнезит. Метод определения потери массы при прокаливании.

ГОСТ 20015-88 Хлороформ. Технические условия.

ГОСТ 20739-75 Битумы нефтяные. Метод определения растворимости.

ГОСТ 23750-79 Аппараты искусственной погоды на ксеноновых излучателях. Общие технические требования.

ГОСТ 30402-96 Материалы строительные. Метод испытания на воспламеняемость.

ГОСТ 30244-94 Материалы строительные. Методы испытаний на горючесть.

ГОСТ 30444-97 Материалы строительные. Метод испытания на распространение пламени.

ГОСТ 30547-97 Материалы рулонные кровельные и гидроизоляционные. Общие технические условия.

Поправка, ИУС 12-98.

(Измененная редакция, Изм. №1).

3 МЕТОДЫ ИСПЫТАНИЙ

3.1 Общие требования

3.1.1 Объем выборки в зависимости от объема партии устанавливают в соответствии с ГОСТ 30547.

(Измененная редакция. Изм. № 1).

3.1.2 Рулоны перед проверкой должны быть предварительно выдержаны не менее 10 ч при температуре воздуха (20±5) °С.

3.1.3 От каждого рулона, удовлетворяющего требованиям по внешнему виду и размерам, на расстоянии не менее 1 м от конца полотна отрезают на всю ширину полотна полосу длиной не менее 750 мм для испытания основных битумных и битумно-полимерных материалов и не менее 450 мм - для испытания безосновных битумных и битумно-полимерных и всех видов полимерных материалов.

Для проверки полноты пропитки от каждого рулона отрезают поперечную полосу материала на всю ширину полотна длиной (50±5) мм.

Из полосы материала по его ширине вырезают образцы для испытаний, при этом из каждых трех образцов два должны быть вырезаны на расстоянии не менее 25 мм от краев и один - посередине полосы.

Образцы перед испытанием должны быть предварительно выдержаны не менее 2 ч при температуре (20±5) °С.

Подготовку образцов к испытанию и проведение испытаний, если нет других указаний, следует проводить при температуре (20±5) °С.

(Измененная редакция. Изм. № 1).

3.1.4 Высушивание образцов (проб) до постоянной массы проводят при температуре 105-110 °С. Расхождение между последовательными взвешиваниями, выполненными не ранее чем через 30 мин высушивания и охлаждения в эксикаторе, не должно превышать 0,04 г.

3.1.5 За величину показателя, имеющего числовое значение, принимают для рулона - среднее арифметическое значение результатов испытаний всех образцов, отобранных от рулона; а для партии - среднее арифметическое значение результатов испытаний всех рулонов в выборке.

Поправка, ИУС 12-98.

3.2 Проверка внешнего вида

3.2.1 Упаковку и маркировку рулонов проверяют визуально.

(Измененная редакция. Изм. № 1).

3.2.2 Ровность торцов определяют металлическим измерительным инструментом с ценой деления 1 мм.

(Измененная редакция. Изм. № 1).

3.2.3 Равномерность распределения посыпки, наличие или отсутствие слипаемости, дыр, трещин, разрывов и складок, а также количество полотен в рулоне устанавливают визуальным осмотром развернутого на всю длину полотна рулона, а при длине рулона более 15 м - на длине не менее 10 м.

Количество полотен в рулоне длиной более 15 м определяют при намотке.

3.2.4 Длину надрывов на кромках (краях) полотна измеряют металлическим измерительным инструментом, с ценой деления 1 мм.

(Измененная редакция. Изм. № 1).

3.3 Определение линейных размеров и площади

3.3.1 Линейные размеры (ширину и длину) полотна материала измеряют металлической линейкой и металлической рулеткой с ценой деления 1 мм, толщину (кроме материалов с крупнозернистой или чешуйчатой посыпкой) индикаторным ручным толщиномером с пределом измерений до 10 мм и ценой деления 0,01 мм или другим измерительным инструментом, обеспечивающим ту же погрешность измерения.

Длину полотна материала в рулоне измеряют по краю полотна, в ширину - на расстоянии не менее 1 м от края полотна.

Результат округляют до 0,1 м (для длины полотна материала) и до 1 мм (для ширины полотна материала).

Для рулонов длиной более 15 м длину полотна материала в рулоне определяют по счетчику при намотке.

Поверка счетчика должна проводиться в установленном порядке.

Толщину материала измеряют на трех образцах размерами (100´50) ±1 мм посередине каждого образца.

Результат округляют до 0,01 мм.

(Измененная редакция. Изм. № 1).

3.3.2 Площадь полотна рулона вычисляют по результатам измерений длины и ширины (3.3.1).

Результат округляют до 0,1 м2.

3.4 Определение разрывной силы при растяжении, условной прочности, условного напряжения, относительного удлинения и относительного остаточного удлинения

3.4.1 Средства испытания и вспомогательные устройства.

Разрывная машина для испытаний, обеспечивающая:

- рабочую часть шкалы силоизмерителя в пределах измерений 0-1000 Н (0-100 кгс) с ценой деления не более 2 Н (0,2 кгс);

- предел допускаемой погрешности измерения нагрузки (усилий) не должен превышать ±1 % (для испытания основных материалов и изола);

- постоянную скорость перемещения подвижного захвата (100±10) мм/мин;

Разрывная машина для испытаний, обеспечивающая:

- рабочую часть шкалы силоизмерителя в пределах измерений 0-100 Н (0-10 кгс) с ценой деления не более 0,05 Н (0,005 кгс);

- предел допускаемой погрешности измерения нагрузки (усилий) не должен превышать ±1 % (для испытания безосновных материалов, кроме изола);

- постоянную скорость перемещения подвижного захвата (500±50) мм/мин.

При наличии устройства, регистрирующего силу в зависимости от удлинения образца, погрешность регистрации силы на диаграмме не должна превышать ±2 %.

При наличии шкалы, градуированной в единицах напряжения, или печатающего устройства суммарная погрешность регистрации показателей не должна превышать ±5 %.

Толщиномер индикаторный ручной с пределом измерений до 10 мм и ценой деления 0,01 мм по ГОСТ 11358 или другой толщиномер, обеспечивающий ту же погрешность измерения.

Линейка металлическая с ценой деления 1 мм.

(Измененная редакция. Изм. № 1).

3.4.2 Порядок подготовки к проведению испытания.

3.4.2.1 Испытание основных наплавляемых и ненаплавляемых битумных и битумно-полимерных материалов проводят на трех образцах-полосках размерами (300´50)±1 мм, вырезанных в продольном направлении.

(Измененная редакция. Изм. № 1).

3.4.2.2 Испытание безосновных битумных и битумно-полимерных и всех видов полимерных материалов проводят на трех образцах-лопатках, вырубленных в продольном направлении штанцевыми ножами, форма и угол заточки режущей кромки которых должны соответствовать указанным в приложениях А и Б.

Тип образца-лопатки указывают в стандарте или технических условиях на конкретный вид продукции.

(Измененная редакция. Изм. № 1).

3.4.2.3 Типы и размеры образцов-лопаток должны соответствовать указанным в таблице 1 и на рисунках 1, 2.

Таблица 1

В миллиметрах

Наименование размера

Размер образца-лопатки

 

Тип 1

Тип 2

Общая длина L1

250±1

115±1

Ширина широкой части В

60±1

25±1

Ширина узкой (рабочей) части b

50±1

6±0,4

Длина узкой (рабочей) части L2

116±1

33±1

Радиус большой R

75±1

25±1

Радиус малый r

-

14±1

3.4.2.4 Отклонение от ширины ножа на длине рабочего участка не должно быть более 0,025 мм.

Разность между максимальной и минимальной толщиной образца на рабочем участке не должна быть для образца-лопатки типа 1 более 0,2 мм, а для типа 2 - более 0,05 мм.

Рисунок 1 - Образец-лопатка типа 1

Рисунок 2 - Образец-лопатка типа 2

Рабочий участок (l) отмечают параллельными метками, наносимыми штампом, схема которого дана в приложении В, или вручную.

Длина рабочего участка (l) для образца-полоски (150±1) мм, для образца-лопатки типа 1 - (100±1) мм, а для образца-лопатки тип, 2 - (25,0±0,5) мм.

(Измененная редакция. Изм. № 1).

3.4.2.5 Для обеспечения одинакового крепления образца в захватах разрывной машины наносят установочные метки расстояние l1 между которыми для образца-полоски - (200±1) мм, для образца-лопатки типа 1 - (150±1) мм, для образца-лопатки типа 2 - (50±1) мм.

Метки должны быть нанесены симметрично относительно центра образца.

(Измененная редакция. Изм. № 1).

3.4.2.6 Толщину образца-лопатки измеряют в трех точках на рабочем участке. За результат измерения принимают среднее арифметическое результатов трех измерений.

За ширину рабочего участка образца-лопатки принимают расстояние между режущими кромками ножа на его узкой части.

3.4.3 Порядок проведения испытания.

3.4.3.1 Образец помещают в захваты разрывной машины по установочным меткам так, чтобы продольные оси захватов и продольная, ось образца совпали между собой и с направлением движения подвижного захвата. Для образцов-полосок допускается при закреплении образца в зажимах перегибать его концы через специальный стержень во избежание выскальзывания материала из зажима, либо использовать другие способы закрепления образца, обеспечивающие надежность крепления. Устанавливают скорость перемещения подвижного захвата, указанную в стандарте или технических условиях на продукцию конкретного вида.

(Измененная редакция. Изм. № 1).

3.4.3.2 Для определения разрывной силы, условной прочности, условного напряжения и относительного удлинения фиксируют силу и длину рабочего участка в момент разрыва или максимального значения силы (l2). При наличии в машине шкалы деформации фиксируют удлинение образца. В случае разрыва образца вне рабочего участка или на его границе результаты испытаний не учитывают и проводят повторные испытания. При проведении испытания на образцах-полосках в случае разрыва образца внутри зажима или на его границе допускается учитывать результаты испытаний, если они выше зажима или на его границе допускается учитывать результаты испытаний, если они выше требований нормативного документа.

Поправка, ИУС 12-98.

(Измененная редакция. Изм. № 1).

3.4.3.3 Для определения относительного остаточного удлинена части разорванного образца, освобожденные из захватов машины, помещают на горизонтальную поверхность и через (120±2) с после разрыва измеряют расстояние, ограничивающее рабочий участок двух сложенных вместе (без зазора) по месту разрыва частей образца (l3).

3.4.4 Правила обработки результатов испытания.

3.4.4.1 Условную прочность (sр) в мегапаскалях (килограммах - силы на квадратный сантиметр) образца-лопатки вычисляют по формуле:

                  (1)

где Рр - разрывная сила, Н (кгс);

b - ширина образца-лопатки, м (см);

h0 - среднее значение толщины образца-лопатки на рабочем участке, м (см2).

Результат округляют до 0,1 МПа (1,0 кгс/см2).

Поправка, ИУС 12-98.

3.4.4.2 Условное напряжение (sр) в мегапаскалях (килограммах - силы на квадратный сантиметр) образца-лопатки вычисляют по формуле:

                (2)

где Рe - максимальная сила при испытании на растяжение, Н (кгс);

b - ширина образца-лопатки, м (см);

h0 - среднее значение толщины образца-лопатки на рабочем участке, м (см).

Результат округляют до 0,1 МПа (1,0 кгс/см2).

Поправка, ИУС 12-98.

3.4.4.3 Относительное удлинение (e) в процентах вычисляют по формуле:

,                   (3)

где l - длина рабочего участка образца до испытания, мм;

l2 - длина рабочего участка образца в момент разрыва или максимального значения силы, мм.

Результат округляют до 1 %.

Поправка, ИУС 12-98.

3.4.4.4 Относительное остаточное удлинение (eост) в процентах вычисляют по формуле:

,               (4)

где l - длина рабочего участка образца до испытания, мм;

l3 - длина рабочего участка образца (двух сложенных вместе частей разорванного образца), мм.

Результат округляют до 1 %.

3.5 Определение сопротивления статическому продавливанию

3.5.1 Средства и вспомогательные устройства.

Нагружающее устройство для испытания, принципиальная схема которого приведена на рисунке 3.

Устройство для испытания должно обеспечивать:

- плавное приложение нагрузки (100±10) Н или (250±10) Н;

- постоянство воздействия нагрузки в течение времени, необходимого для испытания;

- вертикальный ход индентора не менее 4 мм.

Стальной шарик диаметром (10,0±0,1) мм.

Подложки размерами (150´150´20)±1 мм.

(Измененная редакция. Изм. № 1).

3.5.2 Порядок подготовки к проведению испытания.

3.5.2.1 Испытание проводят на трех образцах размерами (150´150)±1 мм.

3.5.2.2 На подъемный столик укладывают подложку, материал которой должен быть указан в НД на продукцию конкретного вида. На нее лицевой стороной вверх укладывают образец. В центр образца помещают шарик и перемещают подъемный столик так, чтобы шарик касался индентора. Момент касания определяют по отсчетному устройству.

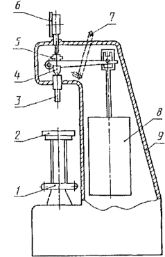
1 - гайка-маховик; 2 - подъемный столик; 3 - индентор; 4 - призма рычага основной нагрузки; 5 - шпиндель с грузом предварительной нагрузки; 6 - отсчетное устройство; 7 - рукоятка приложения и снятия основной нагрузки; 8 - грузы для основной нагрузки; 9 - корпус

Рисунок 3

3.5.3 Порядок проведения испытания.

Задают нагрузку, указанную в НД на продукцию конкретного вида, и плавно прикладывают ее к образцу. Образец выдерживают в таком положении в течение (24,0±0,2) ч, затем снимают нагрузку, возвращая индентор в исходное положение, опускают подъемный столик, удаляют шарик и подвергают испытанию на водонепроницаемость по 3.11.

3.5.4 Образец считают выдержавшим испытание, если при испытании на водонепроницаемость в условиях, приведенных в НД на его поверхности не будет признаков проникания воды.

(Измененная редакция. Изм. № 1).

3.6 Определение сопротивления динамическому продавливанию

3.6.1 Средства испытания и вспомогательные устройства.

Устройство, схема которого приведена на рисунке 4, или иное устройство, обеспечивающее удар с энергией (9,0±0,1) Дж при массе бойка с индентором, равной (2,00±0,03) кг, расстояние между бойком и ограничителем (l0) должно составлять (45,9±0,1) см.

Подложка размерами (150´150´20)±1 мм.

Уровень.

(Измененная редакция. Изм. № 1).

1 - ограничитель; 2 - стальные направляющие; 3 - свинцовый боек; 4 - индентор из стали Ст3 с радиусом закругления (25,0±0,3) мм; 5 - испытуемый образец; 6 - подложка

Рисунок 4

3.6.2 Порядок подготовки к проведению испытания.

3.6.2.1 Испытания проводят на трех образцах размерами (150´150)±1 мм.

3.6.2.2 Подложку, материал которой должен быть указан в НД на продукцию конкретного вида, устанавливают на столе горизонтально по уровню и сверху укладывают образец лицевой поверхностью вверх. В центр образца устанавливают устройство, обеспечивая плавное касание поверхности индентором.

3.6.3 Порядок проведения испытания.

Боек вручную поднимают до касания ограничителя и отпускают. Удаляют устройство и снимают образец. Образец подвергают испытанию на водонепроницаемость по 3.11.

3.6.4 Образец считают выдержавшим испытание, если при испытании на водонепроницаемость в условиях, приведенных в НД на продукцию конкретного вида, на его поверхности не будет признаков проникания воды.

(Измененная редакция. Изм. № 1).

3.7 Определение сопротивления раздиру

Сопротивление раздиру полимерных материалов определяют по ГОСТ 262.

3.8 Определение твердости по Шору А

3.8.1 Средства испытания и вспомогательные устройства.

Твердомер по ГОСТ 263.

Толщиномер индикаторный ручной с пределом измерения до 10 мм и ценой деления 0,01 мм по ГОСТ 11358 или другой толщиномер, обеспечивающий ту же погрешность измерений.

Секундомер.

Уровень.

3.8.2 Порядок подготовки к проведению испытания.

3.8.2.1 Испытание проводят на образце размерами (55´55)±1 мм и толщиной не менее 6 мм.

3.8.2.2 Образцы размерами (55´55) ±1 мм укладывают в несколько слоев лицевой стороной вверх, при этом общая толщина испытуемого образца должна быть не менее 6 мм.

Количество слоев, обеспечивающее достижение такой толщины, должно быть указано в НД на продукцию конкретного вида.

3.8.2.3 Измеряют толщину образца в трех точках, расстояние между которыми должно быть не менее 5 мм, а расстояние от точки измерения до края образца не менее 15 мм. Разность максимального и минимального значений не должна превышать допусков на толщину испытуемого материала.

3.8.3 Порядок проведения испытания.

3.8.3.1 Образец укладывают по уровню на гладкую горизонтальную поверхность. Твердомер устанавливают на образец без толчков и ударов в перпендикулярном положении так, чтобы опорная поверхность площадки прибора соприкасалась с поверхностью образца.

Твердомер нагружают вручную.

3.8.3.2 Отсчет твердости производят по истечении 3-4 сек с момента прижатия твердомера к образцу.

3.8.3.3 Твердость измеряют в трех точках (в границах участка измерения толщины) образца, расстояние между которыми должно быть не менее 10 мм.

3.8.4 Правила обработки результатов испытания.

За твердость по Шору А в условных единицах Для материала в рулоне принимают среднее арифметическое результатов трех измерений, округленное до целого числа.

3.9 Определение гибкости.

3.9.1 Средства испытания и вспомогательные устройства.

Камера морозильная или холодильник, обеспечивающая создание заданной температуры.

Брус испытательный (рисунок 5), изготовленный из твердой древесины, пластмассы или другого материала низкой теплопроводности, имеющий с одной стороны закругление радиусом R. Радиус должен быть указан в НД на продукцию конкретного вида.

Рисунок 5

Секундомер.

Линейка металлическая с ценой деления 1 мм.

Смесь охлаждающая.

Сосуд.

(Измененная редакция. Изм. № 1).

3.9.2 Порядок подготовки к проведению испытания.

3.9.2.1 Испытание проводят на трех образцах размерами (150´20)±1 мм, вырезанных в продольном направлении.

3.9.2.2 Образцы и испытательный брус помещают в морозильную камеру, холодильник или охлаждающую смесь и выдерживают при заданной температуре (20,0±0,5) мин.

Состав охлаждающей смеси и температуру испытания указывают в НД на продукцию конкретного вида.

При проведении испытания при температуре ³ 0 °С с применением охлаждающей смеси в качестве последней используют воду со льдом, температура которой должна соответствовать установленной в НД на продукцию конкретного вида.

(Измененная редакция. Изм. № 1).

3.9.3 Порядок проведения испытания.

3.9.3.1 По истечении заданного времени образец и испытательный груз извлекают из испытательной среды и прикладывают к ровной поверхности бруса нижней стороной таким образом, чтобы к нему прилегало около 0,25 длины образца. Свободный конец образца изгибают в течение (5±1) с вокруг закругленной части бруса до достижения другой ровной поверхности (образец принимает U-образную форму).

(Измененная редакция. Изм. № 1).

3.9.3.2 Производят контроль внешнего вида образца. Время с момента извлечения образца из испытательной среды и до конца испытания не должно превышать 15 с.

(Измененная редакция. Изм. № 1).

3.9.4 Правила обработки результатов испытания.

Образец считают выдержавшим испытание, если на его лицевой стороне (для фольгоизола - на слое вяжущего) не появятся трещины (разрывы слоя вяжущего) и отслаивание вяжущего или посыпки.

3.10 Определение водопоглощения

3.10.1 Средства испытания и вспомогательные устройства.

Весы лабораторные с допускаемой погрешностью не более 0,02 г.

Электроплита с закрытой спиралью.

Щипцы тигельные типа ЩТ или пинцет.

Щетка.

Пригруз массой (1,0±0,1) кг.

Секундомер.

Линейка металлическая с ценой деления 1 мм.

Битум с температурой размягчения не ниже 70 °С.

Сосуд для воды.

Емкость металлическая размерами не менее 120´250 мм.

Ткань хлопчатобумажная или бумага фильтровальная.

(Измененная редакция. Изм. № 1).

3.10.2 Порядок подготовки к проведению испытания.

3.10.2.1 Испытание проводят на трех образцах размерами (100´100)±1 мм.

(Измененная редакция. Изм. № 1).

3.10.2.2 Пылевидную посыпку с образца материала счищают хлопчатобумажной тканью или щеткой, прокладочный материал (пленку, бумагу и т.п.) перед испытанием удаляют с образца.

3.10.2.3 Для материалов с крупнозернистой или чешуйчатой посыпкой допускается проводить испытание на шести образцах размерами (100´100)±1 мм с изготовлением сдвоенных образцов.

Для этого каждый из двух образцов берут пинцетом или щипцами лицевой стороной (крупнозернистой или чешуйчатой посыпкой) вниз и подогревают над электроплиткой таким образом, чтобы на поверхности образца, обращенной к плитке, не появились пузыри. Затем оба образца складывают друг с другом подплавленными поверхностями так, чтобы края обоих образцов совпадали между собой, и устанавливают на (30±1) мин пригруз.

(Измененная редакция. Изм. № 1).

3.10.2.4 Для устранения влияния капиллярного подсоса торцы образца материала на картонной и асбестовой основа к погружают на 3-5 мм в битум, разогретый до температуры 160-180 °С, а затем охлаждают в течение не менее 1 ч.

(Измененная редакция. Изм. № 1).

3.10.3 Порядок проведения испытания.

Подготовленный образец взвешивают (m1), а затем погружают на (60±5) с в сосуд с водой, после чего его извлекают из воды, вытирают хлопчатобумажной тканью или фильтровальной бумагой в течение 30-60 с и взвешивают (m2). Затем образец снова помещают в воду таким образом, чтобы слой воды над ним был не менее 50 мм и выдерживают в течение времени, указанного в НД на продукцию конкретного вида. После этого образец извлекают из воды, осушают и взвешивают (m3).

Время с момента извлечения образца из воды до взвешивания не должно превышать 60 с.

(Измененная редакция. Изм. № 1).

3.10.4 Правила обработки результатов испытания.

Водопоглощение (W) в процентах по массе вычисляют по формуле:

,                        (5)

где m1 - масса сухого образца, г;

m2 - масса образца после одноминутной выдержки в воде, г;

m3 - масса образца после заданной выдержки в воде, г.

Результат округляют до 0,1 %.

3.11 Определение водонепроницаемости

3.11.1 Средства испытания и вспомогательные устройства.

Устройство, схема которого приведена на рисунке 6, или устройство аналогичного типа, снабженное манометром и обеспечивающее создание избыточного гидростатического давления до 0,3 МПа (3 кгс/см2).

Труба из нержавеющего металла или металла с антикоррозионным покрытием диаметром 100-110 мм, толщиной 1,5-2,5 мм, длиной не более 120 мм с одним отшлифованным торцом и риской на внутренней поверхности трубы на высоте не менее 100 мм для установления уровня водяного столба, обеспечивающего создание избыточного гидростатического давления 0,001 МПа (0,01 кгс/см2).

Линейка металлическая с ценой деления 1 мм.

Секундомер.

Пластинка стеклянная размерами (150´150)±1 мм.

Емкость металлическая размерами в плане не менее 150´150 мм.

Подставка, позволяющая производить визуальный осмотр образца в процессе испытания.

Бумага фильтровальная.

Битум нефтяной с температурой размягчения не ниже 70 °С.

(Измененная редакция. Изм. № 1).

3.11.2 Порядок подготовки к проведению испытания.

3.11.2.1 Испытание проводят на трех образцах размерами (150´150)±1 мм.

3.11.2.2 Испытание при давлении до 0,3 МПа (3 кгс/см2)

В верхней части рабочей камеры устройства (рисунок 6) укладывают резиновую прокладку шириной (15±1) мм, затем образец лицевой стороной (посыпкой) к воде и вторую резиновую прокладку. На образец укладывают контактную сетку толщиной 3-4 мм с отверстиями диаметром не более 5 мм, закрывают плитой и плотно прижимают винтами. При помощи кранов устанавливают давление, указанное в НД на продукцию конкретного вида.

(Измененная редакция. Изм. № 1).

1 - рабочая камера; 2 - резиновые прокладки; 3 - образец; 4 - контактная сетка; 5 - прижимная плита; 6 - зажимные винты, 7, 8 – краны; 9 - резиновая трубка, соединяющая с водопроводом; 10 - манометр

Рисунок 6

3.11.2.3 Испытание при давлении не менее 0,001 МПа (0,01 кгс/см2).

На подставку помещают стеклянную пластинку, сверху - фильтровальную бумагу на всю поверхность пластинки, затем укладывают образец лицевой стороной вверх.

В середине образца устанавливают трубу и по ее окружности с образца при необходимости удаляют посыпку на ширину не менее 2 мм. Затем трубу снимают, погружают отшлифованный торец трубы на 10-15 мм в битум, нагретый до температуры 120-140 °С и выдерживают в нем 40-60 с, дают стечь избытку битума в течение 5-6 с и устанавливают трубу на образец. Подготовленный к испытанию образец охлаждают.

(Измененная редакция. Изм. № 1).

3.11.3 Порядок проведения испытания.

3.11.3.1 Испытание при давлении до 0,3 МПа (3 кгс/см2).

Образец выдерживают при заданном давлении в течение времени, установленного в НД на продукцию конкретного вида.

3.11.3.2 Испытание при давлении не менее 0,001 МПа (0,01 кгс/см2).

В трубу до риски наливают воду, количество которой поддерживают на постоянном уровне в течение времени, установленного в НД на продукцию конкретного вида.

Через каждые 24 ч проверяют наличие мокрого пятна на фильтровальной бумаге. При появлении признаков воды испытание прекращают.

(Измененная редакция. Изм. № 1).

3.11.4 Правила обработки результатов испытания.

Образец считают выдержавшим испытание, если в течение установленного времени при заданном давлении на его поверхности не появится вода.

3.12 Определение теплостойкости

3.12.1 Средства испытания и вспомогательные устройства.

Шкаф электрический сушильный, обеспечивающий поддержание температуры до 200 °С.

Линейка металлическая с ценой деления 1 мм.

(Измененная редакция. Изм. № 1).

3.12.2 Порядок подготовки к проведению испытания.

Испытание проводят на трех образцах размерами (100´50)±1 мм, вырезанных в продольном направлении.

Сушильный шкаф нагревают до температуры, указанной в НД на продукцию конкретного вида.

Образец материала подвешивают в вертикальном положении на расстоянии не менее 50 мм от стенок шкафа.

Образец безосновного материала должен быть закреплен по всей ширине в деревянном зажиме.

3.12.3 Порядок проведения испытания.

Образцы выдерживают в сушильном шкафу при заданной температуре в течение времени, установленного в НД на продукцию конкретного вида.

Затем образцы извлекают из шкафа, охлаждают и визуально осматривают.

3.12.4 Правила обработки результатов испытания.

Образец считают выдержавшим испытание на теплостойкость, если на его поверхности отсутствуют вздутия и следы перемещения покровного состава или вяжущего и сползание посыпки.

(Измененная редакция. Изм. № 1).

3.13 Определение изменения линейных размеров полимерных материалов и изола при нагревании

3.13.1 Средства испытания и вспомогательные устройства.

Шкаф электрический сушильный, обеспечивающий поддержание температуры до 300 °С.

Линейка металлическая с ценой деления 1 мм.

Штангенциркуль.

(Измененная редакция. Изм. № 1).

3.13.2 Порядок подготовки к проведению испытания.

3.13.2.1 Испытание проводят на трех образцах размерами (100´50)±1 мм, вырезанных в продольном направлении.

3.13.2.2 Замеряют первоначальную длину (l4) образца штангенциркулем с погрешностью не более 0,2 мм.

Сушильный шкаф нагревают до температуры, указанной в НД на продукцию конкретного вида.

Образец безосновного материала закрепляют по всей ширине в деревянном зажиме и подвешивают в вертикальном положении на расстоянии не менее 50 мм от стенок шкафа.

3.13.3 Порядок проведения испытания

Образцы выдерживают в сушильном шкафу при заданной температуре в течение времени, установленного в НД на продукцию конкретного вида. Затем образцы извлекают из шкафа, охлаждают и замеряют длину (l5).

3.13.4 Правила обработки результатов испытания.

Измерение длины (Dl) в процентах вычисляют по формуле:

,              (6)

где l4 - длина образца до испытания, мм;

l5 - длина образца после испытания, мм.

Результат округляют до 1 %.

3.14 Определение потери массы при нагревании

3.14.1 Средства испытания и вспомогательные устройства.

Шкаф электрический сушильный, обеспечивающий поддержание температуры до 200 °С.

Весы лабораторные с допускаемой погрешностью не более 0,05 г.

Эксикатор.

Линейка металлическая с ценой деления 1 мм.

(Измененная редакция. Изм. № 1).

3.14.2 Порядок подготовки к проведению испытания.

Сушильный шкаф нагревают до температуры, указанной в НД на продукцию конкретного вида.

Образец материала взвешивают (m4) и подвешивают в вертикальном положении на расстоянии не менее 50 мм от стенок шкафа (образец безосновного материала должен быть закреплен по всей ширине в деревянном зажиме).

3.14.3 Порядок проведения испытания.

Образцы выдерживают в сушильном шкафу при заданной температуре в течение времени, установленного в НД на продукцию конкретного вида. Затем образцы извлекают из шкафа, охлаждают в эксикаторе и взвешивают (m5).

3.14.4 Порядок обработки результатов испытания.

Потерю массы при нагревании (Q) в процентах вычисляют по формуле:

,              (7)

где m4 -масса образца до испытания, г;

m5 - масса образца после испытания, г.

Результат округляют до 0,1 %.

3.15 Определение массы покровного состава и содержания наполнителя

3.15.1 Средства испытания и вспомогательные устройства.

Весы лабораторные с допускаемой погрешностью не более 0,02 г.

Насадка стеклянная лабораторная для экстрагирования типа НЭТ с колбой вместимостью 500 или 1000 см3 и холодильником или аналогичный прибор, обеспечивающий полное экстрагирование образцов и аттестованный в установленном порядке.

Электропечь камерная.

Электроплитка с закрытой спиралью.

Шкаф электрический сушильный, обеспечивающий поддержание температуры до 200 °С.

Линейка металлическая с ценой деления 1 мм.

Эксикатор.

Набор сит с металлическими сетками по ГОСТ 6613.

Щипцы тигельные типа ЩТ или пинцет медицинский.

Тигель.

Баня водяная.

Нож.

Ткань хлопчатобумажная или бумага фильтровальная.

Щетка волосяная.

Бензол по ГОСТ 9572.

Толуол по ГОСТ 5789 или ГОСТ 9880.

Углерод четыреххлористый технический по ГОСТ 4.

(Измененная редакция. Изм. № 1).

3.15.2 Порядок подготовки к проведению испытания.

3.15.2.1 Испытание проводят на трех образцах размерами (100´50)±1 мм, вырезанных в продольном направлении.

3.15.2.2 Пылевидную посыпку с образца материала счищают хлопчатобумажной тканью или щеткой, а затем образец взвешивают (m6).

3.15.3 Порядок проведения испытания.

3.15.3.1 Материалы с пылевидной посыпкой.

Образец материала берут щипцами или пинцетом лицевой стороной вверх и подогревают над электроплиткой таким образом, чтобы на поверхности образца, обращенной к плитке, не появились пузыри. Затем горячим ножом снимают подогретый слой покровного состава материала с нижней стороны до основы, не нарушая при этом ее целостности.

Образец, очищенный с нижней или наплавляемой стороны от покровного состава, взвешивают (m7). Затем таким же способом снимают покровный состав с лицевой стороны образца.

Образец, очищенный с обеих сторон от покровного состава, взвешивают (m8).

Покровный состав, снятый с трех образцов (не менее 1 г), помещают в предварительно прокаленный и взвешенный тигель (m9) и взвешивают (m10). Тигель с навеской помещают в электропечь, нагревают до температуры (600±10) °С и сжигают навеску до полного озоления остатка.

После сжигания тигель с навеской охлаждают в эксикаторе не менее 30 мин и взвешивают (m11).

Охлаждение и взвешивание повторяют до получения расхождения между последовательными взвешиваниями не более 0,04 г.

При определении содержания наполнителя в покровном составе параллельно определяют содержание сгораемых веществ А в наполнителе по ГОСТ 19728.17 при температуре прокаливания пробы (600±10) °С.

(Измененная редакция. Изм. № 1).

3.15.3.2 Материалы с крупнозернистой или чешуйчатой посыпкой метод экстрагирования.

Слой покровного состава с нижней или наплавляемой стороны образца снимают, как указано выше, после чего образец взвешивают (m7). Затем снимают слой покровного состава вместе с посыпкой с лицевой стороны образца в сухую предварительно взвешенную экстракционную гильзу (m12), изготовленную из фильтровальной бумаги, высушенной до постоянной массы, и взвешивают (m13).

Гильзу с покровным составом и посыпкой помещают в экстрактор, заливают одним из вышеперечисленных растворителей в полуторном или двукратном количестве от рабочего объема, экстрактора и начинают экстрагировать. Экстрагирование проводят до появления бесцветного раствора, и затем при бесцветном растворе экстрагируют еще (30±1) мин.

После окончания экстрагирования гильзу с содержимым вынимают из экстрактора и выдерживают в вытяжном шкафу для удаления растворителя в течение 20-30 мин, а затем высушивают до постоянной массы.

Извлеченный после экстрагирования из гильзы минеральный материал рассеивают на сите с сеткой № 02. Затем взвешивают материал (m14), прошедший через сито, и материал (m15), оставшийся на сите.

(Измененная редакция. Изм. № 1).

3.15.3.2а Материалы с крупнозернистой посыпкой (метод сжигания)

Слой покровного состава с нижней или наплавляемой стороны образца снимают, как указано в 3.15.3.1, после чего образец взвешивают (m7). Затем снимают слой покровного состава вместе с посыпкой с лицевой стороны образца и помещают в предварительно прокаленный и взвешенный тигель (m9) и взвешивают (m10). Тигель с навеской помещают в электропечь, нагревают до температуры (600±10) °С и сжигают навеску до полного озоления остатка.

После сжигания тигель с навеской охлаждают в эксикаторе в течение (30 - 40) мин.

Извлеченный после сжигания минеральный остаток рассеивают на сите с сеткой № 02 и взвешивают материал, прошедший через сито (m14), и материал, оставшийся на сите (m15).

Параллельно определяют содержание сгораемых веществ в посыпке А1 и наполнителе А (при его определении в покровном составе) по ГОСТ 19728.17, температура прокаливания (600±10) °С.

Введен дополнительно. Изм. № 1.

3.15.4 Правила обработки результатов испытания.

3.15.4.1 Массу покровного состава с нижней или наплавляемой стороны материала (M1) в граммах на квадратный метр вычисляют по формуле:

,                    (10)

где m6 - масса образца с покровным составом, г;

m7 - масса образца после снятия покровного состава с нижней или наплавляемой стороны, г;

200 - коэффициент приведения площади образца к 1 м2.

Результат округляют до 1 г.

3.15.4.2 Массу покровного состава с лицевой стороны материала (M2) в граммах на квадратный метр вычисляют по формулам:

1) для материалов с пылевидной посыпкой

,                    (11)

где m8 - масса образца после снятия покровного состава с нижней или направляемой и лицевой сторон, г.

2) для материалов с крупнозернистой или чешуйчатой посыпкой (метод экстрагирования)

,                   (12)

где m12 - масса гильзы, г;

m13 - масса гильзы с покровным составом и посыпкой до экстрагирования, г;

m15 - масса материала, оставшегося на сите после рассева, г.

3) для материалов с крупнозернистой посыпкой (метод сжигания)

,                      (12а)

где m10 - масса тигля с навеской до прокаливания;

m9 - масса пустого прокаленного тигля, г;

m15 - масса материала, оставшегося на сите после рассева, г;

А1 – содержание сгораемых веществ в посыпке, %.

Результат округляют до 1 г.

Измененная редакция. Изм. № 1.

3.15.4.3 Массу покровного состава материала (M2) в граммах на квадратный метр вычисляют по формуле:

,                (13)

3.15.4.4 Содержание наполнителя (N) в процентах от массы покровного состава вычисляют по формулам:

1) для материалов с пылевидной посыпкой

,             (14)

где m9 - масса пустого прокаленного тигля, г;

m10 - масса тигля с навеской до прокаливания, г;

m11 - масса тигля с навеской после прокаливания, г;

А - содержание сгораемых веществ в наполнителе, %.

2) для материалов с крупнозернистой или чешуйчатой посыпкой (метод экстрагирования)

,                         (15)

где m14 - масса наполнителя, г;

M2 - масса покровного состава с лицевой стороны, г;

200 - коэффициент приведения площади образца к 1 м2.

3) для материалов с крупнозернистой посыпкой (метод сжигания)

,                         (15а)

где m14 - масса наполнителя, г;

M2 - масса покровного состава с лицевой стороны, г;

А - содержание сгораемых веществ в наполнителе, %.

200 - коэффициент приведения площади образца к 1 м2.

Результат округляют до 1 %.

При осуществлении технологического контроля допускается определять:

- содержание массы покровного состава экспресс-методом, приведенным в приложении Г;

- содержание наполнителя в покровном составе на пробах покровного состава, отобранных в процессе изготовления из покровной ванны, методом сжигания, приведенным в приложении Г.

Измененная редакция. Изм. № 1.

3.16 Определение массы абсолютно сухой основы и отношения массы пропиточного битума к массе абсолютно сухой основы

3.16.1 Средства испытания и вспомогательные устройства

Весы лабораторные с допускаемой погрешностью не более 0,02 г.

Насадка стеклянная лабораторная для экстрагирования типа НЭТ с колбой вместимостью 500 или 1000 см и холодильником или аналогичный прибор, обеспечивающий полное экстрагирование образцов и аттестованный в установленном порядке.

Шкаф электрическим сушильный, обеспечивающий поддержание температуры до 200 °С.

Эксикатор.

Баня водяная.

Бензол по ГОСТ 9572.

Толуол по ГОСТ 5789 или ГОСТ 9880.

Углерод четыреххлористый технический по ГОСТ 4.

Бумага фильтровальная.

Измененная редакция. Изм. № 1.

3.16.2 Порядок подготовки к проведению испытания и проведение испытания.

3.16.2.1 Испытание проводят на трех образцах, оставшихся после снятия покровного состава по 3.15.3.

3.16.2.2 Экстрагирование проводят в соответствии с 3.15.3.2. После окончания экстрагирования образец извлекают из экстрактора, выдерживают в вытяжном шкафу для удаления растворителя в течение 20-30 мин, а затем высушивают до постоянной массы (m16).

3.16.3 Правила обработки результатов испытания.

3.16.3.1 Массу абсолютно сухой основы (М4) в граммах вычисляют по формуле:

,                        (16)

где m8 - масса образца до экстрагирования, определенная по 3.15.3.1, г;

m16 - масса образца после экстрагирования, г;

К1 - коэффициент, учитывающий содержание нерастворимых веществ, не извлекаемых при экстрагировании и удержанных в порах картона, определяемый по формуле

К1 зависит от растворимости битума Д, определяемой по ГОСТ 20739, и составляет при Д = 99 % - 0,0101; при Д = 98 % - 0,0204.

Результат округляют до 1 г.

3.16.3.2 Отношение массы пропиточного битума к массе абсолютно сухой основы (О) вычисляют по формуле:

,                (17)

Результат округляют до 0,01.

При осуществлении технологического контроля допускается определять массу абсолютно сухой основы и отношения массы пропиточного битума к массе абсолютно сухой основы экспресс-методом, приведенным в приложении Г.

Измененная редакция. Изм. № 1.

3.17 Определение массы основы при стандартной или фактической влажности.

Массу основы при стандартной влажности (М5) в граммах на квадратный метр устанавливают на основе результатов экстрагирования образцов в соответствии с 3.15.3.2 и вычисляют по формула:

,                  (18)

где М5 - масса абсолютно сухой основы образца, г;

K2 - коэффициент приведения массы абсолютно сухой основы к массе основы при стандартной или фактической влажности, определяемой по формуле:

,                 (19)

где Wн - влажность основы, нормированная НД на продукцию конкретного вида или фактическая влажность, % по массе;

200 - коэффициент приведения площади образца к 1 м2.

Результат округляют до 1 г.

Измененная редакция. Изм. № 1.

3.18 Определение массы вяжущего, массы основы и содержания наполнителя в вяжущем материала на стекловолокнистой, комбинированной основе или основе из полимерных волокон (метод экстрагирования)

Измененная редакция. Изм. № 1.

3.18.1 Средства испытания и вспомогательные устройства.

Весы лабораторные с допускаемой погрешностью не более 0,02 г.

Насадка стеклянная лабораторная для экстрагирования типа НЭТ с колбой вместимостью 500 или 1000 см и холодильником или аналогичный прибор, обеспечивающий полное экстрагирование образцов и аттестованный в установленном порядке.

Шкаф электрический сушильный, обеспечивающий поддержание температуры до 200 °С.

Электроплитка с закрытой спиралью.

Линейка металлическая с ценой деления 1 мм.

Эксикатор.

Нож.

Набор сит с металлическими сетками по ГОСТ 6613.

Щипцы тигельные типа ЩТ или пинцет медицинский.

Баня водяная.

Углерод четыреххлористый по ГОСТ 4.

Хлороформ по ГОСТ 20015.

Трихлорэтилен по ГОСТ 9976.

Ткань хлопчатобумажная или бумага фильтровальная.

Щетка волосяная.

Измененная редакция. Изм. № 1.

3.18.2 Порядок подготовки к проведению испытания.

3.18.2.1 Испытание проводят на трех образцах размерами (100´50)±1 мм, вырезанных в продольном направлении.

3.18.2.2 Образец материала очищают хлопчатобумажной тканью или щеткой от пылевидной посыпки, помещают в экстракционную гильзу (во избежание потери крупнозернистой или чешуйчатой посыпки и наполнителя во время экстрагирования) и взвешивают (m17).

3.18.3 Порядок проведения испытания.

3.18.3.1 Экстрагирование проводят в соответствии с 3.15.3.2, используя один из растворителей, перечисленных в 3.18.1. По окончании экстрагирования гильзу с образцом извлекают из экстрактора, выдерживают в вытяжном шкафу для удаления растворителя в течение 20-30 мин, а затем высушивают до постоянной массы (m18).

3.18.3.2 Материалы с пылевидной посыпкой.

Извлеченные из гильзы после экстрагирования наполнитель и основу взвешивают (соответственно m19 и m20).

3.18.3.3 Материалы с крупнозернистой и чешуйчатой посыпкой.

Извлеченный после экстрагирования из гильзы минеральный материал, состоящий из крупнозернистой или чешуйчатой посыпки и наполнителя, рассеивают на сите с сеткой № 02. Наполнитель, прошедший через сито, взвешивают (m19). Основу материала взвешивают (m20).

Измененная редакция. Изм. № 1.

3.18.4 Правила обработки результатов испытания.

3.18.4.1 Массу вяжущего (М6) в граммах на квадратный метр материала вычисляют по формуле:

,  (20)

где m17 - масса образца с гильзой до экстрагирования, г;

m18 - масса образца с гильзой после экстрагирования, г;

m19 - масса наполнителя, г;

К1 - определяется 3.16.3.1;

200 - коэффициент приведения площади образца к 1 м2.

Результат округляют до 1 г.

3.18.4.2 Массу 1 м2 основы (М7) в граммах вычисляют по формуле:

,         (21)

где m20 - масса основы образца после экстрагирования, г;

К1 - определяется по 3.16.3.1.

Результат округляют до 1 г.

3.18.4.3 Содержание наполнителя (N) в процентах от массы вяжущего вычисляют по формуле:

,             (22)

где 200 - коэффициент приведения площади образца к 1 м2;

М6 - масса вяжущего на 1 м материала, г.

Результат округляют до 1 %.

3.18а Определение массы вяжущего, массы основы и содержания наполнителя в вяжущем материала на стекловолокнистой основе с пылевидной и крупнозернистой посыпкой (метод сжигания)

Введен дополнительно. Изм. № 1.

3.18а.1 Средства испытания и вспомогательные устройства

Весы лабораторные с допускаемой погрешностью не более 0,02 г.

Линейка металлическая ценой деления 1 мм.

Эксикатор.

Щипцы тигельные ЩТ или пинцет медицинский.

Набор сит с металлическими сетками по ГОСТ 6613.

Ткань хлопчатобумажная или бумага фильтровальная.

Щетка волосяная.

Электропечь камерная.

Тигель.

3.18а.2 Порядок подготовки к проведению испытания

3.18а.2.1 Испытание проводят на трех образцах размерами (100´50)±1 мм, вырезанных в продольном направлении.

3.18а.2.2 Образец материала очищают хлопчатобумажной тканью, бумагой или щеткой от пылевидной посыпки и взвешивают (m17).

3.18а.3 Порядок проведения испытания

3.18а.3.1 Образец, очищенный от пылевидной посыпки, помещают в предварительно прокаленный тигель. Тигель с образцом помещают в электропечь, нагревают до температуры (600±10) °С и сжигают образец до полного озоления вяжущего.

После сжигания тигель охлаждают в эксикаторе в течение (30 - 35) мин.

3.18а.3.2 Материалы с пылевидной посыпкой

Извлеченные из тигля наполнитель и основу взвешивают (соответственно m19 и m20).

При определении содержания наполнителя в вяжущем параллельно определяют содержание сгораемых веществ А в наполнителе по ГОСТ 19728.17 при температуре прокаливания пробы (600±10) °С.

3.18а.3.3 Материалы с крупнозернистой посыпкой

Вынимают из тигля щипцами или пинцетом основу материала и взвешивают (m20).

Из тигля извлекают минеральный остаток, состоящий из крупнозернистой посыпки и наполнителя, и рассеивают на сите с сеткой № 02. Затем взвешивают наполнитель (m19), прошедший через сито, и посыпку (m19а), оставшуюся на сетке.

Параллельно определяют содержание сгораемых веществ в посыпке А1 и наполнителе А (при его определении в вяжущем) по ГОСТ 19728.17 при температуре прокаливания (600±10) °С.

3.18а.4 Правила обработки результатов испытания

3.18а.4.1 Массу вяжущего М6, г/м2, вычисляют по формулам:

1) для материалов с пылевидной посыпкой

,               (22а)

где m17 - масса образца до сжигания, г;

m20 - масса основы после сжигания, г;

200 - коэффициент приведения площади образца к 1 м2;

Результат округляют до 1 г.

2) для материалов с крупнозернистой посыпкой

                           (22б)

где m17 - масса образца до сжигания, г;

m20 - масса основы после сжигания, г;

А1 - содержание сгораемых веществ в посыпке;

m19а - масса посыпки, оставшейся на сите после рассева, г;

200 - коэффициент приведения площади образца к 1 м2;

Результат округляют до 1 г.

3.18а.4.2 Массу основы М7, г, вычисляют по формуле

                                  (22в)

где m20 - масса основы после прокаливания, г;

200 - коэффициент приведения площади образца к 1 м2;

Результат округляют до 1 г.

3.18а.4.3 Содержание наполнителя N, % от массы вяжущего, вычисляют по формуле

                                (22г)

где m19 - масса наполнителя, г;

М6 - масса вяжущего, г;

А - содержание сгораемых веществ в наполнителе, %;

200 - коэффициент приведения площади образца к 1 м2;

Результат округляют до 1 %.

При осуществлении технологического контроля допускается определять содержание наполнителя в вяжущем на пробах вяжущего, отобранных в процессе изготовления из покровной ванны, методом сжигания, приведенным в приложении Г.

3.19 Определение массы вяжущего с наплавляемой стороны

3.19.1 Средства испытания и вспомогательные устройства.

Весы лабораторные с допускаемой погрешностью не более 0,02 г.

Электроплитка с закрытой спиралью.

Щипцы тигельные типа ЩТ или пинцет медицинский.

Линейка металлическая с ценой деления 1 мм.

Нож.

Ткань хлопчатобумажная.

Щетка.

Измененная редакция. Изм. № 1.

3.19.2 Порядок подготовки к проведению испытания.

3.19.2.1 Испытание проводят на трех образцах размерами (100´50)±1 мм, вырезанных в продольном направлении.

3.19.2.2 Пылевидную посыпку с образца материала счищают хлопчатобумажной тканью или щеткой, а затем образец взвешивают (m21).

3.19.3 Порядок проведения испытания.

Образец материала берут щипцами или пинцетом наплавляемой стороной вниз и подогревают над электроплиткой таким образом, чтобы на поверхности образца, обращенной к плитке, не появились пузыри. Затем горячим ножом снимают подогретый слой вяжущего с наплавляемой стороны до основы, не нарушая при этом ее целостности.

Образец, очищенный от вяжущего, взвешивают (m12).

3.19.4 Правила обработки результатов испытания.

Массу вяжущего с наплавляемой стороны материала (М9) в граммах на квадратный метр вычисляют по формуле:

,                  (23)

где m21 - масса образца, г;

m22 - масса образца после снятия вяжущего, г;

200 - коэффициент приведения площади образца к 1 м2.

Результат округляют до 1 г.

3.20 Определение массы вяжущего и температуры размягчения вяжущего материалов типа фольгоизол

3.20.1 Средства испытания и вспомогательные устройства.

Весы лабораторные с допускаемой погрешностью не более 0,02 г.

Шкаф электрический сушильный со смотровым стеклом, обеспечивающий поддержание температуры до 200 °С.

Линейка металлическая с ценой деления 1 мм.

Бумага писчая.

Измененная редакция. Изм. № 1.

3.20.2 Порядок подготовки к проведению испытания и проведение испытания.

3.20.2.1 Испытания проводят на трех образцах размерами (100´100)±1 мм.

3.20.2.2 От одного рулона партии основы, используемой для изготовления материала, вырезают три образца размерами (100´100)±1 мм.

Образцы материала и основы взвешивают (Мобр и Мосн).

Затем с образца материала снимают слой вяжущего массой не менее 15 г в соответствии с 3.15.3.1. Из полученной пробы берут навеску массой (12±1) г, скатывают в шарик, который укладывают в центр очерченного на бумаге круга диаметром (60±1) мм и помещают в сушильный шкаф при температуре (18±2) °С на ровную горизонтальную поверхность. Температуру в шкафу поднимают со скоростью 3 °С/мин до температуры, при которой шарик растечется по площади круга.

3.20.3 Правила обработки результатов испытания.

3.20.3.1 Массу вяжущего (М10) в граммах на квадратный метр вычисляют по формуле:

,                      (24)

где Мобр - масса образца материала, г;

Мосн - масса образца основы, г;

100 - коэффициент приведения площади образца к 1 м2.

Результат округляют до 1 г.

3.21 Определение массы растворимой части битумного состава

3.21.1 Средства испытания и вспомогательные устройства.

Весы лабораторные с допускаемой погрешностью не более 0,02 г.

Насадка стеклянная лабораторная для экстрагирования типа НЭТ с колбой вместимостью 500 или 1000 см3 и холодильником или аналогичный прибор, обеспечивающий полное экстрагирование образцов и аттестованный в установленном порядке.

Шкаф электрический сушильный, обеспечивающий поддержание температуры до 200 °С.

Линейка металлическая с ценой деления 1 мм.

Эксикатор.

Баня водяная.

Углерод четыреххлористый по ГОСТ 4.

Хлороформ по ГОСТ 20015.

Трихлорэтилен по ГОСТ 9976.

Ткань хлопчатобумажная или бумага фильтровальная.

Измененная редакция. Изм. № 1.

3.21.2 Порядок подготовки к проведению испытания.

3.21.2.1 Испытания проводят на трех образцах размерами (50´50)±1 мм.

3.21.2.2 В сухую экстракционную гильзу, высушенную до постоянной массы, заворачивают образец и взвешивают (m23).

3.21.3 Порядок проведения испытания

Экстрагирование проводят в соответствии с 3.15.3.2. После окончания экстрагирования гильзу вместе с содержимым вынимают из экстрактора, выдерживают в вытяжном шкафу для удаления растворителя в течение 20-30 мин, высушивают до постоянной массы и взвешивают (m24).

3.21.4 Правила обработки результатов испытания.

Массу растворимой части битумного состава (М11) в граммах на квадратный метр вычисляют по формуле:

,    (25)

где m23 - масса гильзы с образцом до экстрагирования, г;

m24 - масса гильзы с образцом после экстрагирования, г;

400 - коэффициент приведения площади образца к 1 м2.

Результат округляют до 1 г.

3.22 Определение массы 1 м2 материала

3.22.1 Средства испытания и вспомогательные устройства.

Весы лабораторные с допускаемой погрешностью не более 0,02 г.

Линейка металлическая с ценой деления 1 мм.

Измененная редакция. Изм. № 1.

3.22.2 Порядок подготовки к проведению испытания, проведение испытания и правила обработки результатов испытания.

3.22.2.1 Испытание проводят на трех образцах размерами (100´100)±1 мм.

3.22.2.2 Массу 1 м2 материала (М12) в граммах устанавливают на основании взвешивания образцов н вычисляют по формуле:

,                    (26)

где m25 - масса образца, г;

100 - коэффициент приведения площади образца к 1 м2.

Результат округляют до 1 г.

3.23 Определение температуры хрупкости покровного состава и вяжущего

Температуру хрупкости покровного состава и вяжущего определяют по ГОСТ 11507 на одной пробе от каждого отобранного в соответствии с 3.1.1 рулона. Пробы покровного состава снимают с нижней стороны трех образцов размерами (100´100)±1 мм в соответствии с 3.15.3.1. Допускается отбор проб в процессе изготовления.

При отборе проб в процессе изготовления определение проводят на двух пробах.

Объем одной пробы 50-100 г.

Измененная редакция. Изм. № 1.

3.24 Определение температуры размягчения покровного состава и вяжущего

Температуру размягчения покровного состава и вяжущего определяют по ГОСТ 11506 на одной пробе от каждого отобранного в соответствии с 3.1.1 рулона. Разрешается применять гладкое или ступенчатое кольцо с верхним внутренним диаметром (17,7±0,2) мм.

При отборе проб в процессе изготовления определение проводят на двух пробах.

Пробы вяжущего отбирают в процессе изготовления из ванны.

Объем одной пробы 50-100 г.

Измененная редакция. Изм. № 1.

3.25 Определение потери посыпки

3.25.1 Устройство, схема которого приведена на рисунке 7, или устройство аналогичного типа с рабочим органом в виде щетки, обеспечивающее перемещение образца на расстояние (120±2) мм. Щетка представляет собой металлический блок размерами (60´40)±2 мм и может быть изготовлена в двух вариантах:

- 880 отверстиями, расположенными равномерно по всей площади щетки на расстоянии (1,65±0,05) мм друг от друга, в каждое из которых вставлено волокно, выступающее на (16,0±0,5) мм;

- с 22 отверстиями, просверленными с помощью сверла на глубину (16,0±0,5) мм на расстоянии (10,0±0,5) мм друг от друга, в каждое из которых вставлены 40 волокон, выступающих на (16,0±0,5) мм.

Волокна изготовлены из стальной пружинной проволоки класса 2 диаметром 0,2 мм нормальной точности по ГОСТ 9389.

Допускается использование щетки в виде блока из дерева или другого материала размерами (60´40)±2 мм с прикрепленной к нему игольчатой лентой 1, 2, 3 номер 14 (диаметр проволоки - 0,5 мм) для шерсточесальных машин.

Весы лабораторные с допускаемой погрешностью не более 0,02 г.

Секундомер.

Линейка металлическая с ценой деления 1 мм.

Измененная редакция. Изм. № 1.

1 - рукоятка; 2 - зажимные винты; 3 - пластинка; 4 - образец; 5 - щетка; 6 – груз

Рисунок 7

3.25.2 Порядок подготовки к проведению испытания.

3.25.2.1 Испытание проводят на трех образцах размерами (170´50)±1 мм, вырезанный в продольном направлении.

3.25.2.2 Образец взвешивают (m26) и закрепляют зажимными винтами на подвижной каретке устройства посыпкой вверх. Устанавливают груз массой (2,0±0,1) кг и вращением рукоятки пластину с образцом перемещают в двух взаимно противоположных направлениях под щеткой с грузом один раз, если иное количество перемещений не установлено в нормативном документе на конкретные виды материалов. Время одного перемещения в двух взаимно противоположных направлениях - (30±1) с. После испытания образец встряхивают для освобождения от отставшей посыпки и взвешивают (m27).

Измененная редакция. Изм. № 1.

3.25.3 Правила обработки результатов испытания.

Потерю посыпки (П) в граммах на образец вычисляют по формуле:

,                 (27)

где m26 - масса образца до испытания, г;

m27 - масса образца после испытания, г.

Результат округляют до 0,1 г.

3.26 Определение снижения разрывной силы водонасыщенного материала

3.26.1 Средства испытания и вспомогательные устройства.

Машина разрывная, имеющая рабочую часть шкалы силоизмерителя в пределах измерении 0-1000 Н (1-100 кгс) с ценой деления не более 2 Н (0,2 кгс) и допускаемой погрешностью показании измеряемой нагрузки не более ±1 %. Машина должна обеспечивать постоянную скорость перемещения подвижного захвата (50±5) мм/мин.

Линейка металлическая с ценой деления 1 мм.

Секундомер.

Битум с температурой размягчения не ниже 70 °С.

Емкость металлическая размерами (320´50) ±10 мм.

Сосуд для воды.

Ткань хлопчатобумажная или бумага фильтровальная.

Измененная редакция. Изм. № 1.

3.26.2 Порядок подготовки к проведению испытания.

3.26.2.1 Испытание проводят на двух образцах-полосках размерами (300´200)±1 мм, вырезанных в продольном направлении.

3.26.2.2 Перед испытанием проводят обработку торцов одной . полосы, для чего торцы полосы погружают на 3-5 мин в битум, разогретый до температуры 160-180 °С, а затем охлаждают.

3.26.3 Порядок проведения испытания.

Обработанную полосу помещают в сосуд с водой таким образом, чтобы слой воды над ней был не менее 50 мм и выдерживают не менее 24 ч. Затем полосу вынимают из воды, осушают хлопчатобумажной тканью или фильтровальной бумагой. Из сухой и водонасыщенной полос вырезают в продольном направлении по три образца размерами (220´50)±1 мм и проводят испытания в соответствии с 3.4.3.

Испытание проводят не позднее чем через 20 мин после извлечения полосы из воды.

3.26.4 Правила обработки результатов испытания.

Снижение разрывной силы водонасыщенного материала (DР) в процентах вычисляют по формуле:

,                  (28)

где Рсух - разрывная сила сухого образца, Н (кгс);

Рнас - разрывная сила водонасыщенного образца, Н (кгс).

Результат округляют до 1 %.

3.27 Определение цветостойкости посыпки

3.27.1 Аппарат искусственной погоды (АИП) типа «Ксенотест» с ксеноновым излучателем по ГОСТ 23750 или другой аппарат, обеспечивающий:

- создание, регулирование и поддержание заданных значений температуры с допустимой погрешностью не более ±2 °С;

- интенсивность ультрафиолетового излучения в диапазоне длин волн (280 - 400) нм не ниже 60 Вт/м;

- вращение барабана испытательной камеры вокруг источника светового излучения со скоростью не более 1 об/мин, если в конструкции АИП предусмотрено вращение испытательной камеры.

АИП должен быть укомплектован:

- кассетами или другими устройствами для закрепления образцов на барабане испытательной камеры;

- термометром с черной панелью, установленным в держателе таким образом, чтобы его черная сторона была обращена к лампе;

- фотоинтенсиметром, обеспечивающим измерение интенсивности УФ-области (240 - 400) нм с погрешностью измерения не более 15 %.

Бумага светонепроницаемая;

Линейка металлическая с ценой деления 1 мм.

Измененная редакция. Изм. № 1.

3.27.2 Порядок подготовки к проведению испытания.

3.27.2.1 Цветостойкость посыпки определяют на образцах, полученных путем нанесения посыпки на твердую подложку (бумага, картон, рулонный материал и др.).

Измененная редакция. Изм. № 1.

3.27.2.2. Испытание проводят на трех образцах размерами (100´50)±1 мм.

Измененная редакция. Изм. № 1.

3.27.2.3 Образцы закрепляют на кассетах или других приспособлениях и размещают их на барабане испытательной камеры АИП; расстояние от центра источника излучения до поверхности образцов должно составлять (40±5) см. Половину каждого образца закрывают 3-4 слоями светонепроницаемой бумаги.

Введен дополнительно. Изм. № 1.

3.27.2.4 Значение температуры на поверхности образцов при облучении (по термометру с черной панелью) устанавливают в пределах (55±3) °С.

Введен дополнительно. Изм. № 1.

3.27.3 Порядок проведения испытания.

Образцы облучают в течение времени, указанного в НД на продукцию конкретного вида, а затем их осматривают.

Измененная редакция. Изм. № 1.

3.27.4 Правила обработки результатов испытания.

Образец считают выдержавшим испытание, если при визуальном сравнении испытанной (открытой) половины образца с закрытой от облучения половиной образца не будет установлено изменение цвета посыпки.

3.28 Определение справочной массы рулона

Справочную массу рулона определяют взвешиванием на весах с допустимой погрешностью не более 0,5 кг.

3.29 Определение полноты пропитки

Для определения полноты пропитки поперечную полосу материала разрывают в пяти местах таким образом, чтобы обнажился внутренний слой основы. Материал считают выдержавшим испытание, если при визуальном осмотре не обнаружено наличие светлых прослоек непропитанной основы и посторонних включений.

3.30 Определение горючести

Определение показателей пожарной опасности.

Горючесть и группы горючести определяют по ГОСТ 30244, группы распространения пламени - по ГОСТ 30444, группы воспламеняемости - по ГОСТ 30402.

Поправка, ИУС 12-98.

3.31 Правила оформления результатов испытаний

В протоколе об испытании в соответствии с требованиями, оказанными в НТД на продукцию конкретного вида, со ссылкой на данный стандарт, следует указать:

1) наименование испытанного материала по НТД;

2) внешний вид - упаковка и маркировка, ровность торцов, равномерность распределения посыпки, наличие или отсутствие слипаемости, дыр, трещин разрывов и складок, количество полотен и рулоне, длина надрывов;

3) линейные размеры и площадь - длина в метрах, ширина и толщина в миллиметрах, площадь в квадратных метрах;

4) разрывную силу при растяжении в Н (кгс), условную прочность в МПа (кгс/см2), условное напряжение в МПа (кгс/см2), относительное и относительное остаточное удлинение в процентах;

5) сопротивление статическому продавливанию - наличие (или отсутствие) воды на поверхности образца после испытания при давлении не менее 0,001 МПа (0,01 кгс/ см2) в течение не менее 24 ч;

6) сопротивление динамическому продавливанию - наличие (или отсутствие) воды на поверхности образца после испытания при давлении не менее 0,001 МПа (0,01 кгс/см2) в течение не менее 24 ч;

7) сопротивление раздиру полимерных материалов;

8) твердость по Шору А в условных единицах;

9) гибкость - наличие (или отсутствие) трещин на поверхности образца;

10) водопоглощение в процентах по массе;

11) водонепроницаемость - наличие (или отсутствие) воды на поверхности образца;

12) теплостойкость - наличие (или отсутствие) вздутий и следов перемещения покровного состава;

13) изменение линейных размеров при нагревании в процентах;

14) потерю массы при нагревании в процентах;

15) массу покровного состава в г/м2 и содержание наполнителя в процентах;

16) массу абсолютно сухой основы в г/м2 и отношение массы пропиточного битума к массе абсолютно сухой основы;

17) массу основы при стандартной влажности в г/м2;

18) массу вяжущего в г/м2, массу основы в г/м2 и содержание наполнителя в процентах в вяжущем материалов на стекловолокнистой основе;

19) массу вяжущего с направляемой стороны в г/м2;

20) массу вяжущего в г/м2 и температуру размягчения вяжущего в °С материалов типа фольгоизол;

21) массу растворимой части битумного состава в г/м2;

22) массу 1 м2 материала в граммах;

23) температуру хрупкости покровного состава и вяжущего в °С;

24) температуру размягчения покровного состава в °С;

25) потерю посыпки в г/образец;

26) снижение разрывной силы водонасыщенного материала в %;

27) цветостойкость посыпки - наличие (или отсутствие) изменения цвета;

28) полноту пропитки - наличие (или отсутствие) светлых прослоек непропитанной основы и посторонних включений;

29) горючесть;

30) дату и место проведения испытания.

3.32 Допустимая погрешность испытания

Допустимая погрешность методов испытания - 10 %.

 

ПРИЛОЖЕНИЕ А

(обязательное)

ФОРМА И УГОЛ ЗАТОЧКИ РЕЖУЩЕЙ КРОМКИ НОЖА ДЛЯ ВЫРУБКИ ОБРАЗЦОВ-ЛОПАТОК ТИПА 1

Рисунок A.1

ПРИЛОЖЕНИЕ Б

(обязательное)

ФОРМА И УГОЛ ЗАТОЧКИ РЕЖУЩЕЙ КРОМКИ НОЖА ДЛЯ ВЫРУБКИ ОБРАЗЦОВ-ЛОПАТОК ТИПА 2

Рисунок Б.1

ПРИЛОЖЕНИЕ В

(рекомендуемое)

СХЕМА ШТАМПА ДЛЯ НАНЕСЕНИЯ МЕТОК НА ОБРАЗЕЦ

Рисунок B.1

с - с1 - метки, ограничивающие рабочий участок на образце; а - а1 - установочные метки

 

ПРИЛОЖЕНИЕ Г

(рекомендуемое)

Введено дополнительно. Изм. № 1.

Методы определения содержания наполнителя, массы абсолютно сухой основы, отношения массы пропиточного битума к массе абсолютно сухой основы и массы покровного состава при осуществлении технологического контроля

Г.1 Метод определения содержания наполнителя в покровном составе или вяжущем

Г.1.1 Средства испытания и вспомогательные устройства

Весы лабораторные с допускаемой погрешностью 0,02 г.

Тигель.

Электропечь камерная.

Эксикатор.

Г.1.2 Отбор проб

Пробы покровного состава или вяжущего отбирают в процессе изготовления из покровной ванны. Определение производят на двух пробах. Объем одной пробы - (50 - 100) г.

Г.1.3 Порядок проведения испытания

От каждой отобранной пробы берут навеску покровного состава или вяжущего (массой не менее 1 г), помещают в предварительно прокаленный и взвешенный тигель (m9) и взвешивают (m10). Тигель с навеской помещают в электропечь, нагревают до температуры (600±10) °С и сжигают навеску до полного озоления покровного состава или вяжущего.

После сжигания тигель с навеской охлаждают в эксикаторе в течение не менее 30 мин и взвешивают (m11).

Охлаждение и взвешивание повторяют до получения расхождения между последовательными взвешиваниями не более 0,04 г.

Параллельно определяют содержание сгораемых веществ в наполнителе по ГОСТ 19728.17 при температуре прокаливания (600±10) °С.

Г.1.4 Правила обработки результатов испытания

Содержание наполнителя N, % от массы покровного состава или вяжущего, вычисляют по формуле (14) (3.15.4.4).

Г.2 Экспресс-метод определения массы абсолютно сухой основы, отношения массы пропиточного битума к массе абсолютно сухой основы, массы покровного состава

Г.2.1 Средства испытания и вспомогательные устройства

Весы лабораторные с допускаемой погрешностью не более 0,02 г.

Линейка металлическая с ценой деления 1 мм.

Г.2.2 Порядок подготовки к проведению испытания и проведение испытания

Испытание проводят на образцах размерами [(100´50)±1] мм, вырезанных в продольном направлении.

Последовательно отбирают и взвешивают образцы с технологической линии по ходу процесса производства:

- образец основы на размоточном станке (m);

- образец пропитанной основы после пропиточной ванны (m);

- образец с покровным составом после покровной ванны (m).

Последние два образца перед взвешиванием охлаждают в течение (30 - 40) мин.

Г.2.3 Правила обработки результатов испытания

Г.2.3.1 Массу абсолютно сухой основы m, г, вычисляют по формуле

,                                                (Г.1)

где m - масса основы при стандартной или фактической влажности, г;

К2 - коэффициент приведения массы абсолютно сухой основы к массе основы при стандартной или фактической влажности, определяемый по формуле (19) (3.17).

Результат округляют до 1 г.

Г.2.3.2 Отношение массы пропиточного битума к массе абсолютно сухой основы Оэ

вычисляют по формуле

,                                                         (Г.2)

где m - масса образца пропитанной основы, г,

m - масса образца абсолютно сухой основы, г.

Результат округляют до 1 г.

Г.2.3.3 Массу покровного состава М, г/м2, вычисляют по формуле

,                                             (Г.3)

где m - масса образца пропитанной основы, г;

m - масса образца с покровным составом, г;

200 - коэффициент приведения площади образца к 1 м2.

 

 

Ключевые слова: материалы рулонные кровельные и гидроизоляционные, методы испытаний

 




Яндекс цитирования



   Copyright © 2007-2026,  www.tehlit.ru.

[ ѓосты, стандарты, нормативы, инструкции, правила, строительные нормы ]