//
ТехЛит.ру
- крупнейшая бесплатная электронная интернет библиотека для "технически умных" людей.
WWW.TEHLIT.RU - ТЕХНИЧЕСКАЯ ЛИТЕРАТУРА

:: Алготрейдинг::


АЛГОТРЕЙДИНГ
шаг за шагом
с нуля по урокам!

Торговые роботы на PYTHON, BackTrader,
Pandas, Pine Script для TradingView. Связка с брокерами, телеграм и легкими приложениями.


ГОСУДАРСТВЕННЫЙ СТАНДАРТ СОЮЗА ССР

МАТЕРИАЛЫ ПОЛИМЕРНЫЕ

РУЛОННЫЕ ДЛЯ ПОЛОВ

УСКОРЕННЫЙ МЕТОД ОПРЕДЕЛЕНИЯ ЗВУКОИЗОЛЯЦИОННЫХ СВОЙСТВ

ГОСТ 27019-86

ГОСУДАРСТВЕННЫЙ КОМИТЕТ СССР ПО СТАНДАРТАМ

Москва

РАЗРАБОТАН Научно-исследовательским институтом строительной физики Госстроя СССР

ИСПОЛНИТЕЛИ

Л А Борисов, д-р техн. наук (руководитель темы); С. А. Костарев, канд. техн. наук; Ю. М. Шамов; И. А. Аверьянова; М. П. Кораблин

ВНЕСЕН Научно-исследовательским институтом строительной физики Госстроя СССР

Директор В. А. Дроздов

УТВЕРЖДЕН И ВВЕДЕН В ДЕЙСТВИЕ Постановлением Государственного комитета СССР по делам строительства от 27 июня 1986 г. № 89

ГОСУДАРСТВЕННЫЙ СТАНДАРТ СОЮЗА ССР

МАТЕРИАЛЫ ПОЛИМЕРНЫЕ РУЛОННЫЕ ДЛЯ ПОЛОВ

Ускоренный метод определения звукоизоляционных свойств

Rolled polymer materials for floors. Method for rapid determination of sound-insulation properties

ГОСТ

27019-86

Постановлением Государственного комитета СССР по делам строительства от 27 июня 1986 г. № 89 срок введения установлен

с 01.01.87

Настоящий стандарт распространяется на полимерные материалы для покрытия полов в помещениях жилых и общественных зданий, укладываемых непосредственно по несущей плите перекрытия, и устанавливает ускоренный метод определения звукоизоляционных свойств полимерных рулонных покрытий для полов (далее - покрытия).

Метод предназначен для оперативной оценки звукоизоляционных свойств полимерного покрытия при выборе материала подосновы при отработке технологии изготовления его, при изменении состава смеси волокна подосновы или поступления ее от другого изготовителя, а также для контроля звукоизоляционных свойств готовой продукции в сокращенные сроки, по сравнению с обычным методом.

Термины и пояснения, приведенные в стандарте, указаны в справочном приложении 1.

1.ОБЩИЕ ПОЛОЖЕНИЯ

1.1. Сущность метода заключается в измерении значений статической осадки покрытия и динамического коэффициента потерь  образца покрытия с последующим определением индекса снижения приведенного уровня ударного шума .

1.2. Воздух помещения, в котором проводятся испытания, должен иметь температуру (22±5)°С и относительную влажность (60±5) %.

Перед испытанием образцы должны быть выдержаны в помещении при температуре (22±5)°С не менее 3 ч.

Если в результате испытаний по указанному методу покрытие не обеспечивает нормативные требования по изоляции ударного шума, то образцы испытываемого материала необходимо повторно испытать по основному ГОСТ 24210-80.

2. ОТБОР ОБРАЗЦОВ

2.1. Испытания по определению звукоизоляционных свойств покрытий должны проводиться на образцах материалов, изготовленных по одной и той же технологии, из одних и тех же составляющих, одного предприятия-изготовителя и удовлетворяющих всем физико-механическим требованиям стандартов или технических условий.

2.2. Испытания покрытия проводят на трех образцах цилиндрической формы диаметром (160±5) мм.

2.3. Образцы сопровождают документом, в котором указывают:

наименование и адрес предприятия - изготовителя покрытия;

номер партии и дату изготовления;

наименование подосновы, тип и условное обозначение;

рецептуру смеси волокон подосновы линолеума и ворсового покрытия для полов.

3. АППАРАТУРА И ПРИСПОСОБЛЕНИЯ

3.1. Аппаратура для определения динамического коэффициента потерь h по ГОСТ 16297-80. Допускается применение вибродинамического стенда, обеспечивающего амплитуду ускорения вибраций в пределах от 0,5 до 5 м/с2 с погрешностью не более 5% в частотном диапазоне от 5 до 1000 Гц и виброизмерителя с измерительным усилителем и акселерометром по ГОСТ 25865-83.

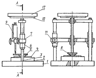
Приспособление для определения статической осадки образца покрытия, черт.1.

Приспособление для определения площади контакта молотка ударной машины с поверхностью образца, черт. 2, включает в себя молоток диаметром (30± 1) мм, весом (500±5)г и высотой свободного падения (40±1) мм. Наконечник молотка должен иметь сферическую поверхность радиусом (50±1) см.

Индикатор часового типа по ГОСТ 577-68.

Секундомер по ГОСТ 5072-79.

Линейка по ГОСТ 427-75.

Штангенциркуль ШЦ-III по ГОСТ 166 - 80.

Толщинометр идикаторный ТН (ТР) 10-60 по ГОСТ 11358-74 с ценой деления 0,1 мм.

Цилиндры опорные диаметром 8 мм, высотой 10 мм из стали марки А-Ш.

Приспособление для определения статической осадки образца под нагрузкой

1 - основание; 2 - столик; 3 - шток; 4 - образец; 5 - опорная пластина; 6 - втулка, 7 - траверса; 8 - наконечник; 9 - индикатор часового типа; 10 - тарелка; 11 - стопорный винт; 12 - груз

Черт. 1

Приспособление для определения площади контакта молотка ударной машины с поверхностью образца

1 - станина; 2 - наконечник молотка; 3 - образец; 4 - молоток; 5 - выпускное отверстие; 6 - золотник; 7 - кулачок фиксатора; 8 - резиновая прокладка; 9 - направляющий стержень; 10 - фиксатор

Черт. 2

4. ПОДГОТОВКА К ИСПЫТАНИЯМ

4.1. Перед началом проведения динамических испытаний для каждого из трех образцов следует определить значения величин статической осадки  в миллиметрах, средний диаметр площади контакта молотка ударной машины с поверхностью образца dcр в метрах и значение массы М груза в килограммах, укладываемого на образец для последующих динамических испытаний.

4.2. Значения статической осадки следует измерять на специально изготовленном приспособлении (см. черт. 1).

Приспособление включает основание 1, столик 2, наконечник 8, представляющий собой цилиндр диаметром 3 см, который имеет на конце сферическую поверхность радиусом 50 см. Наконечник жестко связан с опорной пластиной для индикатора 5, со штоком 3 и тарелкой 10. Опорная пластина 5 фиксирует шток индикатора часового типа 9, закрепленного в подвижной траверсе 7. На тарелку 10 укладывают груз, масса которого должна быть такой, чтобы - суммарная масса груза наконечника, штока с опорной пластиной для индикатора и тарелки была равна 10 кг.

Значения статической нагрузки  отсчитывают по индикатору часового типа через 30 с после начала загружения образца, положенного под штамп.

4.3. Средний диаметр площади контакта молотка ударной машины измеряют на специально изготовленном приспособлении (см. черт. 2).

Приспособление включает станину 1, молоток стандартной ударной машины 4, наконечник молотка 2, представляющий собой цилиндр диаметром 3 см со сферической поверхностью радиусом 50 см. Золотник молотка 6 ударной машины перемещается по направляющему стержню 9, который фиксируется в верхней части станины фиксатором 10 с кулачком 7. При смещении фиксатора молоток освобождается и скользит по направляющей 9.

Значения диаметра площади контакта определяют по отпечатку тонкого слоя краски, нанесенного на наконечник молотка, измеряя диаметр отпечатка в двух взаимно перпендикулярных направлениях.

4.4. Значение массы груза М в килограммах определяют по формуле:

,                                                                                   (1)

где  - значения величин статической осадки образца, мм;

dср - средний диаметр площади контакта молотка ударной машины с поверхностью образца, м.

4.5. Образец материала укладывают насухо на стол вибратора и нагружают грузом массой М. Опирание груза должно осуществляться через три опорных цилиндра диаметром 8 мм, размещаемых в плоскости образца равномерно через 120°. Общая площадь опорных цилиндров равна 150 мм2.

4.6. До начала испытаний образец должен находиться на столе вибратора в нагруженном состоянии массой М в течение 120 с.

5. ПРОВЕДЕНИЕ ИСПЫТАНИЙ

5.1. Вибратор устанавливают в режиме автоматического поддержания постоянной амплитуды ускорения a1. Амплитуду ускорения стола вибратора принимают 1 м/с2 с погрешностью 5%.

5.2. Вибратор приводят в движение при помощи звукового генератора с частотой 5 Гц, установив на измерительном усилителе режим автоматического поддержания постоянной амплитуды ускорения.

5.3. Частота резонанса fp, Гц, при которой амплитуда ускорения a2 груза, установленного на испытываемом образце покрытия пола, становится максимальной, определяется в процессе плавного изменения частоты колебаний вибратора.

6. ОБРАБОТКА РЕЗУЛЬТАТОВ

6.1. Для определения индекса снижения приведенного уровня ударного шума образцом полимерного покрытия  сначала определяют динамический коэффициент потерь , частоту колебаний молотка ударной машины на испытываемом покрытии пола fo Гц, и строят зависимость снижения приведенного уровня ударного шума  от частоты.

6.2. Коэффициент потерь при каждом испытании вычисляют с точностью до второго знака после запятой по формуле:

,                                                                                              (2)

где а1 - амплитуда ускорения стола вибратора, м/c2 ;

а2 - амплитуда ускорения груза на частоте fp резонанса, м/с2 .

6.3. Собственную частоту колебаний молотка fо вычисляют по формуле:

,                                                                                             (3)

где fр- частота резонанса молотка, Гц, при которой амплитуда ускорения груза а2 становится максимальной (резонанс);

М- масса груза, определяемая по формуле (1), кг.

6.4. Для каждой партии покрытия пола определяют среднее арифметическое значение величин h и f0.

6.5. Для определения снижения приведенного уровня ударного шума , дБ, покрытиями полов строят график в соответствии с обязательным приложением 2.

Для полосы частот от 100 до 800 Гц по значениям b=f/fo отношений текущей частоты f и измеренной собственной частоты колебаний молотка стандартной ударной машины fo, Гц, и значениям коэффициентов потерь, пользуясь таблицей обязательного приложения 3, определяют величину снижения приведенного уровня ударного шума .Полученные значения наносят на диаграмму в виде ломаной линии.

В диапазоне частот от 800 до 3200 Гц построение зависимости  от частоты проводят с учетом определенных ранее значений статической осадки .

Для полосы частот от 800 до 1600 Гц и значений  от 0,5 до 3,2 мм на графике (см. приложение 2) между точками 800 и 1600 Гц проводят прямую, увеличив значение  на частоте 1600 Гц на 18 дБ, а в диапазоне 1600 - 3200 Гц - прямую, параллельную оси абсцисс со значением ординаты , равным значению на частоте 1600 Гц.

Для образцов покрытий с  выше 3,2 мм между точками 800 и 3200 Гц проводят прямую, увеличив значения  на частоте 1600 Гц на 18 дБ, а на частоте 3200 - на 36 дБ.

6.6. Значения снижения приведенного уровня ударного шума  на частотах, соответствующих среднегеометрическим частотам третьоктавных полос, определяют по полученному графику (см. приложение 2).

6.7. Индекс снижения приведенного уровня ударного шума за счет покрытия пола , дБ, определяют по ГОСТ 24210 - 80.

6.8. Значение индекса снижения приведенного уровня определяют с погрешностью 1 дБ.

6.9. Результаты испытаний заносят в протокол по форме, приведенной в обязательном приложении 4.

ПРИЛОЖЕНИЕ 1

Справочное

Термины, применяемые в настоящем стандарте и их пояснения

Термин

Пояснение

1. Звукоизоляционные свойства

Свойства покрытия пола уменьшать (снижать) передачу звука при распространении от места его возникновения

2. Динамический коэффициент потерь ()

Безразмерная величина, характеризующая рассеяние энергии при продольных колебаниях

3. Статическая осадка ()

Величина, характеризующая изменение толщины под действием постоянной нагрузки

4. Средний диаметр площади контакта молотка ударной машины с поверхностью образца (dср)

Средняя величина, получаемая в результате двухкратного измерения (в двух взаимно перпендикулярных направлениях) диаметра площади отпечатка, получающегося при соприкосновении падающего молотка ударной машины с поверхностью образца покрытия

5. Частота резонанса (fp)

Частота звука, при которой амплитуда колебаний стола вибратора с образцом материала и грузом достигает максимума.

6. Приведенный уровень ударного шума ()

Уровень ударного звука под перекрытием при работе на нем стандартной ударной машины

7. Индекс снижения приведенного уровня ударного

Величина, характеризующая снижение уровня ударного шума покрытием пола

8. Амплитуда ускорения стола вибратора (а1), м/с2

Величина, характеризующая скорость изменения амплитуды смещения стола вибратора

9. Амплитуда ускорения груза на частоте fp резонанса (а2)

Величина, характеризующая скорость изменения смещения стола вибратора с уложенным на него образцом и грузом, достигающая максимума при частоте резонанса fр

ПРИЛОЖЕНИЕ 2

Обязательное

Построение графика для определения снижения приведенного уровня ударного шума  покрытием пола

ПРИЛОЖЕНИЕ 3

Обязательное

ЗНАЧЕНИЯ СНИЖЕНИЯ ПРИВЕДЕННОГО УРОВНЯ УДАРНОГО ШУМА ЗА СЧЕТ ПОКРЫТИЯ ПОЛА  

Отношение частот b=f/fo

Значения , дБ при коэффициентах потерь

 

0

0,1

0,2

0,3

0,4

0,5

0,1

-1,3

-0,4

0,4

1,0

1,2

0,9

0,2

-1,3

-0,3

0,5

1,2

1,6

1,4

0,3

-1,3

-0,2

0,7

1,5

2,0

2,0

0,4

-1,2

0

1,0

1,8

2,4

2,6

0,5

-0,9

0,3

1,3

2,2

2,9

3,2

0,6

-0,6

0,6

1,7

2,7

3,4

3,9

0,7

-0,3

1,0

2,1

3,1

4,0

4,5

0,8

0,2

1,5

2,6

3,6

4,5

5,1

0,9

0,7

1,9

3,1

4,2

5,1

5,8

1,0

1,2

2,5

3,7

4,7

5,7

6,4

1,1

1,8

3,1

4,2

5,3

6,3

7,8

1,2

2,4

3,7

4,8

5,9

6,9

8,4

1,3

3,1

4,3

5,5

6,5

7,5

9,1

1,4

3,8

5,0

6,1

7,2

8,2

9,7

1,5

4,5

5,7

6,8

7,8

8,8

10,4

1,6

5,3

6,4

7,5

8,5

9,4

11,1

1,7

6,1

7,2

8,2

9,1

10,1

11,7

1,8

6,8

7,9

8,9

9,8

10,7

11,7

1,9

7,6

8,7

9,6

10,5

11,4

12,3

2,0

8,4

9,4

10,3

11,2

12,0

13,0

2,1

9,2

10,2

11,0

11,8

12,0

13,6

2,2

10,0

10,9

11,7

12,5

13,3

14,2

2,3

10,9

11,7

12,4

13,2

14,0

14,8

2,4

11,7

12,5

13,2

13,8

14,6

15,4

2,5

12,4

13,2

13,9

14,5

15,2

16,0

2,6

13,2

13,9

14,6

15,1

15,8

16,6

2,7

14,0

14,7

15,2

15,8

16,4

17,2

2,8

14,8

15,4

15,9

16,4

17,0

17,7

2,9

15,5

16,1

16,6

17,0

17,6

18,3

3,0

16,3

16,8

17,2

17,6

18,1

18,8

3,1

17,0

17,5

17,9

18,2

18,7

19,3

3,2

17,7

18,2

18,5

18,8

19,2

,19,8

3,3

18,4

18,9

19,1

19,4

19,7

20,3

3,4

19,0

19,5

19,7

19,9

20,3

20,8

3,5

19,7

20,1

20,3

20,4

20,7

21,2

3,6

20,3

20,7

20,8

21,0

21,2

21 7

3,7

20,9

21,3

21,4

21,5

21,7

22,1

3,8

21,5

21,8

21,9

22,0

22,2

22,5

3,9

22,1

22,4

22,4

22,4

22,6

23,0

4,0

22,6

22,9

22,9

22,9

23,0

23,4

4,1

23,1

23,4

23,4

23,3

23,4

23,7

4,2

23,6

23,9

23,9

23,8

23,8

24,1

4,3

24,1

24,4

24,3

24,2

24,2

24,5

4,4

24,6

24,8

24,7

24,6

24,6

24,8

4,5

25,0

25,3

25,1

24,9

24,9

25,2

4,6

25,5

25,7

25,5

25,3

25,3

25,5

4,7

25,9

26,1

25,9

25,7

25,6

25,8

4,8

26,3

26,5

26,2

26,0

25,9

26,1

4,9

26,6

26,8

26,6

26,3

26,2

26,4

5,0

27,7

27,2

26,9

26,6

26,5

26,7

ПРИЛОЖЕНИЕ 4

Обязательное

ПРОТОКОЛ ПРОВЕДЕНИЯ ИЗМЕРЕНИЙ ИЗОЛЯЦИИ УДАРНОГО ШУМА ПОЛИМЕРНОГО ПОКРЫТИЯ ПОЛА

1. Наименование организации, проводившей измерения.

2. Лаборатория, проводившая измерения.

3. Дата проведения измерений

4. Должность и фамилия лица, проводившего измерения.

5. Наименование материала, прошедшего испытания.

6. Название нормативного документа, по которому изготовлен материал, прошедший испытания.

7. Номер партии и дата изготовления.

8. Характеристики образцов материала:

масса 1 м2;

толщина;

плотность.

9. Значение индекса снижения приведенного уровня ударного шума за счет покрытия пола .

СОДЕРЖАНИЕ

 




Яндекс цитирования



   Copyright © 2007-2026,  www.tehlit.ru.

[ ѓосты, стандарты, нормативы, инструкции, правила, строительные нормы ]