//
ТехЛит.ру
- крупнейшая бесплатная электронная интернет библиотека для "технически умных" людей.
WWW.TEHLIT.RU - ТЕХНИЧЕСКАЯ ЛИТЕРАТУРА

:: Алготрейдинг::


АЛГОТРЕЙДИНГ
шаг за шагом
с нуля по урокам!

Торговые роботы на PYTHON, BackTrader,
Pandas, Pine Script для TradingView. Связка с брокерами, телеграм и легкими приложениями.


ГОСУДАРСТВЕННЫЙ СТАНДАРТ СОЮЗА ССР

СТЕКЛОПАКЕТЫ КЛЕЕНЫЕ

ТЕХНИЧЕСКИЕ УСЛОВИЯ

ГОСТ 24866—89

Т СЭВ 5976—87)

 

ГОСУДАРСТВЕННЫЙ СТРОИТЕЛЬНЫЙ КОМИТЕТ СССР

 

ИНФОРМАЦИОННЫЕ ДАННЫЕ

1. РАЗРАБОТАН И ВНЕСЕН Министерством промышленности строитель­ных материалов СССР, ВНИИтехстройстекло, ЦНИИПромзданий

ИСПОЛНИТЕЛИ

Н.Н. Трошин (руководитель темы), канд. техн. наук; Н.В. Лалыкин, канд. техн. наук; О.В. Смирнов, В.Н. Прохода; Л.В. Завгородная, Ю.П. Александров, канд. техн. наук; В.П. Тарасов; Х.Г. Ярокер, канд. техн. наук

2. УТВЕРЖДЕН И ВВЕДЕН В ДЕЙСТВИЕ Постановлением Государствен­ного строительного комитета СССР от 13.01.89 5

3. СТАНДАРТ ПОЛНОСТЬЮ СООТВЕТСТВУЕТ СТАНДАРТУ СЭВ 5976¾87

4. ВЗАМЕН ГОСТ 24866¾81

5. ССЫЛОЧНЫЕ НОРМАТИВНО-ТЕХНИЧЕСКИЕ ДОКУ­МЕНТЫ

 

Обозначение НТД, на который дана ссылка

Номер пункта, подпункта

Обозначение НТД, на который дана ссылка

Номер пункта, подпункта

ГОСТ 111-78

1.2.2, 1.2.7

ГОСТ 7502-80

3.1, 3.3

ГОСТ 166-80

3.2

ГОСТ 8050-85

3.6.2

ГОСТ 288-72

4.3

ГОСТ 8273-74

1.5.1, 4.3

ГОСТ 427-75

3,3, 3.4

ГОСТ 9421-80

4.3

ГОСТ 577-68

3.5.2, 3.5.3

ГОСТ 9805-84

3.6.2

ГОСТ 1908-82

1.5.1, 4.3

ГОСТ 10198-78

1.5.2

ГОСТ 2768-84

3.6.2

ГОСТ 12162-77

3.6.2

ГОСТ 3749-77

3.1

ГОСТ 13454-77

1.2.2

ГОСТ 4295-80

1.5.2

ГОСТ 13766-86

3.5.3

ГОСТ 5072-79

3.6.2

ГОСТ 14192-77

1.4.2

ГОСТ 5244-79

1.5.2

ГОСТ 15102-75

1.5.2, 4.1

ГОСТ 6308-71

4.3

ГОСТ 16711-84

1.5.1

ГОСТ 6418-81

4.3

ГОСТ 18242-72

2.3

ГОСТ 6507-78

3.2

ГОСТ 20435-75

1.5.2, 4.1

ГОСТ 7132-78

1.2.2, 1.2.7

ГОСТ 22235-76

4.1

ГОСТ 7338-77

4.3

 

 

ГОСТ 7376-84

4.3

ГОСТ 24866-89

1.2.7

ГОСТ 7380-77

1.2.2

ГОСТ 27544-87

3.5.2, 3.6.2

 

 

ГОСУДАРСТВЕННЫЙ СТАНДАРТ СОЮЗА ССР

СТЕКЛОПАКЕТЫ КЛЕЕНЫЕ                                ГОСТ

Технические условия                                        24866-89

Sealed insulating glass units.                       (СТ СЭВ 5976-87)

Specifications.

Дата введения 31.01.89

Несоблюдение стандарта преследуется по закону

Настоящий стандарт распространяется на клееные стеклопакеты, пред­назначенные для остекления окон, балконных дверей, витрин, зенитных фо­нарей жилых, общественных и промышленных зданий и сооружений.

1. ТЕХНИЧЕСКИЕ ТРЕБОВАНИЯ

1.1. Стеклопакеты должны изготавливаться в соответствии с требования­ми настоящего стандарта по технологической документации, утвержденной в установленном порядке.

1.2. Типы и основные размеры

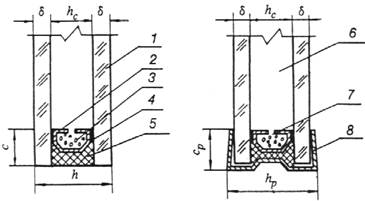
1.2.1. Клееные стеклопакеты состоят из двух или трех плоских листов стекла, соединенных по контуру так, что между ними образуется герметиче­ски замкнутая камера с прослойкой осушенного воздуха. Стеклопакеты в зависимости от конструкции подразделяют наследующие типы (черт. 1):

СПО ¾ однокамерные без обрамляющей рамки;

СПОР ¾ однокамерные с обрамляющей рамкой;

СПД ¾ двухкамерные без обрамляющей рамки.

 

ТИПЫ СТЕКЛОПАКЕТОВ

Однокамерные

СПО                                                  СПОР

Двухкамерный СПД

1 ¾ стекло; 2 — распорная рамка; 3 — влагопоглотитель; 4 — нетвердеющая мастака; 5 ¾ вулканизирующийся герметик; 6 ¾ воздушная прослойка;

7 - дегидратационная щель; 8 ¾ обрамляющая рамка; d ¾ толщина стекла;

h ¾ толщина стеклопакета; hp ¾ толщина стеклопакета с обрамляющей

рамкой; hc ¾ расстояние между стеклами; с - ширина герметизирующего

слоя; ср ¾ ширина полки обрамляющей рамки

Черт. 1

 

1.2.2. Для изготовления стеклопакетов могут применяться следующие виды стекла:

оконное 1-го сорта по ГОСТ 111;

термически полированное по ГОСТ 7132;

витринное неполированное по ГОСТ 7380;

витринное полированное по ГОСТ 13454;

теплопоглощающее и другие виды стекол по нормативно-технической документации.

Вид стекла определяется по согласованию изготовителя с потребителем.

1.2.3. Минимальные и максимальные размеры стеклопакетов и их пре­дельные отклонения должны соответствовать указанным в табл. 1.

Толщина стеклопакетов с обрамляющей рамкой должна быть не более чем на 2 мм больше толщины стеклопакетов без рамки.

1.2.4. Однокамерные стеклопакеты должны иметь расстояние между стеклами 6, 8, 9, 10, 12, 15, 16 мм, двухкамерные стеклопакеты ¾ 6, 8, 9,  10, 12 мм.

Допускается по согласованию изготовителя с потребителем для ремонт­ных целей изготавливать однокамерные стеклопакеты с расстоянием между стеклами 18 и 20 мм.

1.2.5. Ширина полки обрамляющей рамки ср в стеклопакетах должна быть (15 ± 1) мм.

1.2.6. Изготовление и поставка стеклопакетов должны производиться по спецификации заказчика в соответствии с табл. 1. Номенклатура стеклопакетов указана в приложении.

Допускается по согласованию изготовителя с потребителем изготавли­вать стеклопакеты других размеров.

1.2.7. Условное обозначение стеклопакетов должно состоять из обозначе­ния типа, размеров (ширина, длина, толщина), толщины стекол, расстояния между стеклами, вида и сорта исходного стекла и обозначения настоящего стандарта.

Виды стекла обозначают:

F стекло листовое термически полированное и витринное полиро­ванное;

T ¾ стекло оконное и витринное неполированное;

S стекло теплопоглощающее.

Пример условного обозначения:

однокамерного стеклопакета с обрамляющей рамкой шириной 1140 мм, длиной 1340 мм, толщиной 25 мм из термически полированного стекла тол­щиной 5 мм 1-го сорта с расстоянием между стеклами 15 мм:

СПОР 1140 C 1340 C 25 ¾ F, 1-й сорт по ГОСТ 7132-78, 5-15-5, ГОСТ 24866-89.

То же, двухкамерного стеклопакета без обрамляющей рамки шириной 1050 мм, длиной 1595 мм, толщиной 36 мм, из стекла оконного 1-го сорта толщиной 4 мм, с расстоянием между стеклами 12 мм:

СПД 1050 C 1595 C 36 ¾ Т, 1-й сорт по ГОСТ 111-78, 4-12-4-12-4, ГОСТ 24866-89.


Таблица 1

мм

 

 

Номинальная

Номинальная толщина стеклопакета

Допускаемое

Ширина и длина стеклопакета

 

толщина

при расстоянии между стеклами

отклонение

 

 

Допускаемое отклонение при длине

Тип

листов

 

 

 

 

 

 

 

номинальной

 

 

кромки

стеклопа­кета

стекла

6

8

9

10

12

15

16

толщины стеклопакета

номи­нальная

макси­мальная

до 1000

св. 1000

до 2000

св. 2000

 

 

 

 

 

 

 

 

 

Выс­ший сорт

1-й сорт

 

 

Выс­ший сорт

1-й сорт

Выс­ший сорт

1-й сорт

Выс­ший сорт

1-й сорт

 

Однока-

3/3

12

14

15

16

18

21

22

 

 

 

1000х1500

 

 

 

 

 

 

 

мерный

4/4

14

16

17

18

20

23

24

± 1,0

± 1,5

 

2000х1600

± 1,5

± 2,0

± 2,5

± 3,0

± 3,0

± 4,0

 

 

5/5

16

18

19

20

22

25

26

 

 

400

2000х2500

 

 

 

 

 

 

 

 

6/6

18

20

21

22

24

27

28

 

 

 

2950х2950

 

 

 

 

 

 

 

Двухка-

3/3/3

21

25

27

29

33

¾

 

 

 

1000х1400

 

 

 

 

 

 

 

мерный

4/4/4

24

28

30

32

36

¾

± 1,0

± 2,0

400

 

± 1,5

± 2,5

± 2,5

± 3,0

± 3,0

± 4,0

 

 

5/5/5

27

31

33

35

3?

¾

¾

 

 

 

1500х1700

 

 

 

 

 

 

 

 

6/6/6

30

34

36

38

42

¾

¾

 

 

 

 

 

 

 

 

 

 

 


 

1.3. Характеристики

1.3.1. Стеклопакеты должны иметь прямоугольную форму. Разность длин диагоналей одно- и двухкамерных стеклопакетов не должна превышать значений, указанных в табл. 2.

Допускается по согласованию изготовителя с потребителем для однокамерных стеклопакетов 1-го сорта разность длин диагоналей 5 мм (при средней длине диагоналей до 1300 мм).

 

Таблица 2

мм

 

 

Допускаемая разность длин диагоналей стеклопакетов

Средняя длина

однокамерных

двухкамерных

диагоналей

Высший сорт

1-й сорт

Высший сорт

1-й сорт

До 1300

3

3

5

б

Св. 1300 до 2300

5

6

6

8

    2300    3200

6

8

¾

¾

    3200

7

10

 

1.3.2. По показателям внешнего вида (порокам) стекло для изготовления стеклопакетов должно соответствовать нормам, указанным в норма­тивно-технической документации (НТД) на стекла конкретных видов.

1.3.3. Внутренние поверхности стекол в стеклопакетах должны быть чистыми.

1.3.4. Герметизирующие слои в стеклопакетах должны быть сплошны­ми, без разрывов и нарушений герметизирующего слоя.

Ширина герметизирующего слоя стеклопакетов должна быть не более 14 мм для однокамерных и 16 мм для двухкамерных стеклопакетов.

1.3.5. Стеклопакеты должны быть герметичными.

1.3.6. Точка росы внутри стеклопакетов должна быть не выше минус 40 °С; внутри стеклопакетов высшего сорта ¾ не выше минус 50 °С.

1.3.7. Стеклопакеты должны выдерживать испытания на надежность.

1.3.8. Коэффициент общего светопропускания определяют расчетом в зависимости от вида и толщины стекла.

1.3.9. Для изготовления распорних и обрамляющих рамок, соедини­тельных уголков распорных рамок должна применяться лента из алюми­ниевых сплавов, изготавливаемая по НТД, утвержденной в установлен­ном порядке.

Допускается изготавливать распорные рамки и соединительные угол­ки распорных рамок из других материалов при условии получения поло­жительных результатов при испытании на надежность.

1.3.10. Для заполнения внутренней полости распорной рамки стеклопакета в качестве влагопоглотителей должны применяться технический силикагель или синтетический, гранулированный без связующих веществ цео­лит, а для герметизации нетвердеющая мастика и вулканизующиеся герметики, разрешенные к применению органами государственного сани­тарного надзора, в соответствии с требованиями НТД, утвержденной в уста­новленном порядке.

1.4. Маркировка

1.4.1. Стеклопакеты должны иметь четкую несмываемую маркировку, которую наносят на распорную рамку или стекло в одном из углов стеклопакета. Маркировка должна содержать наименование или товарный знак предприятия-изготовителя, месяц и последние две цифры года изготов­ления.

1.4.2. Транспортная маркировка грузовых мест по ГОСТ 14192, с ука­занием. манипуляционных знаков „Осторожно, хрупкое", „Верх не канто­вать", „Боится сырости", наносимых водостойкой краской на упаковку или ярлыки, надежно прикрепленные к грузу.

1.5.Упаковка

1.5.1. Стеклопакеты без обрамляющей рамки при упаковке должны быть переложены бумагой по ГОСТ 16711, ГОСТ 1908, ГОСТ 8273 или другими упаковочными материалами, не содержащими царапающих вклю­чений.

1.5.2. Стеклопакеты должны быть упакованы в дощатые ящики по ГОСТ 4295 (типы I, II, III, IV, V), ГОСТ 10198 (типы 1-1, 1-2, П-1, П-2) или размещены в универсальных контейнерах по ГОСТ 20435, ГОСТ 15102, специализированных контейнерах или специальной таре, обеспечивающих сох­ранность стеклопакетов, по НТД, утвержденной в установленном порядке.

Пространство между стеклопакетами и стенками контейнера по ГОСТ 20435, ГОСТ 15102 или ящика должно быть заполнено стружкой по ГОСТ 5244 или другим уплотняющим материалом (древесноволокнистой плитой, резиной и др.).

Допускается до 01.01.92 транспортирование стеклопакетов без упаковки в ящики или контейнеры. В этом случае стеклопакеты должны транспортироваться в крытых вагонах и располагаться в них в соответствии со схемой крепления, утвержденной в установленном порядке и согласованной с потребителем.

1.5.3. В каждый контейнер или ящик должен быть вложен ярлык, в ко­тором указывают:

наименование или товарный знак предприятия-изготовителя;

условное обозначение стеклопакетов;

количество стеклопакетов в штуках и квадратных метрах;

номер упаковщика и дату упаковки;

обозначение настоящего стандарта.

2. ПРИЕМКА

2.1. Стеклопакеты принимают партиями. Партией считают число стеклопакетов одного типа, оформленное одним документом о качестве. Объем партии устанавливают по согласованию изготовителя с потребителем но не более 1200 шт.

2.2. Для проверки стеклопакетов на соответствие требованиям настоя­щего стандарта проводят приемо-сдаточные и периодические испытания.

2.3. Приемо-сдаточные испытания на соответствие требованиям пп. 1.2.3, 1.3.1-1.3.4 проводят по двухступенчатому плану контроля согласно ГОСТ 18242, для чего от партии отбирают выборку в объеме, указанном в табл. 3, методом случайного отбора.

 

Таблица 3

 

Объем партии стеклопакетов,

Ступень контроля

Объем выборки стеклопакетов, шт.

Число

шт.

 

одной

двух

приемочное

браковочное

До 25

Первая

2

2

0

2

 

Вторая

2

4

1

2

26-50

Первая

3

3

0

2

 

Вторая

3

6

1

2

51-90

Первая

3

3

0

2

 

Вторая

3

6

1

2

91-150

Первая

5

5

0

3

 

Вторая

5

10

3

4

151-280

Первая

8

8

1

4

 

Вторая

8

16

4

5

281-500

Первая

13

13

2

5

 

Вторая

13

26

6

7

501-1200

Первая

20

20

3

7

 

Вторая

20

40

8

9

 

2.4. Партию стеклопакетов принимают, если число дефектных стеклопакетов в первой выборке меньше или равно приемочному числу, и бракуют, если число дефектных стеклопакетов больше или равно браковочному числу.

Если число дефектных стеклопакетов в первой выборке больше прие­мочного числа, но меньше браковочного, производят вторую выборку.

Партию стеклопакетов принимают, если число дефектных стеклопаке­тов в двух выборках меньше или равно приемочному числу, и бракуют, если число дефектных стеклопакетов в двух выборках больше или равно браковочному числу.

2.5. Герметичность стеклопакетов проверяют при изменении технологи­ческого регламента и не реже одного раза в месяц на трех стеклопакетах из числа принятых по п. 2.4.

2.6. Приемо-сдаточные испытания на соответствие требованиям п. 1.3.6 проводят на трех (двух для партии объемом до 25 шт.) стеклопакетах из числа принятых по п. 2.4.

2.7. Испытание на надежность стеклопакетов проводят один раз в год для контроля стабильности качества, а также при изменении конструкции, технологии и применяемых исходных материалов.

2.8. Если при проверке стеклопакетов, отобранных по пл. 2.5, 2.6, ока­жется хотя бы один, не удовлетворяющий требованиям настоящего стандар­та по герметичности или по точке росы, проводят повторные испытания по этому показателю удвоенного числа стеклопакетов той же партии.

При неудовлетворительных результатах повторной проверки произво­дят поштучную приемку стеклопакетов.

2.9. Потребитель имеет право производить контрольную проверку соот­ветствия стеклопакетов требованиям настоящего стандарта, соблюдая при этом приведенный порядок отбора образцов и применяя указанные методы испытаний.

2.10. Предприятие-изготовитель должно сопровождать каждую партию стеклопакетов документом о качестве установленной формы, в котором указывают:

наименование и адрес предприятия-изготовителя и получателя;

наименование и условное обозначение стеклопакетов;

количество стеклопакетов в штуках и квадратных метрах;

дату изготовления;

результаты испытаний;

обозначение настоящего стандарта.

3. МЕТОДЫ ИСПЫТАНИЙ

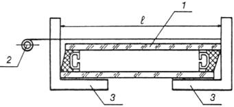
3.1. Ширину и длину стеклопакетов, а также длину их диагоналей изме­ряют металлической рулеткой по ГОСТ 7502 с погрешностью до 11 мм с применением металлических угольников по ГОСТ 3749 в соответствии с черт. 2.

1 — стеклопакет; 2 рулетка; 3 ¾ угольник; l ¾ контролируемый размер

Черт. 2

 

Ширину и длину измеряют параллельно кромкам стеклопакета между двумя точками, расположенными на расстоянии 50 мм от кромок и посере­дине стеклопакета. Результаты каждого измерения должны находиться в пределах допускаемых отклонений.

3.2. Толщину стеклопакетов измеряют штангенциркулем по ГОСТ 166 или микрометром по ГОСТ 6507 с погрешностью до 0,1 мм по контуру в середине каждой стороны стеклопакета.

В стеклопакетах с обрамляющей рамкой толщину его измеряют по об­рамляющей рамке.

За толщину стеклопакетов принимают среднее арифметическое значение результатов измерений. Результаты каждого измерения должны находиться в пределах допускаемых отклонений.

3.3. Ширину герметизирующего слоя стеклопакетов и ширину полки об­рамляющей рамки измеряют металлической линейкой по ГОСТ 427 или рулеткой по ГОСТ 7502. Измерения производят в середине каждой стороны стеклопакета.

3.4. Внешний вид стеклопакетов проверяют визуально в проходящем свете при рассеянном освещении. При этом стеклопакет устанавливают вер­тикально на расстоянии 0,6-0,8 м от наблюдателя.

Пороки стекла измеряют металлической линейкой по ГОСТ 427.

Непрерывность герметизирующих слоев проверяют визуально.

3.5. Определение герметичности стеклопакетов

3.5.1. Сущность метода заключается в определении изменения размера прогиба нагружаемого стекла стеклопакета при изменении давления в его внутренней полости в случае негерметичности стеклопакета.

3.5.2. Средства контроля

Стенд для проверки герметичности. Схема стенда указана на черт. 3. Стенд для проверки герметичности может быть выполнен в горизонтальном и вертикальном исполнении.

Термометр стеклянный жидкостный по ГОСТ 27544 или другого типа соответствующего класса точности.

Индикатор часового типа по ГОСТ 577.

 

Схема стенда

для проверки герметичности стеклопакетов

1 ¾ нагрузочный винт; 2 ¾ прокладка; 3 ¾ пружина по ГОСТ 13766-86;

4 ¾ индикаторы часового типа по ГОСТ 577-68; 5 ¾ стеклопакет;

6 ¾ раздвижные опоры; 7 ¾ нагрузочный винт

Черт. 3

 

3.5.3. Подготовка образцов и проведение испытания

Перед испытанием стеклопакет выдерживают в помещении для испыта­ния не менее 2 ч. Во время испытания допускается изменение температуры в помещении не более чем на ±1 °С.

Стеклопакет помещают на опоры 6 (черт. 3) длинными сторонами так, чтобы его геометрический центр (точка пересечения диагоналей) совпадал с осями нагрузочных винтов 1 и 7. Между пружиной 3 и стеклопакетом 5, а также между нагрузочным винтом 7 и стеклопакетом 5 помещают про­кладки 2 (из органического стекла, текстолита и др.) диаметром (50 ± 5) мм и толщиной 2-3 мм. Вращением шкалы верхнего индикатора 4 стрелку устанавливают на нулевое деление. При помощи нагрузочного винта 1 и пружины 3 нагружают верхнее стекло так, чтобы размер его прогиба, опре­деляемый по индикатору 4, соответствовал значению l = 0,002 · a, где l ¾ размер прогиба стекла стеклопакета, мм; a длина меньшей стороны стек­лопакета, мм.

Вращением шкалы нижнего индикатора 4 стрелку устанавливают на ну­левое деление. Нагрузочным винтом 7 нагружают нижнее стекло так, чтобы размер его прогиба соответствовал размеру прогиба верхнего стекла. Стек­лопакет выдерживают 3—4 мин. За. это время показание верхнего индикато­ра стабилизируется. Вновь устанавливают показания шкал верхнего и ниж­него индикаторов на нулевое деление. Стеклопакет 5 выдерживают под на­грузкой 15 мин и определяют показание верхнего индикатора. Если стеклопакет герметичен, показание верхнего индикатора должно быть не более 0,02 мм.

При испытании двухкамерного стеклопакета определение герметичности каждой камеры производят раздельно. При этом для испытания второй ка­меры стеклопакет переворачивают на опорах 6 на 180° вокруг продольной оси.

3.6. Контроль точки росы внутри стеклопакетов

3.6.1. Сущность метода заключается в охлаждении участка стекла стеклопакета и последующей проверке появления конденсата (инея) на внутрен­ней поверхности этого участка.

3.6.2. Средства контроля

Прибор для контроля точки росы. Схема прибора указана на черт. 4.

Термометр стеклянный жидкостный по ГОСТ 27544.

Двуокись углерода твердая по ГОСТ 12162 или жидкая по ГОСТ 8050.

Спирт изопропиловый по ГОСТ 9805.

Ацетон технический по ГОСТ 2768.

Секундомер по ГОСТ 5072.

Фонарь карманный или другой источник света напряжением не более 12 В.

 

Схема прибора

для контроля точки росы

1 ¾ ацетон или изопропиловый спирт; 2 ¾ ручка; 3 ¾ термометр;

4 ¾ подвижная плас­тина узла подвески; 5 ¾ контактная латунная пластина;

6 ¾ твердая двуокись углеро­да; 7 ¾ корпус медный; 8 — теплоизоляция

Черт. 4

 

3.6.3. Подготовка образцов и проведение испытания

Точку росы внутри стеклопакета контролируют не ранее чем через сутки после его изготовления.

Стеклопакет располагают вертикально перед источником света.

Прибор заполняют ацетоном или изопропиловым спиртом с постепен­ным добавлением мелких кусочков двуокиси углерода. Уровень ацетона или изопропилового спирта не должен быть ниже контактной пластины.

Температуру смеси измеряют термометром, конец которого должен быть удален от дна прибора не менее чем на 10 мм.

Температура смеси при испытании стеклопакетов 1-го сорта должна быть минус (45 ± 3) °С и минус (55 ± 3) °С при испытании стеклопакетов высшего сорта.

Затем очищают ацетоном стекла с обеих сторон в месте контроля на расстоянии не менее 100 мм от кромки стеклопакета. Очищенную по­верхность стекла и контактную пластину смачивают тампоном, пропи­танным ацетоном. Прижимают прибор пластиной к смоченному участку так чтобы был обеспечен плотный контакт. Время контакта измеритель­ного прибора со стеклопакетом в зависимости от толщины листов стекла в стеклопакете должно соответствовать указанному в табл. 4.

 

Таблица 4

 

Толщина листа, мм

Время контакта, мин

До 5

4

Св. 5

6

 

Во время контакта измерительного прибора со стеклопакетом указан­ную температуру жидкости в приборе поддерживают добавлением твердой двуокиси углерода.

По истечении указанного времени прибор снимают. Охлажденный учас­ток протирают тампоном, смоченным ацетоном. Включают источник света и визуально проверяют наличие конденсата (инея) на внутренней поверх­ности охлажденного участка стекла. Наличие следов конденсата (инея) не допускается.

В двухкамерных стеклопакетах измерение производится на обеих сторо­нах поверхности стеклопакета

3.7. Надежность стеклопакетов определяют по программе, утвержденной Минстройматериалов СССР.

4. ТРАНСПОРТИРОВАНИЕ И ХРАНЕНИЕ

4.1. Контейнеры по ГОСТ 20435, ГОСТ 15102 и специализированные кон­тейнеры или ящики со стеклопакетами транспортируют любым видом тран­спорта. При транспортировании следует соблюдать требования ГОСТ 22235, Технические условия погрузки и крепления грузов, утвержденные Минис­терством путей сообщения СССР, а также Правила перевозки грузов, дейст­вующие на каждом виде транспорта.

Универсальные контейнеры по ГОСТ 20435, ГОСТ 15102 и специализиро­ванные контейнеры со стеклопакетами перевозят на железнодорожных платформах или полувагонах с учетом наиболее рационального использова­ния грузоподъемности и вместимости подвижного состава. Ящики со стек­лопакетами перевозят в крытых транспортных средствах или полувагонах при условии обеспечения зашиты от атмосферных осадков.

При транспортировании, погрузке и выгрузке стеклопакетов следует соблюдать меры, обеспечивающие их сохранность от механических повреж­дений и атмосферных осадков.

4.2. При транспортировании специализированные контейнеры или ящики со стеклопакетами должны быть установлены вертикально, по направлению движения, и закреплены так, чтобы была исключена возможность их пере­движения и качания.

4.3. Стеклопакеты должны храниться у изготовителя и потребителя в су­хих закрытых помещениях в распакованном виде.

При хранении стеклопакеты должны быть установлены торцом на стелла­жи или пирамиды. Основание стеллажа или пирамиды должно быть оклеено войлоком или резиной и иметь наклон 10—15° к горизонтали.

Между стеклопакетами без обрамляющих рамок должны быть установ­лены прокладки из войлока по ГОСТ 6418, ГОСТ 6308, ГОСТ 288 или по НТД, утвержденной в установленном порядке, картона по ГОСТ 7376, ГОСТ 9421, резины по ГОСТ 7338 или бумаги по ГОСТ 1908, ГОСТ 8273.

На стеллаже или пирамиде следует хранить стеклопакеты одинаковых размеров.

Допускается хранить стеклопакеты в ящиках при условии, если тара и прокладочные материалы не подвергались увлажнению в процессе транспор­тирования.

5. УКАЗАНИЯ ПО МОНТАЖУ И ЭКСПЛУАТАЦИИ

Монтаж и эксплуатацию стеклопакетов следует производить в соответст­вии с Инструкцией по проектированию, монтажу и эксплуатации стеклопакетов, утвержденной Госстроем СССР.

6. ГАРАНТИИ ИЗГОТОВИТЕЛЯ

6.1. Изготовитель гарантирует соответствие стеклопакетов требованиям настоящего стандарта и их сохранность при соблюдении условий упаковки, транспортирова­ния и хранения, установленных настоящим стандартом, и правил монтажа и эксплуатации, утвержденных в установленном порядке.

6.2. Гарантийный срок эксплуатации стеклопакетов ¾ 5 лет, стеклопакетов высшего сорта ¾ 10 лет со дня отгрузки потребителю.

 

ПРИЛОЖЕНИЕ

Справочное

НОМЕНКЛАТУРА СТЕКЛОПАКЕТОВ,

ПРЕДУСМОТРЕННАЯ СТАНДАРТАМИ И ТИПОВЫМИ КОНСТРУКЦИЯМИ ОКОН, ДВЕРЕЙ, ВИТРАЖЕЙ, ВИТРИН

И ЗЕНИТНЫХ ФОНАРЕЙ ЗДАНИЙ

ПРОМЫШЛЕННЫХ ПРЕДПРИЯТИЙ, ЖИЛЫХ

И ОБЩЕСТВЕННЫХ ЗДАНИЙ

 

Таблица 5

 

Конструкция и ее назначение

Размер стеклопакета, мм

(номер серии, шифр)

по высоте (длине)

по ширине

1. Окна со сталь­ными переплетами

555

930

для производственных зданий(серии

555

1130

1.436.3-16;

560

550

 1.436.2-17/87;

560

725

1.436.3-21)

560

1150

 

990

1060

 

995

1050

 

1075

930

 

1075

1130

 

1080

530

 

1080

550

 

1080

700

 

1080

725

 

1080

1150

 

1590

850

 

1590

1060

 

1595

1050

 

1675

930

 

1775

1130

 

1680

530

 

1680

550

 

1680

700

 

1680

725

 

1680

1150

2. Окна со стальными переплетами

400

690

для административно-бытовых

400

990

(вспомогательных) зданий

400

1140

промыш­ленных предприятий (новая

470

700

серия ЭКБ ВПО „Союзстрой

980

460

конструкция")

980

690

 

980

990

 

980

1140

 

1000

700

 

1040

690

 

1040

990

 

1040

1140

 

1060

540

 

1060

990

 

1120

770

 

1120

1070

 

1120

1220

 

1290

550

 

1290

630

 

1290

700

 

1290

780

 

1290

930

 

1290

1080

 

1340

690

 

1340

990

 

1340

1140

 

1370

630

 

1370

860

 

1420

770

 

1420

1070

 

1420

1220

 

1580

460

 

1645

550

 

1860

460

 

1880

460

 

1945

550

3. Окна с деревянными переплетами

995

1050

для производственных зданий

1075

1130

(шифр 117-82)

1080

550

 

1595

1050

 

1675

1130

 

1680

550

4. Окна с деревоалюминиевыми

920

970

переплетами для производственных

980

445

зданий (шифр 108-81)

980

1035

 

1035

500

 

1035

1090

 

1520

970

 

1580

445

 

1580

1035

 

1635

500

 

1635

1090

5. Окна с переплетами из

555

510

алюминиевых сплавов для

555

555

производственных зданий

555

910

(серия 1.436.4-20)

555

1110

 

970

820

 

970

1020

 

1055

510

 

1055

555

 

1055

910

 

1055

1110

6. Зенитные фонари для зданий

1320

830

промышленных предприятий

1410

920

(серии 1.464-14;

1420

870

1.464.2-17;

1460

920

1.464.2-18;

1520

940

1.464.3-20/87

1520

980

и др.)

1560

980

 

1560

1450

 

1640

1530

 

1740

620

 

1910

985

7. Окна и балконные двери

400

700

с переплетами из алюминиевых

400

990

сплавов для общественных

400

1300

зданий (серия 1.236.4-8/85)

470

700

 

470

1000

 

470

1300

 

490

790

 

490

1090

 

490

1390

 

1000

700

 

1000

1000

 

1250

950

 

1250

1250

 

1290

550

 

1290

700

 

1300

1000

 

1390

790

 

1390

1090

 

1390

1390

 

1550

950

 

1550

1250

 

1600

700

 

1600

1000

 

1690

790

 

1690

1090

 

1690

1390

 

1990

790

 

1990

1090

 

1990

1390

8. Витрины и витражи с переплетами

460

1360

из алюминиевых сплавов для

460

1860

общественных зданий (серии

550

1450

1.236.4-7/84)

550

1950

 

1450

1450

 

1950

1450

 

1950

1950

 

1950

2950

 

2250

1450

 

2250

1950

 

2250

2950

 

2550

1450

 

2550

1950

 

2550

2950

 

2950

2950

9. Двери из алюминиевых сплавов

1285

465

для общественных зданий

1285

640

 

1285

665

 

1750

465

 

1750

465

 

1750

640

 

1750

665

 

2050

465

 

2050

640

 

2050

665

 




Яндекс цитирования



   Copyright © 2007-2026,  www.tehlit.ru.

[ ѓосты, стандарты, нормативы, инструкции, правила, строительные нормы ]