//
|
|
ГОСУДАРСТВЕННЫЙ СТАНДАРТ СОЮЗА ССР ПОРОДЫ ГОРНЫЕ МЕТОДЫ ОПРЕДЕЛЕНИЯ
ПРЕДЕЛА ПРОЧНОСТИ ГОСТ 21153.3-85 ГОСУДАРСТВЕННЫЙ КОМИТЕТ СССР ПО СТАНДАРТАМ Москва
РАЗРАБОТАН Министерством угольной промышленности СССР, Академией наук СССР, Министерством геологии СССР, Академией наук УССР, Академией наук Киргиз. ССР, Министерством высшего и среднего специального образования СССР ИСПОЛНИТЕЛИ Ю.М. Карташов, Г.В. Михеев, Б.В. Матвеев, С.И. Войцеховская, М.П. Мохначев, С.Е. Чирков, И.А. Соломина, Л.Г. Медведев, Р.И. Тедер, К. А-К. Вайтекунас, В.В. Фромм, Б.М. Усаченко, В.В. Виноградов, В.П. Чередниченко, В.А. Мансуров, Г.Я. Новик, И.Ю. Буров, В.Н. Морозов, В.Д. Христолюбов. ВНЕСЕН Министерством угольной промышленности СССР Зам. министра Г.И. Нуждихин УТВЕРЖДЕН И ВВЕДЕН В ДЕЙСТВИЕ Постановлением Государственного комитета СССР по стандартам от 27 ноября 1985 г. № 3731
ГОСУДАРСТВЕННЫЙ СТАНДАРТ СОЮЗА ССР
Постановлением Государственного комитета СССР по стандартам от 27 ноября 1985 г. № 3731 срок действия установлен с 01.01. 87 до 01.017.92 Несоблюдение стандарта преследуется по закону Настоящий стандарт распространяется на твердые горные породы с пределом прочности при одноосном растяжении не менее 0,5 МПа и устанавливает следующие методы определения предела прочности при одноосном растяжении породы по образцам, изготовляемым из представительной породной пробы: метод разрушения цилиндрических и призматических образцов прямым растяжением; метод разрушения цилиндрических образцов сжатием по образующим; метод разрушения образцов произвольной формы встречными сферическими инденторами; метод комплексного определения пределов прочности при одноосном растяжении и сжатии. Стандарт не распространяется на мерзлые горные породы. (Измененная редакция, Изм. № 1). 1. МЕТОД ОПРЕДЕЛЕНИЯ ЦИЛИНДРИЧЕСКИХ И ПРИЗМАТИЧЕСКИХ
| |||||||||||||||||||||||||||||||||||||||||||||||||||||||||||||||||||||||||||||||||||||||||||||||||||||||||||||||||||||||||||||||||||||||||||||||||||||||||||||||||||||||||||||||||||||||||||||||||||||||||||||||
|
Параметр образца |
Размеры |
|
|
предпочтительные |
допускаемые |
|
|
Цилиндры, диаметр d, мм |
42 ± 2 |
От 30 до 60 включ. |
|
Призмы, сторона квадрата а, мм |
40 ± 1 |
От 20 до 60 включ. |
|
m не менее |
2 |
1 |
Примечание. m - отношение длины рабочей части образца (между обоймами нагрузочного устройства) к его диаметру (d) или стороне квадрата (а).
(Измененная редакция, Изм. № 1).
Измерения производят штангенциркулем с погрешностью не более ± 0,1 мм. Диаметр (сторону квадрата) измеряют в трех местах по длине образца (в середине и у торцов) в двух взаимно перпендикулярных направлениях. Допускается разность диаметров (сторон квадрата) по всем измерениям не более 0,5 мм. За расчетный диаметр принимают среднее арифметическое результатов всех измерений.
1.3.4. Образующие боковой поверхности образца должны быть прямолинейными по всей длине. Допуск прямолинейности рабочей части образца 0,5 мм. Допускаемая шероховатость - не более 0,2 мм.
1.3.5. Подготовленные для испытания образцы должны иметь одинаковые размеры. Допускаются отклонения расчетных значений диаметра (стороны квадрата) каждого образца от его среднего арифметического значения по всем образцам выборки не более 2 мм.
1.3.6. Количество образцов должно быть не менее 6 и обеспечивать относительную погрешность результатов испытания не более 20 % при надежности не ниже 0,8.
(Измененная редакция, Изм. № 1).
1.4. Проведение испытания
1.4.1. Концевые части боковой поверхности образца соединяют скрепляющим материалом с обоймами нагрузочного устройства, обеспечивая совместно сборкой центрирование образца в обоймах и их соосность (см. приложение 1).
(Измененная редакция, Изм. № 1).
1.4.2. После затвердения скрепляющего материала образец, смонтированный в нагрузочном устройстве, помещают в испытательную машину и нагружают до разрушения равномерно со скоростью 1-5 МПа/с.
1.4.3. Записывают величину разрушающей силы Р в килоньютонах, зафиксированную силоизмерителем испытательной машины (пресса).
1.4.4. При необходимости определяют влажность пробы непосредственно при испытании. Для этого обломки образцов помещащают в бюксы не позже чем через 10 мин после выполнения испытаний и взвешивают. Дальнейшие операции - по ГОСТ 5180-75. Влажность фиксируют в журнале испытаний.
1.5. Обработка результатов
1.5.1. Предел
прочности при одноосном растяжении (
) в МПа для каждого образца вычисляют по формуле
,
где Р - разрушающая сила, кН;
S - площадь поперечного сечения образца, см2.
1.5.2. Обработку результатов испытаний n образцов производят в следующем порядке.
Вычисляют
среднее арифметическое значение по пробе предела прочности
, среднее квадратическое отклонение
и коэффициент
вариации V:
;
;
.
Определение
фактической надежности
результатов испытаний
и уточнение необходимого числа образцов производят согласно рекомендуемому приложению 2.
1.5.3. Вычисления производят с точностью округления:
частных значений и среднего арифметического значения, а также среднего квадратического отклонения предела прочности - до 0,01 МПа, при этом значения менее 10 МПа оставляют без изменения, а значения более 10 МПа округляют до 0,10 МПа;
значений коэффициента вариации - до 1 %.
(Измененная редакция, Изм. № 1).
Метод предназначен для массовых испытаний с целью определения предела прочности горной породы по заданному сечению образца при одноосном растяжении в направлении, заданном относительно сложения (слоистости) породы.
Сущность метода заключается в проведении испытаний цилиндрических образцов. Испытание каждого образца заключается в измерении значения разрушающей силы, приложенной через стальные встречно направленные плиты или клинья нагрузочного устройства к образующим образца на его диаметральном сечении ориентированном заданным способом относительно сложения (слоистости) породы.
(Измененная редакция, Изм. № 1).
2.1. Метод отбора проб
2.1.1. Отбор проб - по п. 1.1.1 со следующим дополнением:
размеры и объем породной пробы выбирают с учетом требований п.п. 1.3.1, 1.3.6 и 2.3.2.
(Измененная редакция, Изм. № 1).
2.2. Оборудование, инструменты и материалы
2.2.1. Для проведения испытаний применяют оборудование, инструменты и материалы по ГОСТ 21153.0-75 и дополнительно:
оборудование для изготовления образцов, машины испытательные или прессы по п. 1.2.1;
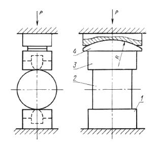
плиты стальные
толщиной не менее 0,3 диаметра образца с плоскими рабочими поверхностями
(отклонение от плоскостности не более 0,02 мм); клинья стальные с радиусом
закругления, равным (5±1) мм (черт. 1).
Длина плит и клиньев - на 3-5 мм больше длины образца. Класс шероховатости
рабочих поверхностей плит и клиньев - не ниже 7 по ГОСТ 2789-73, твердость
;
цилиндрический сегментный шарнир по черт. 1 или любой другой конструкции применяют как обязательный при отсутствии на испытательной машине верхней подвесной сферической плиты и располагают между опорой испытательной машины и плитой (клином).
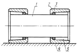
1 - нижняя плита (нижний
клин); 2 - образец;
3 - верхняя плита (верхний клин); 4 - сегмент.
Черт. 1
2.3. Подготовка к испытанию
2.3.1. Требования к изготовлению образцов - по п. п. 1.3.1 и 1.3.2.
2.3.2. Размеры образцов должны соответствовать указанным в табл. 2.
Таблица 2
|
Параметр образца |
Размеры |
|
|
предпочтительные |
допускаемые |
|
|
Диаметр d, мм |
42 ± 2 |
От 30 до 80 включ. |
|
m |
1,0 ± 0,1 |
От 0,7 до 1,1 включ. |
Примечание. m - отношение длины образца к его диаметру.
Требования к измерениям и допускаемые отклонения - по п. 1.3.3.
(Измененная редакция, Изм. № 1).
2.3.3. Образующая боковой поверхности образца должна быть прямолинейной по всей длине. Отклонения от прямолинейности - не более 0,2 мм. Допускаемая шероховатость поверхности - не более 0,5 мм. На каждом образце должно быть намечено карандашом сечение задаваемого раскола образца (разрыва породы).
(Измененная редакция, Изм. № 1).
2.3.4. Образцы, подготовленные для испытания, должны иметь одинаковые размеры. Допускаются отклонения расчетных значений диаметра и длины каждого образца от их средних арифметических значений по всем образцам выборки не более 1 мм.
2.3.5. Количество образцов - по п. 1.3.6.
2.4. Проведение испытания.
2.4.1. Образец размещают в центре опорной плиты испытательной машины (пресса) между плитами-прокладками либо между клиньями.
2.4.2. Образец между клиньями (плитами) размещают так, чтобы ось образца и линии касания к нему клиньев (плит) находились в плоскости задаваемого раскола (разрыва породы). Отклонение от плоскостности не более 0,5 мм.
(Измененная редакция, Изм. № 1).
2.4.3. Образец нагружают до разрушения равномерно со скоростью 1-5 МПа/с.
(Измененная редакция, Изм. № 1).
2.4.4. Дальнейшие операции - по п.п. 1.4.3 и 1.4.4.
2.5. Обработка результатов
2.5.1. Предел
прочности при одноосном растяжении в заданном относительно строения породы
направлении (
) в МПа для каждого образца выборки вычисляют по формуле
,
где Р - разрушающая сила, кН;
S - площадь разрыва образца, равная произведению его диаметра, на длину, см2.
(Измененная редакция, Изм. № 1).
2.5.2. Обработка результатов испытаний образцов и погрешность вычислений - по п.п. 1.5.2 и 1.5.3.
Метод предназначен для исследовательских и массовых испытаний горных пород в лабораторных и полевых условиях с целью определения предела прочности при одноосном растяжении в направлении, перпендикулярном к слабейшему сечению, проходящему через ось нагружения образца.
Сущность метода заключается в измерении разрушающей силы, приложенной к образцу через стальные встречно направленные сферические инденторы.
3.1. Метод отбора проб
3.1.1. Отбор проб - по п. 1.1.1 со следующим дополнением:
размеры и объем проб выбирают с учетом требований по п.п. 3.3.2, 3.3.3 и 3.3.6.
3.2. Оборудование, инструменты и материалы
3.2.1. Для проведения испытания применяют оборудование, инструменты и материалы по ГОСТ 21153.0-75 и дополнительно:
оборудование для изготовления образцов по п. 1.2.1, а также машины шлифовально-заточные любой конструкции с электроприводом или ручным приводом, молоток геологический, тиски слесарные и набор слесарных напильников;
машины испытательные и прессы по п. 1.2.1 или машину испытательную переносную типа БУ39;
устройство
установочное по черт. 2 или любой другой
конструкции, размещаемое на опорной плите испытательной машины (пресса) и
обеспечивающее соосное (отклонение от соосности не более 0,1 мм) приложение к
образцу через стальные сферические иденторы диаметром (15 ±
0,05) мм с твердостью
;
бумагу масштабно-координатную по ГОСТ 334-73 - для нанесения контура поверхности разрыва образца неправильной формы.
1 - корпус; 2 - нижний шток;
3 -
вкладыш; 4 - индентор; 5 - верхний
шток
Черт. 2
3.3. Подготовка к испытанию
3.3.1. Требования к изготовлению образцов - по п.п. 1.3.1 и 1.3.2 со следующим дополнением: образцы неправильной формы подготавливают откалыванием, отпиливанием или подшлифовкой, используя любое подходящее оборудование.
3.3.2. Размеры образцов и места их нагружения встречными инденторами должны быть такими, чтобы площадь поверхности разрыва (раскола) была не менее 3 и не более 100 см2. Предпочтительно - (15±3) см2. При этом площади по поверхности раскола образцов одной выборки не должны отличаться более чем в два раза. Места нагружения инденторами намечают карандашом.
(Измененная редакция, Изм. № 1).
3.3.3. Высота образцов (расстояние между точками приложения нагрузки) должна быть не менее 10 мм.
Максимальные и минимальные линейные размеры образцов в пределах поверхности разрыва должны отличаться не более чем в 5 раз.
3.3.4. Ось нагружения образца инденторами должна быть ориентирована относительно строения (слоистости) породы в соответствии с заданным направлением растяжения породы и должна быть удалена от ближайшей боковой поверхности образца на расстояние не меньшее половины высоты образца.
(Измененная редакция, Изм. № 1).
3.3.5. Для устойчивого положения между инденторами образца неправильной формы на двух противоположных его поверхностях непосредственно в местах предполагаемого контакта с инденторами выбирают или подготавливают любыми средствами примерно параллельные площадки не менее 10´10 мм.
3.3.6.
Количество образцов правильной формы должно быть не менее 6, а неправильной
не менее 10, при условии обеспечения надежности
результатов не ниже
80 % и относительной погрешности
не более 30 %.
3.4. Проведение испытания
3.4.1. Образец устанавливают между инденторами в соответствии с п.п. 3.3.4 и 3.3.5. Наиболее рациональные схемы установки образцов приведены на черт. 3.

Черт. 3
3.4.2. Образец нагружают до разрушения равномерно со скоростью 0,1 - 0,5 кН/с. Испытание признают действительным при разрыве образца на две части по поверхности, проходящей через ось нагружения.
3.4.3. Определяют величину площади поверхности разрыва образца в квадратных сантиметрах.
3.4.4. Дальнейшие операции - по п.п. 1.4.3 и 1.4.4.
3.5. Обработка результатов
3.5.1. Предел
прочности при одноосном растяжении (
) в МПа для каждого образца вычисляют по формуле
,
где Р - разрушающая сила, кН;
S - площадь поверхности разрушения образца, см2.
К - безразмерный масштабный коэффициент, принимаемый равным 1.00 при S=(15±3) см2. Для других значений S коэффициент К устанавливается по табл. 3.
Таблица 3
|
S, см2 |
3 |
4 |
5 |
8 |
10 |
15 |
20 |
|
К |
0,67 |
0,72 |
0,76 |
0,85 |
0,90 |
1,00 |
1,08 |
|
S, см2 |
30 |
35 |
40 |
45 |
50 |
80 |
100 |
|
К |
1,19 |
1,24 |
1,28 |
1,32 |
1,35 |
1,52 |
1,61 |
3.5.2. Обработку результатов испытаний n образцов производят в соответствии с п. 1.5.2.
(Измененная редакция, Изм. № 1).
3.5.3. Вычисление площади поверхности разрыва образцов неправильной формы производят с погрешностью до 0,10 см2, а образцов правильной формы - до 0,01 см2, округляют до 0,10 см2.
Погрешность остальных вычислений и округлений - по п. 1.5.3.
Метод предназначен для массовых испытаний горных пород с целью комплексного определения пределов прочности при одноосном растяжении и сжатии в заданном относительно строения (слоистости) породы направлении.
Сущность метода определения предела прочности при растяжении заключается в измерении разрушающей силы при многократном раскалывании образцов пластинчатой и брусчатой формы и определения предела прочности при сжатии - в измерении разрушающей силы сжатия полученных при раскалывании образцов кубообразной формы.
Особенность метода заключается в определении пределов прочности при растяжении и сжатии на одной пробе.
(Измененная редакция, Изм. № 1).
4.1. Метод отбора проб
4.1.1. Отбор проб - по п. 1.1.1 со следующим дополнением: размеры проб должны обеспечивать изготовление образцов необходимого размера и количеств, указанных в п.п. 4.3.2 и 4.3.6.
4.2. Оборудование, инструменты и материалы
4.2.1. Для проведения испытания применяют оборудование, указанное в п. 2.2.1, и плиты стальные и устройства установочные по ГОСТ 21153.2-84.
4.3. Подготовка к испытанию
4.3.1. Общие технологические требования к изготовлению образцов - по п. 1.3.2.
4.3.2. Размеры образцов должны соответствовать указанным в табл. 4.
Таблица 4
|
Параметр образца |
Размеры, мм |
|
|
предпочтительные |
допускаемые |
|
|
Поперечные размеры пластины произвольного очертания в плане (диаметр диска), не менее |
60´60 |
40´40 |
|
Толщина |
20 ± 1 |
От 20 до 30 включ. |
Образцы для испытания многократным раскалыванием изготовляют на камнерезной машине, отрезая в заданном относительно строения (слоистости) породы направлении от кернов диски или от штуфов пластины.
(Измененная редакция, Изм. № 1).
4.3.3. Торцовые поверхности образца должны быть плоскими и параллельными друг другу. Отклонение от плоскостности - не более 0,1 мм и от параллельности - не более 0,5 мм по диаметру или минимальному размеру образца.
4.3.4. Для испытания на сжатие используют кубообразные образцы, полученные в процессе раскалывания, с ребром, равным толщине пластины (диска) с допускаемыми отклонениями не более ± 2 мм.
4.3.5. На одной из плоскостей образца карандашом наносят квадратную сетку со стороной, равной толщине пластины, а торец диска диаметром 40-60 мм делят на четыре части двумя взаимно перпендикулярными диаметрами.
4.3.6.
Количество образцов должно обеспечивать надежность результатов
не ниже 80 % при
относительной погрешности
не более 30 %.
4.4. Проведение испытания
4.4.1. Испытание раскалыванием
4.4.1.1. Образец помещают между клиньями, совмещая лезвия клиньев с одной из линий, нанесенной на образец сетки.
4.4.1.2. Приводя испытательную машину или пресс в действие, нагружают образец равномерно со скоростью 1-5 МПа/с до раскалывания сначала на бруски, затем по поперечным линиям на кубики полуправильной формы (две грани параллельные, шлифованные, а четыре грани образовались при раскалывании). Диски диаметром 40-60 мм раскалывают на четыре части.
4.4.1.3. При каждом раскалывании образца записывают разрушающую силу Р в килоньютонах и среднюю длину линии раскола в сантиметрах, которую измеряют штангенциркулем с погрешностью не более ± 0,05 см.
4.4.1.4. Для определения предела прочности при одноосном растяжении учитывают результаты испытаний, проведенных по линии раскола длиной не менее 20 мм, отстоящей от края пластины не менее чем на 0,5 ее толщины
4.4.2. Испытание сжатием
4.4.2.1. Испытание сжатием проводят после окончания испытания раскалыванием.
4.4.2.2. Образец кубообразной формы с предварительно замеренными линейными размерами параллельных торцов помещают одним торцом в центре нижней опорной плиты испытательной машины (пресса) между стальными плитами или в установочном устройстве и нагружают до разрушения равномерно со скоростью 1-5 МПа/с.
4.4.2.3. Дальнейшие операции - по п.п. 1.4.3. и 1.4.4.
4.5. Обработка результатов
4.5.1. Предел
прочности при одноосном растяжении (
) в МПа для каждого образца вычисляют по формуле
,
где Р - разрушающая сила, кН;
l - средняя длина линии раскола образца, см;
b - толщина пластины (диска), см.
4.5.2. Предел
прочности при одноосном сжатии (
) в МПа для каждого образца вычисляют по формуле
,
где Р - разрушающая сила, кН;
S - средняя площадь поперечного сечения образца, равная полусумме площадей верхнего и нижнего торцов образца до его разрушения, см2.
4.5.3. Обработка результатов испытаний образцов и погрешность вычислений - в соответствии с п.п. 1.5.2 и 1.5.3.
При обработке результатов определения предела прочности при одноосном растяжении породы в качестве числа проведенных единичных определений принимают общее число выполненных расколов.
(Измененная редакция, Изм. № 1).
Рекомендуемое
ПРИНЦИПИАЛЬНАЯ СХЕМА ЦЕНТРИРОВАНИЯ И ЗАКРЕПЛЕНИЯ ОБРАЗЦА В ОБОЙМАХ НАГРУЗОЧНОГО УСТРОЙСТВА
1. На концы образца 1 (см. чертеж) надевают обоймы 2.

1 - образец; 2 - обойма; 3 -
центрирующее кольцо;
4 - направляющая; 5 - скрепляющий материал
2. Для центрирования образца в обоймах устанавливают центрирующие кольца 3, обеспечивающие установку образца в обоймах с отклонением от центра, не превышающим требований п. 1.2.1 настоящего стандарта.
3. Обоймы цилиндрические, имеют одинаковый наружный диаметр.
4. Для обеспечения требуемой соосности обоймы в сборе с образцом помещают в направляющую 4 центрирующего устройства. Центрирование обойм осуществляют по наружному диаметру.
5. Обоймы прижимают к направляющей зажимом любой конструкции.
6. В полости боковой поверхности образца и внутренней поверхностью обойм заливают расплавленный сплав Вуда 5 или другой скрепляющий материал.
7. После затвердения скрепляющего материала зажим освобождают, образец с обоймами снимают с направляющей центрирующего устройства и с помощью соединительных элементов любой конструкции, обеспечивающих выполнение требований п. 1.2.1 настоящего стандарта, устанавливают в испытательной машине.
8. Растягивающее усилие от испытательной машины передается к образцу через обоймы.
Рекомендуемое
ОПРЕДЕЛЕНИЕ
НАДЕЖНОСТИ И ПОГРЕШНОСТИ РЕЗУЛЬТАТОВ
ИСПЫТАНИЯ, УТОЧНЕНИЕ НЕОБХОДИМОГО ЧИСЛА ОБРАЗЦОВ
Значение фактической
надежности
результатов испытания
устанавливают по таблице по заданному максимальному значению относительной
погрешности
(см. п.п. 1.3.6, 3.3.6, 4.3.6 настоящего стандарта), вычисленному
значению коэффициента вариации V и числу испытанных образцов n.
Если
определенное таким образом значение надежности
меньше заданного, то
испытывают дополнительное число образцов, которое устанавливают о таблице.
После испытания обработку результатов (см. п.
1.5.2) повторяют для нового числа образцов.
При невозможности испытания дополнительного числа образцов принимают
заданное значение надежности
и по таблице
устанавливают фактическую относительную погрешность
оценки средней
точности по пробе.
|
Значение отношения |
Надежность, %, при числе образцов |
||||||||||
|
2 |
3 |
4 |
5 |
6 |
7 |
8 |
9 |
10 |
11 |
12 |
|
|
0,4 |
33 |
44 |
52 |
58 |
63 |
66 |
70 |
74 |
76 |
79 |
81 |
|
0,6 |
45 |
59 |
68 |
75 |
80 |
84 |
87 |
89 |
91 |
92 |
94 |
|
0,8 |
54 |
71 |
79 |
85 |
90 |
92 |
94 |
96 |
96 |
98 |
98 |
|
1,0 |
61 |
77 |
86 |
91 |
94 |
96 |
97 |
98 |
99 |
99 |
99 |
|
1,2 |
66 |
82 |
90 |
94 |
96 |
98 |
99 |
99 |
100 |
100 |
100 |
|
1,4 |
70 |
86 |
93 |
96 |
98 |
99 |
99 |
100 |
100 |
100 |
100 |
|
1,6 |
73 |
89 |
95 |
98 |
99 |
99 |
100 |
100 |
100 |
100 |
100 |
|
|
|
|