//
ТехЛит.ру
- крупнейшая бесплатная электронная интернет библиотека для "технически умных" людей.
WWW.TEHLIT.RU - ТЕХНИЧЕСКАЯ ЛИТЕРАТУРА

:: Алготрейдинг::


АЛГОТРЕЙДИНГ
шаг за шагом
с нуля по урокам!

Торговые роботы на PYTHON, BackTrader,
Pandas, Pine Script для TradingView. Связка с брокерами, телеграм и легкими приложениями.


ГОСУДАРСТВЕННЫЙ СТАНДАРТ СОЮЗА ССР

ПОРОДЫ ГОРНЫЕ

МЕТОД ОПРЕДЕЛЕНИЯ ПРЕДЕЛА ПРОЧНОСТИ ПРИ ИЗГИБЕ

ГОСТ 21153.6-75

ГОСУДАРСТВЕННЫЙ КОМИТЕТ СССР ПО СТАНДАРТАМ

Москва

 

ГОСУДАРСТВЕННЫЙ СТАНДАРТ СОЮЗА ССР

ПОРОДЫ ГОРНЫЕ

Метод определения предела прочности при изгибе

Rocks. Method for the determination of
bend strength limit

ГОСТ
21153.6-75

Постановлением Государственного комитета стандартов Совета Министров СССР от 25 сентября 1975 г. № 2491 срок действия установлен

с 01.07. 1976 г.

Проверен в 1981 г. Срок действия продлен

до 01.07. 1986 г.

Несоблюдение стандарта преследуется по закону

Настоящий стандарт распространяется на твердые горные породы с коэффициентом крепости по Протодьяконову f не менее 0,5 (прочность при одноосном сжатии не менее 50 - 80 кг/см2) и устанавливает метод определения предела их прочности при изгибе, используемого в технической документации при расчетах и проектировании горных работ, горного оборудования, а также при проведении научно-исследовательских работ.

Стандарт не распространяется на разрушенные и мерзлые горные породы.

Сущность метода заключается в определении разрушающей силы при изгибе образца породы, опирающегося на металлическое кольцо, при воздействии на него вертикальной нагрузки, передаваемой через кольцевой пуансон.

1.ОБЩИЕ ТРЕБОВАНИЯ

1.1. Общие требования - по ГОСТ 21153.0-75.

2. ОТБОР ПРОБ

2.1. Метод отбора проб - по ГОСТ 21153.0-75.

3. АППАРАТУРА И МАТЕРИАЛЫ

3.1. Оборудование, инструменты и материалы - по ГОСТ 21153.0-75 со следующим дополнением:

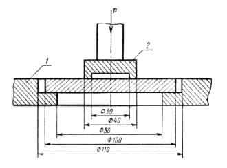
устройство испытательное (см. чертеж), состоящее из стального опорного кольца 1 кольцевого штампа 2.

 

4. ПОДГОТОВКА К ИСПЫТАНИЮ

4.1. Заготовки для образцов получают выбуриванием из проб керна диаметром 90 - 100 мм.

4.2. От полученных заготовок на камнерезной машине отрезают дискообразные образцы толщиной 10 ± 1 мм. Плоские поверхности образцов должны быть параллельны. Отклонения от параллельности, контролируемые индикатором в двух взаимно перпендикулярных направлениях, не должны превышать 0,1 мм по диаметру образца.

5. ПРОВЕДЕНИЕ ИСПЫТАНИЯ

5.1. Образец горной породы кладут на опорное кольцо, а сверху на него ставят кольцевой пуансон.

5.2. Отцентрировав испытательное устройство с образцом по вертикальной оси, помещают его между плитами пресса так, чтобы вертикальная ось устройства совмещалась с продольной осью пресса. Отклонения между осями при установке допускается не более 1-2 мм.

5.3. Приводят пресс в действие со скоростью нагружения образца по ГОСТ 21153.0-75. Выбранную скорость нагружения сохраняют до разрушения образца.

5.4. Записывают максимальную величину разрушающей образец силы, зафиксированную силоизмерителем пресса.

6. ОБРАБОТКА РЕЗУЛЬТАТОВ

6.1. Предел прочности горной породы при изгибе () в кг/см2 вычисляют для каждого испытанного образца по формуле

,

где Рmax - максимальная разрушающая сила, кг;

h - толщина образца, см.

Для практических расчетов с погрешностью не более 10 % с учетом, что h=1 см, предел прочности при изгибе вычисляют по формуле

.

 

 




Яндекс цитирования



   Copyright © 2007-2026,  www.tehlit.ru.

[ ѓосты, стандарты, нормативы, инструкции, правила, строительные нормы ]