//
ТехЛит.ру
- крупнейшая бесплатная электронная интернет библиотека для "технически умных" людей.
WWW.TEHLIT.RU - ТЕХНИЧЕСКАЯ ЛИТЕРАТУРА

:: Алготрейдинг::


АЛГОТРЕЙДИНГ
шаг за шагом
с нуля по урокам!

Торговые роботы на PYTHON, BackTrader,
Pandas, Pine Script для TradingView. Связка с брокерами, телеграм и легкими приложениями.


ТРУБЫ МЕТАЛЛИЧЕСКИЕ
И СОЕДИНИТЕЛЬНЫЕ ЧАСТИ
К НИМ

ЧАСТЬ 4

ТРУБЫ ИЗ ЧЕРНЫХ МЕТАЛЛОВ И СПЛАВОВ
ЛИТЫЕ И СОЕДИНИТЕЛЬНЫЕ ЧАСТИ К НИМ.

ОСНОВНЫЕ РАЗМЕРЫ.

МЕТОДЫ ТЕХНОЛОГИЧЕСКИХ ИСПЫТАНИЙ
ТРУБ

ГОСТ 8961-75*

Москва

ИПК ИЗДАТЕЛЬСТВО СТАНДАРТОВ

1998

ГОСУДАРСТВЕННЫЙ СТАНДАРТ СОЮЗА ССР

СОЕДИНИТЕЛЬНЫЕ ЧАСТИ ИЗ КОВКОГО ЧУГУНА
С ЦИЛИНДРИЧЕСКОЙ РЕЗЬБОЙ ДЛЯ ТРУБОПРОВОДОВ.

КОНТРГАЙКИ

Основные размеры

Dictile iron fittings with
parallel thread for pipelines.

Locknuts. Basic dimensions

ГОСТ
8961-75*

Взамен
ГОСТ
8961-59

Постановлением Государственного комитета стандартов Совета Министров СССР от 14.11.752901 дата введения установлена

01.01.77

Ограничение срока действия снято по протоколу Межгосударственного Совета по стандартизации, метрологии и сертификации (ИУС 2-93)

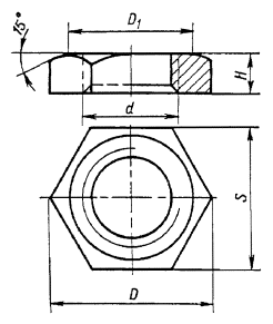
1. Основные размеры ниппелей должны соответствовать указанным на чертеже и в таблице.

Примечание. Чертеж не определяет конструкцию контргайки.

Размеры в мм

Условный проход Dy

Резьба d

H

s

D

D1

Масса без покрытия, кг, не более *

8

G 1/4 - B

6

22

25,4

20

0,013

10

G 3/8 - B

7

27

31,2

25

0,023

15

G 1/2 - B

8

32

36,9

30

0,034

20

G 3/4 - B

9

36

41,6

33

0,041

25

G 1 - B

10

46

53,1

43

0,077

32

G 11/4 - B

11

55

63,5

52

0,109

40

G 11/2 - B

12

60

69,3

56

0,127

50

G 2 - B

13

75

86,5

70

0,212

(65)

G 21/2 - B

16

95

110,0

90

0,425

(80)

G 3 - B

19

105

121,0

100

0,513

(100)

G 4 - B

21

135

156,0

128

0,938

* Для справок.

Примечания:

1. Масса оцинкованных соединительных частей не должна превышать массу неоцинкованных более чем на 5 %.

2. Контргайки с Dy, указанными в таблице в скобках, применять не рекомендуется.

Примеры условных обозначений

Контргайки без покрытия с Dy 50 мм:

Контргайка 50 ГОСТ 8961-75

То же, с цинковым покрытием:

Контргайка Ц-50 ГОСТ 8961-75

(Измененная редакция, Изм. № 1).

2. Конструктивные размеры и технические требования - по ГОСТ 8944-75.




Яндекс цитирования



   Copyright © 2007-2026,  www.tehlit.ru.

[ ѓосты, стандарты, нормативы, инструкции, правила, строительные нормы ]