//
ТехЛит.ру
- крупнейшая бесплатная электронная интернет библиотека для "технически умных" людей.
WWW.TEHLIT.RU - ТЕХНИЧЕСКАЯ ЛИТЕРАТУРА

:: Алготрейдинг::


АЛГОТРЕЙДИНГ
шаг за шагом
с нуля по урокам!

Торговые роботы на PYTHON, BackTrader,
Pandas, Pine Script для TradingView. Связка с брокерами, телеграм и легкими приложениями.


МЕЖГОСУДАРСТВЕННЫЙ СТАНДАРТ

Система несущих конструкций серии 482,6 мм

ШКАФЫ И СТОЕЧНЫЕ КОНСТРУКЦИИ

Основные размеры

ГОСТ 28601.2-90

System of bearing structures of the 482,6 mm series.

Cabinets and rack structures. Main dimensions

 

СОДЕРЖАНИЕ

Дата введения 01.01.91

1. ОБЛАСТЬ РАСПРОСТРАНЕНИЯ

Настоящий стандарт устанавливает основные размеры свободно стоящих шкафов, а также закрепленных стоечных конструкций, используемых в практике электронного оборудования стоек и панелей серии 482,6 мм.

Стандарт устанавливает обязательные требования.

2. ОПРЕДЕЛЕНИЯ

Шкаф - независимо устанавливаемая, самоподдерживающая конструкция, предназначенная для размещения в ней электронного оборудования, которая может использоваться отдельно или в комбинации с другими шкафами, установленными в ряд. Шкаф может иметь или не иметь цоколь, ножки, ролики, ножки на колесах и т.д., в зависимости от нагруженности и мобильности.

Шкаф может быть снабжен дверьми и (или) боковыми стенками с одной или нескольких сторон в соответствии с требованиями эксплуатации.

Шкаф может иметь цельные и вмонтированные вертикальные элементы, позволяющие закреплять на них панели, соответствующие ГОСТ 28601.1.

Стойка - металлическая конструкция без дверей или обшивки.

3. ШКАФ

Основные размеры шкафа указаны на черт. 1 и в таблице.

Черт. 1

Примечания:

1. Значения Н и D представляют собой габаритные размеры шкафа, на которые назначаются стандартные производственные допуски. Размер высоты шкафа включает размер высоты ножки любой формы.

2. Для ряда размеров высоты выбрано приращение 200 мм (2×200 мм = 9U).

3. Шаг Р является теоретическим расстоянием между условными линиями при установке шкафов в ряд.

Размер ширины W < P и допуск на этот размер следует выбирать так, чтобы при установке шкафов в ряд был выдержан требуемый шаг.

В особых случаях размер шага может быть другим, при этом приращение должно быть равно 100 мм.

4. Ряд значений размера глубины составлен на основе приращения 200 мм. Промежуточный размер 450 мм представляет собой значение, рекомендованное для использования в телефонии и телеграфии.

5. Величина S определяет размер вертикального проема для установки панелей и блочных каркасов и является только типоразмером. Величина U - вертикальное приращение, равное 44,45 мм согласно ГОСТ 28601.1 (см. разд. 2). Величина п, указанная в таблице, является предпочтительной, п - целое число.

6. Крепежные размеры - по ГОСТ 28601.1.

мм

H

S

n×U

Р

W < P

D

725

11×U

550*; 600; 700**; 800***; 900; 1000

400; 450*4; 650*5; 800; 900

800

13×U

1000

18×U

1200

22×U

1400

27×U

1600

31×U

1800

36×U

2000

40×U

2200

45×U

* Применяют в случаях, когда место размещения ограничено размером менее 600 мм и боковая кабельная разводка шкафа минимальна.

** Применяют главным образом в конструкциях с поворотной рамой.

*** Для шкафов шириной 800 мм ширина проходного окна настоящим стандартом не устанавливается.

*4 Применяют в телефонии и телеграфии; используют для установки приспособлений профилактического обслуживания, ребер охлаждения и крышек с передней и задней сторон до общего увеличения габарита глубины 520 мм.

*5 Не рекомендуется для применения в новых разработках.

4. ЗАКРЕПЛЕННЫЕ СТОЕЧНЫЕ КОНСТРУКЦИИ

Закрепленная стоечная конструкция - ряд парных вертикальных элементов, расположенных с заданным шагом, прикрепленных к полу нижней частью и потолку и/или к стене верхней частью. Каждая пара вертикальных элементов позволяет установить на нее панели и т.д. в соответствии с ГОСТ 28601.1. Шаг закрепленных стоечных конструкций равен теоретическому расстоянию между центрами стоек.

Каждый из вертикальных стоечных элементов может быть изготовлен как одно целое с соседним прилегающим к нему вертикальным стоечным элементом либо быть изготовлен отдельно при условии сохранения величины шага.

Настоящий стандарт не устанавливает размеров таких конструкций по высоте и глубине.

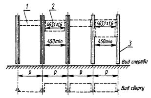
5. ШАГИ ЗАКРЕПЛЕННЫХ СТОЕЧНЫХ КОНСТРУКЦИЙ

Шаги закрепленных стоечных конструкций - это расстояния между условными осями, ограничивающими размещение стоек при установке их в ряд.

Шаги закрепленных стоечных конструкций указаны на черт. 2.

1- панель; 2- блочный каркас; 3- вертикальная стойка Р - 500, 525, 550 или 600 мм

Черт. 2

ПРИЛОЖЕНИЕ
Обязательное

СВЕДЕНИЯ О СООТВЕТСТВИИ ССЫЛОК НА СТАНДАРТЫ СЭВ ССЫЛКАМ НА ГОСУДАРСТВЕННЫЕ СТАНДАРТЫ

Раздел, в котором приведена ссылка

Обозначение стандарта СЭВ

Обозначение государственного стандарта

2 - 4

СТ СЭВ 834-89

ГОСТ 28601.1-90

ИНФОРМАЦИОННЫЕ ДАННЫЕ

1. ВНЕСЕН Министерством электротехнической промышленности и приборостроения СССР

2. Постановлением Государственного комитета СССР по управлению качеством продукции и стандартам от 28.06.90 № 2003 стандарт Совета Экономической Взаимопомощи СТ СЭВ 6688-89 «Система несущих конструкций серии 482,6 мм. Шкафы и стоечные конструкции. Основные размеры» введен в действие непосредственно в качестве государственного стандарта СССР с 01.01.91

3. Стандарт эквивалентен международному стандарту МЭК 297-2

4. ВЗАМЕН ГОСТ 26.204-83 в части шкафов и стоечных конструкций

5. ССЫЛОЧНЫЕ НОРМАТИВНО-ТЕХНИЧЕСКИЕ ДОКУМЕНТЫ

Обозначение НТД, на который дана ссылка

Номер раздела

ГОСТ 28601.1-90

2 - 4

6. Ограничение срока действия снято по протоколу № 5-94 Межгосударственного совета по стандартизации, метрологии и сертификации (ИУС 11-12-94)

7. ПЕРЕИЗДАНИЕ




Яндекс цитирования