//
ТехЛит.ру
- крупнейшая бесплатная электронная интернет библиотека для "технически умных" людей.
WWW.TEHLIT.RU - ТЕХНИЧЕСКАЯ ЛИТЕРАТУРА

:: Алготрейдинг::


АЛГОТРЕЙДИНГ
шаг за шагом
с нуля по урокам!

Торговые роботы на PYTHON, BackTrader,
Pandas, Pine Script для TradingView. Связка с брокерами, телеграм и легкими приложениями.


ГОСТ 29064-91

МЕЖГОСУДАРСТВЕННЫЙ СТАНДАРТ

ТОПЛИВА ДЛЯ ГАЗОТУРБИННЫХ
И ПОРШНЕВЫХ ДВИГАТЕЛЕЙ

ЭКСПРЕСС-МЕТОДЫ КОНТРОЛЯ КАЧЕСТВА

ИПК ИЗДАТЕЛЬСТВО СТАНДАРТОВ

Москва

МЕЖГОСУДАРСТВЕННЫЙ СТАНДАРТ

ТОПЛИВА ДЛЯ ГАЗОТУРБИННЫХ И ПОРШНЕВЫХ ДВИГАТЕЛЕЙ

Экспресс-методы контроля качества

Fuel oils for turbine and piston engines.
Express-methods for quality control

ГОСТ
29064-91

Дата введения 01.07.92

Настоящий стандарт устанавливает экспресс-методы для предварительной оценки качества топлив для газотурбинных и поршневых двигателей.

Показатели качества определяют в следующей последовательности:

- механические примеси, эмульсионная вода, кристаллы льда;

- плотность, цвет и прозрачность;

- ПВК жидкости (противоводокристаллизационные жидкости);

- водорастворимые кислоты и щелочи;

- отстойная вода в цистернах и резервуарах.

При необходимости допускается определять любой из перечисленных показателей. Термины, применяемые в настоящем стандарте, и пояснения к ним приведены в приложении.

1. АППАРАТУРА, РЕАКТИВЫ И МАТЕРИАЛЫ

Индикатор портативный ПЭК-Т по ТУ 38.44710262 в комплекте с индикаторными элементами ИКТ по ТУ 95.320 и ВКЩ, индикаторными трубками ПВК по ТУ 205 Арм ССР 010-43. Паста водочувствительная (ВЧП) по ТУ 205 Арм ССР 010-58 или аналогичная. Растворитель по ГОСТ 8505. Ткань хлопчатобумажная белая любого сорта.

2. ОТБОР ПРОБ

Отбор проб - по ГОСТ 2517 с помощью пробоотборника от ПЭК-Т.

3. ПОДГОТОВКА К ИСПЫТАНИЮ

Подготовка ПЭК-Т и его комплектующих элементов к испытаниям проводится в соответствии с «Техническим описанием и инструкцией по эксплуатации».

4. ПРОВЕДЕНИЕ ИСПЫТАНИЙ И ОБРАБОТКА РЕЗУЛЬТАТОВ

4.1. Определение механических примесей эмульсионной воды и кристаллов льда

4.1.1. Механические примеси определяют на индикаторе ПЭК-Т способом фильтрационной мембранографии, эмульсионную воду - способом хемосорбционной мембранографии и кристаллы льда - сочетанием обоих способов с использованием индикаторных элементов ИКТ (индикатор качества топлива для определения механических примесей, эмульсионной воды и кристаллов льда).

4.1.2. Проведение испытания

4.1.2.1. Открывают зажимное устройство шприца-дозатора индикатора ПЭК-Т, вскрывают пакет с индикаторными элементами ИКТ. Один из них вставляют в зажим шприца-дозатора так, чтобы белая мембрана элемента была обращена в сторону подвижной части зажимного устройства и закрывают зажим.

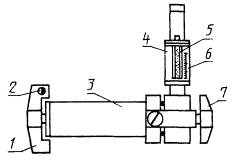
4.1.2.2. Шприц-дозатор вместимостью (50 ± 2) см3 присоединяют к пробоотборнику в верхнем вертикальном положении (черт. 1). Вращением рукоятки винта против часовой стрелки до упора в шприц-дозатор вводят топливо из пробоотборника индикатора.

Схема портативного индикатора ПЭК-Т при определении механических примесей, эмульсионной воды, кристаллов льда, водорастворимых кислот и щелочей

1 - рукоятка винта; 2 - резак; 3 - шприц-дозатор; 4 - пробоотборник; 5 - зажимное устройство; 6 - индикаторные элементы ИКТ или ВКЩ

Черт. 1

4.1.2.3. Через 3 - 5 с после заполнения топливом шприца-дозатора открывают зажим, извлекают элемент ИКТ и раскрывают его. После извлечения элемента ИКТ закрывают зажим.

При температурах ниже 0 °С перед раскрытием индикаторного элемента делают выдержку около 60 с, так как при отрицательных температурах скорость химической реакции между водой и нанесенными на индикаторный элемент солями уменьшается.

4.1.3. Обработка результатов

4.1.3.1. Наличие механических примесей определяют сравнением цвета отпечатков, образовавшихся на испытуемой белой мембране индикаторного элемента, с цветом контрольных пластинок, окрашенных в серый или коричневый цвет. Для этого индикаторный элемент с отпечатками помещают на белую пластину и накрывают контрольной пластинкой.

Если отпечатки светлее контрольной пластинки, то механические примеси отсутствуют. Если отпечатки темнее контрольной пластинки, то механические примеси присутствуют.

4.1.3.2. Эмульсионную воду в топливе определяют по образовавшимся сине-голубым отпечаткам на желтой мембране индикаторного элемента. При отсутствии сине-голубых отпечатков считают, что в топливе не содержится эмульсионной воды. Образование хотя бы одного отпечатка принимают за присутствие эмульсионной воды.

4.1.3.3. Кристаллы льда определяют по образовавшимся сине-голубым отпечаткам на белой мембране после ее контакта с обратной стороной желтой мембраны в условиях нагрева места контакта пальцами руки в течение 10 - 15 с. Образование сине-голубых отпечатков на белой мембране принимают за присутствие кристаллов льда. Если на белой мембране нет сине-голубых отпечатков, то в топливе кристаллы льда отсутствуют.

4.1.3.4. За результат анализа принимают совпадающие значения, полученные при проведении двух последовательных определений.

4.2. Определение плотности, цвета и прозрачности

4.2.1. Плотность топлив определяют денсиметрическим способом, цвет и прозрачность - визуально с использованием плотномера-колориметра индикатора ПЭК-Т.

4.2.2. Проведение испытания

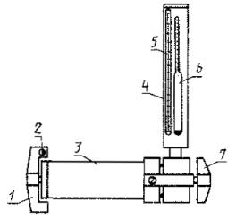
4.2.2.1. Пробоотборник отсоединяют от шприца-дозатора и на его место ввинчивают по резьбе плотномер-колориметр (черт. 2). Вращением рукоятки винта по часовой стрелке заполняют топливом плотномер-колориметр до момента всплытия ареометра.

Схема портативного индикатора ПЭК-Т при определении плотности, цвета и прозрачности

1 - рукоятка винта; 2 - резак; 3 - шприц-дозатор; 4 - плотномер-колориметр; 5 - термометр; 6 - ареометр АОН-1; 7 - зажимное устройство

Черт. 2

4.2.2.2. Отсчет плотности топлива проводят по нижнему мениску на ареометре, одновременно фиксируют по термометру температуру топлива.

4.2.2.3. По номограмме, приведенной на планшете индикатора ПЭК-Т, определяют плотность топлива при 20 °С.

4.2.2.4. Для последующего определения плотности откачивают топливо из плотномера-колориметра вращением винта против часовой стрелки до упора и снова заполняют плотномер-колориметр топливом. После этого вновь проводят определение по п. 4.2.2.2 - 4.2.2.3.

4.2.3. Обработка результатов и точность метода

4.2.3.1. За результат испытания плотности принимают среднеарифметическое значение двух определений.

4.2.3.2. Сходимость

Два результата определения плотности, полученные одним лаборантом на одном индикаторе, признаются достоверными с доверительной вероятностью 95 %, если расхождения между ними не превышают 1 кг/м3.

4.2.3.3. Воспроизводимость

Два результата определения плотности, полученные в двух разных лабораториях, признаются достоверными с доверительной вероятностью 95 %, если расхождения между ними не превышают 2 кг/м3.

4.2.4. Цвет и прозрачность топлива в плотномере-колориметре оценивают визуально в проходящем свете.

4.2.4.1. За результат определения цвета и прозрачности топлива принимают совпадающие значения, полученные при проведении двух последовательных определений.

4.3. Определение ПВК жидкостей

4.3.1. Содержание ПВК жидкостей определяют хемосорбционным хроматографическим способом с использованием индикаторных трубок ПВК.

4.3.2. Проведение испытания

4.3.2.1. Индикаторную трубку извлекают из кассеты и делают два надреза по меткам на трубке о ребро кассеты с режущим составом или резаком на рукоятке винта индикатора ПЭК-Т. Затем отламывают концы трубки с двух сторон и уплотняют адсорбент постукиванием и трамбованием.

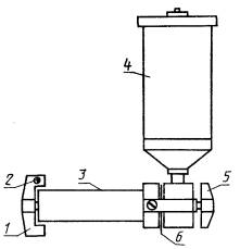
4.3.2.2. Извлекают хроматографическую приставку (черт. 3) из футляра индикатора и вставляют в нее до упора индикаторную трубку узким концом по месту отреза вперед. После этого хроматографическую приставку соединяют ввинчиванием по резьбе со шприцем-дозатором.

Схема портативного индикатора ПЭК-Т при определении содержания ПВК жидкостей

1 - рукоятка винта; 2 - резак; 3 - шприц-дозатор; 4 - хроматографическая приставка; 5 - индикаторная трубка ПВК; 6 - оценочная шкала; 7 - зажимное устройство

Черт. 3

4.3.2.3. Определение содержания ПВК жидкостей в топливах для реактивных двигателей на индикаторе ПЭК-Т проводят после предыдущих определений, когда шприц-дозатор заполнен топливом. Если ранее определения не проводились, то шприц-дозатор предварительно заполняют топливом из пробоотборника с помощью вращения рукоятки винта против часовой стрелки до упора.

4.3.2.4. Топливо из шприца-дозатора выдавливают через индикаторную трубку в измерительную бюретку до метки вращением рукоятки винта по часовой стрелке. Из шприца-дозатора топливо выдавливают не менее 4 мин со скоростью, указанной в инструкции по эксплуатации ПЭК-Т.

После прохождения топлива через индикаторную трубку в нижней ее части образуется обесцвеченная зона, в которой адсорбировалась ПВК жидкость.

4.3.2.5. Последующее определение ПВК жидкости в топливе проводят на другой индикаторной трубке.

4.3.3. Обработка результатов

4.3.3.1. Содержание ПВК жидкости в топливе определяют по длине обесцвеченной зоны адсорбции жидкости в индикаторной трубке с помощью оценочной шкалы, нанесенной на хроматографическую приставку в объемных процентах.

4.3.3.2. Массовую долю ПВК жидкости в топливе в процентах вычисляют по формуле

Ам = Ао · ρпт,

где Ам - массовая доля ПВК жидкости, %;

Ао - объемная доля ПВК жидкости, %;

ρп - плотность ПВК жидкости при температуре испытания, кг/м3;

ρт - плотность топлива при температуре испытания, кг/м3.

Примечание. Соотношение ρпт устанавливают при приготовлении смеси ПВК жидкости с топливом, оно является постоянной величиной для данной смеси во всем интервале температур применения.

4.3.3.3. За результат определения содержания ПВК жидкости принимают среднеарифметическое значение результатов двух определений, округленное до второго десятичного знака.

4.3.3.4. Сходимость

Два результата испытаний, полученные одним лаборантом на одном приборе, признаются достоверными с доверительной вероятностью 95 %, если расхождения между ними не превышают 0,03 % (по объему), при концентрации ПВК жидкости от 0,1 % до 0,3 %.

4.3.3.5. Воспроизводимость

Два результата испытаний, полученные в двух разных лабораториях при испытании одной и той же пробы топлива, признаются достоверными с доверительной вероятностью 95 %, если расхождения между ними не превышают 0,05 % (по объему) при концентрации ПВК жидкости от 0,1 % до 0,3 %.

4.4. Определение водорастворимых кислот и щелочей

4.4.1. Содержание водорастворимых кислот и щелочей определяют хемосорбционной мембранографией с использованием трехмембранных индикаторных элементов ВКЩ.

4.4.2. Проведение испытания

4.4.2.1. Для проведения испытания перемещают подвижную часть шприца-дозатора вверх. Вскрывают пакет с индикаторными элементами ВКЩ и один из них вставляют в разъем датчика. Затем подвижную часть датчика шприца-дозатора перемещают вниз, а шприц-дозатор соединяют с пробоотборником, освобожденным от испытуемого топлива (см. черт. 1).

4.4.2.2. Вращением рукоятки винта по часовой стрелке до упора из шприца-дозатора индикатора выдавливают через ИЭ-ВКЩ в нижнюю часть пробоотборника все топливо, находящееся в шприце. Топливо используют для промывки пробоотборника.

4.4.2.3. После окончания выдавливания делают выдержку около 3-5 с, открывают датчик и извлекают из него индикаторный элемент. Раскрывают мембраны и проводят оценку образовавшихся на ней отпечатков.

4.4.3. Обработка результатов

4.4.3.1. Если на желтой мембране имеется хотя бы один красный отпечаток - в топливе присутствуют водорастворимые кислоты. Если красных отпечатков не наблюдается - водорастворимые кислоты в топливе отсутствуют.

4.4.3.2. Если на белой мембране имеется хотя бы один розовый отпечаток - в топливе присутствуют водорастворимые щелочи. Если розовых отпечатков не наблюдается - водорастворимые щелочи в топливе отсутствуют.

4.4.3.3. За результат анализа принимают совпадающие значения, полученные при проведении двух последовательных определений.

4.5. Определение отстойной воды в цистернах и резервуарах

4.5.1. Отстойную воду в цистернах и резервуарах определяют индикаторным хемосорбционным способом с использованием водочувствительной пасты (ВЧП).

4.5.2. Проведение испытания

4.5.2.1. Пробоотборник или ленту рулетки протирают досуха хлопчатобумажной тканью. На наружную поверхность снизу пробоотборника на высоту 150-300 мм наносят ВЧП тонким слоем шпателем или деревянной пластинкой. Слой ВЧП должен быть непрерывным.

Примечание. Если ВЧП упакована в полиэтиленовую банку и наблюдается некоторое ее расслоение, то необходимо перемешать шпателем до получения однородной консистенции.

4.5.2.2. Пробоотборник индикатора ПЭК-Т с нанесенной ВЧП опускают до дна цистерны или резервуара с топливом и выдерживают в погруженном состоянии не менее 5 с.

4.5.2.3. После этого пробоотборник извлекают из резервуара и проводят визуальную оценку изменения цвета слоя ВЧП.

Если оранжевый цвет не изменился - отстойная вода в резервуаре отсутствует. Изменение оранжевого цвета ВЧП на малиновый принимают за присутствие отстойной воды.

4.5.2.4. Измеряют длину окрашенной в малиновый цвет полосы ВЧП и по калибровочным таблицам для железнодорожных цистерн и резервуаров определяют количество отстойной воды. Точность измерения 1 см.

4.5.3. Обработка результатов

4.5.3.1. За результат определения уровня отстойной воды принимают среднеарифметическое значение двух последовательных определений, если расхождение между ними не превышает 1 см.

ПРИЛОЖЕНИЕ

Справочное

Термины, применяемые в настоящем стандарте, и пояснения к ним

Термин

Пояснение

1. Вода отстойная

Нерастворенная вода в виде отдельного слоя на дне цистерн и резервуаров

2. Вода эмульсионная

Нерастворенная вода, находящаяся в топливах во взвешенном состоянии или осевшая на стенках и дне стеклянной тары в виде мелких капель

3. Хроматография хемосорбционная

Выделение анализируемого компонента из смеси на индикаторном адсорбенте, с которым он вступает в химическое взаимодействие, с образованием нового окрашенного соединения

4. Мембранография фильтрационная

Определение механических примесей фильтрованием через мембрану, на которой образуются цветные отпечатки

5. Мембранография хемосорбционная

Выделение анализируемого компонента из смеси на индикаторной мембране, с которой он вступает в химическое взаимодействие, с образованием нового окрашенного соединения

6. Экспресс-метод

Метод, аналогичный существующему по достигаемой цели, но с минимальной временной реализацией

ИНФОРМАЦИОННЫЕ ДАННЫЕ

1. РАЗРАБОТАН И ВНЕСЕН войсковой частью 74242

2. УТВЕРЖДЕН И ВВЕДЕН В ДЕЙСТВИЕ Постановлением Государственного комитета СССР по управлению качеством продукции и стандартам от 27.06.91 № 1091

3. ВВЕДЕН ВПЕРВЫЕ

4. ССЫЛОЧНЫЕ НОРМАТИВНО-ТЕХНИЧЕСКИЕ ДОКУМЕНТЫ

Обозначение НТД, на который дана ссылка

Номер раздела

ГОСТ 2517-85

2

ГОСТ 8505-80

1

ТУ 38.44710262-90

1

ТУ 95.320-87

1

ТУ 205 Арм ССР 010-43-88

1

ТУ 205 Арм ССР 010-58-99

1

5. ПЕРЕИЗДАНИЕ. Сентябрь 2004 г.

СОДЕРЖАНИЕ

 




Яндекс цитирования



   Copyright © 2007-2026,  www.tehlit.ru.

[ ѓосты, стандарты, нормативы, инструкции, правила, строительные нормы ]