//
ТехЛит.ру
- крупнейшая бесплатная электронная интернет библиотека для "технически умных" людей.
WWW.TEHLIT.RU - ТЕХНИЧЕСКАЯ ЛИТЕРАТУРА

:: Алготрейдинг::


АЛГОТРЕЙДИНГ
шаг за шагом
с нуля по урокам!

Торговые роботы на PYTHON, BackTrader,
Pandas, Pine Script для TradingView. Связка с брокерами, телеграм и легкими приложениями.


ГОСТ 29087-91

(ИСО 352-81)

МЕЖГОСУДАРСТВЕННЫЙ СТАНДАРТ

ТОПЛИВО ТВЕРДОЕ
МИНЕРАЛЬНОЕ

МЕТОД ОПРЕДЕЛЕНИЯ ХЛОРА СЖИГАНИЕМ
ПРИ ВЫСОКОЙ ТЕМПЕРАТУРЕ

ИПК ИЗДАТЕЛЬСТВО СТАНДАРТОВ

Москва

МЕЖГОСУДАРСТВЕННЫЙ СТАНДАРТ

ТОПЛИВО ТВЕРДОЕ МИНЕРАЛЬНОЕ

Метод определения хлора сжиганием при высокой температуре

Solid mineral fuels. Determination of chlorine.
High temperature combustion method

ГОСТ
29087-91

(ИСО 352-81)

Дата введения 01.01.93

1. НАЗНАЧЕНИЕ И ОБЛАСТЬ ПРИМЕНЕНИЯ

Настоящий стандарт устанавливает метод определения хлора в твердом минеральном топливе путем сжигания при высокой температуре. Альтернативный метод определения хлора приведен в ГОСТ 9326.

Примечание. Дополнения и изменения, допускаемые к применению в народном хозяйстве в комплексе с требованиями настоящего стандарта, приведены в приложении.

2. СУЩНОСТЬ МЕТОДА

Пробу сжигают в потоке кислорода в трубчатой печи при температуре от 1250 до 1350 °С. Образующиеся кислые газы (хлор и оксиды серы) поглощают перекисью водорода. Кислый раствор нейтрализуют тетраборатом натрия и образующийся хлорид натрия по реакции с оксицианидом ртути (II) превращают в гидроксид натрия, который определяют объемным методом.

3. РЕАКТИВЫ

Все реактивы должны быть квалификации ч.д.а. Используют только дистиллированную воду или воду эквивалентной чистоты.

3.1. Каолин.

3.2. Фосфат железа (III), если определение проводят при 1250 °С.

3.3. Оксид алюминия (глинозем), тонко измельченный, если определение проводят при 1350 °С.

3.4. Перекись водорода, раствор, содержащий 30 см3 30 маc. %-ного Н2О2 в литре, нейтрализованный раствором тетрабората натрия по смешанному индикатору.

3.5. Оксицианид ртути (II), насыщенный раствор при 20 °С (приблизительно 45 г/дм3 раствора). Необходимый объем дистиллированной воды насыщают оксицианидом ртути (II) 3Hg(CN)2 · HgO* при длительном перемешивании; фильтруют и нейтрализуют фильтрат серной кислотой, используя в качестве внешнего индикатора бромтимоловый голубой. Раствор хранят в темной склянке не более 4 сут.

* Внимание: это соединение и его раствор токсичны, следует обращаться с большой осторожностью.

3.6. Тетраборат натрия 10-водный, стандартный раствор с (1/2 Na2B4O7 · 10H2O) = 0,050 моль/дм3.

3.7. Кислота серная, стандартный раствор с (1/2Н2О4) = 0,025 моль/дм3.

3.8. Растворы смешанного индикатора.

Раствор А. Растворяют 0,125 г 4-диметиламиноазобензол-2-карбоновой кислоты (метиловый красный) в 60 см3 этанола или технического спирта и разбавляют водой до 100 см3.

Раствор В. Растворяют 0,083 г хлористого 3,7-бисдиметиламинофеназтиония (метиленовый голубой) в 100 см3 этанола или технического спирта. Хранят в темной склянке.

Смешивают равные объемы растворов А и В. Смешанный раствор годен к применению в течение недели.

4. АППАРАТУРА

Обычная лабораторная аппаратура и градуированная стеклянная посуда (см. приложение).

4.1. Печь, обеспечивающая максимальный нагрев трубки, наружным диаметром приблизительно 28 мм и длиной 150 мм, до температуры 1250 - 1350 °С. Печь с электрическим нагревом, который осуществляется с помощью стержней сопротивления из карбида кремния (регулируемая трансформатором переменного тока) или с помощью спирали сопротивления (регулируемая реометром переменного сопротивления).

4.2. Трубка из глиноземного фарфора наружным диаметром 28 мм, толщиной стенки 3 мм и длиной 650 мм, газонепроницаемая при рабочей температуре. Наиболее удобной является прямая трубка, соединенная с помощью жаропрочной пробки (например, из акрилонитрила или хлоропрена) с трубкой-приемником из плавленного кварца с конусообразным концом, вставленным в нагревательную трубку и образующим узкий зазор с ее внутренней стенкой. Фарфоровая трубка может иметь на выходе оттянутый конец с патрубком, чтобы после определения можно было вымыть из трубки продукты конденсации. Прямая фарфоровая трубка может быть соединена с трубкой-приемником из боросиликатного стекла, конец которой имеет форму колпачка, плотно прилегающего (притертого) к наружной поверхности нагревательной трубки.

4.3. Баллон с кислородом, снабженный игольчатым клапаном для регулирования скорости потока кислорода и прибором для измерения скорости потока газа до 500 см3/мин. Для предосторожности кислород пропускают через U-образую трубку, наполненную натронным асбестом.

4.4. Лодочки для сжигания из неглазурованного фарфора, не содержащего железа, длиной 62,5 нм, шириной 12,5 мм и глубиной 10 мм.

4.5. Проволока жаропрочная толщиной приблизительно 1,5 мм с изогнутым концом для удаления лодочки из трубки.

4.6. Кварцевый толкатель с дискообразным концом для проталкивания лодочки в нагретую зону. Толкатель проходит через Т-образную трубку, которая вставлена в пробку, закрывающую входное отверстие трубки для сжигания, и укреплен с помощью резиновой втулки, которая закрывает свободный конец Т-образной трубки. Втулка предотвращает утечку кислорода (подача кислорода проводится в отвод Т-образной трубки), но не препятствует движению толкателя.

Примечание. Резиновую втулку следует периодически менять для предотвращения утечки.

4.7. Два поглотителя вместимостью приблизительно 150 см3, представляющие собой большие поглотительные трубки, или широкогорлые склянки, или склянки Дрекселя. В каждом сосуде на уровне поступления газов расположен диск из пористого стекла (размер пор 15 - 40 мм). Диаметр диска должен быть таким, чтобы диск был погружен в поглотительный раствор на глубину 25 мм. Трубку-поглотитель или реакционную трубку с патрубком соединяют с первым поглотителем и последовательно - со вторым поглотителем.

Можно использовать один узкий поглотитель с диском из пористого стекла (размер пор от 15 до 40 мм), диаметром около 35 мм и длиной 150 мм, причем борботер должен быть опущен на глубину не менее 90 мм.

Чтобы предотвратить утечку газов через резиновую втулку на входе в реакционную трубку из-за сопротивления, которое оказывает борботер из пористого стекла потоку газа, ко второму поглотителю присоединяют водяной насос через ртутный регулятор давления, который снабжен трубкой, один конец которой открыт, а другой погружен в ртуть.

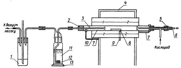
Установка для определения хлора представлена на чертеже.

Схема установки для определения хлора

1 - ртуть; 2 - жаростойкая пробка; 3 - трубка-приемник; 4 - печь; 5 - резиновая втулка; 6 - кварцевый толкатель; 7 - опора для трубки; 8 - лодочка; 9 - термопара; 10 - трубка для сжигания; 11 - раствор перекиси водорода; 12 - диск из пористого стекла (размер пор 15 - 40 мкм); 13 - склянка для очистки газа

5. ПОДГОТОВКА ПРОБЫ

Для определения хлора используют аналитическую пробу, измельченную до прохождения через сито с отверстиями размером 200 мкм (см. приложение). При необходимости перед определением пробу распределяют тонким слоем и выдерживают в течение минимального времени, которое необходимо для установления приблизительного равновесия между влажностью пробы и влажностью атмосферы в лаборатории.

Перед началом определения воздушно-сухую аналитическую пробу тщательно перемешивают в течение 1 мин, предпочтительно механическим способом.

6. ПРОВЕДЕНИЕ АНАЛИЗА

Температуру печи поднимают до 1250 или 1350 °С. Взвешивают около 0,5 г пробы с точностью до 0,1 мг, помещают в лодочку для сжигания и равномерно распределяют по дну лодочки.

Если определение проводят при 1250 °С, то пробу покрывают около 0,5 г каолина (п. 3.1) или 0,15 г фосфата железа (III) (п. 3.2); если определение проводят при 1350 °С, то пробу покрывают около 0,5 г оксида алюминия (п. 3.3) (см. примечание 1). Отмеряют 100 см3 раствора перекиси водорода (п. 3.4) и делят это количество между двумя поглотителями или наливают целиком в один поглотитель.

Водяной насос регулируют так, чтобы через поглотитель (поглотители) проходил достаточно большой поток воздуха с постоянной скоростью, судя по регулятору давления. В трубку для сжигания вставляют трубку-приемник и укрепляют пробку. Скорость кислорода устанавливают около 300 см3/мин.

Помещают загруженную лодочку в трубку для сжигания со стороны входного отверстия так, чтобы расстояние от ее центра до центра высокотемпературной зоны печи составляло 240 мм, закрывают входное отверстие трубки пробкой с толкателем и трубкой для подачи кислорода. В конце каждого из шести последующих одноминутных периодов проталкивают лодочку вперед на 40 мм, всякий раз отводя толкатель назад для предотвращения его разрушения. После последнего перемещения лодочка должна находиться в центре высокотемпературной зоны (см. примечание 2). Оставляют ее там на 4 мин. Поглотитель (поглотители) отсоединяют и лодочку извлекают и помещают на подставку из асбеста.

Промывают трубку-приемник, собирая промывные воды в один поглотитель или в первый из двух поглотителей; содержимое поглотителя (поглотителей) переносят в коническую колбу вместимостью 250 см3, затем промывают поглотитель (поглотители), собирая промывные воды в ту же колбу. Добавляют 2 или 3 капли раствора смешанного индикатора и титруют раствором тетрабората натрия (п. 3.6). Результат соответствует общей кислотности раствора, образующейся за счет хлора и оксидов серы, согласно следующим реакциям:

SO2 + Н2О2 H2SO4

Сl2 + Н2О2 2НСl + О2.

После титрования хлорид-ион присутствует в виде хлорида натрия. Добавляют 20 см3 раствора оксицианида ртути (II) (п. 3.5) (с достаточным избытком для проб, содержащих до 1,2 % хлора) для превращения хлорида натрия в гидроксид натрия:

NaCl + Hg(OH)CN HgClCN + NaOH.

Выделяющуюся щелочь титруют раствором серной кислоты.

Примечания:

1. Использование такого покрывающего материала, как тонкоизмельченный оксид алюминия, предотвращает быстрое разложение пробы, выброс ее из лодочки и отложение сажи в трубке. Если используемый оксид алюминия имеет высокое содержание хлора, его прокаливают при 1350 °С в течение 30 мин в потоке кислорода, охлаждают и хранят до определения в плотно закрытой банке.

2. Для некоторых топлив, из которых выделение летучих веществ происходит с большой скоростью, на ранних стадиях нагревания возможен унос частиц сажи. Для уменьшения скорости продвижения лодочки помещают загруженную лодочку так, чтобы расстояние от ее центра до центра высокотемпературной зоны составляло 240 мм. В конце первой минуты продвигают лодочку вперед приблизительно на 40 мм, в конце каждого из восьми последующих одноминутных периодов лодочку продвигают вперед на 20 мм и в конце десятой минуты лодочку продвигают вперед на 40 мм. Оставляют лодочку в высокотемпературной зоне на 4 мин.

7. ХОЛОСТОЙ ОПЫТ

Холостой опыт проводят в тех же условиях, но без пробы.

8. ОБРАБОТКА РЕЗУЛЬТАТОВ

Массовую долю хлора в анализируемой пробе в процентах вычисляют по формуле

 

где m - масса навески, г;

V1 - объем раствора серной кислоты, пошедший на титрование в опыте с навеской, см3;

V2 - объем раствора серной кислоты, пошедший на титрование в холостом опыте, см3;

с - концентрация раствора серной кислоты, моль/дм3.

Результаты (предпочтительно среднеарифметическое значение результатов двух определений) записывают с точностью до 0,01 %. (см. приложение).

Пересчет результатов на другие состояния топлива - по ГОСТ 27313.

9. ТОЧНОСТЬ МЕТОДА

9.1. Сходимость

Расхождение результатов двух определений, выполненных в разное время в одной лаборатории одним лаборантом с применением одной аппаратуры из одной и той же аналитической пробы не должно превышать значения, указанного в таблице.

Хлор

Максимально допустимое расхождение

в одной лаборатории (сходимость)

в разных лабораториях (воспроизводимость)

0,03 абс. %

0,06 абс. %

9.2. Воспроизводимость

Результаты двух определений, проведенных в двух лабораториях из представительных порций, отобранных из одной и той же пробы после последней стадии ее приготовления, не должны превышать значения, указанного в таблице.

10. ПРОТОКОЛ ИСПЫТАНИЯ

Протокол испытания должен включать следующие данные:

а) идентификацию испытуемого продукта;

б) ссылку на применяемый метод;

в) результаты и способ их выражения;

г) отклонения, замеченные в ходе определения;

д) операции, не предусмотренные настоящим стандартом и являющиеся необязательными.

ПРИЛОЖЕНИЕ

Обязательное

ДОПОЛНЕНИЯ И ИЗМЕНЕНИЯ, ДОПУСКАЕМЫЕ В НАРОДНОМ ХОЗЯЙСТВЕ

Разд. 4. Лабораторная посуда - по ГОСТ 1770; ГОСТ 9147; ГОСТ 23932 и ГОСТ 25336; ГОСТ 29227; ГОСТ 29251.

Разд. 5. Отбор и подготовка проб для испытаний - по ГОСТ 10742; ГОСТ 23083.

ИНФОРМАЦИОННЫЕ ДАННЫЕ

1. РАЗРАБОТАН И ВНЕСЕН Техническим комитетом ТК 179 «Уголь и продукты его переработки»

2. УТВЕРЖДЕН И ВВЕДЕН В ДЕЙСТВИЕ Постановлением Комитета стандартизации и метрологии СССР от 09.08.91 № 1344

Настоящий стандарт разработан методом прямого применения международного стандарта ИСО 352-81 «Твердое минеральное топливо. Определение содержания хлора методом сжигания при высокой температуре» с дополнительными требованиями, отражающими потребности народного хозяйства

3. ВВЕДЕН ВПЕРВЫЕ

4. ССЫЛОЧНЫЕ НОРМАТИВНО-ТЕХНИЧЕСКИЕ ДОКУМЕНТЫ

Обозначение НТД, на который дана ссылка

Номер раздела, приложения

ГОСТ 1770-74

Приложение

ГОСТ 9147-80

»

ГОСТ 9326-2002

1

ГОСТ 10742-71

Приложение

ГОСТ 23083-78

»

ГОСТ 23932-90

»

ГОСТ 25336-82

»

ГОСТ 27313-95

8

ГОСТ 29227-91

Приложение

ГОСТ 29251-91

»

5. ПЕРЕИЗДАНИЕ. Июль 2004 г.

СОДЕРЖАНИЕ

 




Яндекс цитирования



   Copyright © 2007-2026,  www.tehlit.ru.

[ ѓосты, стандарты, нормативы, инструкции, правила, строительные нормы ]