//
|
|
ГОСТ 29176-91 МЕЖГОСУДАРСТВЕННЫЙ СТАНДАРТ КОРОТКИЕ ЗАМЫКАНИЯ МЕТОДИКА РАСЧЕТА В ЭЛЕКТРОУСТАНОВКАХ ИПК ИЗДАТЕЛЬСТВО СТАНДАРТОВ Москва Содержание МЕЖГОСУДАРСТВЕННЫЙ СТАНДАРТ
Дата введения 01.07.92 Настоящий стандарт распространяется на электроустановки постоянного тока, в которых источниками энергии постоянного тока (преобразователями) являются: - свинцово-кислотные аккумуляторные батареи; - машины постоянного тока параллельного возбуждения; - трехфазные вентильные полупроводниковые выпрямители, выполненные по схеме две обратные звезды с уравнительным реактором; - трехфазные вентильные полупроводниковые выпрямители, выполненные по симметричной мостовой схеме. Стандарт не распространяется на электроустановки постоянного тока напряжением выше ± 750 кВ. Стандарт не регламентирует; - методику расчета токов при внутренних повреждениях в источниках энергии постоянного тока (преобразователях) (при замыкании пластин в аккумуляторах, при замыкании витков и секций обмоток в машинах постоянного тока, при пробоях вентилей в преобразователях); - методику расчета токов КЗ, учитывающую развитие аварии (КЗ в сети постоянного тока к внутреннее повреждение); - методику расчета токов КЗ при сложных видах повреждений в сети постоянного тока (КЗ полюсных проводов - отжиг провода - замыкание провода на землю); - методику расчета токов КЗ, учитывающую взаимное влияние через общую ветвь тока источников (преобразователей) постоянного тока разных видов (типов); - методику расчета токов КЗ, учитывающую электромеханические переходные режимы электрических машин; - методику расчета токов КЗ, учитывающую распределенность параметров длинных линий постоянного тока; - методику расчета токов КЗ в специальных установках (автономные системы, установку постоянного тока подвижного состава); - методику расчета токов КЗ в каналах МГД-установок; - методику расчета токов КЗ с учетом нелинейностей электрических характеристик машин постоянного тока, токоограничивающих и сглаживающих реакторов. Все требования стандарта являются обязательными. 1. ОБЩИЕ ПОЛОЖЕНИЯ1.1. Исходные положения1.1.1. Настоящий стандарт устанавливает общую методику расчета токов КЗ в электроустановках постоянного тока в начальный и произвольный моменты времени, необходимых для выбора электрооборудования и проверки его по условиям КЗ, для выбора установок и оценки действия защит и автоматики, для расчета заземляющих устройств. 1.1.2. Стандарт устанавливает методику расчетов токов при замыкании полюсов сети постоянного тока, а также при замыкании полюса на землю (корпус) заземленной сети. 1.1.3. Величины, подлежащие определению, и допустимая погрешность расчетов токов КЗ определяются указанными в п. 1.1.1 целями. Для выбора электрооборудования и защит допускаются приближенные методы расчета. Определению подлежат: - значение тока КЗ в цепях постоянного тока в произвольный момент времени; - максимальное (пиковое) значение тока КЗ в цепях постоянного тока; - ударный ток КЗ в цепях переменного тока вентильных преобразователей (при трех- и двухфазных КЗ в вентильных обмотках преобразовательных трансформаторов); - максимальное значение установившегося тока КЗ в цепях постоянного тока вентильных преобразователей; - минимальное значение установившегося тока КЗ в цепях постоянного тока вентильных преобразователей. 1.2. Исходные данные1.2.1. Для расчета токов КЗ в электроустановках постоянного тока необходимы достоверные данные о параметрах используемого электрооборудования. 1.2.2. Приведенные ниже расчетные методики устанавливают связь параметров электрооборудования с параметрами эквивалентных схем замещения, позволяющую учесть его основные характеристики. 1.3. Схемы замещения1.3.1. Электрооборудование установок постоянного тока в схемах замещения, соответствующих расчетным схемам, следует учитывать элементами с сосредоточенными параметрами. 1.3.2. Все элементы схемы замещения, кроме элемента, замещающего электрическую дугу, допустимо считать обладающими линейными характеристиками, т.е. их самоиндуктивность и взаимоиндуктивность, коэффициент магнитного рассеяния, а также электрическое сопротивление постоянному и переменному току принимать неизменными, не зависящими от значения тока и напряжения. 1.4 Параметры схем замещения1.4.1 Параметры схем замещения могут быть выражены как в именованных, так и в относительных единицах. Предпочтительно использование системы именованных единиц. 1.4.2. Параметры элементов схемы замещения следует относить к ступени напряжения сети постоянного тока. 1.4.3. При расчетах токов КЗ в электроустановках, в которых источниками энергии (преобразователями) являются трехфазные вентильные выпрямители, составление схем замещения трехфазных цепей переменного тока, а также определение параметров различных элементов и приведение их к одной ступени напряжения следует производить в соответствии с ГОСТ 27514. При упрощенных расчетах допустимо источники энергии (преобразователи) в схемах замещения представлять эквивалентными параметрами, косвенно учитывающими параметры схемы и режима питающей сети переменного тока. 1.5. Использование ЭВМ1.5.1. ЭВМ рекомендуется использовать при массовых расчетах токов КЗ для оценки аварийных режимов оборудования электроустановок постоянного тока, а также при расчетах переходных режимов регулируемых вентильных преобразователей, в частности, преобразователей электропередач или вставок постоянного тока. 2. РАСЧЕТ ТОКОВ КЗ В ЭЛЕКТРОУСТАНОВКАХ, ПОЛУЧАЮЩИХ ПИТАНИЕ ОТ АККУМУЛЯТОРНЫХ БАТАРЕЙ2.1. Исходные данные для расчета и их условные обозначения2.1.1. Геометрические параметры пластин свинцового аккумулятора: h - высота электродных пластин, м; d - длина электродных пластин, м; l - расстояние между электродными пластинами, м. 2.1.2. Число элементов аккумуляторной батареи: n - число последовательно соединенных элементов; m - число параллельно соединенных элементов. 2.1.3. Начальные параметры: q0 - начальная относительная плотность электролита; Rэ0 - начальное сопротивление электролита, Ом; R+0 - начальное сопротивление положительной пластины, Ом; Rc0 - начальное сопротивление сепаратора, Ом. 2.1.4. Электрохимические константы: D - коэффициент диффузии ионов НSO4-, м2·с-1; N - положительная константа, характеризующая интенсивность электродных реакций, моль·л-1·м·А-1; γэ - удельная электропроводность электролита, См·м-1; положительная и отрицательная константы, определяемые при аппроксимации уравнений Нернста, В/(моль·л~1). 2.1.5. Расчетные значения параметров аккумулятора СК-1 и значения электрохимических констант свинцово-кислотных аккумуляторов приведены в приложении 1. 2.1.6. Определяемые параметры (промежуточные), используемые при расчетах: В - константа, характеризующая удельное сопротивление электролита при заданной концентрации и температуре, Ом/м; Е0 - обратимая ЭДС аккумулятора, В; Еп - ЭДС поляризации аккумулятора, В; Евт - внутренняя ЭДС аккумулятора, находящегося в режиме кратковременного разряда большим током, В; графически определяют как точку пересечения спрямленной вольт-амперной характеристики с осью ординат; Eвт - внутреннее сопротивление аккумулятора, Ом. 2.1.7. Параметры, характеризующие сеть постоянного тока: Rвш активное сопротивление внешней сети (цепи КЗ), Ом; Rош - активное сопротивление ошиновки, Ом; Rкб - активное сопротивление кабелей, Ом; Rпр- активное сопротивление проводов, Ом; Rт к - активное сопротивление токовых катушек отключающих аппаратов, Ом; Rк с - сопротивление контактных соединений, Ом, 2.2. Схема замещения2.2.1. При составлении схемы замещения для расчета токов КЗ в электроустановках, получающих питание от аккумуляторной батареи, допустимо не учитывать индуктивные сопротивления элементов цепей (см. черт. 1). Схема замещения сети, питаемой от аккумуляторной батареи
Черт. 1 2.2.2. При расчете токов КЗ следует учитывать сопротивление постоянному току ошиновки, кабелей, проводов, токовых катушек отключающих аппаратов и переходное сопротивление контактных соединений, поэтому внешнее сопротивление цепи КЗ (Rвш) в омах в общем случае равно Rвш = Rош + Rкб + Rпр + Rт к + Rк с. (1) 2.3. Расчет тока КЗ с учетом электрической дуги в месте КЗ2.3.1. При определении минимального значения тока КЗ необходимо учитывать влияние на ток КЗ активного сопротивления электрической дуги, возникающей в месте КЗ. Это значение рекомендуется определять по формуле Iк д = KдIк м, где Кд - поправочный коэффициент; Iк м - ток металлического КЗ. Значения коэффициента Кд для электроустановок с аккумуляторными батареями являются функцией результирующего сопротивления цепи КЗ R = Rвт + Rвш и их следует определять по кривой 1 на черт. 11. 2.3.2. При определении минимального значения тока КЗ рекомендуется учитывать увеличение активного сопротивления кабеля к моменту отключения КЗ вследствие его нагревания токами КЗ. Активное сопротивление кабеля (rv) в омах при нагреве его током КЗ рассчитывают по формуле rv = Cvr20, где Сv - коэффициент, учитывающий увеличение активного сопротивления медного или алюминиевого кабеля. При приближенных расчетах значение коэффициента Сv допускается принимать равным 1,5. При уточненных расчетах коэффициент Сv следует определять в соответствии с черт. 13 - 15 в зависимости от сечения кабеля, тока и продолжительности КЗ; r20 - активное сопротивление медного или алюминиевого кабеля при температуре v = +20°С, Ом. 2.3.3. При расчете максимального значения тока КЗ падение напряжения на электрической дуге допустимо не учитывать, когда ток КЗ в установке не превышает 25 кА, а также в установках с большими токами КЗ, если не приняты меры, исключающие включение источника питания коммутационным аппаратом на предварительно установленную закоротку или на цепь, предварительно закороченную путем неправильного включения коммутационных аппаратов. 2.4. Расчет токов КЗ в сети, питаемой от свинцово-кнслотного аккумулятора2.4.1. Расчет тока КЗ в произвольный момент времени 2.4.1.1. Ток КЗ (ток разряда Ipt) в амперах свинцово-кислотного аккумулятора с плоскопараллельными электродными пластинами на постоянное активное сопротивление в произвольный момент времени следует определять по формуле
где t - время с начала разряда, с; Rвт0 = Rэ0 + R+0 + Rс0;
E0 = 0,32 + 1,43q0; B = (g11 – g21)·N/(hd); xк - корни уравнения Для определения корней уравнения типа ctg·x = ах применяют метод численной итерации. Примечание. В качестве примера на черт. 16 приведена зависимость разрядного тока аккумулятора типа СК-1 от длительности КЗ при КЗ на его зажимах. 2.4.2. Расчет тока КЗ в начальный момент времени 2.4.2.1. Начальный ток КЗ (ток разряда) свинцово-кислотного аккумулятора (7ро) в амперах следует определять по формуле
Примечание. В качестве примера на черт. 17 приведена зависимость напряжения на зажимах заряженного аккумулятора типа СК-1 от силы тока в начальный момент КЗ. 2.4.2.2. При упрощенных расчетах начальный ток разряда свинцово-кислотного аккумулятора допустимо определять по формуле
и принимать Е0 = 2,05 - 2,15 В; Епо = 0,10 - 0,15 В и Rвт = 0,004 - 0,007 Ом. 2.5. Расчет токов КЗ в сети, питаемой от свинцово-кислотной аккумуляторной батареи2.5.1. Расчет тока КЗ от аккумуляторной батареи в произвольный момент времени следует рассчитывать по формуле (2), заменив в ней Е0 на Е0' = nЕ0, Rвт на R'вт = (n/m)Rвт и Епо на Е'по = nЕпо. 2.5.2. Ток КЗ от аккумуляторной батареи в начальный момент времени следует рассчитывать по формуле (3) с учетом п. 2.5.1. 2.5.3. При упрощенных расчетах начальный ток КЗ от аккумуляторной батареи следует определять по методике, изложенной в приложении 5. 3. РАСЧЕТ ТОКОВ КЗ В ЭЛЕКТРОУСТАНОВКАХ, ПОЛУЧАЮЩИХ ПИТАНИЕ ОТ МАШИН ПОСТОЯННОГО ТОКА3.1. Исходные данные для расчета, их условные обозначения и базисные условия3.1.1. Исходные данные номинального режима машины: Рном- активная мощность (мощность на валу), кВт; Uном - напряжение якоря, В; Iном - ток якоря, А; Ifном - ток обмотки возбуждения, А; nном - частота вращения якоря, об/мин; 3.1.2. Начальные значения параметров режима: E0 - ЭДС машины при холостом ходе, В; If0 - ток обмотки возбуждения при холостом ходе, А; n0 - частота вращения якоря в момент КЗ, об/мин. 3.1.3. Дополнительные параметры режима: A·S - линейная нагрузка якоря при номинальном режиме работы машины, А/см; Awrq - ампер-витки поперечной реакции якоря при номинальном режиме работы машины; Awп - ампер-витки последовательной обмотки при номинальном режиме работы машины; Awfx - ампер-витки возбуждения при холостом ходе машины, 3.1.4. Определяемые и другие параметры, используемые при расчетах токов КЗ: Nа - число проводников обмотки якоря: wf - число витков обмотки возбуждения; wп- число витков последовательной обмотки; а - число пар параллельных ветвей якорной обмотки; аf - число параллельных ветвей обмотки возбуждения; ап - число параллельных ветвей последовательной обмотки; σ - коэффициент магнитного рассеяния главных полюсов; р - число пар полюсов машины; bк - коэффициент (ширина) коммутационной зоны; еR - реактивная ЭДС короткозамкнутой секции обмотки якоря, В; βк - число перекрытых щеткой коллекторных пластин; ΔUщ - переходное падение напряжения щеточного контакта, В; Rа - активное сопротивление якорной обмотки, Ом; Rw - активное сопротивление обмотки добавочных полюсов и компенсационной обмотки, Ом; Rп - активное сопротивление последовательной обмотки, Ом; Rщ - переходное сопротивление щеточного контакта, Ом; Rа1 - суммарное активное сопротивление всех обмоток якорной цепи, Ом; Rа2 - суммарное активное сопротивление всех обмоток якорной цепи с учетом переходного сопротивления щеточного контакта, Ом; Rя - суммарное активное сопротивление цепи якоря, Ом; Rвш - активное сопротивление внешней сети (цепи КЗ), Ом, которое следует определять по п. 2.2.2. 3.1.5. Базисные условия для определения величин в системе относительных единиц: Uб = Uном; Iб = Iном; Rб = Uб/Iб. 3.2. Схема замещения3.2.1. При составлении схемы замещения сети, питаемой от машины постоянного тока, следует учитывать индуктивные сопротивления обмоток машины и активные сопротивления элементов цепей машины и внешней сети. Схема замещения для расчета токов при КЗ полюсов сети постоянного тока приведена на черт. 2. Электрическая схема и схема замещения сети, питаемой от машины постоянного тока
Черт. 2 3.3. Расчет токов КЗ в сети, питаемой от машины постоянного тока3.3.1. Токи КЗ в цепи якоря (idt) и в цепи обмотки возбуждения (ift) машины постоянного тока в произвольный момент времени следует определять по формулам:
где
i’d0 - переходный ток КЗ в цепи якоря в начальный момент; i’f0 - переходный ток КЗ в цепи обмотки возбуждения в начальный момент; T’d - переходная постоянная времени цепи якоря, с; T’f - переходная постоянная времени цепи обмотки возбуждения, с; t - время от начала КЗ, с. Примечание. В общем случае машины постоянного тока имеют две обмотки возбуждения (самовозбуждения и независимого возбуждения). При математическом описании переходных процессов эти обмотки допустимо заменять одной эквивалентной обмоткой возбуждения. Составляющие токов якоря и обмотки возбуждения при КЗ в сети, питаемой от машины постоянного тока, показаны на черт. 3. Расчетные составляющие токов якоря и обмотки возбуждения при КЗ машины постоянного тока
Черт. 3 3.3.2. Расчет начального переходного тока при КЗ в цепи якоря 3.3.2.1. Начальное переходное сопротивление цепи якоря (R’d0) в омах следует определять по формуле
где β - коэффициент, учитывающий реакцию якоря при запаздывающей коммутации, который допустимо определять по формуле β = (Awrq + bк·AS)/Awfx; (10) σ - коэффициент, учитывающий магнитное рассеяние главных полюсов, значение которого находится в пределах 1,15 ≤ с ≤ 1,18. Суммарное активное сопротивление цепи якоря (Rя) в омах с учетом активного сопротивления внешней сети до точки КЗ следует определять, используя выражение Rя = Ra1 + (ΔUщ + eRβк)/Iном + Rвш, (11) причем суммарное активное сопротивление обмоток якорной цепи машины (Ra1) в омах рекомендуется принимать равным Ra1 = 1,24 (Ra + Rw + Rп) (12) 3.3.2.2. Начальный переходный ток цепи якоря (i’d0) в амперах при КЗ в этой цепи следует определять по формуле i’d0
= где е0- начальная ЭДС, равная ЭДС холостого хода машины, В. 3.3.3. Расчет установившегося тока при КЗ в цепи якоря 3.3.3.1.
Установившийся ток цепи якоря (
где Rd - сопротивление цепи якоря в установившемся режиме КЗ, Ом, которое допустимо определять как Rd = Rя + (β – γ)·Rб, (15) где γ - коэффициент компаундирования машины, который для машин постоянного тока нормального исполнения при учете реакции коммутационных токов меньше β и определяется по формуле γ = Awп + Awfx. (16) 3.3.3.2.
Установившийся ток цепи якоря (
где К = 0,05 - 0,15, причем суммарное активное сопротивление обмоток якорной цепи и щеток (без учета изменения падения напряжения под щетками при КЗ) (Ra2) в омах определяют по выражению Ra2 = 1,24 (Ra + Rw + Rп) + Rщ. (18) 3.3.4. Расчет постоянных времени 3.3.4.1. Постоянную времени цепи якоря (7^) в секундах при неучете взаимоиндукции с обмоткой возбуждения следует определять по формуле Td = Tя = Lя/Rя, (19) где Lя - суммарная индуктивность обмоток цепи якоря, Гн, которая равна Lя = Lа + Lп + Lw, (20) где Lа - индуктивность якорной обмотки, Гн; Lп - индуктивность последовательной обмотки, Гн; Lw - индуктивность компенсационной обмотки и обмотки добавочных полюсов, Гн. 3.3.4.2. Постоянную времени обмотки возбуждения (Tf) в секундах при неучете взаимоиндукции с якорной и последовательной обмотками следует определять по формуле Tf = Lf/Rf, (21) где Lf - индуктивность обмотки возбуждения, Гн; Rf - активное сопротивление обмотки возбуждения, Ом, которое допустимо определять как Rf = E0/If0 (22) 3.3.4.3. Переходную постоянную времени обмотки возбуждения (T’f) в секундах следует определять по формуле T’f = Tf (R’d0/Rd). (23) 3.3.4.4. Переходную постоянную времени цепи якоря (T’d0) в секундах в предположении, что обмотка возбуждения является сверхпроводящей, следует определять по формуле T’d0 = Td (Rя/R’d0). (24) 3.3.4.5. Переходную постоянную времени цепи якоря (Т’d) в секундах с учетом активного сопротивления обмотки возбуждения следует определять по формуле
3.3.5. Расчет начального переходного тока в цепи обмотки возбуждения 3.3.5.1. Начальный переходный ток в цепи обмотки возбуждения (i’f0) в амперах при КЗ во внешней сети следует определять по формуле i’f0 = if0 (Rd/R’d), (26) где R’d = R’d0 (1-2T’d0/T’f). (27) 3.3.6. Расчет установившегося тока в цепи обмотки возбуждения 3.3.6.1. Если
машина постоянного тока имеет независимое возбуждение, то при коротком
замыкании во внешней сети следует принимать 3.3.7. Определение момента времени, когда токи в цепях якоря и параллельной обмотки возбуждения максимальны, и тока в месте КЗ 3.3.7.1. Время от момента возникновения КЗ до момента, когда ток в цепи якоря оказывается максимальным, (tmах) в секундах следует определять по выражению
где i’d = e0/R’d. (29) 3.3.7.2. Ток машины, замыкающийся через внешнюю короткозамкнутую сеть (см. схему замещения на черт. 2), следует определять как iкt = idt – ift. (30) В области максимальных токов допустимо считать iк max = id max (31) 3.3.8. Упрощенные расчеты токов КЗ 3.3.8.1. При неполных исходных данных максимальное значение тока КЗ (imах) в относительных единицах допустимо определять по одной из формул:
где ΔPя - потери активной мощности в цепи якоря машины, кВт; Dя - диаметр якоря, см; М - коэффициент, учитывающий влияние реакции якоря и потоков рассеяния: для некомпенсированных машин принимают М = 0,05 и для компенсированных машин М = 0,025;
3.3.8.2. При отсутствии полной информации об исходных параметрах, максимальное значение тока КЗ от машины постоянного тока можно оценить, исходя из опытных данных, приведенных в приложении 6. 3.3.9. Учет электрической дуги в месте КЗ 3.3.9.1.
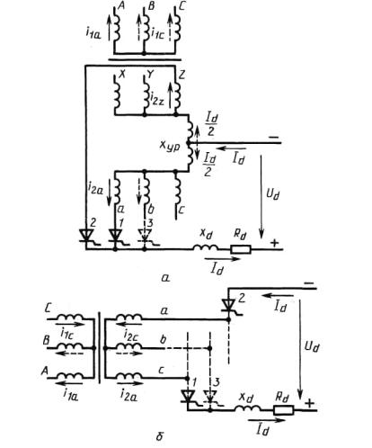
При определении минимального значения тока КЗ от машины постоянного тока Значения коэффициента К для электроустановок с машинами мощностью до 100 - 150 кВт допустимо определять по кривой 2 на черт. 11, а для электроустановок с генераторами большой мощности (ток КЗ до 140 кА) - по кривым черт. 12. 3.3.9.2. При определении минимального значения тока КЗ рекомендуется учитывать увеличение активного сопротивления кабеля вследствие его нагрева токами КЗ. Методика учета аналогична изложенной в п. 2.3.2. 3.4. Определение параметров схем замещения машин постоянного токаИндуктивности обмоток машины постоянного тока и активное сопротивление обмотки якоря рекомендуется рассчитывать по формулам, приведенным в приложении 7. 4. РАСЧЕТ ТОКОВ КЗ В ЭЛЕКТРОУСТАНОВКАХ, ПОЛУЧАЮЩИХ ПИТАНИЕ ОТ ТРЕХФАЗНЫХ ВЕНТИЛЬНЫХ ПРЕОБРАЗОВАТЕЛЕЙ4.1. Исходные данные для расчета и их условные обозначения4.1.1. Исходные данные номинального режима вентильного преобразователя: Udном - выпрямленное напряжение, В; Idном - выпрямленный ток, А; αном - угол включения вентилей, эл. град. 4.1.2. Паспортные данные полупроводниковых приборов: iуд - ударный неповторяющийся ток прибора, А; ∫i2dt - максимально допустимое значение интеграла Джоуля в интервале времени 10 мс (защитный показатель), А2·с; Rд - дифференциальное сопротивление прибора, Ом; n и m - числа соответственно последовательно и параллельно включенных в групповой вентиль полупроводниковых приборов. 4.1.3. Номинальные данные преобразовательных трансформаторов: Sном - полная мощность, кВ А; Uном1 - линейное напряжение первичной (сетевой) обмотки, В; Uном2 - линейное напряжение вторичной (вентильной) обмотки, В; ΔРк - потери короткого замыкания в трансформаторе, кВт; uк - напряжение короткого замыкания, %. 4.1.4. Параметры реакторов: Ld - индуктивность сглаживающего реактора, Гн; Rd - активное сопротивление сглаживающего реактора, Ом; Lур - индуктивность уравнительного реактора, Гн. 4.1.5. Исходные данные, характеризующие сеть переменного тока: rуд - удельное активное сопротивление линии переменного тока, Ом/км; xуд - удельное индуктивное сопротивление линии переменного тока, Ом/км; l - длина линии, км. 4.1.6. Исходные данные, характеризующие сеть постоянного тока: rкб - удельное активное сопротивление полюсных кабелей (выводных, питающего, отсасывающего), Ом/км; rкс - удельное активное сопротивление проводов контактной сети наземного транспорта, Ом/км; rр - удельное активное сопротивление рельсов ряда параллельно соединенных путей, Ом/км; rп п - удельное активное сопротивление линии постоянного тока в системе «провод - провод», Ом/км; rп з - удельное активное сопротивление линии постоянного тока в системе «провод - земля», Ом/км. 4.1.7. Определяемые параметры, характеризующие вентильный преобразователь и примыкающую сеть переменного тока: Rc, Хс - эквивалентные активное и индуктивное сопротивления системы переменного тока, Ом; Rт, Хт - активное и индуктивное сопротивления преобразовательного трансформатора, отнесенные к одной вентильной обмотке, Ом; RL, XL - активное и индуктивное сопротивления линии переменного тока, Ом; RA - активное сопротивление анодных проводников, Ом; Rв - активное сопротивление вентиля (с учетом п последовательно и т параллельно соединенных полупроводниковых приборов), Ом; 4.1.8. Определяемые параметры, характеризующие сеть постоянного тока: Rкб - активное сопротивление выводных полюсных кабелей, Ом; Rп - активное сопротивление питающего (+) кабеля, Ом; R0 - активное сопротивление отсасывающего (-) кабеля, Ом; Rз - сопротивление земли растеканию постоянного тока, Ом; Rз к - сопротивление заземляющего контура (заземлителя), Ом; Rdl - активное сопротивление линии постоянного тока, Ом. 4.2. Расчет токов при коротком замыкании полюсов выпрямительного преобразователя4.2.1. Расчетные схемы и схемы замещения 4.2.1.1. При составлении схемы замещения (черт. 4) параметры элементов расчетной схемы следует привести к ступени напряжения вторичной (вентильной) обмотки преобразовательного трансформатора в системе именованных единиц. Рекомендуемые формулы для расчета параметров схем замещения приведены в приложении 8. 4.2.1.2. Схемы замещения трехфазных вентильных преобразователей, выполненных по схеме две обратные звезды с уравнительным реактором и по трехфазной мостовой схеме, приведены на черт. 5. 4.2.1.3. Катодный реактор с параметрами Xd, Rd при оценке условий КЗ следует рассматривать как токоограничивающий, а при оценке условий нормальной работы нагрузки на постоянном токе - как сглаживающий. Расчетная электрическая схема (а) и схема замещения (б) электроустановки с выпрямительным агрегатом
Черт. 4 Схемы замещения преобразователей (при их работе группами по 2 - 3 вентиля)
а - две обратные звезды с уравнительным реактором; б - трехфазная мостовая Черт. 5 4.2.1.4. Расчеты токов КЗ в установках, выполненных по схеме двенадцатифазного преобразования, следует выполнять с применением ЭВМ, используя, например, матрично-топологические методы расчета разветвленных цепей. 4.2.2. Расчетные условия 4.2.2.1. Токи КЗ для выбора и проверки агрегатного оборудования по условиям КЗ, а также для выбора защитных устройств следует рассчитывать при наиболее тяжелых условиях: - КЗ полюсов выпрямителя не сопровождается дуговыми явлениями в месте повреждения (исключая электроустановки с токами КЗ выше 100 кА); - момент возникновения КЗ совпадает с моментом открытия какого-либо вентиля. 4.2.2.2. Расчету подлежат амплитуда периодической составляющей фазного тока вторичной обмотки преобразовательного трансформатора, максимальное значение тока КЗ в цепи переменного тока и вентилей, ударный ток, протекающий в полупроводниковом приборе, максимальное и среднее значения выпрямленного тока в месте повреждения. Кроме того, проверяют тепловое действие тока КЗ на полупроводниковый прибор. 4.2.3. Расчет токов в случае КЗ полюсов неуправляемого выпрямительного агрегата при отсутствии (без учета) катодного реактора 4.2.3.1. При расчете токов в случае, когда неуправляемый выпрямитель не имеет катодного реактора, следует учитывать, что КЗ полюсов такого выпрямителя эквивалентно трехфазному КЗ вторичных (вентильных) обмоток преобразовательного трансформатора. 4.2.3.2. Амплитуду периодической составляющей фазного тока вторичной (вентильной) обмотки преобразовательного трансформатора (Im) в амперах следует определять по выражению
где Е - действующее значение фазной ЭДС трехфазной системы переменного тока, В; RΣ - суммарное активное сопротивление элементов одной фазы переменного тока, Ом; ХΣ - суммарное индуктивное сопротивление элементов одной фазы переменного тока, Ом. Указанные параметры следует определять по формулам:
RΣ = Rc + Rт + RA + Rв; Rв = Rд/(n/m); XΣ = Xc + Xт. 4.2.3.3. Максимальное значение тока КЗ в цепи переменного тока и вентилей (Imах) в амперах следует определять по соотношению Imax = (Imax/Im) Im, (35) где Imax/Im - ударный коэффициент цепи КЗ, определяемый по кривой 1 на черт. 6, в зависимости от отношения R/Х короткозамкнутой цепи. 4.2.3.4. Ударный ток, протекающий в полупроводниковом приборе, (/уД) в амперах следует определять с учетом т параллельных ветвей в цепи группового вентиля, т. е. iуд = Imax/m. (36) 4.2.3.5. Тепловое действие тока КЗ на полупроводниковый прибор следует проверять, используя соотношение
где tк - продолжительность короткого замыкания, с; Зависимость отношения максимальной амплитуды тока КЗ к амплитуде периодической составляющей этого тока от отношения R/Х короткозамкнутой цепи
1 - неуправляемый выпрямитель; 2 - управляемый выпрямитель с электронной защитой Черт. 6 Iэф - эффективное значение тока, протекающего через
вентиль во время КЗ, которое допустимо принимать равным 4.2.3.6. Максимальное значение выпрямленного тока в месте повреждения(Id max) в амперах следует определять по формулам: при выполнении преобразователей по схеме две обратные звезды с уравнительным реактором Id max = 2Imax (38) при выполнении преобразователей по трехфазной мостовой схеме Id max = Imax. (39) Примечание. При наличии в цепях групповых вентилей моста анодных реакторов следует использовать формулу Id max = 2,61Im, Где Ха р - индуктивное сопротивление анодного реактора, Ом. 4.2.3.7. Среднее значение выпрямленного тока в месте повреждения при установившемся режиме КЗ следует определять по формулам: при выполнении преобразователей по схеме две обратные звезды с уравнительным реактором Idy = (6/π)·Im; (40) при выполнении преобразователей по трехфазной мостовой схеме Idy = (3/π)·Im. (41) 4.2.4. Расчет токов в случае КЗ полюсов неуправляемого выпрямителя при наличии (при учете) катодного реактора 4.2.4.1. Если неуправляемый выпрямитель имеет катодный реактор, то при расчете токов допустимо считать, что выпрямленный ток идеально сглажен. 4.2.4.2. Расчетным режимом в рассматриваемом случае следует считать установившийся режим КЗ (так как начальные токи КЗ существенно ограничены катодным реактором). При этом следует учитывать, что в установившемся режиме КЗ полюсов неуправляемого выпрямителя с катодным реактором приводит к трехфазному КЗ вторичных (вентильных) обмоток преобразовательного трансформатора 4.2.4.3. Среднее значение выпрямленного тока в месте повреждения в установившемся режиме КЗ (Idy) в амперах следует определять по формулам: - без учета активных сопротивлений цепей постоянного тока и выполнении преобразователей по схеме две обратные звезды с уравнительным реактором Idy = 2Im; (42) - с учетом активных сопротивлений цепей постоянного тока и той же схеме выпрямления
- без учета активных сопротивлений цепей постоянного тока и выполнении преобразователей по трехфазной мостовой схеме Idy = Im; (44) - с учетом активных сопротивлений цепей постоянного тока и той же схеме выпрямления
где RdΣ - суммарное активное сопротивление короткозамкнутых цепей постоянного тока выпрямительного агрегата, Ом, которое в общем случае равно RdΣ = Rd + Rош + Rкб + Rп к + Rт к, (46) где Rd - сопротивление катодного реактора, Ом; Rош - сопротивление ошиновки, Ом; Rкб - сопротивление выводных кабелей, Ом; Rп к - переходное сопротивление контактных соединений, Ом; Rт к - сопротивление токовых катушек, Ом. 4.2.5. Расчет токов при КЗ полюсов управляемого выпрямителя 4.2.5.1. Если управляемый выпрямитель не имеет электронной защиты вентилей (тиристоров) и быстродействующей системы регулирования углов, то расчет токов при КЗ полюсов выпрямителя следует производить, как указано в пп. 4.2.3 и 4.2.4. При этом расчету подлежат амплитуда периодической составляющей тока короткозамкнутой цепи, максимальное значение тока этой цепи и ударный ток, протекающий в полупроводниковом приборе. Кроме того, проверяют тепловое действие на полупроводниковый прибор. 4.2.5.2. Если управляемый выпрямитель имеет электронную защиту вентилей (тиристоров), то следует учитывать, что при возникновении КЗ полюсов выпрямителя и успешной работе электронной защиты имеют место: 1) при выполнении преобразователей по трехфазной мостовой схеме (см. черт. 56) - однократное двухфазное КЗ вентильной обмотки преобразовательного трансформатора; 2) при выполнении преобразователей по схеме две обратные звезды с уравнительным реактором (см. черт. 5а) - однократное однофазное КЗ каждой вентильной обмотки преобразовательного трансформатора. 4.2.5.3. Амплитуду периодической составляющей тока короткозамкнутой цепи (обмотоктрансформатора, вентилей и катодного реактора (Im) в амперах следует определять по выражениям: - при выполнении преобразователей по схеме две обратные звезды с уравнительным реактором
- при выполнении преобразователей по трехфазной мостовой схеме
где ω - угловая частота переменного тока, 1/с. 4.2.5.4. Максимальное значение тока короткозамкнутой цепи (обмоток трансформатора, вентилей и катодного реактора) (Imах) в амперах следует определять по формуле (36), а входящий в нее ударный коэффициент цепи КЗ Imах/Im - по кривой 2 на черт. 6, в зависимости от отношения К/Х короткозамкнутой цепи и угла включения а вентилей преобразователя. 4.2.5.5. Ударный ток, протекающий в полупроводниковом приборе, (iуд) в амперах следует определять с учетом m параллельных ветвей в цепи группового вентиля, используя формулу (36). 4.2.5.6. Тепловое действие тока КЗ на полупроводниковый прибор следует проверять, используя соотношение
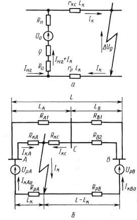
где tк - продолжительность короткого замыкания, с, которая, в зависимости от отношения R/Х короткозамкнутой цепи, составляет 12 - 15 мс. 4.2.5.7. При учете вероятности отказа или неуспешной работы электронной защиты вентилей (тиристоров) токи при КЗ полюсов выпрямителя следует рассчитывать, как указано в пп. 4.2.3 и 4.2.4. Электрическая схема типовой подстанции и контактной сети
Черт. 7 4.2.5.8. Если управляемый выпрямитель имеет быстродействующую систему регулирования углов включения (без блокировки импульсов управления), то токи КЗ в произвольный момент времени следует рассчитывать методом математического моделирования переходных процессов с применением ЭВМ. Допускается применение отраслевых программ. 4.3. Расчет токов при КЗ в контактной сети постоянного тока тяговых подстанций4.3.1. Расчетная схема и схемы замещения 4.3.1.1. При расчете токов КЗ в контактной сети постоянного тока тяговых подстанций следует использовать типовую схему подключения контактной сети постоянного тока к тяговой преобразовательной подстанции, которая приведена на черт. 7. Соответствующая этой расчетной схеме схема замещения цепей КЗ при повреждениях в контактной сети тяговой (троллейбусной) подстанции приведена на черт. 8, где указаны цепи при КЗ полюсов в контактной сети (КЗ) и замыкании положительного полюса на землю (К4). Схема замещения цепей КЗ при повреждениях в контактной сети тяговых (железнодорожных) подстанций при одностороннем питании контактной сети приведена на черт. 9а, а при двустороннем питании - на черт. 96. 4.3.2. Расчетные условия, допущения 4.3.2.1. Расчетными режимами следует считать установившиеся режимы КЗ. При этом расчету подлежат максимальные и минимальные значения установившихся токов КЗ в зоне обслуживания тяговой подстанции. Схема замещения цепи КЗ при повреждениях в контактной сети тяговой (троллейбусной) подстанции
Черт. 8 Схемы замещения цепи КЗ при повреждении в контактной сети тяговых (железнодорожных) подстанций
а - одностороннее питание контактной сети; б - двустороннее питание контактной сети на двухпутном участке с постом секционирования Черт. 9 Максимальные значения токов следует рассчитывать, пренебрегая дуговыми явлениями в месте повреждения и принимая минимальную удаленность точки КЗ от источника энергии (преобразователя) постоянного тока (при ΔUд = 0, lк = 0), а минимальные значения токов - с учетом дуговых явлений и при максимальной удаленности точки КЗ (при ΔUд ≠ 0, lк = lк mах). 4.3.2.2. При расчете токов КЗ в контактной сети постоянного тока вентильный преобразователь допустимо характеризовать средними интегральными параметрами. 4.3.3. Расчет токов при КЗ в контактной сети постоянного тока тяговой подстанции городского транспорта 4.3.3.1. При отсутствии (неучете) катодных реакторов в выпрямительных агрегатах тяговой подстанции ток КЗ (Iк) в амперах следует определять в соответствии со схемой замещения, приведенной на черт. 8, по формулам: - при замыкании полюсных проводов (КЗ)
- при замыкании положительного провода на землю (К4)
где Еd 0 - ЭДС холостого хода выпрямительной установки, В; ΔUд - падение напряжения на электрической дуге, В; lк - удаленность КЗ (длина проводов), км; Rd к - сопротивление КЗ выпрямительной установки, Ом. ЭДС холостого хода следует вычислять по формулам: - при выполнении преобразователей по трехфазной мостовой схеме Ed 0 = 2,34E; - при выполнении преобразователей по схеме две обратные звезды с уравнительным реактором Ed 0 = 1,17E. Сопротивление КЗ выпрямительной установки подстанции (Rd к) в омах следует определять по формуле Rd к = Ed0/(maIda), (52) где mа - число параллельно работающих выпрямительных агрегатов тяговой подстанции; Ida - ток КЗ на шинах выпрямительной подстанции от одного агрегата, А. При этом следует принимать Ida = Idy и определять этот ток, в зависимости от схемы, по которой выполнены преобразователи, по формуле (40) или (41), а входящий в эти формулы ток Im - по формуле (34), имея в виду, что:
4.3.3.2. При наличии (учете) катодных реакторов в выпрямительных агрегатах тяговой подстанции токи КЗ (Iк) в амперах следует определять по формулам: - при выполнении преобразователей по трехфазной мостовой схеме
- при выполнении преобразователей по схеме две обратные звезды с уравнительным реактором
RΣ = Rc + Rт/ma; RdΣ = Rd/ma + Rп + R0 + 2rк сlк - при расчете замыкания полюсных проводов; RdΣ = Rd/ma + Rп + Rз к + Rз + rк сlк - при расчете замыкания положительного провода на землю; ХΣ = Хc + Xт/ma. 4.3.3.3. При неполных исходных данных токи КЗ в сети постоянного тока тяговой подстанции городского транспорта допустимо рассчитывать без активных сопротивлений цепей переменного тока и использовать приближенные соотношения: - ток КЗ на шинах выпрямительной подстанции (Idк) в амперах
- напряжение (ЭДС) холостого хода выпрямительной подстанции (Ud0) в вольтах Ud0 = Ud ном [1 + A (Xc +Xт)] + ΔUв, (57) где А - коэффициент, учитывающий наклон внешней характеристики вентильного преобразователя (в среднем А = 0,5); ΔUв - падение напряжения на вентилях, В (в среднем ΔUв = 0,75 В на полупроводниковый прибор); - сопротивление короткого замыкания выпрямительной подстанции (Rdк) в омах
- ток КЗ в контактной сети постоянного тока тяговой подстанции (Iк) в амперах
где ΣR - суммарное активное сопротивление короткозамкнутой цепи постоянного тока, Ом. 4.3.4. Расчет токов при КЗ в контактной сети постоянного тока тяговой подстанции железнодорожного транспорта 4.3.4.1. При одностороннем питании контактной сети ток КЗ в месте повреждения (Iк) в амперах следует определять (см. черт. 9а), используя формулы: 1) при ориентировочных данных о тяговой подстанции
где U0 - напряжение холостого хода подстанции, В; Iнг - ток нагрузки подстанции от поездов на неповрежденных секциях зоны, А; р - нормативный коэффициент возможного изменения напряжения источника энергии, %; lк - расстояние от подстанции до места КЗ, км; ρ - сопротивление подстанции (с учетом питающей системы переменного тока), Ом:
Sк - мощность трехфазного КЗ на шинах высшего напряжения тяговой подстанции, кВ А; 2) при ориентировочных данных о тяговой подстанции и ее нагрузке (полагая Iнг = mаId ном):
Примечания: 1. При определении максимального тока КЗ допустимо не учитывать предварительную нагрузку подстанции и падения напряжения в дуге и на вентилях, а также принимать (rк c + rр)lк = 0. 2. При определении минимального тока КЗ предварительно следует сопротивления токоведущих частей привести к нормированной предельно допустимой температуре продолжительного режима. При неполных исходных данных допустимо ток нагрузки (Iнг) принимать равным току среднегодовой нагрузки (Iср год). 3. При достаточно полных данных о тяговой подстанции ток КЗ в месте повреждения (Iк) в амперах следует определять: - при выполнении преобразователей по трехфазной мостовой схеме
- при выполнении преобразователей по схеме две обратные звезды с уравнительным реактором
где RdΣ = Rd/ma + RП + R0 + (rк с +rp)lк; RΣ = Rc + Rт/ma; XΣ = Xc + Xт/ma; E = Uном2 4.3.4.2. При определении тока КЗ в контактной сети с двухсторонним питанием необходимо применять схему замещения, показанную на черт. 96. На этой схеме приняты следующие обозначения: А, В - тяговые преобразовательные подстанции; С - пост секционирования; UpA, UpВ - расчетные напряжения тяговых преобразовательных подстанций А и В, В; lА, lВ - протяженность секций АС и СВ, км; l - расстояние между подстанциями А ж В, км; lк - расстояние от точки КЗ до подстанции А, км. Расчетное напряжение тяговой преобразовательной подстанции (Up) в вольтах допустимо определять по формуле Up = (1+p/100)·Udном – ΔUd, (66) а активные сопротивления схемы замещения в омах - по формулам: RA1 = RпA1 + rк с1lA; RВ1 = RпВ1 + rк с1lВ; RВ2 = RпВ2 + rк с2lВ; RкА = RпА2 + rк с2lк; Rк с = rк с2 (lA-lк; RpA = rplк + R0A + ρA; RpВ = rp(l-lк) + R0В + ρВ, где RпA1, RпВ1, RпА2, RпВ2 - сопротивления питающих кабелей, отходящих от подстанций А и В контактной сети 1 и 2-го путей, Ом; R0A, R0В - сопротивления отсасывающих проводов соответственно подстанций А и В Ом; ρA, ρВ - сопротивления преобразовательных устройств соответственно подстанций А и В, Ом; rк с1, rк с2 - удельные сопротивления проводов контактных сетей 1 и 2-го путей, Ом/км; rр - удельное сопротивление рельсовых путей, Ом/км. Чтобы получить искомое значение тока в месте КЗ, следует предварительно схему замещения (черт. 96) привести к простейшему виду, используя обычные способы преобразования схем. 4.4. Расчет токов при КЗ в линиях постоянного тока высокого напряжения4.4.1. Расчетная схема и схема замещения 4.4.1.1. При расчете токов КЗ в линии постоянного тока системы с одномостовой электропередачей постоянного тока (ЭПГТТ) следует использовать расчетную схему и схему замещения, приведенные на черт. 10. 4.4.1.2. Параметры схемы замещения и параметры режимов системы с одномостовой ППТ следует определять с учетом числа мостов, входящих в состав реальных каскадно-мостовых преобразователей. Все параметры следует определять в системе именованных единиц и приводить к ступени напряжения вторичных (вентильных) обмоток преобразовательных трансформаторов. При этом необходимо учитывать коэффициенты трансформации преобразовательных трансформаторов, обеспечивающих номинальный режим преобразования. Электрическая схема (а) и схема замещения (б) системы, содержащей одноцепную одномостовую электропередачу постоянного тока
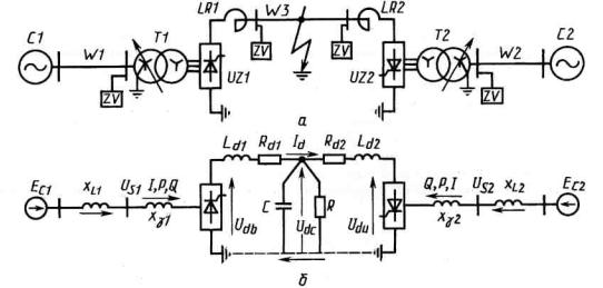
Черт. 10 4.4.1.3. Для линий постоянного тока с концевыми реакторами следует применять Т-образную схему замещения с изменяющимися параметрами лучей, в зависимости от места и вида КЗ. Формулы для расчета параметров схем замещения системы с электропередачей постоянного тока приведены в приложении 9. 4.4.2. Основные допущения, принимаемые при расчетах переходных режимов и токов КЗ 4.4.2.1. При расчетах переходных режимов и токов КЗ в линиях постоянного тока высокого напряжения допускается: - не учитывать высшие гармоники токов и напряжений в цепях переменного и постоянного токов, а фильтры высших гармоник принимать идеальными; - не учитывать коммутационное взаимовлияние мостов каскадномостового преобразователя, т. е. считать, что каждый мост каскада работает независимо, в шестифазном режиме преобразования; - не учитывать дискретность управления вентилей, т. е. принимать, что углы включения вентилей в переходном режиме изменяются непрерывно. 4.4.3. Расчет токов КЗ в линии постоянного тока при неполных исходных данных 4.4.3.1.
Ток в линии постоянного тока в режиме работы преобразователя «2- 3» в конце %-
где E - действующее значение фазной ЭДС трехфазной системы переменного тока, В; ХΣ - суммарное сопротивление цепей переменного тока (на одну фазу), Ом; ХdΣ - суммарное сопротивление цепей постоянного тока до точки замыкания, Ом; α - угол включения вентилей, эл. град; I0 - начальное значение тока в линии постоянного тока, А. Примечание. Формула (67) справедлива при реальных
значениях параметров и времени КЗ, равном 0,06 - 0,10 с, или 4.4.3.2. Предельное значение тока в амперах, при котором сохраняется режим «2- 3», определяют по формуле
Примечание. Формула (68) справедлива, если 4.4.4. Расчет переходного процесса при КЗ в линии постоянного тока с помощью ЭВМ 4.4.4.1. При расчете переходного процесса при КЗ в линиях постоянного тока с использованием ЭВМ рекомендуется использовать математическую модель, содержащую системы дифференциальных уравнений этих линий и интегральных уравнений мостовых преобразователей. 4.4.4.2. Система дифференциальных уравнений линий постоянного тока должна быть составлена с учетом параметров концевых реакторов. Для мостовых преобразователей следует использовать их интегральные характеристики (интегральные уравнения), допускающие учет регулирования углов включения вентилей. В системе уравнений трехфазный мостовой преобразователь следует учитывать как управляемый источник трехфазного тока первой гармоники, у которого амплитуды токов в основном изменяются в соответствии с законом изменения выпрямленного тока, а фазы этих токов - в соответствии с законом регулирования углов включения вентилей. Для систем и линий переменного тока необходимо составить уравнения состояния для периодических составляющих токов и напряжений основной частоты. 4.4.4.3. Переходный режим на ЭВМ допускается рассчитывать методом аналитического прогнозирования режима преобразования на текущий момент времени, который уточняют при очередном смещении шага численного интегрирования системы дифференциальных уравнений. 4.4.5. Уравнения электропередачи постоянного тока 4.4.5.1. Дифференциальные уравнения линии постоянного тока следует записывать в форме Коши. В соответствии с принятой схемой замещения они имеют вид:
где Idв и Idи - средние значения выпрямленного и инвертируемого токов, кА; Udв и Udи средние значения выпрямленного и инвертируемого напряжений, кВ; Udc - среднее значение выпрямленного напряжения в месте КЗ, кВ; t - текущее время, с; Ld1 и Rd1 - соответственно индуктивность, Гн, и активное сопротивление, Ом, цепи постоянного тока выпрямителя; Ld2 и Rd2 соответственно индуктивность, Гн, и активное сопротивление, Ом, цепи постоянного тока инвертора; R, С - соответственно активное сопротивление, Ом, и емкость, Ф, учитывающую активную и емкостную проводимость линии постоянного тока. 4.4.5.2. Для определения напряжений выпрямителя и инвертора (Ud) в киловольтах следует использовать интегральное уравнение мостового преобразователя
где +1 - для выпрямителя; - 1 - для инвертора; N - число последовательно соединенных мостов в каскадно-мостовом преобразователе; Us - действующее значение фазного напряжения на шинах переменного тока преобразовательной подстанции (выпрямителя или инвертора), приведенное к ступени напряжения вторичной обмотки преобразовательного трансформатора, кВ; α - угол включения вентилей преобразователя (выпрямителя или инвертора), эл. град.; Хγ - сопротивление коммутации вентилей преобразователя (выпрямителя или инвертора) на две фазы, Ом, (Хγ = 2ХТ). Примечания: 1. Уравнение (70) справедливо при режиме горения его вентилей группами по 2- 3 вентиля и при углах коммутации у, не превышающих 60 эл. град. 2. При расчете предшествующего (номинального) режима работы инвертора следует использовать уравнение ограничительной характеристики
где δ - угол погасания вентилей инвертора, эл. град., нормированное значение которого составляет 15 эл. град. 4.4.5.3. Углы включения вентилей (а) в электрических градусах следует определять с учетом регулирования вентилей по уравнениям, записанным в приращениях, соответствующих шагу численного интегрирования. В общем случае они имеют вид: α = α0 + KΔαΔα (t - exp(-Δt/T)) (72) Δα = ΣKпП (1 – exp(-Δt/Tп)) + ΣKΔпΔП (1 - exp(-Δt/TΔп)), Где Δt - шаг численного интегрирования, с; α0 - начальное значение угла включения, эл. град.; Δα - приращение угла включения на шаге численного интегрирования, обусловленное действием регулятора, эл. град.; П, ΔП - символы параметра и отклонения параметра, по которым осуществляют регулирование; KΔα, Кп, КΔп - коэффициенты регулирования сумматора и каналов регулятора; Т, Тп, TΔп - электромагнитные постоянные времени сумматора и каналов регулятора, с. При этом следует учитывать пределы рабочих диапазонов изменения углов включения: 0 ≤ αв ≤ 2π/3; π/2 ≤ αи ≤ π. Примечание. Обычно выпрямитель имеет регулирование по ΔIdв, а инвертор - по ΔIdи, Us и Δδ. 4.4.5.4. Угол коммутации вентилей (у) в электрических градусах следует определять по формуле
4.4.5.5. Угол погасания вентилей инвертора (δ) в электрических градусах следует определять по формуле
Полученное значение угла δ по условию устойчивости инвертора в переходном режиме должно превышать 2- 5 эл. град. 4.4.5.6. Амплитуду коммутирующего тока (Im) в килоамперах следует определять по формуле
4.4.5.7. Действующее значение первой гармоники фазного тока преобразовательного трансформатора (13) в килоамперах, приведенное к ступени напряжения вторичной обмотки, следует определять по формуле
где Is(I) и Is(II) - ортогональные составляющие тока, кА, которые следует вычислять по выражениям
Примечание. Углы а и у в выражениях (77) следует выражать в радианах. 4.4.5.8. Составляющие трехфазной мощности каскадного преобразователя: активную (Рs) в мегаваттах и реактивную (Qs) в мегавольтамперах, которые действуют на шинах переменного тока подстанции, следует определять по формулам:
(78) 4.4.5.9. Действующее значение фазной ЭДС эквивалентной системы (Ес) в киловольтах следует определять с учетом потерь напряжения в линии переменного тока от активной и реактивной мощностей, расходуемых на преобразование энергии
где Us - фазное напряжение на шинах переменного тока преобразовательной подстанции (выпрямительной или инверторной), равное номинальному напряжению, кВ; ХL - индуктивное сопротивление линии переменного тока на стороне выпрямительной или инверторной подстанции, Ом. 4.4.5.10. Действующее значение фазного напряжения на шинах переменного тока преобразовательной подстанции (Us) в киловольтах при известной ЭДС системы следует определять по формуле
4.4.6. Изменение параметров режима электропередачи при коротком замыкании в линии постоянного тока 4.4.6.1. Результаты расчета переходного процесса в выпрямителе, полученные с помощью ЭВМ, приведены в приложении 10. Эти кривые отражают типовой характер протекания процессов. ПРИЛОЖЕНИЕ 1
| |||||||||||||||||||||||||||||||||||||||||||||||||||||||||||||||||||||||||||||||||||||||||||||||||||||||||||||||||||||||||||||||||||||||||||||||||||||||||||||||||||||
|
Параметр |
Единица |
Значение |
|
h |
м |
0,170 |
|
d |
м |
0,170 |
|
l |
м |
0,003 |
|
E0 |
В |
2,05-2,15 |
|
B |
Ом·м-1 |
9,35 |
|
Rвт0 |
Ом |
6,3·10-3 |
Таблица 2
Электрохимические константы, используемые при расчете токов КЗ от свинцово-кислотных аккумуляторов
|
Электрохимическая константа |
Единица измерения |
Пределы изменения |
|
q0 |
о.е. |
1,20-1,34 |
|
D |
м2·с-1 |
(1,0-1,1)·10-9 |
|
γэ |
(Ом·м)-1 |
10-25 |
|
N |
моль·л-1·м·А-1 |
4,5-5,5 |
|
g11 |
В/(моль·л-1) |
+0,0278 |
|
G21 |
В/(моль·л-1) |
-0,0242 |
Зависимость коэффициента Кд для аккумуляторной батареи типа СК (кривая 1) и машин постоянного тока мощностью до 100 - 150 кВт и напряжением 220 В (кривая 2) от сопротивления цепи КЗ

Черт. 11
Зависимость коэффициента Кд для генераторов постоянного тока напряжением 220 В (кривая 1) и 440 В (кривая 2) от сопротивления цепи КЗ

Черт. 12
Зависимость коэффициента увеличения активного сопротивления кабелей разных сечений с медными жилами от тока КЗ при продолжительностях КЗ 0,2 с(сплошные линии) и 0,6 с (пунктирные линии)

Черт. 13
Зависимость коэффициента увеличения активного сопротивления кабелей разных сечений с алюминиевыми жилами от тока КЗ при продолжительностях КЗ 0,2 с (сплошные линии) и 0,6 с (пунктирные линии)

Черт. 14
Зависимость коэффициента увеличения активного сопротивления кабелей разных сечений с медными жилами (сплошные линии) и с алюминиевыми жилами (пунктирные линии) от тока КЗ при продолжительности КЗ, равной 1 с

Черт, 15
Зависимость разрядного тока аккумулятора типа СК-1 от продолжительности КЗ при КЗ на его зажимах и q0 = 1,21; D = 1,08·10-9 м2/с; γэ = 16,5 (Ом·м)-1; N = 5,18 (моль/л) м/А; g11 = +0,0278; g21 = -0,0242

Черт. 16
Зависимость напряжения на зажимах заряженного аккумулятора типа СК-1 от силы тока в начальный момент КЗ при тех же условиях и t = 25°С

Черт. 17
Начальный ток КЗ в цепи аккумуляторной батареи (/ко) в амперах вычисляют по формуле
![]()
где n - число последовательно соединенных элементов (равно числу элементов, находящихся в подзаряде);
m - число параллельно соединенных элементов (равно номеру аккумуляторной батареи типа СК).
Входящие в эту формулу величины определяют или принимают равными:
1) внешнее сопротивление до точки КЗ (R’вш) в омах с учетом переходного сопротивления щеточных контактов элементного коммутатора (Rэ к)
R’вш = Rвш + Rэ к,
принимая Rэ к = 0,005 Ом;
2) граничное сопротивление (Rгр) в омах
Rгр = (n/m) 7,5·10-3;
3) R’вш ≥ Rгр
Eвто = 1,93 В и Rвто = 5,4·10-3 Ом;
при R’вш ≤ Rгр
Eвто = 1,70 В и Rвто = 4,0·10-3 Ом.
Напряжение на зажимах аккумуляторной батареи (U0) в вольтах в начальный момент КЗ определяют по формуле
U0 = R’вш·Iк0.
Таблица 3
Ориентировочные кратности максимальных (пиковых) значений токов КЗ для машин постоянного тока напряжением 110 - 750 В в зависимости от произведения мощности машин, кВт, на частоту вращения якоря, об/мин
|
Расчетный параметр Pном·nном, кВт (об/мин) |
Кратности максимальных (пиковых) токов для машин напряжением, В |
||
|
110 |
230 |
600-750 |
|
|
Компенсированные машины |
|||
|
100000 |
- |
12-8 |
- |
|
250000 |
- |
13-9 |
15-12 |
|
300000 |
- |
15-10 |
15-12 |
|
1200000 |
- |
- |
16-15 |
|
Некомпенсированные машины |
|||
|
5000 |
5-4 |
6,5-4 |
- |
|
10000 |
6,5-5,5 |
6,5-4 |
- |
|
100000 |
7,5-6,5 |
7-6 |
- |
|
150000 |
7,5-6,5 |
7-6 |
- |
|
800000 |
- |
14-8 |
- |
Индуктивность обмотки возбуждения машины постоянного тока Lf в генри
(1)
Индуктивность сериесной (компаундной) обмотки (Lс) в генри
![]()
(2)
Индуктивность якорной обмотки (Lа) в генри для некомпенсированных машин
(3)
где Kн - коэффициент насыщения магнитной системы главных полюсов машины; для компенсированных машин
(4)
Индуктивность якорной цепи компенсированных машин (Lя) в генри
Lя = La + Lк + Lд, (5)
где Lа - индуктивность обмотки якоря;
Lк - индуктивность компенсационной обмотки;
Lд - индуктивность обмотки добавочных полюсов.
Индуктивность якорной цепи генераторов (Lя) в генри
(6)
где ω0 - основная угловая скорость вращения якоря, 1/с;
р - число пар главных полюсов.
Индуктивность якорной цепи нереверсивных быстроходных машин (Lя) в генри
(7)
где Сх - 0,1 - для двигателей;
Сх = 0,2 - для генераторов.
Индуктивность якорной цепи различных групп машин постоянного тока (Хя) в генри
(8)
где λ - безразмерный коэффициент, учитывающий особенность конструкции машины постоянного тока. Его рассчитывают по данным заводского формуляра. При ориентировочных расчетах допустимо использовать средние значения указанного коэффициента, приведенные в табл. 4.
Активное сопротивление обмотки якоря (Rа) в омах
(9)
где lа - длина магнитопровода без вентиляционных каналов, см;
τ - полюсное деление, см;
Ja - плотность тока в обмотке якоря, А/мм2;
Uк - межсегментное напряжение на коллекторе, В, которое следует определять по формуле
(10)
Аi - линейная нагрузка якоря, А/см;
r - радиус якоря, см.
Суммарное сопротивление якорной и компенсационной обмоток и обмотки добавочных полюсов с учетом падения напряжения на щетках (Rя) в омах
Rя = 2Ra. (11)
Таблица 4
Расчетные параметры для машин постоянного тока
|
Группа машин постоянного тока |
Значение расчетного параметра |
||
|
λ |
λср |
Tя, c |
|
|
Тихоходные реверсивные прокатные двигатели |
0,075- -0,125 |
0,100 |
0,025- -0,070 |
|
То же, с двухходовой обмоткой якоря |
0,065- -0,100 |
0,085 |
0,040- -0,060 |
|
Быстроходные нереверсивные прокатные двигатели специальные |
0,060- -0,070 |
0,065 |
0,012- -0,020 |
|
Генераторы постоянного тока с одноходовой обмоткой якоря |
0,140- -0,175 |
0,157 |
0,018- -0,030 |
|
Быстроходные нереверсивные прокатные двигатели |
0,080- -0,115 |
0,097 |
0,020- -0,030 |
|
Генераторы постоянного тока с двух- и трехходовыми обмотками |
0,115- -0,145 |
0,130 |
0,020- -0,035 |
|
Шахтные подъемные двигатели постоянного тока |
До 0,25 |
До 0,25 |
До 0,1 |
ПРИЛОЖЕНИЕ
8
Рекомендуемое
ФОРМУЛЫ ДЛЯ
РАСЧЕТА ПАРАМЕТРОВ СХЕМ ЗАМЕЩЕНИЯ СЕТИ ПЕРЕМЕННОГО ТОКА И ПРЕОБРАЗОВАТЕЛЬНЫХ
ТРАНСФОРМАТОРОВ ПРОМЫШЛЕННЫХ И ТЯГОВЫХ ПОДСТАНЦИЙ
Индуктивное и активное сопротивления сети переменного тока Хс и Rc в омах следует рассчитывать по формулам:
![]()
Rc = Xc/(X/R)c.
Индуктивное и активное сопротивления преобразовательного трансформатора (Хт и Rт) в омах следует определять по формулам:

![]()

Индуктивное сопротивление преобразовательного трансформатора (Хт) в омах допустимо определять без учета его активного сопротивления
![]()
Индуктивное сопротивление линии переменного тока (ХL) в омах следует определять с учетом коэффициента трансформации преобразовательного трансформатора

Напряжение рабочего ответвления (Uраб1) в киловольтах первичной (сетевой) обмотки преобразовательного трансформатора следует определять, исходя из следующего соотношения

где Us ном - номинальное линейное напряжение на шинах преобразовательной подстанции, кВ, приложенное к первичной обмотке трансформатора;
Us - расчетное фазное напряжение на шинах преобразовательной подстанции, кВ, обеспечивающее номинальный режим преобразования.
Параметры Т-образной схемы замещения линии постоянного тока следует определять по формулам; для двухцепной линии (система «провод - провод»)
Ld1,2 = 2Ld + (Xп пld1,2)/ω;
Rd1,2 = 2Rd + rп пld1,2;
для одноцепной линии (система «провод - земля»)
Ld1,2 = Ld + (Xп зld1,2)/ω;
Rd1,2 = Rd + rп зld1,2.
В качестве примера на черт. 18 приведены результаты расчета на ЭВМ переходного процесса в выпрямителе при КЗ в линии постоянного тока. Для наглядности режимные параметры выражены в кратностях соответствующих номинальных параметров (углы α и γ выражены в радианах).
Переходный процесс на стороне выпрямителя при КЗ в линии постоянного тока

Черт. 18
1. РАЗРАБОТАН И ВНЕСЕН Техническим комитетом 117 «Энергоснабжение»
2. УТВЕРЖДЕН И ВВЕДЕН В ДЕЙСТВИЕ Постановлением Комитета стандартизации и метрологии СССР от 19.12.91 № 2000
3. ВВЕДЕН ВПЕРВЫЕ
4. ССЫЛОЧНЫЕ НОРМАТИВНО-ТЕХНИЧЕСКИЕ ДОКУМЕНТЫ
|
Обозначение НТД, на который дана ссылка |
Номер пункта |
|
1.4.3 |
5. ПЕРЕИЗДАНИЕ. Ноябрь 2004 г.
|
|
|
|