//
ТехЛит.ру
- крупнейшая бесплатная электронная интернет библиотека для "технически умных" людей.
WWW.TEHLIT.RU - ТЕХНИЧЕСКАЯ ЛИТЕРАТУРА

:: Алготрейдинг::


АЛГОТРЕЙДИНГ
шаг за шагом
с нуля по урокам!

Торговые роботы на PYTHON, BackTrader,
Pandas, Pine Script для TradingView. Связка с брокерами, телеграм и легкими приложениями.


ГОСУДАРСТВЕННЫЙ СТАНДАРТ СОЮЗА ССР

МАТЕРИАЛЫ УГЛЕРОДНЫЕ

МЕТОД ИЗМЕРЕНИЯ УДЕЛЬНОГО
ЭЛЕКТРИЧЕСКОГО СОПРОТИВЛЕНИЯ ПОРОШКА

ГОСТ 4668-75

ИПК ИЗДАТЕЛЬСТВО СТАНДАРТОВ
Москва

ГОСУДАРСТВЕННЫЙ СТАНДАРТ СОЮЗА ССР

МАТЕРИАЛЫ УГЛЕРОДНЫЕ

Метод измерения удельного электрического сопротивления порошка

Carbon materials. Method of electrical resistance definition of powder

ГОСТ
4668-75

Дата введения 01.01.77

Настоящий стандарт распространяется на каменноугольный, нефтяной, пековый и сланцевый коксы, антрацит, термоантрацит и искусственный графит и устанавливает метод измерений удельного электрического сопротивления в интервале 10-5 - 10-1 Ом м.

Сущность метода заключается в измерении падения напряжения на участке столбика углеродистого материала с крупностью зерен 0,315 - 0,400 мм, заключенного в матрице между двумя пуансонами под давлением (5,88 ± 0,03) МПа [(60,0 ± 0,3) кгс/см2] при прохождении постоянного тока.

(Измененная редакция, Изм. 2).

1. МЕТОД ОТБОРА ПРОБ

1.1. Отбор проб - по ГОСТ 16799-79, ГОСТ 23083-78, ГОСТ 10742-71.

2. АППАРАТУРА

2.1. Для проведения испытания применяют:

установку УЭСП-1 (черт. 1), изготовляемую по чертежам Государственного научно-исследовательского института электродной промышленности (ГосНИИЭП), состоящую из рычажно-винтового пресса, обеспечивающего давление (5,88 ± 0,03) МПа [(60,0 ± 0,3) кгс/см2] и матрицы (черт. 2):

внутренний диаметр матрицы (15,96 + 0,07) мм, допускается износ матрицы до размера 16,2 мм;

толщина потенциальных зондов - (1,00 - 0,02) мм;

расстояние между потенциальными зондами - (8,00 + 0,02) мм;

источник стабилизированного постоянного тока напряжением не более 36 В, обеспечивающий силу тока 0,5 А;

амперметр постоянного тока по ГОСТ 8711-78 класса точности не более 1;

милливольтметр постоянного тока по ГОСТ 8711-78 класса точности не более 0,5 или потенциометр постоянного тока для измерения падения напряжения по ГОСТ 7164-78, ГОСТ 9245-79 класса точности не более 0,5;

динамометр сжатия образцовый ДОСМ 3-0,2 по ГОСТ 9500-84;

сетки полутомпаковые Л 04 К и 0315 К по ГОСТ 6613-86;

цилиндр 1 - 10 по ГОСТ 1770-74 или пробирка по ГОСТ 25336-82;

контрольный столбик диаметром 15 мм, высотой (18,0 ± 0,05) мм;

удлиненная воронка латунная с рассекателем (черт. 3);

ерш для чистки матриц;

нутрометр 10 - 18 по ГОСТ 9244-75;

секундомер механический;

электропечь СНОЛ по ОСТ 16.0.801.397-87;

противень размером не менее 25×25 см из коррозионно-стойкого материала с бортиками высотой 5 см.

Примечание. Диапазон измерений электроизмерительных приборов выбирается с таким расчетом, чтобы отсчет показаний проводился во второй или последней трети шкалы прибора. Допускается применять другие электроизмерительные приборы при условии обеспечения ими требований настоящего стандарта.

(Измененная редакция, Изм. № 1, 2, 3).

Установка УЭСП-1

1 - шток; 2 - матрица; 3 - центрирующая чашка; 4 - силовой винт; 5 - дугообразный кронштейн; 6- груз; 7 - индикатор; 8 - плита; 9 - двуплечий рычаг; 10 - регулировочные винты; 11 - призма

Черт. 1

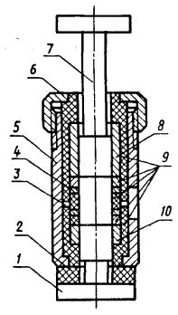
Матрица

1 - нижний пуансон; 2 - изоляционная шайба; 3 - нижний потенциальный зонд; 4 - верхний потенциальный зонд; 5 - корпус; 6 - гайка; 7 - верхний пуансон; 8 - верхний токовый зонд; 9 - изоляционные втулки; 10 - нижний токовый зонд

Черт. 2

Воронка

Черт. 3

3. ПОДГОТОВКА К ИСПЫТАНИЮ

3.1. Часть общей пробы измельчают до размера частиц 0 - 3 мм, сокращают методом квартования до 500 г и подсушивают в сушильном шкафу при температуре 180 - 190 °С в течение 15 мин. Далее пробу рассеивают на ситах № 04 и 0315. Остаток на верхнем сите № 04 измельчают до полного прохождения через сито. Для анализа отбирают 20 - 30 г пробы, оставшейся на сите с сеткой № 0315 и измельченной до размера частиц 0,315 - 0,400 мм.

Оставшуюся часть пробы ссыпают в герметически закрывающуюся банку и хранят в сухом помещении на случай проведения повторных определений удельного электрического сопротивления.

(Измененная редакция, Изм. 1).

3.2. Собирают принципиальную схему (черт. 4).

Схема измерительной цепи

1 - милливольтметр; 2 - амперметр; 3 - источник питания

Черт. 4

3.3. Поверку установки УЭСП-1 проводят не реже одного раза в год с отметкой в специальном журнале даты поверки и заключения о пригодности установки к эксплуатации.

3.3.1. При периодической поверке установки УЭСП-1 контролируются следующие параметры:

рабочее давление, обеспечиваемое прессом; внутренний диаметр матрицы; высота контрольного столбика; высота рабочей зоны матрицы.

Разборка матрицы при поверке не допускается. В полном объеме параметры установки контролируются при ее изготовлении.

3.3.2. Рабочее давление контролируется путем измерения усилия, развиваемого прессом, и внутреннего диаметра матрицы, который увеличивается по мере износа матрицы.

Погрешность измерения не должна превышать:

для усилия сжатия - 0,4 %,

для диаметра матрицы - 0,05 %.

Высота рабочей зоны определяется при загрузке в матрицу контрольного столбика. При этом плоскость верхнего торца матрицы должна находиться в пределах контрольного пояска шириной (1,0 ± 0,5) мм, расположенного на верхнем пуансоне.

(Измененная редакция, Изм. № 3).

3.3.3. Все контролируемые параметры должны измеряться не менее десяти раз. Результаты измерений должны соответствовать значениям, указанным в п. 2.1.

3.3. (Измененная редакция, Изм. № 2).

3.3.1 - 3.3.3. (Введены дополнительно, Изм. № 2).

4. ПРОВЕДЕНИЕ ИСПЫТАНИЯ

4.1. Подготовленную по п. 3.1 пробу испытуемого углеродистого материала из мерного цилиндра с помощью специальной воронки загружают равномерной струйкой в течении 15 - 30 с в матрицу со вставленным нижним пуансоном. Встряхивание и постукивание не допускаются.

Объем испытуемого материала подбирают индивидуально таким образом, чтобы высота спрессованного в матрице столбика составляла (18,0 ± 1,0) мм.

Рекомендуемый объем материала для испытания:

термоантрацита - (4,0 ± 0,1) см;

каменноугольного и пекового кокса - (4,3 ± 0,1) см3;

искусственного графита - (4,6 ±0,1) см3;

нефтяного кокса - (4,5 ±0,1) см3;

сланцевого кокса - (4,7 ± 0,1) см;

антрацита - (4,6 ± 0,1) см.

(Измененная редакция, Изм. № 2).

4.2. В матрицу с материалом вставляют верхний пуансон и устанавливают ее на шток без встряхивания и утрамбовывания. На головку верхнего пуансона надевают центрирующую чашку нагрузочного винта и вращением рукоятки уплотняют материал в матрице.

Момент нагружения определяют по индикатору. В нагруженном состоянии плоскость верхнего торца матрицы должна находиться в пределах контрольного пояска на верхнем пуансоне.

4.3. По истечении 20 - 60 с после наложения давления потенциальные зонды подключают к измерительной цепи (см. черт. 4). Пропускают ток не более 0,5 А и отсчитывают по милливольтметру падение напряжения.

(Измененная редакция, Изм. № 3).

4.4. Выключают установку. Удаляют из матрицы испытуемый материал и прочищают ее ершом.

5. ОБРАБОТКА РЕЗУЛЬТАТОВ

5.1. Удельное электрическое сопротивление (ρ) Ом м вычисляют по формуле

где U - падение напряжения, В;

I - сила тока, А;

S - сечение матрицы, м ;

l - расстояние между потенциальными зондами, м.

При размерах матрицы, приведенных в п. 2.1, и измерении напряжения в милливольтах и пропускании тока силой 0,5 А формула примет вид:

ρ = U · 50 · 10-6.

5.2. Для подсчета удельного электрического сопротивления производят два измерения.

Допускаемые отклонения отдельных измерений (ρ · 106) в Ом·м от среднего не должны превышать:

Удельное электрическое                                                     Допускаемые расхождения

сопротивление

100........................................................................................... ±3

500........................................................................................... ±10

700........................................................................................... ±13

1000......................................................................................... ±20

1500......................................................................................... ±35

20000....................................................................................... ±1000.

При получении результатов с расхождениями, превышающими допускаемые, производят третье измерение. За окончательный результат принимают среднее арифметическое результатов трех измерений.

(Измененная редакция, Изм. № 2).

ИНФОРМАЦИОННЫЕ ДАННЫЕ

1. РАЗРАБОТАН И ВНЕСЕН Министерством цветной металлургии СССР

РАЗРАБОТЧИКИ

И.Ф. Сухорукое, канд. техн. наук (руководитель темы, директор ГосНИИЭП); М.С. Горпиненко, канд. техн. наук (руководитель темы); А.К. Панов, А.А. Попова

2. УТВЕРЖДЕН И ВВЕДЕН В ДЕЙСТВИЕ Постановлением Государственного комитета стандартов Совета Министров СССР от 27.08.75 № 2269

3. ВЗАМЕН ГОСТ 4668-65

4. ССЫЛОЧНЫЕ НОРМАТИВНО-ТЕХНИЧЕСКИЕ ДОКУМЕНТЫ

Обозначение НТД, на который дана ссылка

Номер пункта, подпункта

ГОСТ 1770-74

2.1

ГОСТ 6613-86

2.1

ГОСТ 7164-78

2.1

ГОСТ 8711-93

2.1

ГОСТ 9244-75

2.1

ГОСТ 9245-79

2.1

ГОСТ 9500-84

2.1

ГОСТ 10742-71

1.1

ГОСТ 16799-79

1.1

ГОСТ 23083-78

1.1

ГОСТ 25336-82

2.1

ОСТ 16.0.801.397-87

2.1

5. Ограничение срока действия снято Постановлением Госстандарта от 03.10.91 № 1588

6. ПЕРЕИЗДАНИЕ (февраль 1996 г.) с Изменениями № 1, 2, 3, утвержденными в сентябре 1981 г., июле 1986 г., октябре 1991 г. (ИУС 12-81, 11-86, 1-92)

СОДЕРЖАНИЕ

 




Яндекс цитирования



   Copyright © 2007-2026,  www.tehlit.ru.

[ ѓосты, стандарты, нормативы, инструкции, правила, строительные нормы ]