|
| |
МЕЖГОСУДАРСТВЕННЫЙ СТАНДАРТ
|
ГАЙКИ ШЕСТИГРАННЫЕ ПРОРЕЗНЫЕ И КОРОНЧАТЫЕ НИЗКИЕ
КЛАССА ТОЧНОСТИ В
|
ГОСТ
5919-73
|
|
Конструкция и размеры
|
|
Hexagon thin slotted and castle nuts,
accuracy class B. Construction and dimensions
|
Дата введения 01.01.74
Настоящий стандарт
распространяется на низкие прорезные и корончатые шестигранные гайки класса
точности В с диаметром резьбы от 6 до 48 мм.
Стандарт полностью соответствует
СТ СЭВ 2663-89.
(Измененная редакция, Изм. № 2).
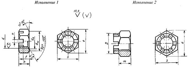
1.
Конструкция и размеры гаек должны соответствовать указанным на чертеже и в
таблице.

Таблица 1
мм
|
Номинальный диаметр резьбы d
|
6
|
8
|
10
|
12
|
(14)
|
16
|
(18)
|
20
|
(22)
|
24
|
(27)
|
30
|
(33)
|
36
|
(39)
|
42
|
48
|
|
Шаг резьбы
|
крупный
|
1,0
|
1,25
|
1,5
|
1,75
|
2,0
|
2,0
|
2,5
|
2,5
|
2,5
|
3,0
|
3,0
|
3,5
|
3,5
|
4,0
|
4,0
|
4,5
|
5,0
|
|
мелкий
|
-
|
1,0
|
1,25
|
1,25
|
1,5
|
1,5
|
1,5
|
1,5
|
1,5
|
2,0
|
2,0
|
2,0
|
2,0
|
3,0
|
3,0
|
3,0
|
3,0
|
|
Размер «под ключ» S
|
10
|
13
|
16
|
18
|
21
|
24
|
27
|
30
|
34
|
36
|
41
|
46
|
50
|
55
|
60
|
65
|
75
|
|
Высота h
|
6
|
7
|
8
|
10
|
11
|
12
|
13
|
13
|
15
|
15
|
17
|
18
|
20
|
20
|
22
|
23
|
25
|
|
Расстояние от опорной
поверхности до основания прорези f и коронки т
|
3,5
|
4,0
|
5,0
|
6,0
|
7,0
|
7,0
|
8,0
|
8,0
|
9
|
9
|
11
|
11
|
13
|
13
|
13
|
14
|
16
|
|
dw, не менее
|
9,0
|
11,7
|
14,6
|
16,6
|
19,6
|
22,5
|
25,3
|
27,7
|
31,7
|
33,2
|
38,3
|
42,7
|
46,6
|
51,1
|
55,9
|
59,9
|
69,4
|
|
Диаметр описанной
окружности e,
не менее
|
10,9
|
14,2
|
17,6
|
19,9
|
22,8
|
26,2
|
29,6
|
33,0
|
37,3
|
39,6
|
45,2
|
50,9
|
55,4
|
60,8
|
66,5
|
71,3
|
82,6
|
|
Диаметр фаски da
|
не менее
|
6
|
8
|
10
|
12
|
14
|
16
|
18
|
20
|
22
|
24
|
27
|
30
|
33
|
36
|
39
|
42
|
48
|
|
не более
|
6,75
|
8,75
|
10,8
|
13,0
|
15,1
|
17,3
|
19,4
|
21,6
|
23,8
|
25,9
|
29,2
|
32,4
|
35,6
|
38,9
|
42,2
|
45,4
|
51,8
|
|
Диаметр коронки D
|
-
|
-
|
-
|
16
|
19
|
22
|
25
|
28
|
32
|
34
|
38
|
42
|
46
|
50
|
55
|
58
|
65
|
|
Число прорезей
|
6
|
8
|
|
Ширина прорези n
|
2,0
|
2,5
|
2,8
|
3,5
|
4,5
|
5,5
|
7,0
|
9,0
|
|
Размер шплинта
(рекомендуемый) по ГОСТ 397
|
Исполнение 1
|
1,6×16
|
2×20
|
2,5×25
|
3,2×32
|
4×36
|
4×40
|
5×45
|
5×50
|
6,3×63
|
6,3×71
|
8×80
|
8×90
|
|
Исполнение 2
|
-
|
-
|
-
|
3,2×25
|
4×32
|
4×36
|
5×40
|
5×45
|
6,3×50
|
6,3×63
|
8×71
|
8×80
|
Примечания:
1. Размеры, заключенные в скобки,
применять не рекомендуется.
2. Для изделий, спроектированных до 01.01.91,
допускается применять гайки с размерами, указанными в приложении 2.
Пример условного обозначения
гайки исполнения 1, диаметром резьбы d = 12 мм, с крупным шагом резьбы с полем
допуска 6Н, класса прочности 04 без покрытия:
Гайка М12 - 6Н.04 ГОСТ 5919-73
То же, исполнения 2, с мелким
шагом резьбы с полем допуска 6Н, с покрытием 01 толщиной 9 мкм:
Гайка 2М12×1,25 - 6Н.04.019 ГОСТ 5919-73
(Измененная редакция, Изм. № 1, 2, 3, 4).
2. Резьба
- по ГОСТ
24705.
(Измененная редакция, Изм. № 3).
3. Допускается выполнение фаски
со стороны прорези или коронки.
3а. Форма дна прорези может быть
плоской, скругленной или с фаской.
(Введен дополнительно, Изм. № 2).
4.
Технические требования - по ГОСТ 1759.0.
5. Теоретическая масса гаек
указана в приложении 1.
ПРИЛОЖЕНИЕ 1
Справочное
Масса стальных гаек с крупным шагом резьбы
Таблица 2
|
Номинальный диаметр резьбы d,
мм
|
Теоретическая масса 1000
шт. гаек, кг
|
|
Исполнение 1
|
Исполнение 2
|
|
6
|
2,473
|
-
|
|
8
|
4,789
|
-
|
|
10
|
9,055
|
-
|
|
12
|
13,129
|
11,096
|
|
14
|
20,186
|
16,940
|
|
16
|
26,078
|
22,490
|
|
18
|
37,303
|
32,850
|
|
20
|
46,315
|
40,960
|
|
22
|
66,578
|
59,630
|
|
24
|
76,349
|
67,810
|
|
27
|
116,110
|
103,260
|
|
30
|
152,560
|
132,570
|
|
33
|
200,715
|
175,525
|
|
36
|
248,870
|
218,480
|
|
39
|
313,540
|
271,320
|
|
42
|
378,210
|
324,160
|
|
48
|
570,480
|
486,140
|
ПРИЛОЖЕНИЕ 1. (Измененная
редакция, Изм. № 4).
ПРИЛОЖЕНИЕ 2
Справочное
Таблица 3
мм
|
Номинальный диаметр резьбы d
|
10
|
12
|
14
|
22
|
|
Размер «под ключ» S
|
17
|
19
|
22
|
32
|
|
Диаметр описанной окружности e,
не менее
|
18,7
|
20,9
|
23,9
|
35,0
|
|
dw, не менее
|
15,5
|
17,2
|
20,1
|
29,5
|
ПРИЛОЖЕНИЕ 2. (Введено
дополнительно, Изм. № 4).
ИНФОРМАЦИОННЫЕ ДАННЫЕ
1. РАЗРАБОТАН И ВНЕСЕН
Государственным комитетом СССР но стандартам
2. УТВЕРЖДЕН И ВВЕДЕН В
ДЕЙСТВИЕ Постановлением Государственного комитета стандартов Совета Министров
СССР от 23.01.73 № 141
3. Стандарт полностью
соответствует СТ СЭВ 2663-89
4. ВЗАМЕН ГОСТ 5919-62
5.
ССЫЛОЧНЫЕ НОРМАТИВНО-ТЕХНИЧЕСКИЕ ДОКУМЕНТЫ
|
Обозначение НТД, па который
дана ссылка
|
Номер пункта
|
|
ГОСТ 397-79
|
1
|
|
ГОСТ 1759.0-87
|
4
|
|
ГОСТ
24705-2004
|
2
|
6. Ограничение
срока действия снято по протоколу № 4-93 Межгосударственного совета по
стандартизации, метрологии и сертификации (ИУС 4-94)
7. ИЗДАНИЕ 2006 г. с
Изменениями № 1, 2, 3, 4, 5, утвержденными в сентябре 1979 г., декабре 1981 г.,
октябре 1984 г., марте 1989 г., марте 1990 г. (ИУС 10-79, 2-82, 1-85, 6-89,
7-90)
| |
|