//
ТехЛит.ру
- крупнейшая бесплатная электронная интернет библиотека для "технически умных" людей.
WWW.TEHLIT.RU - ТЕХНИЧЕСКАЯ ЛИТЕРАТУРА

:: Алготрейдинг::


АЛГОТРЕЙДИНГ
шаг за шагом
с нуля по урокам!

Торговые роботы на PYTHON, BackTrader,
Pandas, Pine Script для TradingView. Связка с брокерами, телеграм и легкими приложениями.


ГОСТ 8.122-99

МЕЖГОСУДАРСТВЕННЫЙ СТАНДАРТ

Государственная система обеспечения единства измерений

РОТАМЕТРЫ

Методика поверки

МЕЖГОСУДАРСТВЕННЫЙ СОВЕТ
ПО СТАНДАРТИЗАЦИИ, МЕТРОЛОГИИ И СЕРТИФИКАЦИИ
Минск

Предисловие

1 РАЗРАБОТАН Всероссийским научно-исследовательским институтом расходометрии (ВНИИР)

ВНЕСЕН Госстандартом России

2 ПРИНЯТ Межгосударственным Советом по стандартизации, метрологии и сертификации (протокол от 28 мая 1999 г. № 15-99)

За принятие проголосовали:

Наименование государства

Наименование национального органа по стандартизации

Республика Беларусь

Госстандарт Беларуси

Киргизская Республика

Киргизстандарт

Республика Молдова

Молдовастандарт

Российская Федерация

Госстандарт России

Республика Таджикистан

Таджикгосстандарт

Туркменистан

Главная государственная инспекция Туркменистана

Украина

Госстандарт Украины

3 Постановлением Государственного комитета Российской Федерации по стандартизации и метрологии от 27 сентября 1999 г. № 313-ст межгосударственный стандарт ГОСТ 8.122-99 введен в действие непосредственно в качестве государственного стандарта Российской Федерации с 1 июля 2000 г.

4 ВЗАМЕН ГОСТ 8.122-85

СОДЕРЖАНИЕ

1 Область применения. 2

2 Нормативные ссылки. 2

3 Операции поверки. 3

4 Средства поверки. 3

4.1.1 Средства поверки, общие для всех ротаметров. 3

4.1.2 Средства поверки для ротаметров типа РП.. 3

4.1.3 Средства поверки для ротаметров типа РЭ.. 3

4.2 Поверочная среда. 3

5 Условия поверки. 3

6 Требования безопасности и требования к квалификации поверителей. 4

7 Подготовка к поверке. 4

8 Проведение поверки. 5

8.1 Внешний осмотр. 5

8.2 Опробование. 5

8.3 Определение метрологических параметров. 5

8.3.1 Определение основной погрешности. 5

8.4 Определение вариации показаний. 5

9 Обработка результатов измерений. 6

10 Оформление результатов поверки. 6

Приложение А. Термины и определения, применяемые в настоящем стандарте: 6

Приложение Б. Градуировка ротаметров. 7

Приложение В. Схема проверки вертикальности установки ротаметра в технологическую линию.. 8

Приложение Г. Схема подключения питания к ротаметру. 9

Приложение Д. Схема подключения к ротаметру линии пневматической связи. 9

Приложение Е. Измерение расхода газа. 9

Приложение ж. Форма протокола. 10

ГОСТ 8.122-99

МЕЖГОСУДАРСТВЕННЫЙ СТАНДАРТ

Государственная система обеспечения единства измерений

РОТАМЕТРЫ

Методика поверки

State system for ensuring the uniformity of measurements.

Rotameters. Methods of verification

Дата введения 2000-07-01

1 Область применения

Настоящий стандарт распространяется на общепромышленные ротаметры по ГОСТ 13045, ротаметры, находящиеся в эксплуатации и выпущенные до введения в действие ГОСТ 13045, ротаметры специального назначения и устанавливает методику их первичной и периодической поверок.

Термины и определения, применяемые в настоящем стандарте, приведены в приложении А.

2 Нормативные ссылки

В настоящем стандарте использованы ссылки на следующие стандарты:

ГОСТ 8.009-84 Государственная система обеспечения единства измерений. Нормируемые метрологические характеристики средств измерений

ГОСТ 112-78 Термометры метеорологические стеклянные. Технические условия

ГОСТ 2405-88 Манометры, вакуумметры, мановакуумметры, напоромеры, тягомеры и тягонапоромеры. Общие технические условия

ГОСТ 2874-82* Вода питьевая

* На территории Российской Федерации действует ГОСТ Р 51232-98.

ГОСТ 2939-63 Газы. Условия для определения объема

ГОСТ 8711-93 Приборы аналоговые показывающие электроизмерительные прямого действия и вспомогательные части к ним. Часть 2. Особые требования к амперметрам и вольтметрам

ГОСТ 13045-81 Ротаметры. Общие технические условия

ГОСТ 13646-68 Термометры стеклянные ртутные для точных измерений. Технические условия

ГОСТ 22520-85 Датчики давления разрежения и разности давления с электрическими аналоговыми выходными сигналами ГСП. Общие технические условия

ОСТ 25.1295-88 Фильтры воздуха и стабилизаторы давления воздуха для пневматических приборов

3 Операции поверки

3.1 При проведении поверки должны быть выполнены следующие операции:

внешний осмотр (8.1);

опробование (8.2);

определение метрологических параметров (8.3);

определение основной погрешности (8.3.1);

определение верхнего и нижнего пределов измерений (8.3.2);

определение расхода (8.3.3);

определение вариации показаний (8.4);

определение максимальной амплитуды колебания поплавка и вторичного прибора (8.4.2).

4 Средства поверки

4.1 При проведении поверки применяют следующие средства:

4.1.1 Средства поверки, общие для всех ротаметров

Расходомерные установки с пределами допускаемой погрешности не более 1/3 предела допускаемой погрешности поверяемого ротаметра для заданного диапазона измерений.

Термометр с ценой деления не более 0,1 °С и пределами допускаемой погрешности не более 0,2 °С по ГОСТ 112.

Мембранный метеорологический барометр.

Термометр ртутный стеклянный по ГОСТ 13646.

Манометр типа МО класса точности 0,4 по ГОСТ 22520.

Аспирационный психрометр.

4.1.2 Средства поверки для ротаметров типа РП

Манометр типа МО класса точности 0,15 с верхним пределом измерений 0,16 МПа (1,6 кгс/см2) по ГОСТ 22520.

Манометр с верхним пределом измерений 0,16 МПа (1,6 кгс/см2) класса точности не ниже 1,0 для контроля давления воздуха питания по ГОСТ 2405.

Фильтр воздуха ФВ-1,6 по ОСТ 25.1295.

Стабилизатор давления воздуха СДВ-1,6 по ОСТ 25.1295.

4.1.3 Средства поверки для ротаметров типа РЭ

Регулировочный автотрансформатор типа 625-250 (РНО 250-0,5-М).

Вольтметр Э 515/3 класса 0,5 по ГОСТ 8711.

Милливольтмиллиамперметр М 2020 класса 0,2.

Примечание - Допускается применение других средств поверки, обеспечивающих заданную точность.

4.2 Поверочная среда

Воздух для газовых ротаметров.

Водопроводная вода по ГОСТ 2874 для жидкостных ротаметров.

Допускается применение других сред при условии градуировки ротаметров на данных средах, а также применение специальных сред в случае, если данные среды используются в поверочной установке в качестве рабочих.

5 Условия поверки

5.1 При проведении поверки должны быть соблюдены следующие условия:

температура, относительная влажность и атмосферное давление окружающего воздуха; температура поверочной среды; отклонение напряжения и частоты тока питания; давление и чистота воздуха питания; наличие электрических и магнитных полей - по ГОСТ 13045;

изменение температуры поверочной среды и температуры окружающего воздуха при проведении поверки не должно превышать 1,0 °С.

5.2 Ротаметры типа РЭ с выходным сигналом по взаимной индуктивности следует поверять в комплекте с вторичными приборами дифференциально-трансформаторной системы.

5.3 Ротаметры, поступающие на поверку, должны иметь паспорт установленного образца или соответствующий документ с градуировочной характеристикой предыдущей аттестации или поверки. В случае утери или отсутствия градуировочной характеристики ротаметр должен быть отградуирован, как указано в приложении Б.

5.4 Норма вибрации ротаметра должна соответствовать требованиям технических документов на ротаметр конкретного типа.

5.5 Периодическую поверку ротаметров проводят в сроки, определяемые на основании результатов эксплуатации, но не реже раза в год.

6 Требования безопасности и требования к квалификации поверителей

6.1 При поверке необходимо соблюдать правила безопасности, указанные в инструкциях по эксплуатации на поверочную установку и поверяемый ротаметр.

6.2 К работе по поверке ротаметров допускают лиц, достигших 18-летнего возраста, прошедших специальную подготовку и имеющих удостоверение на право проведения поверки и эксплуатации поверочной установки.

7 Подготовка к поверке

7.1 Перед проведением поверки следует выполнить следующие подготовительные работы:

7.1.1 Выдержать ротаметр в нерабочем состоянии при температуре окружающего воздуха (20 ± 5) °С в течение не менее 3 ч.

7.1.2 Проверить отсутствие заедания поплавка (стеклянных) ротаметров типов РМ и РМ-ГС путем перемещения поплавка.

Проверить отсутствие заедания поплавка (металлических) ротаметров типов РП и РЭ перемещением плунжера поплавковой системы, для чего установить ротаметр в положение, соответствующее рабочему, и поднять поплавок вверх до упора. При плавном опускании плунжера в нижнее положение поплавок должен двигаться свободно без заеданий. Стрелка местных показаний должна двигаться плавно, без скачков.

7.1.3 Установить ротаметр в линию поверочной расходомерной установки в рабочем положении в соответствии с требованиями технической документации на ротаметр конкретного типа.

7.1.4 Проверить вертикальность установки ротаметра, как указано в приложении В.

7.1.5 Проверить герметичность мест соединений. Проверку герметичности соединений контролируют визуально по отсутствию видимых утечек воды и капель жидкости. Утечки воздуха проверяют мыльным раствором или по спаду давления в технологической линии, которое не должно изменяться при выдержке в течение не менее 5 мин.

7.2 Перед проведением поверки ротаметров с электрическим выходным сигналом следует выполнить следующие подготовительные работы:

7.2.1 Ротаметр типа РЭ с выходным сигналом по взаимной индуктивности соединить со вторичным прибором дифференциально-трансформаторной системы, включить в сеть и выдержать во включенном состоянии в течение 2 ч.

7.2.2 Ротаметр типа РЭ с токовым выходным сигналом соединить с источником питания переменным током напряжением 220 В, частотой 50 Гц и милливольтмиллиамперметром М 2020, как указано в приложении Г, и заземлить. Перед определением метрологических параметров ротаметр должен быть выдержан во включенном состоянии не менее 30 мин.

7.3 Перед проведением поверки ротаметров с пневматическим выходным сигналом следует выполнить следующие подготовительные работы:

7.3.1 К штуцеру «ВХОД» ротаметра типа РП подключить источник питания сжатым воздухом давлением 0,14 МПа (1,4 кгс/см2), к штуцеру «ВЫХОД» - образцовый манометр, как указано в приложении Д.

7.3.2 Проверить герметичность мест соединений пневмосистемы мыльной пеной или по спаду давления в магистрали, которое не должно изменяться при выдержке в течение не менее 5 мин.

Примечание - Пневматические линии связи должны быть выполнены трубками с внутренним диаметром 6 мм, которые необходимо предварительно промыть и продуть сжатым воздухом.

7.4 Средства поверки и поверяемый ротаметр подготавливают к работе в соответствии с инструкцией по эксплуатации.

8 Проведение поверки

8.1 Внешний осмотр

8.1.1 При проведении внешнего осмотра должно быть установлено:

отсутствие механических повреждений и дефектов (трещин в стеклянной трубке, загрязнений поплавка и поверхности трубки и т.п.), ухудшающих внешний вид ротаметра и препятствующих его применению;

соответствие комплектности ротаметра требованиям технических документов на этот ротаметр;

цифры и отметки шкалы должны быть четкими;

цена делений шкалы не должна превышать предела допускаемой погрешности ротаметра;

маркировка ротаметров должна соответствовать требованиям ГОСТ 13045 или требованиям технической документации на поверяемый ротаметр.

8.2 Опробование

8.2.1 Для проверки нормальной работы ротаметра через него пропускают поток поверочной среды (воды, воздуха), плавно изменяя расход от 0 до 100 % и обратно. При изменении расхода поплавок ротаметра, стрелка шкалы местных показаний и стрелка вторичного прибора должны двигаться спокойно, без скачков и заеданий.

8.3 Определение метрологических параметров

8.3.1 Определение основной погрешности

Поверку ротаметров проводят на отметках шкалы и при значениях выходного сигнала, указанных в паспорте на ротаметр.

Поверку ротаметров со шкалой, оцифрованной в единицах расхода, а также ротаметров, выпускаемых по специальным техническим условиям на них, выпущенных до введения в действие ГОСТ 13045 и не перечисленных выше, проводят на каждой оцифрованной отметке градуировочной характеристики.

Действительное значение расхода определяют дважды (при прямом и обратном ходах поплавка), затем вычисляют среднее арифметическое значение расхода.

8.3.2 Верхний и нижний пределы измерений определяют при первичной поверке; они должны соответствовать требованиям ГОСТ 13045 или соответствующих технических документов на поверяемый ротаметр.

8.3.3 При определении расхода воздуха одновременно фиксируют температуру с погрешностью не более 0,5 °С и абсолютное давление потока воздуха перед ротаметром с погрешностью в пределах ±0,05 кПа.

8.4 Определение вариации показаний

8.4.1 На каждой из указанных выше отметках шкалы определяют вариацию показаний при прямом и обратном ходах поплавка по ГОСТ 8.009.

8.4.2 При проведении поверки максимальная амплитуда колебания поплавка (стрелки местных показаний ротаметра и вторичного прибора) относительно отметки шкалы не должна превышать предела допускаемой основной погрешности ротаметра.

9 Обработка результатов измерений

9.1 Основную погрешность ротаметров, предназначенных для измерений расхода жидкостей (δ), %, рассчитывают по формуле

                                                       (1)

где Qг - расход, соответствующий отметке шкалы (значению выходного сигнала), поверяемого ротаметра, м3/с;

Qи - расход, измеренный по образцовой мере, м3/с;

Qв - расход, соответствующий верхнему пределу измерений поверяемого ротаметра, м3/с.

9.2 Основную погрешность ротаметров, предназначенных для измерения расхода газа, δ, %, рассчитывают по формуле

                                                      (2)

где Qпр - расход, измеренный по образцовой мере и приведенный к условиям градуировки, как указано в приложении Е.

9.3 Результаты поверки считают положительными при выполнении для каждой оцифрованной отметки шкалы условия

δ £ δА,

где δА - предел допускаемой основной погрешности, указанный в паспорте на ротаметр.

9.4 Результаты поверки заносят в протокол по форме, приведенной в приложении Ж.

10 Оформление результатов поверки

10.1 Положительные результаты периодической поверки ротаметров оформляют свидетельством о поверке или записью в паспорте и заверяют нанесением оттиска поверительного клейма.

10.2 Ротаметры, не соответствующие требованиям настоящего стандарта, бракуют, к применению не допускают и на них выдают извещение о непригодности. Свидетельство аннулируют. Клеймо предыдущей поверки гасят.

10.3 После устранения неисправностей и переградуировки ротаметров допускается проводить повторную поверку.

ПРИЛОЖЕНИЕ А

(справочное)

Термины и определения, применяемые в настоящем стандарте:

поверочная (градуировочная) среда: Среда (жидкость, газ), по которой проведена поверка (градуировка) ротаметра;

условный стандартный расход: Объемный расход газа, проходящий через ротаметр в условиях по ГОСТ 2939;

стандартный расход: Объемный расход газа, проходящий через ротаметр при рабочих условиях, приведенный к условиям по ГОСТ 2939;

действительный расход: Объемный расход газа, проходящий через ротаметр при условиях измерений (физический объем, проходящий в единицу времени);

массовый расход: Расход среды (жидкости, газа) через ротаметр в единицах массы;

стандартная градуировочная характеристика: Градуировочная характеристика, в которой значения расхода соответствуют условному стандартному расходу (для газовых ротаметров).

ПРИЛОЖЕНИЕ Б

(справочное)

Градуировка ротаметров

Градуировкой называют метрологическую операцию, при помощи которой делениям измерительного прибора придают значения, выраженные в установленных единицах величин.

Градуировочная характеристика ротаметра должна быть представлена в виде таблицы, графика или математической зависимости и выражать зависимость расхода от делений шкалы (положения поплавка).

Для градуировки ротаметров применяют средства измерения, указанные в разделе 4 настоящего стандарта. Условия градуировки должны соответствовать разделу 5, требования безопасности - разделу 6, подготовка к градуировке - разделу 7 настоящего стандарта.

Стандартными градуировочными средами служат: вода - для ротаметров, предназначенных для измерений расхода жидкости, воздух - для ротаметров, измеряющих расход газов.

Градуировку ротаметров допускается проводить и на рабочих средах при условиях, соответствующих действительным. Однако в этом случае также необходимо иметь стандартную градуировочную характеристику на воде или воздухе для упрощения проведения поверки.

Градуировку ротаметров проводят на отметках шкалы и при значениях выходного сигнала, указанных в паспорте на ротаметр. Обычно выбирают точки, соответствующие отметкам 0, 20, 40, 60, 80 и 100 % условной равномерной шкалы (для некоторых типов ротаметров 0-я отметка шкалы является нерабочей).

Значения расхода на каждой отметке шкалы снимают дважды - при прямом и обратном ходах поплавка.

Для жидкостных ротаметров градуировочную характеристику строят непосредственно по осредненным значениям расходов.

Для газовых ротаметров сначала вычисляют условный стандартный расход q0, м3/с, по формуле

q0 =

где Q - расход воздуха (газа), отсчитываемый по расходомерной установке при указанных ниже значениях Т и Р, если при градуировке ротаметра объем газа не приведен к условиям по ГОСТ 2939, м3/с ;

Р - абсолютное давление воздуха на входе ротаметра, которое рассчитывают как сумму избыточного давления воздуха (газа) на входе Ризб и атмосферного давления воздуха Ратм, Па:

Р = Ризб + Ратм;

Рс - давление воздуха при условиях по ГОСТ 2939, Па (Рс = 101325 Па);

Т - температура воздуха (газа), поступающего в ротаметр, К;

Тс- температура воздуха при условиях по ГОСТ 2939, К; (Тс = 293,15 К).

Если объем воздуха (газа) в поверочной установке приведен к условиям по ГОСТ 2939, то условный стандартный расход воздуха (газа) через ротаметр q0, м3/с, рассчитывают по формуле

q0 =

где Qс. - объемный расход воздуха (газа) в рабочих условиях, приведенный к условиям по ГОСТ 2939, м3/с.

Градуировочную характеристику газовых ротаметров строят по условному стандартному расходу. В этом случае условия градуировки не приводят.

Градуировка ротаметра методом сличения на поверочных установках, имеющих в своем составе образцовый ротаметр, имеет свои особенности. В этом случае схема поверки ротаметров различается в зависимости от последовательности подключения поверяемого и образцового ротаметров и может быть двух видов:

- образцовый ротаметр подключен по потоку раньше поверяемого;

- поверяемый ротаметр подключен по потоку раньше образцового.

В таблице Б.1 приведены предельные отклонения давления на поверяемом и образцовом ротаметрах, при которых предел допускаемой погрешности не превышает указанного значения.

В этом случае независимо от условий поверки (давления, температуры) для каждой отметки шкалы поверяемого ротаметра записывают соответствующие значения расхода, определяемые по градуировочной характеристике образцового ротаметра. Вычислений при этом не проводят.

В случае, если перепад давления газа превышает указанное предельное значение, то для избежания ошибок при градуировке рекомендуется проводить измерения по схемам обоих видов, а результаты осреднить.

Градуировочная характеристика поверяемого ротаметра при этом соответствует условиям, записанным в градуировочной характеристике образцового ротаметра (обычно стандартным).

Таблица Б.1

Предел допускаемой погрешности, %

Предельные отклонения перепада давления, Па, на поверяемом и образцовом ротаметрах при наличии в них перепада температур, К

0

1

2

3

4

5

0,1

203

-

-

_

-

-

0,2

405

35

-

-

-

-

0,3

608

238

-

-

-

-

0,5

1024

649

274

-

-

-

1,0

2068

1689

1311

932

554

175

1,5

3133

2751

2368

1986

1604

1221

2,0

4220

3834

3448

3061

2675

2289

2,5

5329

4939

4549

4159

3768

3378

4,0

8796

8383

7991

7588

7186

6783

5,0

11227

10816

10485

9994

9583

9172

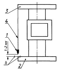
ПРИЛОЖЕНИЕ В

(справочное)

Схема проверки вертикальности установки ротаметра в технологическую линию

1 - отвес; 2 - нижний фланец; 3 - верхний фланец; 4 - нить;

δ - отклонение отвеса от края нижнего фланца при приложении нити к краю верхнего фланца в любой вертикальной плоскости; δ не должно быть более 2 мм

Рисунок В.1

ПРИЛОЖЕНИЕ Г

(обязательное)

Схема подключения питания к ротаметру

1 - ротаметр; 2 - вольтметр; 3 - автотрансформатор; 4 - милливольтмиллиамперметр

Рисунок Г.1

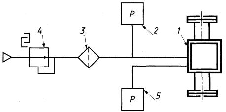
ПРИЛОЖЕНИЕ Д

(обязательное)

Схема подключения к ротаметру линии пневматической связи

1 - ротаметр; 2 - манометр показывающий; 3 - фильтр воздуха; 4 - стабилизатор давления воздуха; 5 - манометр деформационный образцовый с условными шкалами

Рисунок Д.1

ПРИЛОЖЕНИЕ Е

(обязательное)

Измерение расхода газа

Показания ротаметра изменяются в зависимости от условий измерений газа, поэтому их необходимо пересчитывать с учетом условий прежней градуировки и новых условий измерения. Влияющими параметрами являются давление Р, температура Т газа.

В соответствии с ГОСТ 2939 все измеренные объемы газа должны быть приведены к единым условиям (Рс = 101325 Па, Тс = 293,15 К), что удобно при учетных операциях, однако при управлении технологическими процессами иногда требуется также знание действительного объема газа.

Таким образом, объемный расход газа, проходящего через ротаметр, можно представить в виде:

Q - объемный расход газа при рабочих условиях измерения (Р и Т);

Qc - объемный расход газа, приведенный к условиям по ГОСТ 2939 (Рс и Тс).

Между Q и Qc существует соотношение

Массовый расход воздуха Qм рассчитывают по формуле

Qм = ρQ = ρcQc.

где ρ, ρс - плотность газа при рабочих условиях измерений и условиях по ГОСТ 2939 соответственно.

В зависимости от того, в каком виде представлена градуировочная характеристика (в единицах объемного расхода при рабочих условиях измерения или приведенных к условиям по ГОСТ 2939), а также в зависимости от того, в каком виде представляют результаты измерения на поверочной установке, используют различные формулы приведения к градуировочным условиям:

1) градуировочные характеристики и результаты измерений на поверочной установке представляют объемный расход Qпр, приведенный к условиям измерений по ГОСТ 2939, рассчитываемый по формуле

Qпр = Qc[PгTи/(PиTг)]0,5;

где индексы означают: «и» - относится к образцовой мере в процессе измерения, «г» - относится к градуировке, «с» - относится к условиям по ГОСТ 2939, «пр» - приведенное значение;

2) градуировочная характеристика и результаты измерений на поверочной установке представляют объемный расход при рабочих условиях измерений, в этом случае используют объемный расход Qпp, рассчитываемый по формуле

Qпр = Qи[PиTг/(PгTи)]0,5;

3) расход по градуировочной характеристике приведен к условиям по ГОСТ 2939, а результаты измерений расхода на поверочной установке представлены при рабочих условиях; объемный расход Qпp при таких условиях рассчитывают по формуле

Qпр = Qи[PгPиT/(PTиTг)]0,5;

4) градуировочная характеристика представляет расход при рабочих условиях измерения, а результаты измерений на поверочной установке приведены к условиям по ГОСТ 2939; объемный расход Qпp рассчитывают по формуле

Qпр = Qи[PTиTг/(PгPиT)]0,5;

ПРИЛОЖЕНИЕ Ж

(обязательное)

Форма протокола

ПРОТОКОЛ №________
поверки ротаметра

Тип ________________ Зав. номер ___________________ Класс точности ___________

Наименование поверочной среды _____________________________________________

Давление поверочной среды, Па ______________________________________________

Температура поверочной среды, °С ____________________________________________

Температура окружающего воздуха, °С ________________________________________

Давление окружающего воздуха, Па ___________________________________________

Деление шкалы

Расход по градуировочной характеристике, м3

Расход, приведенный к условиям градуировки, м3

Погрешность поверяемого ротаметра, %

Вариация показаний, %

при прямом ходе

при обратном ходе

при прямом ходе

при обратном ходе

0

 

 

 

 

 

 

20

 

 

 

 

 

 

40

 

 

 

 

 

 

60

 

 

 

 

 

 

80

 

 

 

 

 

 

100

 

 

 

 

 

 

Наибольшая погрешность показаний ___________________________________________

Прибор годен, забракован (указать причины) ___________________________________

___________________________________________________________________________

___________________________________________________________________________

___________________________________________________________________________

Подпись лица, выполнявшего поверку

Ключевые слова: ротаметры, расходомеры постоянного перепада давления, методика поверки, градуировка




Яндекс цитирования



   Copyright © 2007-2026,  www.tehlit.ru.

[ ѓосты, стандарты, нормативы, инструкции, правила, строительные нормы ]