//
ТехЛит.ру
- крупнейшая бесплатная электронная интернет библиотека для "технически умных" людей.
WWW.TEHLIT.RU - ТЕХНИЧЕСКАЯ ЛИТЕРАТУРА

:: Алготрейдинг::


АЛГОТРЕЙДИНГ
шаг за шагом
с нуля по урокам!

Торговые роботы на PYTHON, BackTrader,
Pandas, Pine Script для TradingView. Связка с брокерами, телеграм и легкими приложениями.


ГОСТ 8997-89

МЕЖГОСУДАРСТВЕННЫЙ СТАНДАРТ

НЕФТЕПРОДУКТЫ

ЭЛЕКТРОМЕТРИЧЕСКИЙ МЕТОД ОПРЕДЕЛЕНИЯ
БРОМНЫХ ЧИСЕЛ И НЕПРЕДЕЛЬНЫХ
УГЛЕВОДОРОДОВ

ИПК ИЗДАТЕЛЬСТВО СТАНДАРТОВ

Москва

МЕЖГОСУДАРСТВЕННЫЙ СТАНДАРТ

НЕФТЕПРОДУКТЫ

Электрометрический метод определения бромных чисел
и непредельных углеводородов

Petroleum products. Electrometric method for
determination of bromine numbers and unsaturated hydrocarbons

ГОСТ
8997-89

Дата введения 01.01.90

Настоящий стандарт устанавливает метод определения бромных чисел и непредельных углеводородов в нефтепродуктах.

Стандарт распространяется на прямогонные нефтяные дистилляты, 90 % которых выкипает до 330 °С и не содержащие углеводородов С1 - С4, на бензины (в том числе этилированные), керосины, газойли, не содержащие в качестве добавок спирты, кетоны, эфиры и амины, а также на смеси моноолефинов (тримеры и тетрамеры пропилена, димеры бутиленов, смеси гептенов, октенов и ноненов).

Максимальные значения определяемого бромного числа для фракции, 90 % (по объему) которой выкипает до 205 °С, -100, от 205 до 330 °С - 10.

Для смесей моноолефинов определяемое бромное число от 95 до 165.

Стандарт не распространяется на нормальные альфа-олефины.

Сущность метода заключается в растворении испытуемого продукта в растворителе, последующем титровании полученного раствора при температуре от 0 до 5 °С раствором бромид-бромата и определении бромного числа по количеству бромид-бромата, израсходованного на титрование.

Массовую долю непредельных углеводородов определяют по бромному числу и средней молекулярной массе испытуемого нефтепродукта.

1. АППАРАТУРА, МАТЕРИАЛЫ И РЕАКТИВЫ

1.1. Прибор титровальный электрометрический с высокоомической поляризацией, обеспечивающий поддержание между двумя платиновыми электродами напряжение приблизительно 0,8 В с чувствительностью около 50 мВ (приложение 1).

Допускалось до 01.07.93 применять приборы типа БЧ.

Бюретки 1-2-10-0,05; 2-2-10-0,05; 3-2-10-0,05; 1-2-25-0,05; 2-2-25-0,05; 3-2-25-0,05 или 1-2-25-0,10; 2-2-25-0,10; 3-2-25-0,10 по ГОСТ 29251.

Пипетки 4,5-1,2-1-0,01; 4,5-1,2-2-0,02; 6,7-1,2-5-0,05; 6,7-12-10-0,1; 6,7-1,2-25-0,2 по ГОСТ 29227.

Колбы мерные 1-500-1, 1-500-2; 2-1000-1; 2-1000-2; 1-50-1; 1-50-2 по ГОСТ 1770.

Колба Кн-1-500-29/32 ТС по ГОСТ 25336.

Цилиндры 1-10; 1-250; 3-250; 1-1000 по ГОСТ 1770.

Углерод четыреххлористый, ч.д.а., по ГОСТ 20288 или 1,1,1-трихлорэтан. Допускается применять четыреххлористый углерод квалификации «ч.», предварительно осушенный (приложение 2).

Циклогексен, ч., или диизобутен, ч., или их 10 %ые растворы в бензоле.

Бензол, ч.д.а., по ГОСТ 5955.

Метанол, ч.д.а., по ГОСТ 6995, предварительно очищенный (приложение 2).

Кислота азотная, ч.д.а., по ГОСТ 4461.

Кислота уксусная, ч.д.а., по ГОСТ 61.

Кислота соляная, ч.д.а., по ГОСТ 3118.

Кислота серная, ч.д.а., по ГОСТ 4204, разбавленная 1:5 дистиллированной водой.

Калий йодистый, ч.д.а., по ГОСТ 4232.

Калий бромистый, ч.д.а., по ГОСТ 4160.

Калий бромноватокислый, ч.д.а, по ГОСТ 4457.

Натрий серноватистокислый (тиосульфат натрия), ч.д.а., по ГОСТ 27068.

Натрия гидроокись, ч.

Натрий углекислый по ГОСТ 83.

Крахмал, раствор индикатора по ГОСТ 4919.1.

Вода дистиллированная рН-5,4 - 6,6.

Растворитель: 1000 см3 растворителя готовят смешиванием 714 см3 уксусной кислоты с 134 см3 четыреххлористого углерода или 1,1,1-трихлорэтана с добавлением 134 см3 метанола и 18 см3 раствора серной кислоты (1:5).

Если при приготовлении растворителя наблюдается разогревание, склянку со смесью охлаждают. Растворитель должен храниться в темном и прохладном месте.

Лед.

Весы лабораторные общего назначения с наибольшим пределом взвешивания 200 г, не ниже 2-го класса точности.

Шкаф сушильный, обеспечивающий нагрев до 150 °С с погрешностью не более 5 °С.

Допускается применять импортные реактивы квалификации не ниже указанной в стандарте.

2. ПОДГОТОВКА К ИСПЫТАНИЮ

2.1. Отбор проб - по ГОСТ 2517.

2.2. Приготовление раствора йодистого калия

В мерную колбу вместимостью 1000 см3 помещают 150 г йодистого калия, растворяют в дистиллированной воде и объем раствора доводят до метки.

2.3. Приготовление раствора бромид-бромата с (1/6KBr ´ KBrO3) = 0,5 моль/дм3.

В мерную колбу вместимостью 1000 см3 помещают 51,0 г бромистого калия и 13,9 г бромноватокислого калия, высушенного при 105 °С в течение 30 мин, растворяют в дистиллированной воде и доводят объем раствора до метки.

2.3.1. Определение точной концентрации раствора бромид-бромата

Если полученные бромные числа не соответствуют значениям, приведенным в табл. 1, определяют уточненную концентрацию раствора бромид-бромата (0,5 моль/дм3).

Для этого в коническую колбу вместимостью 500 см3 наливают 50,0 см3 уксусной кислоты и 1 см3 соляной кислоты плотностью не менее 1,15 г/см3. Раствор охлаждают в течение 10 мин на ледяной бане. К содержимому колбы при непрерывном перемешивании с помощью бюретки добавляют 5 см3 раствора бромид-бромата по 1 - 2 капли в минуту. Колбу сразу же закрывают пробкой, содержимое встряхивают и снова помещают в ледяную баню на 5 мин, затем постепенно добавляют 5 см3 раствора йодистого калия. Содержимое колбы разбавляют 100 см3 воды и сразу же титруют раствором тиосульфата натрия. Перед концом титрования добавляют 1 см3 раствора крахмала и осторожно титруют до исчезновения синей окраски.

Концентрацию раствора (c) в моль/дм3 бромид-бромата вычисляют по формуле

c = V0×c0/5,

где V0   - объем раствора тиосульфата натрия, израсходованного на титрование раствора бромид-бромата, см3;

c0   - концентрация раствора тиосульфата натрия, моль/дм3;

5    - объем раствора бромид-бромата, см3.

2.4. Приготовление раствора тиосульфата натрия c0 (Na2S2O3) = 0,1 моль/дм3.

В мерной колбе вместимостью 1000 см3 растворяют 25 г тиосульфата натрия в дистиллированной воде, добавляют 0,01 г углекислого натрия (для стабилизации раствора), доводят объем раствора до метки дистиллированной водой и перемешивают встряхиванием.

Точную концентрацию раствора определяют любым способом с погрешностью не более 0,0002 моль/дм3. Определение концентрации повторяют с периодичностью, достаточной для регистрации изменения концентрации в 0,0005 моль/дм3.

2.5. Подготовка электродов

Электроды необходимо периодически (не менее одного раза в неделю) очищать 65 %-ной азотной кислотой, а перед использованием промывать дистиллированной водой.

2.6. Проверка реактивов и аппаратуры

Перед испытанием реактивы и аппаратуру проверяют определением бромного числа чистого циклогексена или диизобутена в соответствии с разд. 3.

Масса пробы чистого циклогексена или диизобутена или их 10 %-ных растворов в граммах, а также диапазоны значений бромных чисел, при которых реактивы и аппаратура считаются пригодными для проведения испытания, приведены в табл. 1.

Таблица 1

Реактив

Масса пробы, г

Диапазон бромных чисел, при которых реактивы и аппаратура считаются пригодными для испытания

Циклогексен:

0,6 - 10

 

чистый

 

От 187 до 199

10 %-ный раствор

 

           »    18  »    20

Диизобутен:

 

 

чистый

6 - 10

           »  136  »  144

10 %ый раствор

 

           »    13  »    15

Расчетные и экспериментальные значения для других соединений приведены в приложении 4.

2.7. Предварительно определяют бромное число на пробе массой 2 г.

2.8. Массу пробы для испытания устанавливают по табл. 2 в зависимости от результатов предварительного определения бромного числа (п. 2.7) так, чтобы объем раствора бромид-бромата, израсходованного на титрование, не превышал 10 см3.

Таблица 2

Бромное число

Масса пробы, г

От    0   до     10

От    20   до 16

Св. 10    »      20

  »     10    »     8

  »   20    »      50

  »       5    »     4

  »   50    »    100

  »       2    »  1,5

  » 100    »    150

  »    1,0    »  0,8

  » 150    »    200

  »    0,8    »  0,6

Примечание. Если расход раствора бромид-бромата превышает 10 см, при титровании может произойти разделение реакционной смеси на два слоя, что осложнит растворение пробы в растворителе, особенно при испытании проб с широким диапазоном температур кипения. Для повышения растворимости пробы добавляют небольшое количество бензола.

3. ПРОВЕДЕНИЕ ИСПЫТАНИЯ

3.1. Каждое определение бромного числа начинают с проведения контрольного опыта по п. 3.2, используя вместо испытуемого раствора 5 см3 четыреххлористого углерода или 1,1,1-трихлорэтана. Расход бромид-бромата не должен превышать 0,1 см3.

3.2. В мерную колбу вместимостью 50 см3 наливают 10 см3 четыреххлористого углерода (1,1,1-трихлорэтана) и пипеткой добавляют пробу в соответствии с табл. 2. Массу пробы вычисляют по разности масс до и после добавления пробы с точностью до 0,001 г. Затем объем раствора в колбе доводят до метки четыреххлористым углеродом (1,1,1-трихлорэтаном) и перемешивают.

3.3. Титровальную ячейку охлаждают до температуры от 0 до 5 °С и поддерживают ее в процессе титрования. В титровальную ячейку наливают 110 см3 растворителя и включают мешалку. Частота вращения мешалки должна быть не менее 20 с-1. Включают титратор. Устанавливают стрелку титратора на отметку «нуль» и добавляют 1 или 2 капли раствора бромид-бромата, при этом стрелка прибора должна установиться на заданной конечной точке и остаться в таком положении не менее 30 с.

3.4. В титровальную ячейку пипеткой переносят 5 см3 раствора, приготовленного по п. 3.2, и тируют раствором бромид-бромата до тех пор, пока стрелка измерительного прибора не начнет отклоняться, после чего титрант добавляют по каплям. Титруют, пока стрелка не зарегистрирует заданную конечную точку и останется в данном положении не менее 30 с.

4. ОБРАБОТКА РЕЗУЛЬТАТОВ

4.1. Бромное число выражают в граммах брома, присоединяющегося к 100 г нефтепродукта.

4.2. Бромное число испытуемой пробы (БЧ) вычисляют по формуле

БЧ = (V1 - V2)с×0,0799×100/m,

где V1   - объем раствора бромид-бромата, израсходованный на титрование аликвотной доли испытуемого раствора, см3;

V2         - объем раствора бромид-бромата, израсходованный на титрование в контрольном опыте, см3;

c           - концентрация бромид-бромата, c (1/6KBr, KBrO3) = 0,5 моль/дм3;

m          - масса пробы, г;

0,0799  - количество брома, соответствующее 1,0 см3 0,1 моль/дм3 раствора тиосульфата натрия, г.

4.3. За результат испытания принимают среднее арифметическое результатов двух определений.

Результат округляют до первого десятичного знака.

5. ТОЧНОСТЬ МЕТОДА

5.1. Сходимость

Два результата определений, полученные одним исполнителем, признаются достоверными (с 95 %-ной доверительной вероятностью), если расхождение между ними не превышает значения, приведенного на черт. 1 или 2 для среднего арифметического результата.

ТОЧНОСТНЫЕ ХАРАКТЕРИСТИКИ РЕЗУЛЬТАТОВ ОПРЕДЕЛЕНИЯ ДЛЯ НЕФТЕПРОДУКТОВ, 90 % КОТОРЫХ ВЫКИПАЕТ ДО 205 °С

1 - сходимость; 2 - воспроизводимость

Черт. 1

5.2. Воспроизводимость

Два результата испытаний, полученные разными исполнителями, признаются достоверными (с 95 %-ной доверительной вероятностью), если расхождение между ними не превышает значения, приведенного на черт. 1 или 2 для среднего арифметического результата.

ТОЧНОСТНЫЕ ХАРАКТЕРИСТИКИ РЕЗУЛЬТАТОВ ОПРЕДЕЛЕНИЙ ДЛЯ НЕФТЕПРОДУКТОВ 90 % КОТОРЫХ ВЫКИПАЕТ ОТ 205 ДО 330 °С

1 - сходимость; 2 - воспроизводимость

Черт. 2

6. ОПРЕДЕЛЕНИЕ МАССОВОЙ ДОЛИ НЕПРЕДЕЛЬНЫХ УГЛЕВОДОРОДОВ

6.1. Массовую долю непредельных углеводородов (H) в процентах вычисляют по формуле

H = БЧ×М/160,

где БЧ - бромное число испытуемого нефтепродукта;

М  - средняя молекулярная масса непредельных углеводородов испытуемого нефтепродукта (приложение 5);

160  - молекулярная масса брома.

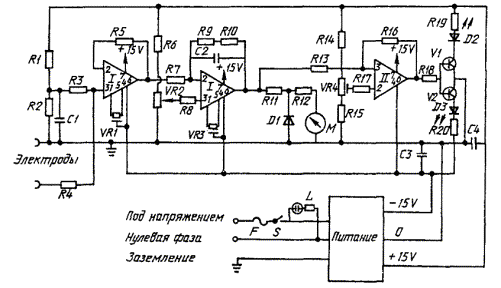
ПРИЛОЖЕНИЕ 1

Справочное

ОПИСАНИЕ ПРИБОРА ДЛЯ ОПРЕДЕЛЕНИЯ БРОМНЫХ ЧИСЕЛ

Транзисторная схема электрометрического прибора для титрования приведена на черт. 3.

Черт. 3

1. Пленочные сопротивления на 0,5 Вт

R1-10 кОм                                          R9-330                                             R15-180 Ом

R2-560 Ом                                          R10-47 кОм                                     R16-1 кОм

R3-100 кОм                                        R11-4,7 кОм                                    R17-10 кОм

R4-1 кОм                                            R12-180 кОм                                   R18-6,9 кОм

                                                           (100 кОм, если применяется       R19-1,2 кОм

                                                           100 мА - метр)                              R20-1,2 кОм

R6-6,8 кОм                                         R13-10 кОм

R7-3,3 кОм                                         R14-560 Ом

R8-2,7 кОм

2. Переменные сопротивления:     VR1-10 кОм                                   VR3-10 кОм

                                                           VR2-470 кОм                                 VR4-1 кОм

                                                           10 - вращательное

3. Конденсаторы:                             С1-0,2 мкФ                                    С3-0,1 мкФ

                                                    С2-10 мкФ                                     С4-0,1 мкФ

4. Интегральная схема: I-AD741K, II-SN741P

5. Диод      D1-15920 или 1N4001;

           D2-LED, тип А;

           D3-LED, RL21.

6. Транзистор V1-BC 182LB или 2N3302, 2N4953, 2N5376, 2N5377, SK 3122;

                         V2-BC 212LB или 2N2907, 2N3251, 2N3486, 2N3505, 2N3672,

                              2N3673, 2N4143, 2N4228, SK 3114.

7. Предохранитель P - 100 мкА.

8. Измеритель M - 50 или 100 мкА.

9. Выключатель S.

10. Световое сигнализирующее устройство L.

В комплект прибора входят:

1) электроды из платиновой проволоки длиной около 12 мм и диаметром 1 мм.

Расстояние между электродами должно быть 5 мм, и они должны погружаться в титруемый раствор приблизительно на 55 мм ниже уровня;

2) мешалка в виде стеклянной палочки или магнитная мешалка.

Рекомендуемый вид мешалки приведен в приложении 3 (черт. 4);

3) стеклянный титровальный сосуд с кожухом высотой около 120 мм и внутренним диаметром около 45 мм.

ПРИЛОЖЕНИЕ 2

Справочное

ПОДГОТОВКА РАСТВОРИТЕЛЕЙ

1. Четыреххлористый углерод по ГОСТ 20288 квалификации «ч» дважды обрабатывают 10 %ым раствором гидроокиси натрия (при соотношении объемов 1:1), промывают дистиллированной водой, высушивают над хлористым кальцием и перегоняют с дефлегматором. Отбирают фракцию, выкипающую в пределах 76 - 77,5 °С при давлении 760 мм рт. ст.

2. Спирт метиловый по ГОСТ 6995 выдерживают в течение 1 сут при температуре окружающей среды над твердой гидроокисью натрия и перегоняют с елочным дефлегматором. Отбирают фракцию, выкипающую в пределах 64 - 67 °С при давлении 760 мм рт. ст.

ПРИЛОЖЕНИЕ 3

Справочное

РЕКОМЕНДУЕМЫЙ ТИП МЕШАЛКИ

Каждый ряд лопаток состоит из двух круговых стеклянных пластинок толщиной 1,5 мм и диаметром 7 мм, прикрепленных под углом 45° к палочке, а относительно друг друга под углом 90°. По окружности палочки лопатки расположены под углом 22°. Мешалку устанавливают на расстоянии приблизительно 5 мм от дна титровального сосуда и приводят в движение электродвигателем.

Черт. 4

ПРИЛОЖЕНИЕ 4

Справочное

РАСЧЕТНЫЕ ЭКСПЕРИМЕНТАЛЬНЫЕ ЗНАЧЕНИЯ БРОМНЫХ ЧИСЕЛ РАЗЛИЧНЫХ СОЕДИНЕНИЙ

Бром может вступать в реакции присоединения, замещения, окисления и взаимодействовать с соединениями, содержащими серу, азот и кислород. На скорость реакций влияют характер растворителя, интенсивность перемешивания и воздействие света. Реакции присоединения происходят быстро и полностью. Присоединение брома легче протекает при температурах около или ниже 0 °С. Снижение температуры реакции, уменьшение времени контакта и концентрации свободного брома тормозит реакции замещения и окисления.

Опыт показывает, что нельзя подобрать такие условия реакции, чтобы она протекала только в одном направлении. Поэтому условия определения бромного числа устанавливают эмпирически так, чтобы величина бромного числа продукта отвечала соответствующим величинам стандартных образцов (табл. 1).

Возможность протекания нескольких параллельных реакций ведет к некоторым неточностям результатов.

В табл. 3 приведены бромные числа различных нефтяных углеводородов и других соединений, находящихся в нефти, определенные электрометрическим методом.

Таблица 3

Соединение

Чистота 1), %

Бромное число

теоретическое

определенное

расхождение

Парафины

н-Гексан

99,96 11)

0,0

0,0

0,0

2-Метилгексан

99,88

0,0

0,0

0,0

нептан

2)

0,0

0,1

+0,1

н-Октан

99,94

0,0

0,0

0,0

2,2,4-Триметилпентан

99,96

0,0

0,1

+0,1

Олефины с неразветвленной цепью

Пентен-1

99,7

228,0

208,0

-20

транс-Пентен-2

99,91

228,0

235,0

+7,0

Гексен-1

3)

189,9

181,0

-8,9

цис-Гексен-2

99,80

189,9

189,0

-0,9

транс-Гексен-2

99,83

189,9

189,0

-0,9

цис-Гексен-3

99,87

189,9

193,0

+3,1

транс-Гексен-3

99,94

189,9

191,4

+1,5

Гептен-1

99,8

162,8

136,0

-26,8

транс-Гептен-2

99,85

162,8

163,0

+0,2

транс-Гептен-3

99,80

162,8

163,0

+0,2

Октен-1

99,7

142,4

132,0

-10,4

Октен-2

3)

142,4

139,0

-3,4

транс-Октен-4

99,84

142,4

149,0

+6,6

Децен-1

99,89

114,1

111,4

-2,7

Додецен-1

99,9

95,1

82,9

-12,2

Тридецен-1

99,8

87,7

81,4

-6,3

Тетрадецен-1

99,7

81,4

70,8

-10,6

Пентадецен-1

99,8

76,0

62,9

-13,1

Гексадецен-1

99,84

71,2

62,8

-8,4

Олефины с разветвленной цепью

2-Метилутен-1

99,90

228,0

231,8

+3,8

2-Метилутен-2

99,94

228,0

235,0

+7,0

2,3-Диметилутен-1

99,86

189,9

194,0

+4,1

3,3-Диметилутен-1

99,91

189,9

167,0

-22,9

2-Этилутен-1

99,90

189,9

198,0

+8,1

2,3-Диметилутен-2

99,90

189,9

191,0

+1,1

2-Метил-пентен-1

99,92

189,9

182,0

-7,9

3-Метил-пентен-1

99,70

189,9

152,0

-37,9

4-Метил-пентен-1

99,82

189,9

176,0

-14

2-Метил-пентен-2

99,91

189,9

190,0

+0,1

3-Метил-цис-пентен-2

99,85

189,9

193,7

+3,8

3-Метил-транс-пентен-2

99,86

189,9

191,0

+1,1

4-Метил-цис-пентен-2

99,82

189,9

190,0

+0,1

4-Метил-транс-пентен-2

99,75

189,9

190,0

+0,1

2,3,3-Триметилутен-1

99,94

162,8

161,0

-1,8

3-Метил-2тилутен-1

99,8

162,8

165,4

+2,6

2,3-Диметил-пентен-1

99,80

162,8

158,5

-4,3

2,4-Диметил-пентен-1

99,87

162,8

152,8

-10,0

2,3-Диметил-пентен-2

99,6

162,8

162,3

-0,5

4,4-Диметил-цис-пентен-2

99,79

162,8

159,0

-3,8

4,4-Диметил-транс-пентен-2

99,91

162,8

158,0

-4,8

3-Этил-пентен-1

99,85

162,8

173,1

+10,3

3-Этил-пентен-2

99,80

162,8

165,0

+2,2

2-Метил-гектен-1

99,88

162,8

161,0

-1,8

5-Метил-гексен-1

99,80

162,8

154,0

-8,8

3-Метил-цис-гексен-2

99,8

162,8

163,6

+0,8

2-Метил-транс-гексен-3

99,9

162,8

163,4

+0,6

2-Метил-3-этил-пентен-1

99,81

142,4

139,8

-2,6

2,4,4-Триметил-пентен-1

99,91

142,1

137,0

-5,1

2,4,4-Триметил-пентен-2

99,92

142,4

141,2

-1,2

Диизобутен

4)

142,4

139,8 4)

-2,6

2-Этил-гексен-1

5)

142,4

140,2

-2,2

2,3-Диметил-гексен-2

99,71

142,4

143,0

+0,6

2,5-Диметил-гексен-2

99,8

142,4

142,8

+0,4

2,2-Диметил-транс-Гексен-3

99,80

142,4

139,0

-3,4

Триизобутен

99,0 21)

95,0

57,5

-37,5

Несопряженные циклические диолефины

4-Этенилциклогексен-1

99,90

295,5

210,0 6)

(-85)

(4-винил-циклогексен-1)

 

 

 

 

ДL-1,8(9)-n-ментадиен 9) (дипентен)

98,10

234,6

225,2

-9,4

Сопряженные алкадиены

2-Метилутадиен-1,3 (изопрен)

99,96

470,0

235,7

-284,3

цис-Пентадиен-1,3

99,92

470,0

285,3

-184,7

трансентадиен-1,3

99,92

470,0

234,0

-236

2-Метил-пентадиен-1,3

95,08)

389,0

197,3

-191,7

2,3-Диметилутадиен-1,3

99,93

389,0

186,1

-202,9

Несопряженные алкадиены

Пентадиен-1,2

99,66

470,0

230,0

-240,0

Пентадиен-1,4

99,93

470,0

185,0

-285,0

Пентадиен-2,3

99,85

470,0

227,0

-243,0

Гексадиен-1,5

99,89

389,0

352,0

-37,0

Ароматические углеводороды с ненасыщенными связями

Фенилэтилен (стирол)

9)

153,4

123,6

-29,8

1,1-Метилфенилэтилен (αетилстирол)

9)

135,3

133,2

-2,1

Аллилбензол

97,8 22)

135,2

0,0

-135,2

Циклоолефины

Циклопентен

99,97

243,6

237,0

-6,6

Циклогексен

99,98

194,6

193,2

-1,4

Циклогексен

4)

194,6

192,8 4)

-1,8

1-Метилциклопентен

99,86

194,6

209,0

+14,4

1-Метилциклогексен

99,82

166,0

162,0

-4,0

Этенилциклопентан (винилциклопентан)

99,91

166,0

164,0

-2,0

Этилиденциклопентан

99,96

166,2

167,7

+1,5

Диметилциклогексен-1,2

99,94

145,0

150,9

+5,9

1-Пропилциклопентен-3

99,87

145,0

140,9

-4,1

Этилиденциклогексан

99,86

145,0

147,0

+2,0

Этенилциклогексан (винилциклогексан)

99,95

145,0

139,0

-6,0

1-Этилциклогексен

99,83

145,0

146,6

+1,6

Инден

3)

137,7

134,0

-3,7

Ароматические моноциклические углеводороды

Бензол

99,98

0,0

0,1

+0,1

Толуол

99,97

0,0

0,1

+0,1

о-Ксилол

99 15)

0,0

0,0

0,0

м-Ксилол

99 15)

0,0

0,0

0,0

псилол

99 15)

0,0

0,0

0,0

Изопропилбензол (кумол)

99,95

0,0

0,0

0,0

1,2,4-Триметилбензол (псевдокумол)

99,67

0,0

0,0

0,0

1,3,5-Триметилбензол (мезитилен)

10)

0,0

0,3

+0,3

1,3-Диметил-4-этилбензол

99,9

0,0

0,0

0,0

1,2,4,5-Тетраметилбензол (дурол)

99,86

0,0

0,1

+0,1

1,2,3,5-Тетраметилбензол (изодурол)

10)

0,0

0,3

+0,3

трет-Бутилбензол

99,73 11)

0,0

0,0

0,0

трет-Амилбензол

3)

0,0

0,7

+0,7

Ароматические бициклические углеводороды

Фенилбензол (бифенил)

10)

0,0

0,0

0,0

Нафталин

99,96

0,0

0,0

0,0

1,2,3,4-Тетрагидронафталин (тетралин)

99,9

0,0

0,2

+0,2

1-Метилнафталин

99,78

0,0

0,0

0,0

2-Метилнафталин

99,91

0,0

0,0

0,0

2,3-Дигидроинден (индиэн)

99,9

0,0

0,0

0,0

Циклогексилбензол

99,93

0,0

0,0

0,0

Ароматические полициклические углеводороды

Антрацен

10)

0,0

11,8

+11,8

Фенантрен

10)

0,0

3,9

+3,9

Циклопарафины

Метилциклопентан

99,99 11)

0,0

0,0

0,0

Метилциклогексан

99,97

0,0

0,0

0,0

Изопропилциклопентан

99,8

0,0

0,0

0,0

цис-Гексагидроиндиан (цис-гидриндан)

99,94

0,0

0,0

0,0

транс-Гексагидроиндиан

 

 

 

 

(трансидриндан)

99,71

0,0

0,0

0,0

трет-Бутилциклогексан

99,95

0,0

0,0

0,0

Циклопентилциклопентан

99,95

0,0

0,0

0,0

цис-Декагидронафталин (цис-декалин)

98 8)

0,0

0,11

+0,11

транс-Декагидронафталин

 

 

 

 

(транс-декалин)

98 8)

0,0

1,64

+1,64

Серосодержащие соединения

Этантиол (этилмеркаптан)

99,95

0,0

209,0

+209,0

3-Тиопентан (диэтилсульфид)

99,94

0,0

184,0

+184,0

2,3-Дитиобутан (диметилдисульфид)

99,97

0,0

1,1

+1,1

Тиоциклобутан (триметиленсульфид)

99,95

0,0

214,0

+214,0

Тиофен

99,99

0,0

0,4

+0,4

Тиоциклопентан (тетрагидротиофен)

99,95

0,0

183,0

+183,0

2,4-Дитиогексан (диэтилдисульфид)

99,90

0,0

0,4

+0,4

2-Метил-2-пропантиол

99,92

0,0

141,0

+141,0

(третутил-меркаптан)

 

 

 

 

1-Пентатиол (амилмеркаптан)

99,92

0,0

83,0

+83,0

Азотсодержащие соединения

Пиролидин

99,85

0,0

11,8

+11,8

Пиридин

1)

0,0

1,4

+1,4

2-Метилпиридин

99,90

0,0

1,7

+1,7

4-Метилпиридин

99 12)

0,0

0,9

+0,9

2,4,6-Триметилпиридин

99 12)

0,0

2,7

+2,7

2-(5-Нонил) пиридин

13)

0,0

1,4

+1,4

Пиррол

99,99

0,0

873,0

+873,0

2-Метилпиррол

98 17)

0,0

708,0

+708,0

2,4-Диметилпиррол

98 17)

0,0

484,0

+484,0

2,5-Диметилпиррол

99,9 14)

0,0

869,0

+869,0

2,4-Диметил-3-этилпиррол

98 17)

0,0

248,0

+248,0

1-(1-Бутил) пиррол

98 17)

0,0

472,0

+472,0

Кислородсодержащие соединения

Ацетон

18)

0,0

0,0

0,0

Метилэтилкетон

19)

0,0

0,0

0,0

Различные соединения

Этаноламин

10)

0,0

1,5

+1,5

Этилендихлорид (дихлорэтан)

10)

0,0

0,0

0,0

Этилендибромид (дибромэтан)

10)

0,0

0,0

0,0

Тетраэтилсвинец (ТЭС)

20)

(49,5)23)

52,7

(+3,2)

Тетраметилсвинец (ТМС)

20)

(59,8)23)

62,6

(2,8)

1) Стандартные пробы Американского нефтяного института, если нет других указаний.

2) Чистый продукт фирмы «Phillips» дистиллированный, пропущенный через силикагель.

3) Чистота не приводится.

4) Средняя величина получена в сентябре 1957 г. Кооперативная программа рафинированного продукта фирмы «Eastman».

5) «Dow Research Chemical».

6) Приблизительное значение.

7) Экспериментальный образец фирмы «Hercules Inc.».

8) Из «Perm State University».

9) Продукт фирмы «Eastman» с белой этикеткой, отогнанный при давлении 6666 Па непосредственно перед определением.

10) Продукт фирмы «Eastman» с белой этикеткой.

11) Опытный образец фирмы «Phillips».

12) Чистота, определенная спектральными и хроматографическими методами.

13) Максимально рафинированный образец после перегонки «Vigreux».

14) Чистота, определенная по температуре замерзания.

15) Чистый продукт фирмы «Phillips».

16) Отвечает спецификациям ACS.

17) Образцы АРМ Project 52.

18) В и А - химический реагент (шифр № 1004).

19) М, С и В - химические реагенты (шифр № 2609).

20) Продукты фирмы «Etyl Corporation».

21) Синтезированные (фракция с температурой кипения 278 °С). Чистота определена методом газовой хроматографии, примеси определены как диизобутены.

22) М, С и В - химические реагенты. Чистота определена методом газовой хроматографии, примеси не приводятся.

23) Величины рассчитаны на основании реакции одного моля брома и с металлорганическим соединением.

ПРИЛОЖЕНИЕ 5

Обязательное

ЗАВИСИМОСТЬ МОЛЕКУЛЯРНОЙ МАССЫ НЕПРЕДЕЛЬНЫХ УГЛЕВОДОРОДОВ ОТ ТЕМПЕРАТУРЫ ВЫКИПАНИЯ 50 % ФРАКЦИИ (ПО ОБЪЕМУ), ОПРЕДЕЛЯЕМОЙ ПО ГОСТ 2177

Таблица 4

Температура выкипания 50 %-ного отгона фракции, С

Молекулярная масса непредельных углеводородов

Температура выкипания 50 %-ного отгона фракции, °С

Молекулярная масса непредельных углеводородов

50

87

175

144

75

87

200

161

100

99

225

180

125

113

250

200

150

128

260

208

ИНФОРМАЦИОННЫЕ ДАННЫЕ

1. РАЗРАБОТАН И ВНЕСЕН Министерством нефтеперерабатывающей и нефтехимической промышленности СССР

2. УТВЕРЖДЕН И ВВЕДЕН В ДЕЙСТВИЕ Постановлением Государственного комитета СССР по стандартам от 05.06.891422

3. Стандарт соответствует СТ СЭВ 6171-88

4. В стандарт введен международный стандарт ИСО 3839-78

5. ВЗАМЕН ГОСТ 8997-59

6. ССЫЛОЧНЫЕ НОРМАТИВНО-ТЕХНИЧЕСКИЕ ДОКУМЕНТЫ

Обозначение НТД, на который дана ссылка

Номер пункта, приложения

ГОСТ 61-75

1.1

ГОСТ 83-79

1.1

ГОСТ 1770-74

1.1

ГОСТ 2177-99

Приложение 5

ГОСТ 2517-85

1.1

ГОСТ 3118-77

1.1

ГОСТ 4160-74

1.1

ГОСТ 4204-77

1.1

ГОСТ 4232-74

1.1

ГОСТ 4457-74

1.1

ГОСТ 4461-77

1.1

ГОСТ 4919.1-77

1.1

ГОСТ 5955-75

1.1

ГОСТ 6995-77

1.1, приложение 2

ГОСТ 20288-74

1.1, приложение 2

ГОСТ 25336-82

1.1

ГОСТ 27068-86

1.1

ГОСТ 29227-91

1.1

ГОСТ 29251-91

1.1

7. Ограничение срока действия снято по протоколу № 7-95 Межгосударственного Совета по стандартизации, метрологии и сертификации (ИУС 11-95)

8. ПЕРЕИЗДАНИЕ. Ноябрь 2002 г.

СОДЕРЖАНИЕ

1. Аппаратура, материалы и реактивы.. 1

2. Подготовка к испытанию.. 2

3. Проведение испытания. 3

4. Обработка результатов. 4

5. Точность метода. 4

6. Определение массовой доли непредельных углеводородов. 5

Приложение 1 Описание прибора для определения бромных чисел. 6

Приложение 2 Подготовка растворителей. 7

Приложение  3 Рекомендуемый тип мешалки. 7

Приложение 4 Расчетные экспериментальные значения бромных чисел различных соединений. 8

Приложение 5 Зависимость молекулярной массы непредельных углеводородов от температуры выкипания 50 % фракции (по объему), определяемой по ГОСТ 2177. 11

 




Яндекс цитирования



   Copyright © 2007-2026,  www.tehlit.ru.

[ ѓосты, стандарты, нормативы, инструкции, правила, строительные нормы ]