//
ТехЛит.ру
- крупнейшая бесплатная электронная интернет библиотека для "технически умных" людей.
WWW.TEHLIT.RU - ТЕХНИЧЕСКАЯ ЛИТЕРАТУРА

:: Алготрейдинг::


АЛГОТРЕЙДИНГ
шаг за шагом
с нуля по урокам!

Торговые роботы на PYTHON, BackTrader,
Pandas, Pine Script для TradingView. Связка с брокерами, телеграм и легкими приложениями.


ГОСТ Р 12.4.205-99

ГОСУДАРСТВЕННЫЙ СТАНДАРТ РОССИЙСКОЙ ФЕДЕРАЦИИ

Система стандартов безопасности труда

СРЕДСТВА ИНДИВИДУАЛЬНОЙ ЗАЩИТЫ
ОТ ПАДЕНИЯ С ВЫСОТЫ.
УДЕРЖИВАЮЩИЕ СИСТЕМЫ

Общие технические требования. Методы испытаний

ГОССТАНДАРТ РОССИИ

Москва

Предисловие

1 РАЗРАБОТАН Рабочей группой подкомитета ПК 7 Технического комитета по стандартизации средств индивидуальной защиты ТК 320 «СИЗ»

ВНЕСЕН Техническим комитетом по стандартизации средств индивидуальной защиты ТК 320 «СИЗ»

2 ПРИНЯТ И ВВЕДЕН В ДЕЙСТВИЕ Постановлением Госстандарта России от 28 декабря 1999 г. № 757-ст

3 Настоящий стандарт представляет собой аутентичный текст регионального стандарта ЕН 358-92 «Индивидуальные средства защиты от падения с высоты. Удерживающие системы» и содержит дополнительные требования, отражающие потребности экономики страны

4 ВВЕДЕН ВПЕРВЫЕ

5 ПЕРЕИЗДАНИЕ

СОДЕРЖАНИЕ

Введение

Необходимо использовать индивидуальные средства защиты, если есть опасность падения с высоты и если из технических соображений или из-за очень малого времени работы не может быть обеспечена безопасность работающего. Использование средств индивидуальной защиты должно быть строго регламентировано в нормативном документе, не должно допускаться никаких отклонений от инструкций по применению.

Оборудование в соответствии с настоящим стандартом должно отвечать эргономическим требованиям и должно использоваться только в том случае, если имеются устройства для надежного закрепления и указаны способы безопасного выполнения работ. Рабочих необходимо инструктировать и обучать безопасным способам работы.

ГОСТ Р 12.4.205-99

ГОСУДАРСТВЕННЫЙ СТАНДАРТ РОССИЙСКОЙ ФЕДЕРАЦИИ

Система стандартов безопасности труда

СРЕДСТВА ИНДИВИДУАЛЬНОЙ ЗАЩИТЫ
ОТ ПАДЕНИЯ С ВЫСОТЫ. УДЕРЖИВАЮЩИЕ СИСТЕМЫ

Общие технические требования. Методы испытаний

Occupational safety standards system. Personal protective equipment against falls from a height. Work positioning systems. General technical requirements. Methods of testing

Дата введения 2002-07-01

1 Область применения

Настоящий стандарт устанавливает общие технические требования, методы испытаний, требования к инструкции по применению, маркировке и упаковке для системы, которая используется для выполнения функций удерживания и поддерживания рабочего на определенной высоте, включая предотвращение свободного падения. Удерживающие системы не предназначены для использования с целью страховки при падении.

Дополнительные требования, отражающие потребности экономики страны, выделены курсивом.

2 Нормативные ссылки

В настоящем стандарте использованы ссылки на следующие стандарты:

ГОСТ Р 12.4.206-99 Система стандартов безопасности труда. Средства индивидуальной защиты от падения с высоты. Методы испытаний

ГОСТ Р 12.4.225-99 Система стандартов безопасности труда. Средства индивидуальной защиты от падения с высоты. Соединительные элементы. Общие технические требования. Методы испытаний

ЕН 363-92* Средства индивидуальной защиты от падения с высоты. Страховочные системы

ИСО 1835-80* Цепь из коротких звеньев для подъема - сорт М (4) некалиброванная для строп

* Перевод - во ВНИИКИ.

3 Определения

В настоящем стандарте применяют следующие термины с соответствующими определениями:

3.1 отдельная деталь: Часть компонента или подсистемы. Тросы, элементы крепления и анкерные линии являются примерами отдельных деталей (ЕН 363).

3.2 компонент: Часть подсистемы, которая поставляется изготовителем в готовом для продажи виде с упаковкой, маркировкой и инструкцией по применению. Удерживающие привязи и стропы являются примерами компонентов системы (ЕН 363).

3.3 подсистема: Набор отдельных деталей или компонентов для создания более крупной части системы, которая поставляется изготовителем в готовом для продажи виде с упаковкой, маркировкой и инструкцией по применению.

3.4 удерживающая система: Удерживающая система состоит из многих компонентов, которые соединены между собой с целью образования всей компоновки оборудования для выполнения функций удержания.

Примечания

1 Неразъемная сборка двух или более компонентов образовывает подсистему, например строп для удерживающей привязи с амортизатором или удерживающая привязь с амортизатором.

2 Удерживающие системы являются системами для рабочих, которые при их работе на линиях электропередачи, на опорах или других строительных устройствах должны так удерживаться, чтобы обе их руки были свободны для выполнения работы. Эти удерживающие системы не предназначены для использования в качестве страховочных систем.

3.5 удерживающая привязь: Компонент, который охватывает туловище и состоит из отдельных деталей, которые в сочетании со стропами удерживают пользователя на определенной высоте во время его работы.

Примечания

1 Удерживающая привязь может быть вшита в предмет одежды.

2 Удерживающий пояс может быть компонентом страховочной привязи.

3.6 строп для удерживающих привязей: Компонент для закрепления удерживающей привязи вокруг строительных устройств, опор линии электропередач и др.

4 Общие технические требования

4.1 Концепция и эргономика

Удерживающая система должна быть сконструирована таким образом, чтобы пользователь при предусмотренных условиях использования во время всего срока эксплуатации мог выполнять работу без неизбежных неудобств и в то же время надежно удерживаться от падения.

4.2 Удерживающая привязь

4.2.1 Форма и конструкция

Лямки и ремни должны быть изготовлены из синтетических волокон, обладающих свойствами полиамидных и полиэфирных волокон. Швейные нитки по своим физическим свойствам должны быть совместимыми с лямками и должны иметь сравнимое с ними качество, а для облегчения визуального контроля они должны иметь отличную от лямок окраску или контрастный оттенок.

Если строп является компонентом удерживающей привязи, то она должна иметь два элемента крепления для присоединения стропа (рисунок 1). Если строп является неотъемлемой частью удерживающей привязи, то она должна иметь один элемент крепления для присоединения свободного конца стропа (рисунок 2).

1 - пряжка; 2 - набедренный ремень; 3 - наспинный ремень; 4 - элемент крепления; 5 - карабин; 6 - строп для удерживающей привязи; 7 - регулятор длины; 8 - концевой ограничитель; 9 - соединительный элемент

Рисунок 1 - Удерживающая привязь с двумя элементами крепления

1 - пряжка; 2 - набедренный ремень; 3 - наспинный ремень; 4 - элемент крепления; 5 - карабин; 6 - строп для удерживающей привязи; 7 - регулятор длины

Рисунок 2 - Пример исполнения удерживающей привязи со стропом, являющимся неотъемлемой частью привязи

Набедренный ремень должен быть шириной не менее 43 мм. Наспинный ремень должен иметь закругленные кромки и должен быть настолько жестким, чтобы усилия, возникающие при использовании привязи, распределялись по всей ширине ремня (рисунок 3).

а - наибольшее расстояние между элементами крепления. Штриховкой выделена область минимальных размеров

Рисунок 3 - Пример исполнения наспинного ремня с минимальными размерами

Удерживающая привязь может быть оснащена наплечными лямками и лямками для фиксирования сидячего положения. Эти лямки не должны препятствовать использованию удерживающей привязи. Элементы крепления не должны крепиться к наплечным лямкам и к лямкам для фиксирования сидячего положения.

Пряжка удерживающей привязи должна быть оформлена и сконструирована так, чтобы при правильном застегивании предотвращалось случайное расстегивание пряжки. Если возможны различные способы застегивания, то каждый способ застегивания должен соответствовать указанным требованиям.

Наспинный ремень должен быть сконструирован таким образом, чтобы рабочий был доволен соответствующей опорой без ограничения его нормальной свободы движений. Минимальная длина наспинного ремня зависит от наибольшего расстояния, измеренного со стороны спины, между элементами крепления или между креплением стропа для удерживающей привязи и расположенным напротив элемента крепления. Минимальная длина должна быть на 50 мм длиннее, чем это расстояние (по 25 мм на каждой стороне). Минимальная ширина составляет 100 мм по длине 200 мм в середине и 60 мм на других частях наспинного ремня. Допускается использовать наспинные ремни другой конструкции, которые по соответствующей опорной площади создают соответствующую опору. Должна быть создана возможность визуального контроля всей удерживающей привязи, даже если она вшита в предмет одежды.

4.2.2 Испытание статической предельной допускаемой нагрузкой

При испытании по 5.2.1 удерживающая привязь должна удерживать испытательный цилиндр при приложении статической нагрузки в 15 кН. Если удерживающая привязь имеет несколько элементов крепления, то нагрузку прилагают последовательно к каждому элементу. При наличии нескольких одинаковых элементов крепления, расположенных симметрично, испытание можно проводить только с одним из них.

Примечание - При испытании с каждым элементом крепления каждый раз необходимо использовать новый испытуемый образец.

4.2.3 Испытание динамической нагрузкой

При испытании динамической нагрузкой по 5.3 удерживающая привязь должна удерживать манекен при испытании на каждом элементе крепления. При наличии одинаковых элементов крепления, расположенных симметрично, испытание можно проводить только с одним из них.

Примечание - При испытании с каждым элементом крепления каждый раз необходимо использовать новый испытуемый образец.

4.3 Строп для удерживающей привязи

4.3.1 Форма и конструкция

4.3.1.1 Общие требования

Строп для удерживающей привязи должен иметь такую форму и конструкцию, чтобы предотвращалось непреднамеренное отсоединение стропа от привязи. Если имеется несколько возможностей присоединения стропа к удерживающей привязи, то все способы присоединения должны соответствовать указанному требованию.

Строп для удерживающей привязи должен иметь устройство для регулирования длины. Максимальная длина стропа должна быть не более 2 м. Во время работы устройством регулирования должна быть установлена минимальная длина стропа, обеспечивающая необходимую защиту. Должна существовать возможность визуального контроля всех компонентов системы.

Примечание - Строп по рисунку 1 для удерживающей привязи должен иметь концевой ограничитель, благодаря которому предотвращается непреднамеренное отсоединение устройства для регулирования длины от стропа.

4.3.1.2 Канаты и тканые ленты должны быть изготовлены из синтетического волокна, обладающего свойствами полиамидных или полиэфирных волокон. Швейные нитки должны быть из того же материала, что и ткань, но иметь другой цвет или контрастный оттенок для облегчения визуального контроля.

Канаты и тканые ленты, которые используют для изготовления стропов для удерживающих привязей, должны иметь разрывную нагрузку не менее 22 кН.

4.3.1.3 Цепи

Цепи должны удовлетворять требованиям, предъявляемым к цепям калибром 6,3 мм по ИСО 1835.

Допускается использовать цепи диаметром 4 мм, имеющие разрывную нагрузку не менее 22 кН.

Овальные и аналогичные концевые звенья цепи и все соединительные элементы должны быть совместимы с цепью.

4.3.2 Испытание статической предельной допускаемой нагрузкой

Во время испытания по 5.2 при приложении статической нагрузки в 15 кН строп для удерживающей привязи не должен разрушаться.

4.3.3 Испытание динамической нагрузкой

При испытании по 5.3 строп для удерживающей привязи должен удерживать испытательный манекен.

Примечание - Если удерживающая система имеет строп для удерживающих привязей из стального троса, цепи или другого жесткого материала, то такой строп может иметь амортизатор своей неотъемлемой частью.

4.4 Карабин

4.4.1 Общие требования

Карабины - по ГОСТ Р 12.4.225.

4.4.2 Конструкция

Во избежание опасности непредвиденного открывания карабина или карабина с замком они должны быть самозакрывающимися или самозащелкивающимися либо закрывающимися вручную. Карабин должен открываться двумя следующими друг за другом осознанными движениями рук.

4.5 Устойчивость к коррозии

Все металлические части должны соответствовать требованиям по устойчивости к коррозии по ГОСТ Р 12.4.206 (5.13).

5 Методы испытаний

5.1 Оборудование

Испытательное оборудование - по ГОСТ Р 12.4.206.

5.2 Испытание статической предельной допускаемой нагрузкой

5.2.1 Удерживающая привязь

5.2.1.1 Удерживающая привязь в качестве отдельного компонента

Удерживающую привязь и испытательный цилиндр закрепляют в испытательном оборудовании, между испытательным цилиндром и элементами крепления прилагают испытательную нагрузку в соответствии с рисунком 4. Нагрузку прилагают в течение 3 мин. Удерживающая привязь должна удерживать испытательный цилиндр.

1 - боковой элемент крепления; 2 - пряжка (при испытании пряжка не должна касаться цилиндра)

Рисунок 4 - Испытание удерживающей привязи предельной допускаемой статической нагрузкой

5.2.1.2 Удерживающая привязь со стропом, являющимся неотъемлемой частью привязи

Удерживающую привязь со стропом и испытательный цилиндр закрепляют в испытательном оборудовании. При помощи регулирующего устройства устанавливают длину стропа не менее 300 мм. В соответствии с рисунком 5 нагрузку прилагают между испытательным цилиндром и карабином на свободном конце стропа. Нагрузку прилагают в течение 3 мин. Удерживающая привязь со стропом должна удерживать испытательный цилиндр.

1 - боковой элемент крепления; 2 - устройство для регулирования длины; 3 - пряжка (при испытании пряжка не должна касаться цилиндра)

Рисунок 5 - Испытание удерживающей привязи со стропом, являющимся неотъемлемой частью привязи, статической предельной допускаемой нагрузкой

5.2.2 Строп для удерживающих привязей в качестве отдельного компонента

При помощи регулирующего устройства устанавливают длину стропа не менее 300 мм.

В соответствии с рисунком 6 испытательную нагрузку прилагают между конечными точками активной части стропа для удерживающих привязей. Нагрузку сохраняют в течение 3 мин, при этом строп не должен разрушиться.

1 - устройство для регулирования длины

Рисунок 6 - Испытание стропа статической предельной допускаемой нагрузкой

1 - устройство для регулирования длины; 2 - испытательный манекен

Рисунок 7 - Испытание удерживающей системы динамической нагрузкой

5.3 Испытание динамической нагрузкой удерживающей системы

5.3.1 Удерживающую привязь надевают на испытательный манекен. Строп для удерживающих привязей укрепляют только на одном элементе крепления удерживающей привязи.

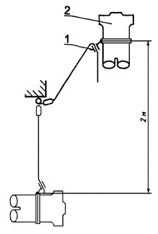
Длину стропа между элементом крепления и карабином на свободном конце стропа при помощи устройства для регулирования устанавливают (1,0 ± 0,05) м. Карабин, как показано на рисунке 7, закрепляют на жесткой анкерной опоре.

5.3.2 Испытательный манекен за верхний крепежный элемент приподнимается таким образом, чтобы элемент крепления удерживающей привязи находился примерно на 1,0 м выше карабина стропа. Испытательный манекен удерживается устройством быстрого расцепления.

Если в рабочем состоянии анкерная точка крепления карабина и устройство быстрого расцепления находятся на одном уровне, то допускается с помощью технологического фала из цепи или металлической планки снизить анкерную точку крепления карабина таким образом, чтобы элемент крепления удерживающей привязи находился примерно на один метр выше карабина стропа.

5.3.3 Испытательный манекен отпускается без начальной скорости в свободное падение ногами вперед, свободное падение совершается на расстоянии около 2,0 метров, прежде чем получит натяжение строп удерживающей привязи. Без замены стропа для удерживающей привязи проводятся два испытания, время между испытаниями должно быть не менее 15 мин. Допускается регулировка привязи со стропом для удерживающей привязи между двумя следующими друг за другом испытаниями. Испытательный манекен не должен выпасть или оторваться.

6 Инструкция по применению и маркировке

6.1 Инструкция по применению

Каждая удерживающая привязь, каждый строп для удерживающей привязи и каждый компонент должны сопровождаться понятно написанными инструкциями для настройки, регулирования и использования. Такие инструкции должны содержать следующую информацию:

а) название изготовителя;

б) название и адрес поставщика или аналогичную информацию для идентификации поставщика, если необходимо;

в) данные о назначении и ограничениях применения изделий;

г) предостережение с разъяснением о том, что данное оборудование непригодно для целей страховки;

д) инструкцию по монтажу и (или) по регулированию длины стропа для удерживающих привязей на опоре линии электропередачи или на другом строительном устройстве между элементами крепления так, чтобы свободное падение составляло не более 0,5 м;

е) предостережение об опасностях, которые могут возникнуть, если стропом для удерживающих привязей обхватывается строительное устройство небольшим диаметром или с острыми кромками, имеющими небольшой радиус закругления;

ж) инструкцию по проведению визуального контроля оборудования непосредственно перед его использованием, чтобы убедиться в том, что оборудование находится в работоспособном состоянии;

и) инструкцию по регулярному осмотру оборудования с учетом условий использования и с указанием того, что если изготовитель сочтет нужным, то оборудование не реже чем раз в год должно быть обслужено компетентным специалистом, утвержденным изготовителем;

к) руководства по контролю оборудования и факторов, которые ведут к применению более надежной удерживающей системы;

л) предупреждения и рекомендации. Если изделие содержит материалы, чувствительные к химикатам, пользователь в сомнительном случае должен обращаться к изготовителю (поставщику);

м) предостережение об опасностях во время использования комбинаций компонентов, при которых, благодаря надежному использованию одного из компонентов, может быть причинен вред надежному использованию другого компонента;

н) предостережение против изменений и дополнений к изделиям;

п) предупреждение о том, что ремонты на оборудовании следует проводить изготовителем или компетентными лицами, соответственно уполномоченными изготовителем;

р) предписания о хранении на складе;

с) инструкцию по мойке или очистке;

т) инструкцию по техническому обслуживанию.

6.2 Маркировка

Удерживающая привязь и строп для нее должны иметь маркировку, выполненную надлежащим методом на длительный срок с четким сообщением следующей информации:

а) номера настоящего стандарта;

б) названия, товарного знака или другого знака изготовителя или поставщика, который торгует от имени изготовителя или несет ответственность за указание соответствия оборудования настоящему стандарту;

в) информации изготовителя об идентификации продукта с указанием номера партии или номера серии изготовителя, которая способствует установлению происхождения оборудования;

г) года и месяца изготовления;

д) наименования материалов, из которых изготовлены волокна;

е) предупреждения о том, что необходимо учитывать инструкции изготовителя.

7 Упаковка

Каждая удерживающая привязь должна быть упакована в водонепроницаемый материал.

Ключевые слова: охрана труда, средства индивидуальной защиты, техника безопасности, падение, предохранительные пояса, опора, требование, испытание, свойства, инструкция, маркировка




Яндекс цитирования



   Copyright © 2007-2026,  www.tehlit.ru.

[ ѓосты, стандарты, нормативы, инструкции, правила, строительные нормы ]