//
|
|
ГОСТ Р 41.10-99 государственный стандарт российской федерации единообразные предписания, касающиеся официального утверждения транспортных средств в отношении электромагнитной совместимости ГОССТАНДАРТ РОССИИ Москва Предисловие 1 РАЗРАБОТАН Всероссийским научно-исследовательским институтом стандартизации и сертификации в машиностроении (ВНИИНМАШ) на основе Правил ЕЭК ООН № 10, принятых Рабочей группой по конструкции транспортных средств КВТ ЕЭК ООН ВНЕСЕН Госстандартом России 2 ПРИНЯТ И ВВЕДЕН В ДЕЙСТВИЕ Постановлением Госстандарта
России от 26 мая 3 Настоящий стандарт представляет собой идентичный текст Правил ЕЭК ООН № 10 с поправками серии 02 (с 03.09.97), Пересмотр 2 (документ E/ECE/324-E/ECE/TRANS/505/Add.9/Rev.2, дата вступления в силу 03.09.97) «Единообразные предписания, касающиеся официального утверждения транспортных средств в отношении электромагнитной совместимости» и включает в себя Дополнение 1 к поправкам серии 02 - E/ECE/324-E/ECE/TRANS/505/Add.9/Rev.2/Amend.l 4 ВВЕДЕН ВПЕРВЫЕ 5 ИЗДАНИЕ (март Содержание
Дата введения 2000-07-01 Настоящий стандарт вводит в действие Правила ЕЭК ООН № 10 (далее - Правила). 1 Область примененияНастоящие Правила применяются в отношении электромагнитной совместимости транспортных средств категорий L, М, N и О (далее - транспортные средства), представленных предприятием-изготовителем транспортных средств, и в отношении элементов отдельных электрических/электронных технических блоков, предназначенных для установки на транспортных средствах. (Измененная редакция, Изм. № 1)1). 1) Дополнение 1 к поправкам серии 02 - E/ECE/324-E/ECE/TRANS/505/Add.9/Rev.2/Amend.l (здесь и далее). 2 ОпределенияВ настоящих Правилах применяются следующие термины с соответствующими определениями: 2.1 электромагнитная совместимость: Способность транспортного средства или элемента (элементов) либо отдельного (отдельных) электрического (электрических)/электронного (электронных) технического (технических) блока (блоков) удовлетворительно функционировать в электромагнитной среде, не создавая недопустимых электромагнитных помех для какого бы то ни было объекта, находящегося в этой среде. 2.2 электромагнитные помехи: Любое электромагнитное явление, которое может оказывать негативное влияние на функционирование транспортного средства или элемента (элементов), либо отдельного (отдельных) электрического (электрических)/электронного (электронных) технического (технических) блока (блоков). Электромагнитные помехи могут представлять собой электромагнитный шум или изменения в самой среде распространения. 2.3 устойчивость к воздействию электромагнитных помех: Способность транспортного средства или элемента (элементов), либо отдельного (отдельных) технического (технических) блока (блоков) функционировать без ухудшения показателей эффективности при наличии конкретных электромагнитных помех. 2.4 электромагнитная среда: Совокупность электромагнитных явлений, присутствующих в данном месте, 2.5 контрольный предел: Номинальный уровень, который служит эталоном для предельных значений в контексте официального утверждения типа и обеспечения соответствия производства. 2.6 контрольная антенна для диапазона частот 20 -80 МГц: Укороченный резонансный симметричный вибратор, настроенный на частоту 80 МГц, а для диапазона частот свыше 80 МГц - полуволновой резонансный симметричный вибратор, настроенный на частоту измерения. (Измененная редакция, Изм. № 1) 2.7 широкополосные электромагнитные помехи: Электромагнитные помехи, диапазон которых шире полосы пропускания используемого приемного устройства. 2.8 узкополосные электромагнитные помехи: Электромагнитные помехи, диапазон которых уже полосы пропускания используемого приемного устройства. 2.9 электрическая/электронная система: Электрическое и/или электронное устройство или комплект устройств с любой соответствующей электропроводкой, которые являются частью транспортного средства, но подлежат официальному утверждению отдельно от транспортного средства. (Транспортное средство официально утверждается как единое целое, см. 3.1 настоящих Правил). 2.10 электрический/электронный сборочный узел (ЭСУ): Электрическое и/или электронное устройство или комплект устройств, которые должны вместе с любой соответствующей электропроводкой составлять часть транспортного средства и которые выполняют одну или несколько специальных функций. ЭСУ может быть официально утвержден по просьбе предприятия-изготовителя либо в качестве «элемента», либо в качестве «отдельного технического блока (ОТБ)». 2.11 тип транспортного средства: В контексте электромагнитной совместимости это транспортные средства, не имеющие между собой существенных различий по таким аспектам, как: 2.11.1 общий размер и форма моторного отсека; 2.11.2 общее расположение электрических и/или электронных элементов и общая схема проводки; 2.11.3 исходный материал, из которого изготовлен кузов или корпус (где это применимо) транспортного средства (например, корпус кузова из стали, алюминия или стекловолокна). Наличие панелей, выполненных из иного материала, не предполагает изменения типа транспортного средства, если исходный материал, из которого изготовлен кузов, остается неизменным. Однако такие отклонения должны быть указаны в сообщении. 2.12 тип ЭСУ: В контексте электромагнитной совместимости это ЭСУ, которые не различаются между собой по таким важным аспектам, как: 2.12.1 функция, выполняемая ЭСУ; 2.12.2 общее расположение электрических и/или электронных элементов. 3 Заявка на официальное утверждение3.1 Официальное утверждение типа транспортного средства 3.1.1 Заявка на официальное утверждение типа транспортного средства в отношении его электромагнитной совместимости подается предприятием-изготовителем транспортного средства. 3.1.2 Образец информационного документа приведен в приложении 2А. 3.1.3 Предприятие-изготовитель транспортного средства составляет перечень, в котором указываются все планируемые комбинации соответствующих электрических/электронных систем или ЭСУ транспортного средства, типы кузова (где это применимо), варианты материалов, из которых изготовляется кузов (где это применимо), общие схемы проводки, варианты двигателя, варианты с левосторонним/правосторонним рулевым управлением и варианты колесной базы. Соответствующими электрическими/электронными системами или ЭСУ транспортного средства являются те системы или узлы, которые могут производить значительные широкополосные или узкополосные помехи и/или которые связаны с непосредственным управлением транспортным средством водителем (см. пункт 6.4.2.3 настоящих Правил). 3.1.4 По взаимному согласованию между предприятием-изготовителем и компетентным органом из этого перечня выбирается транспортное средство, которое является репрезентативным для типа, подлежащего официальному утверждению. Выбор транспортного средства производится с учетом электрических/электронных систем, предлагаемых предприятием-изготовителем. Из этого перечня может выбираться одно или несколько транспортных средств, если по взаимному согласованию между предприятием-изготовителем и компетентным органом признается, что используются различные электрические/электронные системы, которые могут оказать значительное влияние на электромагнитную совместимость транспортного средства по сравнению с первым репрезентативным транспортным средством. 3.1.5 Выбор транспортного(ых) средства (средств) в соответствии с 3.1.4 ограничивается теми комбинациями (транспортное средство/электрическая/электронная система), которые предназначены для реального производства. 3.1.6 В дополнение к заявке предприятие-изготовитель может представить протокол о проведенных испытаниях. Любые такие представленные данные могут быть использованы компетентным органом, ответственным за официальное утверждение, для составления карточки сообщения об официальном утверждении типа. 3.1.7 Если техническая служба, ответственная за проведение испытания для официального утверждения типа, проводит испытание сама, то предоставляется транспортное средство, являющееся репрезентативным для типа, подлежащего официальному утверждению, в соответствии с 3.1.4. 3.2 Официальное утверждение типа ЭСУ 3.2.1 Заявка на официальное утверждение типа ЭСУ в отношении его электромагнитной совместимости подается предприятием-изготовителем транспортного средства или предприятием-изготовителем ЭСУ. 3.2.2 Образец информационного документа приведен в приложении 2В. 3.2.3 В дополнение к заявке предприятие-изготовитель может представить протокол о проведенных испытаниях. Любые такие представленные данные могут быть использованы компетентным органом, ответственным за официальное утверждение, для цели составления сообщения об официальном утверждении типа. 3.2.4 Если техническая служба, ответственная за проведение испытания для официального утверждения типа, проводит испытание сама, то предоставляется образец системы ЭСУ, являющийся репрезентативным для типа, подлежащего официальному утверждению. Делается это, при необходимости, после обсуждения с предприятием-изготовителем таких вопросов, как возможные варианты компоновки, количество элементов и количество датчиков. Техническая служба может выбрать дополнительный образец, если она сочтет это необходимым. 3.2.5 На образце (образцах) должна быть проставлена четкая и нестираемая маркировка с указанием фирменного названия или торговой марки предприятия-изготовителя и обозначения типа. 3.2.6 Где это применимо, должны быть оговорены любые ограничения по эксплуатации. Любые такие ограничения должны быть указаны в приложениях 2В и/или 3В. 4 Официальное утверждение4.1 Процедуры официального утверждения типа 4.1.1 Официальное утверждение типа транспортного средства По усмотрению предприятия-изготовителя транспортного средства могут использоваться указанные ниже альтернативные процедуры для официального утверждения типа транспортного средства. 4.1.1.1 Официальное утверждение оборудованного транспортного средства Оборудованное транспортное средство может быть непосредственно официально утверждено по типу на основе выполнения предписаний, изложенных в разделе 6 настоящий Правил. Если предприятие-изготовитель транспортного средства выбирает эту процедуру, то отдельного испытания электрических/электронных систем или ЭСУ не требуется. 4.1.1.2 Официальное утверждение типа транспортного средства посредством испытания отдельных ЭСУ Предприятие-изготовитель транспортного средства может получить официальное утверждение для транспортного средства, если оно продемонстрирует компетентному органу, ответственному за официальное утверждение, что все соответствующие (см. 3.1.3 настоящих Правил) электрические/электронные системы или ЭСУ были официально утверждены в соответствии с настоящими Правилами и были установлены с соблюдением всех оговоренных в них условий. 4.1.1.3 Предприятие-изготовитель может, если оно того пожелает, получить официальное утверждение для целей настоящих Правил, если транспортное средство не имеет оборудования типа, подлежащего испытаниям на устойчивость к воздействию помех или на предмет создания помех. На транспортном средстве не должно быть систем, указанных в 3.1.3 (устойчивость к воздействию помех), и оборудования искрового зажигания. Такие официальные утверждения не требуют проведения испытаний. 4.1.2 Официальное утверждение типа ЭСУ Официальное утверждение типа может быть предоставлено для ЭСУ, подлежащего установке либо на любом типе транспортных средств, либо на конкретном типе или типах транспортных средств в соответствии с заявкой предприятия-изготовителя. Для ЭСУ, связанных с непосредственным управлением транспортными средствами, официальные утверждения типа будут предоставляться, как правило, по согласованию с предприятием-изготовителем транспортного средства. 4.2 Предоставление официального утверждения типа 4.2.1 Транспортное средство 4.2.1.1 Официальное утверждение типа предоставляется в том случае, если репрезентативное транспортное средство отвечает требованиям раздела 6 настоящих Правил. 4.2.1.2 Образец карточки сообщения об официальном утверждении типа приведен в приложении 3А. 4.2.2 ЭСУ 4.2.2.1 Официальное утверждение типа предоставляется в том случае, если репрезентативная (репрезентативные) система (системы) ЭСУ соответствует (соответствуют) требованиям раздела 6 настоящих Правил. 4.2.2.2 Образец карточки сообщения об официальном утверждении типа приведен в приложении 3В. 4.2.3 Для целей составления карточек сообщений, упомянутых в 4.2.1.2 или 4.2.2.2, компетентный орган Договаривающейся стороны, предоставляющий официальное утверждение, может использовать отчет, подготовленный или одобренный либо признанной лабораторией, либо в соответствии с положениями настоящих Правил. 4.3 Стороны Соглашения, применяющие настоящие Правила, уведомляются об официальном утверждении или об отказе в официальном утверждении типа транспортного средства или ЭСУ посредством карточки, соответствующей образцу, приведенному в приложении 3А или 3В настоящих Правил, к которой прилагаются фотографии и/или схемы либо чертежи в надлежащем масштабе, представленные подателем заявки в формате, не превышающем А4 (210х297 мм), или сложенные до этих размеров. 5 Маркировка5.1 Каждому официально утвержденному типу транспортного средства или ЭСУ присваивается номер официального утверждения, первые две цифры которого (в настоящее время 02) указывают на серию поправок, включающую самые последние важнейшие технические изменения, внесенные в Правила к моменту предоставления официального утверждения. Одна и та же Договаривающаяся сторона не может присвоить этот номер официального утверждения другому типу транспортного средства или ЭСУ. 5.2 Наличие маркировки 5.2.1 Транспортное средство Знак официального утверждения, описанный в 5.3, проставляется на каждом транспортном средстве, соответствующем типу, официально утвержденному на основании настоящих Правил. 5.2.2 Сборочный узел Знак официального утверждения, описанный в 5.3, проставляется на каждом ЭСУ, соответствующем типу, официально утвержденному на основании настоящих Правил. Для электрических/электронных систем, встроенных в транспортные средства, которые официально утверждены как единое целое, никакой маркировки не требуется. 5.3 На каждом транспортном средстве, соответствующем типу, официально утвержденному на основании настоящих Правил, должен проставляться на видном и легкодоступном месте, указанном в карточке сообщения об официальном утверждении, международный знак официального утверждения. Этот знак состоит из: 5.3.1 круга, в котором проставлена буква «Е», за которой следует отличительный номер страны, предоставившей официальное утверждение 1); (Измененная редакция, Изм. № 1). 5.3.2 номера настоящих Правил, буквы «R», тире и номера официального утверждения, проставленных справа от круга, указанного в пункте 5.3.1. 5.4 Пример знака официального утверждения типа приведен в приложении 1 настоящих Правил. 5.5 Маркировка, проставляемая на ЭСУ в соответствии с 5.3, может быть невидимой, когда ЭСУ установлен на транспортном средстве. 1) 1 - Германия, 2 - Франция, 3 - Италия, 4 - Нидерланды, 5 - Швеция, 6 - Бельгия, 7 - Венгрия, 8 - Чешская Республика, 9 - Испания, 10 - Югославия, 11 - Соединенное Королевство, 12 - Австрия, 13 - Люксембург, 14 - Швейцария, 15 - не присвоен, 16 - Норвегия, 17 - Финляндия, 18 - Дания, 19 - Румыния, 20 - Польша, 21 - Португалия, 22 - Российская Федерация, 23 - Греция, 24 - не присвоен, 25 - Хорватия, 26 - Словения, 27 - Словакия, 28 - Беларусь, 29 - Эстония, 30 - не присвоен, 31 - Босния и Герцеговина, 32 - Латвия, 33 - не присвоен, 34 - Болгария, 35 -36 - не присвоены, 37 - Турция, 38 -39 - не присвоены, 40 - бывшая югославская Республика Македония, 41 - не присвоен, 42 - Европейское сообщество (официальные утверждения предоставляются его государствами-членами с использованием его соответствующего символа ЕЭК) и 43 - Япония. Последующие порядковые номера присваиваются другим странам в хронологическом порядке ратификации ими Соглашения о принятии единообразных технических предписаний для колесных транспортных средств, предметов оборудования и частей, которые могут быть установлены и (или) использованы на колесных транспортных средствах, и об условиях взаимного признания официальных утверждений, выдаваемых на основе этих предписаний, или в порядке их присоединения к этому Соглашению. Присвоенные им, таким образом, номера сообщаются Генеральным секретарем Организации Объединенных Наций Договаривающимся сторонам Соглашения. 6 Технические требования6.1 Общие технические требования 6.1.1 Транспортное средство [и его электрическая (электрические)/электронная (электронные) система (системы) или ЭСУ] должно быть спроектировано и оборудовано таким образом, чтобы при нормальных условиях эксплуатации транспортное средство соответствовало предписаниям настоящих Правил. 6.2 Технические требования, касающиеся широкополосных электромагнитных помех, производимых транспортными средствами, оснащенными искровым зажиганием 6.2.1 Метод измерения Измерение электромагнитных помех, производимых транспортным средством, являющимся репрезентативным для своего типа, осуществляется в соответствии с методом, описанным в приложении 4, на любом из двух оговоренных расстояний расположения антенны. Расстояние выбирается предприятием-изготовителем транспортного средства. 6.2.2 Контрольный предел для широкополосных электромагнитных помех, производимых транспортным средством. 6.2.2.1 Если измерения проводятся в соответствии с методом, описанным в приложении 4, при расстоянии между транспортным средством и антенной (10,0±0,2) м, то контрольный предел излучения в полосе частот от 30 до 75 МГц составляет 34 дБ мкВ/м (50 мкВ/м); в пол осе частот от 75 до 400 МГц он логарифмически (линейно) увеличивается от 34 до 45 дБ мкВ/м (50-180 мкВ/м) (как показано в дополнении 1 к настоящим Правилам), а в полосе частот от 400 до 1 000 МГц он остается постоянным на уровне 45 дБ мкВ/м (180 мкВ/м). 6.2.2.2 Если измерения проводятся в соответствии с методом, описанным в приложении 4, при расстоянии между транспортным средством и антенной (3,0±0,05) м, то контрольный предел излучения в полосе частот от 30 до 75 МГц составляет 44 дБ мкВ/м (160 мкВ/м); в полосе частот от 75 до 400 МГц он логарифмически (линейно) увеличивается от 44 до 55 дБ мкВ/м (160-562 мкВ/м) (как показано в дополнении 2 к настоящим Правилам), а в полосе частот от 400 до 1000 МГц он остается постоянным на уровне 55 дБ мкВ/м (562 мкВ/м). 6.2.2.3 На транспортном средстве, представленном для официального утверждения, измеренные значения, выраженные в дБ мкВ/м (мкВ/м), должны быть по меньшей мере на 2,0 дБ (20%) ниже контрольного предела. 6.3 Технические требования, касающиеся узкополосных электромагнитных помех, производимых . транспортными средствами* 6.3.1 Метод измерения Измерение электромагнитных помех, производимых транспортным средством типа, представленного для официального утверждения, осуществляется в соответствии с методом, описанным в приложении 5, на любом из двух оговоренных расстояний расположения антенны. Расстояние выбирается предприятием-изготовителем транспортного средства. 6.3.2 Контрольный предел для узкополосных электромагнитных помех, производимых транспортным средством 6.3.2.1 Если измерения проводятся в соответствии с методом, описанным в приложении 5, при расстоянии между транспортным средством и антенной (10,0±0,2) м, то контрольный предел излучения в полосе частот от 30 до 75 МГц составляет 24 дБ мкВ/м (16 мкВ/м); в полосе частот от 75 до 400 МГц он логарифмически (линейно) увеличивается от 24 до 35 дБ мкВ/м (16-56 мкВ/м) (как показано в дополнении 3 к настоящим Правилам), а в полосе частот от 400 до 1000 МГц он остается постоянным на уровне 35 дБ мкВ/м (56 мкВ/м). 6.3.2.2 Если измерения проводятся в соответствии с методом, описанным в приложении 5, при расстоянии между транспортным средством и антенной (3,0±0,05) м, то контрольный предел излучения в полосе частот от 30 до 75 МГц составляет 34 дБ мкВ/м (50 мкВ/м); в полосе частот от 75 до 400 МГц он логарифмически (линейно) увеличивается от 34 до 45 дБ мкВ/м (50-180 мкВ/м) (как показано в дополнении 4 к настоящим Правилам), а в полосе частот от 400 до 1 000 МГц он остается постоянным на уровне 45 дБ мкВ/м (180 мкВ/м). 6.3.2.3 На транспортном средстве, представленном для официального утверждения, измеренные значения, выраженные в дБ мкВ/м (мкВ/м), должны быть по меньшей мере на 2,0 дБ (20 %) ниже контрольного предела. 6.3.2.4 Независимо от пределов, определенных в 6.3.2.1, 6.3.2.2 и 6.3.2.3 настоящих Правил, если на первоначальном этапе, описанном в 1.3 приложения 5, сила сигнала, измеренная на радиоантенне транспортного средства, составляет менее 20 дБ мкВ (10 мкВ) в полосе частот от 88 до 108 МГц, то считается, что транспортное средство соответствует пределам для узкополосных электромагнитных помех и дальнейших испытаний не требуется. * Дата введения 01.01.2005 г. 6.4 Технические требования, касающиеся устойчивости транспортных средств к воздействию электромагнитного излучения* 6.4.1 Метод испытания Испытание транспортного средства, представленного для официального утверждения, на устойчивость к воздействию электромагнитного излучения проводится в соответствии с методом, описанным в приложении 6. 6.4.2 Контрольные пределы для устойчивости транспортного средства 6.4.2.1 Если испытания проводятся в соответствии с методом, описанным в приложении 6, то среднее квадратическое значение контрольного предела напряженности поля составляет 24 В/м на 90 % полосы частот от 20 до 1 000 МГц и 20 В/м во всей полосе частот от 20 до 1 000 МГц. 6.4.2.2 Считается, что транспортное средство, являющееся репрезентативным для своего типа, соответствует требованиям в отношении устойчивости, если в ходе испытаний, проводимых в соответствии с приложением 6, и при напряженности поля, которая выражена в В/м и которая на 25 % превышает контрольный уровень, водитель или другие участники дорожного движения не замечают никакого аномального изменения в скорости вращения ведущих колес транспортного средства, никакого ухудшения эффективности функционирования, которое создавало бы неудобства для других участников дорожного движения, и никакого ухудшения в непосредственном управлении транспортным средством. 6.4.2.3 Непосредственное управление транспортным средством осуществляется, например, при помощи рулевого управления, торможения или изменения числа оборотов двигателя. * - Дата введения 01.01.2005г. 6.5 Технические требования, касающиеся широкополосных электромагнитных помех, производимых ЭСУ* 6.5.1 Метод измерения Измерение электромагнитного излучения, генерируемого ЭСУ, являющимся репрезентативным для своего типа, должно осуществляться в соответствии с методом, описанным в приложении 7. 6.5.2 Широкополосный контрольный предел для ЭСУ 6.5.2.1 Если измерения проводятся в соответствии с методом, описанным в приложении 7, то контрольный предел излучения в полосе частот от 30 до 75 МГц логарифмически (линейно) уменьшается от 64 до 54 дБ мкВ/м (1 600 -500 мкВ/м); в полосе частот от 75 до 400 МГц он логарифмически (линейно) увеличивается от 54 до 65 дБ мкВ/м (500-1 800 мкВ/м) (как показано в дополнении 5 к настоящим Правилам), а в полосе частот от 400 до 1 000 МГц он остается постоянным на уровне 65 дБ мкВ/м (1800 мкВ/м). 6.5.2.2 На ЭСУ, являющемся репрезентативным для своего типа, измеренные значения, выраженные в дБ мкВ/м (мкВ/м), должны быть по меньшей мере на 2,0 дБ (20%) ниже контрольного предела. * Дата введения 01.01.2005 г. 6.6 Технические требования, касающиеся узкополосных электромагнитных помех, производимых ЭСУ* 6.6.1 Метод измерения Измерение электромагнитных помех, производимых ЭСУ, являющимся репрезентативным для своего типа, должно осуществляться в соответствии с методом, описанным в приложении 8. 6.6.2 Контрольные пределы для узкополосных электромагнитных помех, производимых ЭСУ 6.6.2.1 Если измерения проводятся в соответствии с методом, описанным в приложении 8, то контрольный предел излучения в полосе частот от 30 до 75 МГц логарифмически (линейно) уменьшается от 54 до 44 дБ мкВ/м (500 -160 мкВ/м); в полосе частот от 75 до 400 МГц он логарифмически (линейно) увеличивается от 44 до 55 дБ мкВ/м (160 -560 мкВ/м) (как показано в дополнении 6 к настоящим Правилам), а в полосе частот от 400 до 1 000 МГц он остается постоянным на уровне 55 дБ мкВ/м (560 мкВ/м). 6.6.2.2 На ЭСУ, являющемся репрезентативным для своего типа, измеренные значения, выраженные в дБ мкВ/м (мкВ/м), должны быть по меньшей мере на 2,0 дБ (20 %) ниже контрольного предела. * Дата введения 01.01.2005 г. 6.7 Технические требования, касающиеся устойчивости ЭСУ к воздействию электромагнитного излучения* 6.7.1 Метод(ы) испытания Испытание ЭСУ, представленного для официального утверждения, на устойчивость к воздействию электромагнитного излучения должно проводиться в соответствии с методом (методами), выбранным (выбранными) из числа описанных в приложении 9. 6.7.2 Контрольные пределы для устойчивости ЭСУ 6.7.2.1 Если испытания проводятся в соответствии с методами, описанными в приложении 9, то контрольные уровни составляют 48 В/м для метода испытания в 150-миллиметровой полосковой системе, 12 В/м - для метода испытания в 800-миллиметровой полосковой системе, 60 В/м - для метода испытания в камере ПЭК**, 48 мА - для метода испытания путем непосредственной инжекции тока (НИТ) и 24 В/м - для метода испытания в условиях свободного поля. 6.7.2.2 При напряженности поля или напряжении тока, выраженных в соответствующих единицах линейных измерений, на 25 % выше контрольного предела на ЭСУ, являющемся репрезентативным для своего типа, не должно наблюдаться каких-либо сбоев, способных вызывать какое-либо ухудшение эффективности функционирования, которое могло бы создать неудобства для других участников дорожного движения, или какое-либо ухудшение в непосредственном управлении транспортным средством, оснащенным данной системой. * Дата введения 01.01.2005 г. ** Поперечные электромагнитные колебания. 6.8 Исключения (поправки серии 02) 6.8.1 Если транспортное средство или электрическая/электронная система, либо ЭСУ не имеет электронного генератора с рабочей частотой, превышающей 9 кГц, то считается, что оно соответствует положениям 6.3.2 или 6.6.2 настоящих Правил и приложений 5 и 8. 6.8.2 Для транспортных средств, не имеющих электрических/электронных систем или ЭСУ, связанных с непосредственным управлением транспортным средством, испытаний на устойчивость не требуется и считается, что они соответствуют положениям 6.4 настоящих Правил и приложения 6. 6.8.3 Для ЭСУ, функции которых не имеют существенно важного значения для непосредственного управления транспортным средством, испытания на устойчивость не проводят и считают, что они соответствуют положениям 6.7 настоящих Правил и приложения 9. 6.8.4 Электростатический разряд В случае транспортных средств, оснащенных шинами, комплекс кузова и шасси транспортного средства может рассматриваться как электрически изолированная структура. Существенные электростатические силы в отношении среды, окружающей транспортное средство, возникают лишь в тот момент, когда водитель или пассажир входит в транспортное средство или выходит из него. Поскольку в такие моменты транспортное средство находится в неподвижном состоянии, никакого испытания для официального утверждения на предмет электростатистического разряда не требуется. 6.8.5 Передающиеся переходные процессы Поскольку в обычных условиях дорожной эксплуатации к транспортным средствам не подводят внешние электрические соединения, то никаких передающихся переходных процессов, способных воздействовать на внешнюю среду, не генерируется. Ответственность за обеспечение того, чтобы оборудование могло выдерживать передающиеся переходные процессы в транспортном средстве, например те, которые связаны с подачей или отключением нагрузки и взаимодействием между системами, возлагается на предприятие-изготовитель. Считается, что никакого испытания для официального утверждения на предмет передающихся переходных процессов не требуется. 7 Изменение или распространение официального утверждения типа транспортного средства после добавления или замены ЭСУ7.1 Если предприятие-изготовитель транспортного средства получил официальное утверждение типа для оснащенного транспортного средства и желает установить дополнительную или альтернативную электрическую/электронную систему или ЭСУ, в отношении которой/которого уже получено официальное утверждение на основании настоящих Правил и которая/который будет установлена/установлен в соответствии со всеми изложенными в них условиями, то официальное утверждение транспортного средства может быть распространено без проведения дополнительных испытаний. Для целей соответствия производства дополнительная или альтернативная электрическая/электронная система или ЭСУ считается частью транспортного средства. 7.2 В тех случаях, когда в отношении дополнительной (дополнительных) или альтернативной (альтернативных) части (частей) не было получено официального утверждения на основании настоящих Правил и испытание считается необходимым, транспортное средство в целом считается соответствующим установленным требованиям, если можно продемонстрировать, что новая (новые) или измененная (измененные) часть (части) отвечает (отвечают) соответствующим предписаниям раздела 6, или если в ходе сопоставительного испытания можно продемонстрировать, что новая часть вряд ли окажет негативное влияние на соответствие типа транспортного средства. 7.3 Дополнительная установка предприятием-изготовителем транспортного средства на официально утвержденном транспортном средстве стандартного оборудования бытового или профессионального назначения, за исключением оборудования мобильной связи, которое соответствует другим правилам и установка, замена или снятие которого осуществляется согласно рекомендациям предприятий-изготовителей оборудования и транспортных средств, не влечет за собой отмену официального утверждения транспортного средства. Это не препятствует предприятиям-изготовителям транспортных средств устанавливать оборудование связи в соответствии с надлежащими инструкциями по установке, составленными предприятием-изготовителем транспортного средства и/или предприятием (предприятиями)-изготовителем (изготовителями) такого оборудования связи. Предприятие-изготовитель транспортного средства представляет (по требованию компетентного органа, ответственного за проведение испытаний) доказательства того, что такие передающие устройства не оказывают негативного влияния на эффективность функционирования транспортного средства. В качестве такого доказательства может выступать заявление о том, что уровни мощности и схема установки являются такими, что уровни устойчивости к воздействию, оговоренные в настоящих Правилах, обеспечивают достаточную защиту при осуществлении изолированной передачи, то есть за исключением передачи, осуществляемой в комплексе с испытаниями, оговоренными в разделе 6. Настоящие Правила не санкционируют использования передающего устройства связи, когда применяются другие требования в отношении такого оборудования или его использования. 8 Соответствие производстваПроцедуры обеспечения соответствия производства должны соответствовать процедурам, оговоренным в дополнении 2 к Соглашению (E/ECE/324-E/ECE/TRANS/505/Rev.2), с учетом нижеследующих требований. 8.1 Транспортные средства или элементы либо ЭСУ, официально утвержденные на основании настоящих Правил, изготавливаются таким образом, чтобы они соответствовали официально утвержденному типу с учетом требований, изложенных в разделе 6. 8.2 Соответствие производства транспортного средства или элемента, либо отдельного технического блока проверяется на основе данных, содержащихся в карточке (карточках) сообщения об официальном утверждении типа, приведенной (приведенных) в приложении 3А и/или 3В настоящих Правил. 8.3 Если компетентный орган не удовлетворен процедурой проверки, выполненной предприятием-изготовителем, то проверку проводят по 8.3.1 и 8.3.2. 8.3.1 При проведении проверки соответствия транспортного средства, элемента либо ЭСУ серийного производства считается, что производство соответствует требованиям настоящих Правил в отношении широкополосных электромагнитных помех и узкополосных электромагнитных помех, если измеренные уровни не превышают более чем на 2 дБ (25%) соответствующие контрольные пределы, предписанные в 6.2.2.1, 6.2.2.2, 6.3.2.1 и 6.3.2.2. 8.3.2 При проведении проверки соответствия транспортного средства, элемента или ЭСУ серийного производства считается, что производство соответствует требованиям настоящих Правил в отношении устойчивости к воздействию электромагнитного излучения, если ЭСУ транспортного средства не оказывает никакого негативного влияния на непосредственное управление транспортным средством, которое могло бы быть замечено водителем или другими участниками дорожного движения, когда транспортное средство находится в состоянии, определенном в разделе 4 приложения 6, и подвергается воздействию поля, напряженность которого, выраженная в В/м, составляет до 80% контрольных пределов, предписанных в 6.4.2.1. 9 Санкции, налагаемые за несоответствие производства9.1 Официальное утверждение, предоставленное в отношении транспортного средства, элемента или отдельного технического блока на основании настоящих Правил, может быть отменено, если не соблюдаются требования, изложенные в разделе 6, или если выбранные транспортные средства не проходят испытания, предусмотренные в разделе 6. 9.2 Если какая-либо Сторона Соглашения, применяющая настоящие Правила, отменяет предоставленное ею ранее официальное утверждение, она незамедлительно уведомляет об этом другие Договаривающиеся стороны, применяющие настоящие Правила, посредством карточки сообщения, соответствующей образцу, приведенному в приложениях 3А и 3В настоящих Правил. 10 Окончательное прекращение производстваЕсли владелец официального утверждения полностью прекращает производство определенного типа транспортного средства или ЭСУ, официально утвержденного на основании настоящих Правил, он сообщает об этом компетентному органу, предоставившему официальное утверждение, который в свою очередь сообщает об этом другим Сторонам Соглашения 1958 года, применяющим настоящие Правила, посредством карточки сообщения, соответствующей образцу, приведенному в приложениях 3А и 3В настоящих Правил. 11 Модификации типа транспортного средства или ЭСУ и распространение официального утверждения11.1 Внесение каких-либо изменений в данный тип транспортного средства или ЭСУ доводится до сведения административного органа, который предоставил официальное утверждение для этого типа транспортного средства. Этот орган может: 11.1.1 прийти к заключению, что внесенные изменения вряд ли оказывают значительное негативное влияние и что в любом случае это транспортное средство или ЭСУ по-прежнему соответствует предписаниям или 11.1.2 потребовать новый протокол испытания от технической службы, ответственной за проведение испытаний. 11.2 Подтверждение официального утверждения или отказ в официальном утверждении направляется вместе с перечнем изменений Сторонам Соглашения, применяющим настоящие Правила, в соответствии с процедурой, указанной в разделе 4. 11.3 Компетентный орган, распространивший официальное утверждение, присваивает распространению серийный номер и уведомляет об этом другие Стороны Соглашения 1958 года, применяющие настоящие Правила, посредством карточки сообщения, соответствующей образцам, приведенным в приложениях 3А и 3В настоящих Правил. 12 Переходные положения12.1 Начиная с официальной даты вступления в силу поправок серии 02 ни одна из Договаривающихся сторон, применяющих настоящие Правила, не должна отказывать в предоставлении официальных утверждений на основании настоящих Правил с внесенными в них поправками серии 02. 12.2 Начиная с 1
января Для транспортных
средств категории L положения
настоящего пункта применяют с 17 июня 12.3 Пункт 12.2 не применяется в случае типов транспортных средств, официально утвержденных на основании Правил № 24 до 1 января 1996 года, либо, где это применимо, в случае последующих распространений этих официальных утверждений. Для транспортных
средств категории L положения приложений 6 и 9 применяют с 18 августа 12.4 Начиная с 1 октября 2002 года Договаривающиеся стороны, применяющие настоящие Правила, могут отказывать в признании официальных утверждений, которые не были предоставлены в соответствии с положениями поправок серии 02 к настоящим Правилам. Для транспортных
средств категории L положения
настоящего пункта применяют с 18 августа 12.5 Вне зависимости от пунктов 12.2 и 12.4 Договаривающиеся стороны, применяющие настоящие Правила, продолжают предоставлять официальные утверждения в соответствии с поправками серии 01 к настоящим Правилам: 12.5.1 b отношении деталей, предназначенных для использования на типах транспортных средств, которые были официально утверждены до указанных в пункте 12.2 дат на основании Правил № 10 либо Правил № 24, и, где это применимо, последующие распространения этих официальных утверждений; 12.5.2 в отношении транспортных средств категории L до даты вступления в силу дополнения 1 к поправкам серии 02 к Правилам № 10, содержащим конкретные предписания для этих транспортных средств. 12.2 -12.5 (Измененная редакция, Изм. № 1). 13 Наименования и адреса технических служб, уполномоченных проводить испытания для официального утверждения, и административных органовСтороны Соглашения 1958 года, применяющие настоящие Правила, сообщают Секретариату Организации Объединенных Наций наименования и адреса технических служб, уполномоченных проводить испытания для официального утверждения, а также административных органов, которые предоставляют официальные утверждения и которым следует направлять выдаваемые в других странах регистрационные карточки официального утверждения, распространения официального утверждения, отказа в официальном утверждении или отмены официального утверждения. Контрольные пределы для широкополосных электромагнитных помех, производимых транспортным средством Расстояние между антенной и транспортным средством:
Частоты в мегагерцах - логарифмическая шкала (см. 6.2.2.1) Контрольные пределы для широкополосных электромагнитных помех, производимых транспортным средством Расстояние между антенной и транспортным средством:
Частоты в мегагерцах - логарифмическая шкала (см. 6.2.2.2) Контрольные пределы для узкополосных электромагнитных помех, производимых транспортным средством Расстояние между антенной и транспортным средством:
Частоты в мегагерцах - логарифмическая шкала (см. 6.3.2.1) Контрольные пределы для узкополосных электромагнитных помех, производимых транспортным средством Расстояние между антенной и транспортным средством:
Частоты в мегагерцах - логарифмическая шкала (см. 6.3.2.2) ДОПОЛНЕНИЕ 5 Контрольные пределы для широкополосных электромагнитных помех, производимых электрическим/электронным сборочным узлом
Частоты в мегагерцах - логарифмическая шкала (см. 6.5.2.1) Контрольные пределы для узкополосных электромагнитных помех, производимых электрическим/электронным сборочным узлом
Частоты в мегагерцах - логарифмическая шкала (см. 6.6.2.1) ПРИЛОЖЕНИЕ
1
| |||||||||||||||||||||||||||||||||||||||||||||||||||||||||||||||||||||||||||||||||||||||||
|
Тип двигателя |
Метод измерения |
|
|
Квазипиковое значение |
Пиковое значение |
|
|
Искровое зажигание |
Число оборотов двигателя |
Число оборотов двигателя |
|
Один цилиндр |
2 500 мин-1 ± 10% |
2500 мин-1 ± 10% |
|
Более одного цилиндра |
1 500 мин-1 ± 10 % |
1 500 мин-1 ± 10% |
4.2 Испытания транспортного средства не должны проводиться под дождем или при других осадках и в течение 10 мин после прекращения таких осадков.
5 ТИП, ПОЛОЖЕНИЕ И ОРИЕНТАЦИЯ АНТЕННЫ
5.1 Тип антенны
Допускается использование любой антенны, если она может быть стандартизована в соответствии с требованиями, предъявляемыми к контрольной антенне. Для калибровки антенны может использоваться метод, описанный в публикации МСКРП № 12, издание 3, дополнение А.
5.2 Высота и расстояние измерения
5.2.1 Высота
5.2.1.1 Испытание на
расстоянии
Фазовый центр антенны находится на высоте (3,00 ± 0,05) м над поверхностью, на которой располагается транспортное средство.
5.2.1.2 Испытание на
расстоянии
Фазовый центр антенны находится на высоте (1,80 ± 0,05) м над поверхностью, на которой располагается транспортное средство.
5.2.1.3 Ни одна из
частей каких-либо принимающих элементов антенны не должна находиться на
расстоянии менее
5.2.2 Расстояние измерения
5.2.2.1 Испытание на
расстоянии
Горизонтальное расстояние от конца или другой соответствующей точки антенны, определенной в ходе процедуры стандартизации, описанной в 5.1 настоящего приложения, до внешней поверхности кузова транспортного средства должно составлять (10,0 ± 0,2) м.
5.2.2.2 Испытание на
расстоянии
Горизонтальное расстояние от конца или другой соответствующей точки антенны, определенной в ходе процедуры стандартизации, описанной в 5.1 настоящего приложения, до внешней поверхности кузова транспортного средства должно составлять (3,00 ± 0,05) м.
5.2.2.3 Если
испытание проводится в закрытом помещении для целей электромагнитного
экранирования на радиочастотах, то принимающие элементы антенны должны
находиться на расстоянии не менее
5.3 Расположение антенны по отношению к транспортному средству
Антенна устанавливается последовательно слева и справа от транспортного средства, причем она должна располагаться параллельно плоскости продольной симметрии транспортного средства и находиться на линии, проходящей через середину двигателя (см. рисунки 3 и 4 в дополнении 1 к настоящему приложению).
(Измененная редакция, Изм. № 1).
5.4 Положение антенны
В каждой точке измерения показания должны сниматься как при горизонтальной, так и вертикальной поляризации антенны (см. рисунок 2 в дополнении 1 к настоящему приложению).
5.5 Показания приборов
Максимальное из четырех показаний, снятых в соответствии с 5.3 и 5.4 настоящего приложения на каждой фиксированной частоте, должно учитываться в качестве основного показания.
6 ЧАСТОТЫ
6.1 Измерения
Измерения должны проводиться в диапазоне частот от 30 до 1000 МГц. Для подтверждения того, что транспортное средство отвечает требованиям настоящего приложения компетентный орган, ответственный за проведение испытаний, должен проверить до 13 частот в этом диапазоне, например: 45, 65, 90, 120, 150, 190, 230, 280, 380, 450, 600, 750, 900 МГц. Если в ходе испытания предел превышается, то должно быть проведено расследование, чтобы убедиться, что это связано с помехами, производимыми транспортным средством, а не с фоновым излучением.
6.1.1 Пределы применяются по всему диапазону частот от 30 МГц до 1 000 МГц.
6.1.2 Изменения могут производиться при помощи либо квазипиковых, либо пиковых детекторов. В 6.2 и 6.5 настоящих Правил приведены пределы для квазипиковых детекторов. Если используется пиковый детектор, то для полосы шириной 1 МГц добавляют 38 дБ, а для полосы шириной 1 кГц вычитают 22 дБ.
6.2 Допускаемые отклонения
|
Фиксированная частота, МГц |
Допускаемое отклонение, МГц |
|
45, 65, 90, 120, 150, 190 и 230 |
±5 |
|
280, 380, 450, 600, 750 и 900 |
+20 |
Допускаемые отклонения применяются к указанным частотам и предназначены для учета возможного влияния сигналов, передаваемых на номинальных фиксированных частотах или на близких к ним частотах во время измерения.
ПРИЛОЖЕНИЕ 4. Дополнение 1
(обязательное)

Рисунок 1 - Площадка для испытаний транспортного средства. Горизонтальная площадка, не имеющая поверхностей, отражающих электромагнитные волны
Границы поверхности имеют форму эллипса

Рисунок 2 - Свободная горизонтальная поверхность, не отражающая электромагнитных волн. Определение границ поверхности, обозначенной эллипсом
Симметричная антенна в положении для измерения вертикальной составляющей излучения

Симметричная антенна в положении для измерения горизонтальной составляющей излучения

Рисунок 3 - Расположение антенн по отношению к транспортному средству
Дипольная антенна в положении для измерения вертикальной составляющей излучения

Дипольная антенна в положении для измерения горизонтальной составляющей излучения

Рисунок 4 - Положение антенны по отношению к транспортному средству
1 ОБЩИЕ ПОЛОЖЕНИЯ
1 Метод испытания, описанный в настоящем приложении, применяется только к транспортным средствам.
1.2 Измерительные приборы
Измерительное оборудование должно соответствовать
требованиям, изложенным в публикации № 16-1 (
Для измерения узкополосных электромагнитных помех, приведенных в настоящем приложении, должен использоваться детектор средних значений или пиковый детектор.
1.3 Метод испытания
Данное испытание предназначено для измерения узкополосных электромагнитных помех, которые могли бы производиться, например, микропроцессорной системой или другим источником узкополосных излучений. Прежде всего, проводится измерение уровней излучения в полосе частот ЧМ-радиовещания (88-108 МГц) на радиоантенне транспортного средства при помощи прибора, описанного выше в 1.2. Если уровень, указанный в 6.3.2.4 настоящих Правил, не превышается, то транспортное средство признается соответствующим пределу для электромагнитных помех, предписанному настоящим приложением, и полномасштабное испытание может не проводиться.
В рамках процедуры полномасштабного испытания допускаются
два альтернативных расстояния для измерения на антенне:
2 ВЫРАЖЕНИЕ РЕЗУЛЬТАТОВ
Результаты измерений должны выражаться в дБ мкВ/м (мкВ/м).
3 МЕСТО ПРОВЕДЕНИЯ ИЗМЕРЕНИЙ
Для проведения испытаний выбирается горизонтальная свободная
площадка, не имеющая поверхностей, отражающих электромагнитные волны, в пределах
круга минимальным радиусом
(Измененная редакция, Изм. № 1).
3.1 Измерительный комплекс, испытательный бокс или транспортное средство, в котором расположен измерительный комплекс, могут находиться на испытательной площадке, но лишь в пределах разрешенной зоны, показанной на рисунках 1 и 2 в дополнении 1 к приложению 4.
В зоне испытаний допускается установка других измерительных
антенн на расстоянии не менее
3.2 Испытания могут проводиться в закрытых помещениях, если можно продемонстрировать соответствие между результатами, полученными в закрытом помещении, и результатами, полученными на открытой площадке. Закрытые помещения для испытаний могут не соответствовать требованиям в отношении размеров, которые приведены на рисунках 1 и 2 в дополнении 1 к приложению 4, за исключением требований, касающихся расстояния от антенны до транспортного средства и высоты антенны. Не требуется также проводить до или после испытания проверки уровней внешних излучений, указанных в 3.3 настоящего приложения.
3.1, 3 2 (Измененная редакция, Изм. № 1).
3.3 Внешние условия
Для обеспечения того, чтобы никакой посторонний шум или сигнал достаточной амплитуды не оказывал существенного влияния на измерения, до и после основного испытания должны проводиться измерения в отношении внешних условий. При проведении измерений фонового уровня нужно обеспечить, чтобы никакие излучения от транспортного средства не оказывали значительного влияния на измерения фонового уровня, например посредством удаления транспортного средства из зоны испытания, удаления ключа замка зажигания или отключения аккумуляторной батареи. При обоих измерениях уровень постороннего шума или сигнала должен быть по меньшей мере на 10 дБ ниже контрольных пределов, указанных в 6.3.2.1 или 6.3.2.2 настоящих Правил, за исключением тех случаев, когда речь идет о преднамеренных внешних узкополосных передачах.
4 СОСТОЯНИЕ ТРАНСПОРТНОГО СРЕДСТВА ВО ВРЕМЯ ИСПЫТАНИЙ
4.1 Все электронные системы транспортного средства должны находиться в нормальном рабочем режиме, транспортное средство должно находиться в неподвижном состоянии.
4.2 Зажигание должно быть включено, двигатель должен быть выключен.
4.3 Испытания транспортного средства не должны проводиться под дождем или при других осадках и в течение 10 мин после прекращения таких осадков.
5 ТИП, ПОЛОЖЕНИЕ И ОРИЕНТАЦИЯ АНТЕННЫ
5.1 Тип антенны
Допускается использование любой антенны, если она может быть стандартизована в соответствии с требованиями, предъявляемыми к контрольной антенне. Для калибровки антенны может использоваться метод, описанный в публикации МСКРП № 12, издание 3, дополнение А.
5.2 Высота и расстояние измерения
5.2.1 Высота
5.2.1.1 Испытание на
расстоянии
Фазовый центр антенны находится на высоте (3,00 ± 0,05) м над поверхностью, на которой располагается транспортное средство.
5.2.1.2 Испытание на
расстоянии
Фазовый центр антенны находится на высоте (1,80 ± 0,05) м над поверхностью, на которой располагается транспортное средство.
5.2.1.3 Ни одна из
частей каких-либо принимающих элементов антенны не должна находиться на
расстоянии менее
5.2.2 Расстояние измерения
5.2.2.1 Испытание на
расстоянии
Горизонтальное расстояние от конца или другой соответствующей точки антенны, определенной в ходе процедуры стандартизации, описанной в 5.1 настоящего приложения, до внешней поверхности кузова транспортного средства должно составлять (10,0 ± 0,2) м.
5.2.2.2 Испытание на
расстоянии
Горизонтальное расстояние от конца или другой соответствующей точки антенны, определенной в ходе процедуры стандартизации, описанной в 5.1 настоящего приложения, до внешней поверхности кузова транспортного средства должно составлять (3,00 ± 0,05) м.
5.2.2.3 Если
испытание проводится в закрытом помещении для целей электромагнитного
экранирования на радиочастотах, то принимающие элементы антенны должны
находиться на расстоянии не менее
5.3 Расположение антенны по отношению к транспортному средству
Антенна устанавливается последовательно слева и справа от транспортного средства, причем она должна располагаться параллельно плоскости продольной симметрии транспортного средства и находиться на линии, проходящей через середину двигателя (см. рисунки 3 и 4 в дополнении 1 к приложению 4).
5.4 Положение антенны
В каждой точке измерения показания должны сниматься как при горизонтальной, так и вертикальной поляризации антенны (см. рисунки 3 и 4 в дополнении 1 к приложению 4).
5.3, 5.4 (Измененная редакция, Изм. № 1).
5.5 Показания приборов
Максимальное из четырех показаний, снятых в соответствии с 5.3 и 5.4 настоящего приложения на каждой фиксированной частоте, должно учитываться в качестве основного показания.
6 ЧАСТОТЫ
6.1 Измерения
Измерения должны проводиться в диапазоне частот от 30 до 1000 МГц. Этот диапазон должен быть разделен на 13 полос. В каждой полосе может быть проверена одна фиксированная частота для подтверждения того, что требуемые пределы соблюдены. Для подтверждения того, что транспортное средство отвечает требованиям настоящего приложения, компетентный орган, ответственный за проведение испытаний, должен провести испытания на одной такой частоте в каждой из следующих 13 полос: 30-50, 50-75, 75-100, 100-130, 130-165, 165-200, 200-250, 250-320, 320-400, 400-520, 520-660, 660-820, 820-1000 МГц.
Если в ходе испытания предел превышается, то должно быть проведено расследование, чтобы убедиться, что это связано с помехами, производимыми транспортным средством, а не с фоновым излучением.
1 ОБЩИЕ ПОЛОЖЕНИЯ
1.1 Метод испытания, описанный в настоящем приложении, применяется только к транспортным средствам.
1.2 Метод испытания
Данное испытание предназначено для того, чтобы продемонстрировать устойчивость показателей эффективности непосредственного управления транспортным средством. Транспортное средство подвергается воздействию электромагнитных полей, как это описано в настоящем приложении. В ходе испытаний должно осуществляться наблюдение за поведением транспортного средства.
2 ВЫРАЖЕНИЕ РЕЗУЛЬТАТОВ
Для целей испытания, описанного в настоящем приложении, показатели напряженности поля должны выражаться в В/м.
3 МЕСТО ПРОВЕДЕНИЯ ИЗМЕРЕНИЙ
Испытательная установка должна быть в состоянии создавать электромагнитные поля надлежащей напряженности в диапазонах частот, определенных в настоящем приложении. Испытательная установка должна отвечать национальным юридическим требованиям в отношении излучения электромагнитных сигналов.
Для обеспечения достоверности результатов испытаний должны быть приняты меры к тому, чтобы создаваемые поля не оказывали влияния на оборудование контроля и наблюдения.
4 СОСТОЯНИЕ ТРАНСПОРТНОГО СРЕДСТВА ВО ВРЕМЯ ИСПЫТАНИЙ
4.1 Транспортное средство должно находиться в порожнем состоянии, за исключением наличия необходимого оборудования для проведения испытаний.
4.1.1 Как правило,
двигатель должен обеспечивать вращение ведущих колес с постоянной скоростью
(Измененная редакция, Изм. № 1).
4.1.2 Фары должны излучать ближний свет.
4.1.3 Должны быть включены левый и правый указатели поворота, если они установлены.
(Измененная редакция, Изм. № 1).
4.1.4 Все другие системы, связанные с управлением транспортным средством, должны быть в том состоянии, в каком они находятся при нормальной эксплуатации транспортного средства.
4.1.5 Транспортное средство не должно иметь электрических соединений с испытательной площадкой, и не должно быть никаких соединений между транспортным средством и каким-нибудь оборудованием, за исключением тех, которые требуются в соответствии с 4.1.1 или 4.2 настоящего приложения. Соприкосновение шин с поверхностью испытательной площадки не должно рассматриваться в качестве электрического соединения.
4.2 Если имеются электрические/электронные системы, являющиеся неотъемлемой частью оборудования непосредственного управления транспортным средством, которые не будут функционировать в условиях, описанных в 4.1 настоящего приложения, то предприятие-изготовитель может представить компетентному органу, ответственному за проведение испытаний, сообщение или дополнительные подтверждающие материалы о том, что электрические/электронные системы транспортного средства отвечают требованиям настоящих Правил. Такие подтверждающие материалы должны прилагаться к документации, касающейся официального утверждения типа.
4.3 При осуществлении наблюдения за транспортным средством должно использоваться только такое оборудование, которое не производит помех. Чтобы определить, выполняются ли требования настоящего приложения, осуществляют наблюдение за внешним состоянием транспортного средства и за пассажирским салоном [например, посредством использования видеокамер(ы)].
4.4 Как правило, транспортное средство должно быть обращено передней частью к стационарной антенне. Однако если электронные блоки управления и соответствующая электропроводка располагаются в основном в задней части транспортного средства, то во время испытания транспортное средство, как правило, должно быть обращено передней частью от антенны. В случае длинномерных транспортных средств (то есть за исключением легковых автомобилей и легких автофургонов), в которых электронные блоки управления и соответствующая проводка в основном располагаются ближе к середине транспортного средства, контрольная точка (см. 5.4 настоящего приложения) должна быть установлена либо по правой, либо по левой стороне транспортного средства. Эта контрольная точка должна находиться в центре продольной оси транспортного средства или в какой-либо точке на одной из сторон транспортного средства, выбранной предприятием-изготовителем совместно с компетентным органом после изучения схем расположения электрических систем и любой проводки.
Такое испытание проводится лишь в том случае, если это позволяют геометрические размеры испытательной камеры. Место расположения антенны должно быть указано в протоколе испытания.
5 ТИП, ПОЛОЖЕНИЕ И ОРИЕНТАЦИЯ ПРИБОРА, СОЗДАЮЩЕГО ПОЛЕ
5.1 Тип прибора, создающего поле
5.1.1 Тип(ы) прибора, создающего поле, выбирается (выбираются) таким образом, чтобы в контрольной точке (см. 5.4 настоящего приложения) достигалась желаемая напряженность поля на надлежащих частотах.
5.1.2 Прибор(ы), генерирующий (генерирующие) поле, может (могут) представлять собой одну или несколько антенн или проводную систему передачи (ПСП).
5.1.3 Конструкция и ориентация любого прибора, создающего поле, должны обеспечивать горизонтальную или вертикальную поляризацию создаваемого поля в полосе частот от 20 до 1000 МГц.
5.2 Высота и расстояние измерения
5.2.1 Высота
5.2.1.1 Фазовый
центр любой антенны должен находиться на высоте не менее
5.2.1.2 Ни одна из
частей каких-либо излучающих элементов антенны не должна находиться на
расстоянии менее
5.2.2 Расстояние измерения
5.2.2.1 Максимальное
приближение к реальным условиям эксплуатации может быть достигнуто за счет
установки прибора, создающего поле, как можно дальше от транспортного средства.
Это расстояние обычно составляет от 1 до
5.2.2.2 Если
испытание проводится в закрытом помещении, то излучающие элементы прибора,
создающего поле, должны находиться на расстоянии не менее
5.3 Расположение антенны по отношению к транспортному средству
5.3.1 Излучающие
элементы прибора, создающего поле, должны находиться на расстоянии не менее
5.3.2 Прибор, создающий поле, должен находиться на осевой линии транспортного средства (плоскость продольной симметрии).
5.3.3 Ни одна из
частей ПСП, за исключением поверхности, на которой располагается транспортное
средство, не должна находиться на расстоянии менее
5.3.4 Любой прибор, создающий поле и устанавливаемый над транспортным средством, должен охватывать по центру по меньшей мере 75 % длины транспортного средства.
5.4 Контрольная точка
5.4.1 Для целей настоящего приложения контрольной точкой является точка, в которой определяется напряженность поля и которая находится:
5.4.1.1 на
расстоянии не менее
5.4.1.2 на осевой линии транспортного средства (плоскость продольной симметрии);
5.4.1.3 на высоте
(1,0±0,05) м над поверхностью, на которой располагается транспортное средство,
или (2,0±0,05) м, если минимальная высота крыши любого транспортного средства
данной модели превышает
5.4.1.4 либо (1,0±0,2) м внутри транспортного средства - измерение проводят от точки пересечения плоскостей ветрового стекла и капота двигателя транспортного средства (точка С в дополнении 1 к настоящему приложению), либо (0,2±0,02) м от осевой линии передней оси транспортного средства - измерение проводят в направлении к центру транспортного средства (точка D в дополнении 2 к настоящему приложению) - в зависимости от того, какая из точек находится ближе к антенне, либо на расстоянии (1,0±0,2) м за вертикальной осевой линией переднего колеса транспортного средства (точка С, указанная в дополнении 3 к настоящему приложению) для трехколесных транспортных средств, либо на расстоянии (0,2±0,02) м за вертикальной осевой линией переднего колеса транспортного средства (точка D, указанная в дополнении 4 к настоящему приложению) для двухколесных транспортных средств.
5.5 Если принимается решение подвергнуть воздействию излучения заднюю часть транспортного средства, то контрольная точка должна устанавливаться, как указано в 5.4 настоящего приложения. Затем транспортное средство устанавливают в положение, при котором его передняя часть обращена от антенны, и располагают, таким образом, как если бы оно было развернуто в горизонтальной плоскости на 180° вокруг его центральной точки, то есть так, чтобы расстояние от антенны до ближайшей части наружной поверхности корпуса транспортного средства оставалось неизменным. Это показано в дополнениях 5 и 6 к настоящему приложению с учетом соответствующей категории транспортного средства.
5.4.1.4, 5.5 (Измененная редакция, Изм. № 1).
6 ТРЕБОВАНИЯ В ОТНОШЕНИИ ИСПЫТАНИЙ
6.1 Диапазон частот, продолжительность, поляризация
Транспортное средство подвергается воздействию электромагнитного излучения в диапазоне частот от 20 до 1000 МГц.
6.1.1 Для подтверждения того, что транспортное средство отвечает требованиям настоящего приложения, транспортное средство подвергается испытанию с использованием до 14 фиксированных частот в рамках данного диапазона, например: 27, 45, 65, 90, 120, 150, 190, 230, 280, 380, 450, 600, 750 и 900 МГц.
Должно приниматься во внимание время реагирования испытываемого оборудования; продолжительность испытания должна быть достаточной для того, чтобы испытываемое оборудование могло реагировать при нормальных условиях. В любом случае она должна составлять не менее 2 с.
6.1.2 На каждой частоте должен использоваться единственный тип поляризации - см. 5.1.3 настоящего приложения.
6.1.3 Все другие параметры испытания должны соответствовать параметрам, определенным в настоящем приложении.
6.1.4 Если транспортное средство не выдерживает испытание, определенное в 6.1.1 настоящего приложения, то необходимо удостовериться в том, что несоответствия имели место в адекватных условиях испытания при отсутствии неконтролируемых полей.
7 СОЗДАНИЕ ТРЕБУЕМОЙ НАПРЯЖЕННОСТИ ПОЛЯ
7.1 Методология испытания
7.1.1 Для получения напряженности поля, необходимой для проведения испытания, используется «метод замены».
7.1.2 Этап калибровки
Для создания требуемой напряженности поля в контрольной точке на прибор, создающий поле, подается определенный уровень мощности на каждой испытательной частоте (как это определено в разделе 5 настоящего приложения) при отсутствии транспортного средства в зоне испытания; уровень подводимой мощности или другой параметр, непосредственно связанный с подводимой мощностью и необходимый для определения характеристик поля, измеряется, и результаты фиксируются. Частоты испытания должны находиться в пределах от 20 до 1000 МГц. Калибровку проводят начиная с частоты 20 МГц с интервалами между частотами не более 2 % и завершают на частоте 1000 МГц. Полученные результаты используют в ходе испытании для официального утверждения типа, если только изменения в средствах или оборудовании не потребуют повторения этой процедуры.
7.1.3 Этап испытания
После этого транспортное средство загоняется на испытательную площадку и устанавливается в соответствии с требованиями раздела 5 настоящего приложения. Затем на прибор, создающий поле, подается требуемая подводимая мощность, определенная в 7.1.2 в соответствии с 6.1.1 настоящего приложения.
7.1.4 Какой бы параметр ни был избран в соответствии с 7.1.2 с целью определения характеристик поля, в ходе испытания для установления напряженности поля должен использоваться тот же параметр.
7.1.5 Оборудование для создания поля и порядок его расположения, используемые в ходе испытания, должны отвечать тем же требованиям, какие применяются в ходе операций, описанных в 7.1.2.
7.1.6 Прибор для измерения напряженности поля
Для определения напряженности поля на этапе калибровки должен использоваться надлежащий компактный измеритель напряженности поля.
7.1.7 На этапе калибровки фазовый центр измерителя напряженности поля должен находиться в контрольной точке.
7.1.8 Если в качестве измерителя напряженности поля используется откалиброванная принимающая антенна, то показания снимаются в трех взаимно перпендикулярных направлениях. За значение напряженности поля принимается изотропное эквивалентное значение показаний.
7.1.9 С учетом различий в геометрических формах транспортных средств для заданной испытательной площадки, возможно, потребуется определение, нескольких положений антенны или контрольных точек.
7.2 Контур напряженности поля
7.2.1 На этапе калибровки (до установки транспортного средства в зоне испытаний) напряженность поля по меньшей мере на 80 % калибровочных частот должна составлять не менее 50 % номинальной напряженности поля в следующих точках:
i) для всех приборов, создающих поле: (0,5±0,05) м с обеих сторон от контрольной точки на линии, проходящей через контрольную точку на высоте контрольной точки, а также перпендикулярно плоскости продольной симметрии транспортного средства;
ii) в случае ПСП: (1,50±0,05) м на линии, проходящей через контрольную точку на высоте контрольной точки и вдоль оси продольной симметрии.
7.3 Камерный резонанс
Если условия, описанные в 7.2.1 выше, не выполняются, испытания не должны проводиться на частотах камерного резонанса.
7.4 Характеристики генерируемого испытательного сигнала
7.4.1 Максимальный размах огибающей.
Максимальный размах огибающей испытательного сигнала должен быть равен максимальному размаху огибающей немодулированной гармонической волны, среднее квадратическое значение которой, выраженное в В/м, определено в 6.4.2 настоящих Правил (см. дополнение 7 к настоящему приложению).
(Измененная редакция, Изм. № 1).
7.4.2 Форма волны испытательного сигнала
Испытательный сигнал должен представлять собой радиочастотную гармоническую волну, амплитудно-модулированную в гармонической волне частотой 1 кГц при глубине модуляции т, равной 0,8±0,04.
7.4.3 Глубина модуляции
Глубина модуляции т определяется следующим образом:
![]()
ПРИЛОЖЕНИЕ 6. Дополнение 1
(обязательное)

ПРИЛОЖЕНИЕ 6. Дополнение
2
(обязательное)

ПРИЛОЖЕНИЕ 6. Дополнение
3
(обязательное)

ПРИЛОЖЕНИЕ 6. Дополнение
4
(обязательное)

ПРИЛОЖЕНИЕ 6. Дополнение 5
(обязательное)
|
Этап 1 Установить контрольную точку |
Этап 2 Развернуть транспортное средство на 180° |
|
|
|
ПРИЛОЖЕНИЕ
6. Дополнение 6
(обязательное)
|
Первый этап: Определить исходную точку |
Второй этап: Повернуть транспортное средство вокруг своей оси |
|
Задняя часть |
Передняя часть |
|
|
|
ПРИЛОЖЕНИЕ 6. Дополнение 7
(обязательное)
Характеристики генерируемого сигнала
|
|
|
|
Немодулированная гармоническая волна, среднее квадратическое значение которой определено в 6.4.2 настоящих Правил |
Испытательный сигнал - на 80 % амплитудно-модулированная гармоническая волна; максимальный размах огибающей равен максимальному размаху немодулированной гармонической волны, среднее квадратическое значение которой определено в 6.4.2 настоящих Правил |
1 ОБЩИЕ ПОЛОЖЕНИЯ
1.1 Метод испытания, описанный в настоящем приложении, применяется к ЭСУ, которые могут впоследствии устанавливаться на транспортных средствах, соответствующих приложению 4:
1.2 Измерительные приборы
Измерительное оборудование должно соответствовать требованиям, изложенным в публикации № 16-1 (1993 год) Международного специального комитета по радиопомехам (МСКРП).
Для измерения широкополосных электромагнитных помех, как это предусмотрено в настоящем приложении, должен использоваться квазипиковый детектор; в случае использования пикового детектора должен применяться надлежащий поправочный коэффициент в зависимости от частоты импульсов помех.
1.3 Метод испытания
Данное испытание предназначено для измерения широкополосных электромагнитных помех, производимых ЭСУ.
2 ВЫРАЖЕНИЕ РЕЗУЛЬТАТОВ
Результаты измерений должны выражаться в дБ мкВ/м (мкВ/м) для полосы частот шириной 120 кГц. Если фактическая ширина полосы частот В (выраженная в кГц) измерительного прибора отличается от 120 кГц, то полученные показания в мкВ/м необходимо привести к ширине полосы 120 кГц, умножив их на коэффициент 120/В.
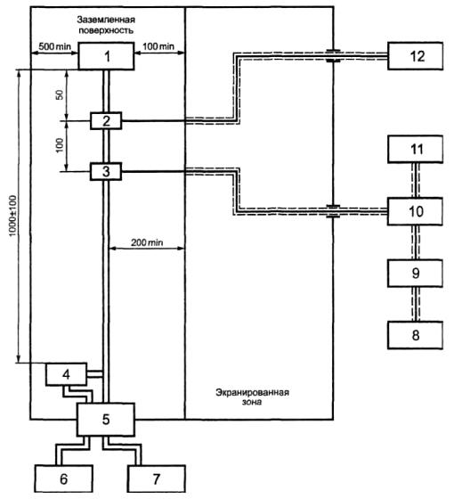
3 МЕСТО ПРОВЕДЕНИЯ ИЗМЕРЕНИЙ
3.1 Испытательная площадка должна соответствовать требованиям, изложенным в публикации № 16 Международного специального комитета по радиопомехам (МСКРП) (см. дополнение 1 к настоящему приложению).
3.2 Измерительный комплекс, испытательный бокс или транспортное средство, в котором расположен измерительный комплекс, могут находиться на испытательной площадке, но лишь в пределах разрешенной зоны, показанной в дополнении 1 к настоящему приложению.
3.3 Испытания могут проводиться в закрытых помещениях, если можно продемонстрировать соответствие между результатами, полученными в закрытом помещении, и результатами, полученными на одобренной открытой площадке. Закрытые помещения для испытаний могут не соответствовать требованиям в отношении размеров, которые приведены в дополнении 1 к настоящему приложению, за исключением требований, касающихся расстояния от антенны до испытываемого ЭСУ и высоты антенны (см. рисунки 1 и 2 в дополнении 2 к настоящему приложению).
3.4 Внешние условия
Для обеспечения того, чтобы никакой посторонний шум или сигнал достаточной амплитуды не оказывал существенного влияния на измерения, до и после основного испытания проводят измерения в отношении внешних условий. При обоих этих измерениях уровень постороннего шума или сигнала должен быть по меньшей мере на 10 дБ ниже контрольных пределов, указанных в 6.5.2.1 настоящих Правил, за исключением тех случаев, когда речь идет о преднамеренных внешних узкополосных передачах.
4 СОСТОЯНИЕ ЭСУ ВО ВРЕМЯ ИСПЫТАНИЙ
4.1 Испытываемый ЭСУ должен находиться в нормальном рабочем режиме.
4.2 Измерения на испытываемом ЭСУ не должны проводиться под дождем или при других осадках и в течение 10 мин после прекращения дождя или других осадков.
4.3 Условия испытания
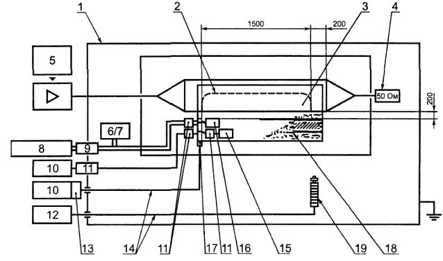
4.3.1 Испытываемый ЭСУ и его электропроводка должны
располагаться на опорах на высоте (50 + 5) мм над столом, изготовленным из
дерева или эквивалентного материала, не проводящего электрический ток. Однако
если какая-либо часть испытываемого ЭСУ должна иметь электрическое соединение с
металлическим кузовом транспортного средства, то эта часть устанавливается на
заземленной поверхности и должна иметь электрическое соединение с этой
заземленной поверхностью. Заземленная поверхность должна представлять собой
металлический лист минимальной толщиной
Заземленная поверхность должна быть соединена с защитным проводом системы заземления. Заземленная поверхность должна быть расположена на высоте (1,0 ± 0,1) м над полом испытательной площадки и должна быть параллельной ему.
4.3.2 Испытываемый
ЭСУ должен быть установлен и соединен в соответствии с его эксплуатационными
требованиями. Проводка электропитания располагается вдоль ближайшего к антенне
края заземленной поверхности/стола и на расстоянии
4.3.3 Испытываемый ЭСУ соединяется с системой заземления в соответствии с инструкциями по установке, определенными предприятием-изготовителем; дополнительные заземления не допускаются.
4.3.4 Минимальное
расстояние между испытываемым ЭСУ и всеми другими проводящими структурами, как
например стенки экранированной зоны (за исключением заземленной
поверхности/стола, находящихся ниже испытываемого объекта), должно составлять
4.4 Питание подается на испытываемый ЭСУ через эквивалентную схему (ЭС) 5 мкГн/50 Ом, которая должна иметь электрическое соединение с заземленной поверхностью. Напряжение электропитания должно поддерживаться в пределах ±10 % номинального рабочего напряжения системы. Любые пульсации напряжения должны составлять менее 1,5 % от номинального рабочего напряжения системы, измеренного на контрольном выходе ЭС.
4.5 Если испытываемый ЭСУ состоит более чем из одного блока, то в идеале соединяющие кабели должны представлять собой электропроводку, предназначенную для использования на транспортном средстве. Если ее нет, то длина соединения между основным блоком и ЭС должна составлять (1500 ± 75) мм.
Все кабели в пучке должны иметь соединения, максимально приближенные к тем, которые имеются в реальных условиях; в оптимальном варианте они должны быть соединены с источниками нагрузки и выключателями, используемыми в условиях практической эксплуатации.
Если для обеспечения надлежащего функционирования испытываемого ЭСУ требуется дополнительное оборудование, то предусматривается соответствующая компенсация с учетом его влияния на уровень измеряемых помех.
5 ТИП, ПОЛОЖЕНИЕ И ОРИЕНТАЦИЯ АНТЕННЫ
5 1 Тип антенны
Допускается использование любой линейно-поляризованной антенны, если она может быть стандартизована в соответствии с требованиями, предъявляемыми к контрольной антенне.
5.2 Высота и расстояние измерения
5.2.1 Высота
Фазовый центр антенны находится на высоте (150 ± 10) мм над заземленной поверхностью.
(Измененная редакция, Изм. № 1).
5.2.2 Расстояние измерения
Горизонтальное
расстояние от фазового центра или другой надлежащей точки антенны до края
заземленной поверхности должно составлять (1,00 ± 0,05) м. Ни одна из частей
антенны не должна находиться на расстоянии менее
Антенна должна располагаться параллельно плоскости, перпендикулярной заземленной поверхности и проходящей через край заземленной поверхности, вдоль которого проходит основная часть проводки.
5.2.3 Если испытание
проводится в закрытом помещении для целей электромагнитного экранирования на
радиочастотах, то принимающие элементы антенны должны находиться на расстоянии
не менее
5.3 Ориентация и поляризация антенны
Показания в точке измерения должны сниматься как при вертикальной, так и горизонтальной поляризации антенны.
5.4 Показания приборов
Максимальное из двух показаний, снятых (в соответствии с 5.3 настоящего приложения) на каждой фиксированной частоте, должно учитываться в качестве основного показания
6 ЧАСТОТЫ
6.1 Измерения следует проводить в диапазоне частот от 30 до 1000 МГц. Считается, что ЭСУ соответствует требуемым пределам во всем диапазоне частот, если он соответствует им на следующих 13 частотах этого диапазона, например: 45, 65, 90, 120, 150, 190, 230, 280, 380, 450, 600, 750, 900 МГц. Если в ходе испытания предел превышается, то должно быть проведено расследование, с тем чтобы убедиться, что помехи вызваны ЭСУ, а не фоновым излучением.
6.1.1 Пределы применяются по всему диапазону частот от 30 до 1000 МГц.
6.1.2 Измерения могут проводиться либо при помощи квазипиковых, либо при помощи пиковых детекторов. В 6.2 и 6.5 настоящих Правил приведены пределы для квазипиковых детекторов. Если используется пиковый детектор, то для полосы шириной 1 МГц добавляют 38 дБ, а для полосы шириной 1 кГц отнимают 22 дБ.
6.2 Допускаемые отклонения
|
Фиксированная частота, МГц |
Допускаемое отклонение, МГц |
|
45, 65, 90, 120, 150, 190 и 230 |
±5 |
|
280, 380, 450, 600, 750 и 900 |
±20 |
Допускаемые отклонения применяются к указанным частотам и предназначены для учета возможного влияния сигналов, передаваемых на номинальных фиксированных частотах или на близких к ним частотах во время измерения.
ПРИЛОЖЕНИЕ 7. Дополнение
1
(обязательное)
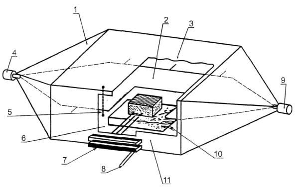
Площадка для испытаний электрического/электронного сборочного узла
Горизонтальная площадка, не имеющая поверхностей, отражающих электромагнитные волны.

ПРИЛОЖЕНИЕ 7. Дополнение
2
(обязательное)
Рисунок 1 - Электромагнитные излучения, генерируемые ЭСУ. Испытательная камера. Общий вид сверху

Рисунок 2 - Электромагнитные излучения, генерируемые ЭСУ. Испытательная камера. Вид в плоскости продольной симметрии.
Размеры в миллиметрах
1 ОБЩИЕ ПОЛОЖЕНИЯ
1.1 Метод испытания, описанный в настоящем приложении, применяется к ЭСУ.
1.2 Измерительные приборы
Измерительное оборудование
должно соответствовать требованиям, изложенным в публикации № 16-1 (
Для измерения узкополосных электромагнитных помех для целей настоящего приложения должен использоваться детектор средних значений или пиковый детектор.
1.3 Метод испытания
Данное испытание предназначено для измерения узкополосных электромагнитных помех, которые могли бы производиться, например, микропроцессорной системой.
В качестве короткого (2-3 минуты) первоначального этапа при выборе поляризации антенны разрешается проводить сканирование диапазона частот, указанного в 6.1. настоящего приложения, при помощи спектроанализатора в целях выявления и/или локализации пиковых излучений. Это может помочь в выборе частот для проведения испытаний (см. раздел 6 настоящего приложения).
2 ВЫРАЖЕНИЕ РЕЗУЛЬТАТОВ
Результаты измерений должны выражаться в дБ мкВ/м (мкВ/м).
3 МЕСТО ПРОВЕДЕНИЯ ИЗМЕРЕНИЙ
3.1 Испытательная
площадка должна соответствовать требованиям, изложенным в публикации № 16-1 (
3.2 Измерительный комплекс, испытательный бокс или транспортное средство, в котором расположен измерительный комплекс, должны находиться за пределами зоны, показанной в дополнении 1 к приложению 7.
3.3 Испытания могут проводиться в закрытых помещениях, если можно продемонстрировать соответствие между результатами, полученными в закрытом помещении, и результатами, полученными на открытой площадке. Закрытые помещения для испытаний могут не соответствовать требованиям в отношении размеров, которые приведены в дополнении 1 к приложению 7, за исключением требований, касающихся расстояния от антенны до испытываемого ЭСУ и высоты антенны (см. рисунки 1 и 2 в дополнении 2 к приложению 7).
3.4 Внешние условия
Для обеспечения того, чтобы никакой посторонний шум или сигнал достаточной амплитуды не оказывал существенного влияния на измерения, до и после основного испытания проводят измерения в отношении внешних условий. При обоих этих измерениях уровень постороннего шума или сигнала должен быть по меньшей мере на 10 дБ ниже контрольных пределов, указанных в 6.6.2.1 настоящих Правил, за исключением тех случаев, когда речь идет о преднамеренных внешних узкополосных передачах.
4 СОСТОЯНИЕ ЭСУ ВО ВРЕМЯ ИСПЫТАНИЙ
4.1 Испытываемый ЭСУ должен находиться в нормальном рабочем режиме.
4.2 Измерения на испытываемом ЭСУ не должны проводиться под дождем или при других осадках и в течение 10 мин после прекращения дождя или других осадков.
4.3 Условия испытания
4.3.1 Испытываемый
ЭСУ и его электропроводка должны располагаться на опорах на высоте (50±5) мм
над столом, изготовленным из дерева или эквивалентного материала, не
проводящего электрический ток. Однако если какая-либо часть испытываемого ЭСУ
должна иметь электрическое соединение с металлическим кузовом транспортного
средства, то эта часть должна быть установлена на заземленной поверхности и
должна иметь электрическое соединение с этой заземленной поверхностью.
Заземленная поверхность должна представлять собой металлический лист
минимальной толщиной
4.3.2 Испытываемый
ЭСУ должен быть установлен и соединен в соответствии с его эксплуатационными
требованиями. Проводка электропитания располагается вдоль ближайшего к антенне
края заземленной поверхности/стола в пределах
4.3.3 Испытываемый ЭСУ соединяется с системой заземления в соответствии с инструкциями по установке, определенными предприятием-изготовителем; дополнительные заземления не допускаются.
4.3.4 Минимальное
расстояние между испытываемым ЭСУ и всеми другими проводящими структурами, как
например стенки экранированной зоны (за исключением заземленной
поверхности/стола, находящихся ниже испытываемого объекта), должно составлять
4.4 Питание подается на испытываемый ЭСУ через эквивалентную схему электропитания (ЭС) (5 мкГн/50 Ом), которая должна иметь электрическое соединение с заземленной поверхностью. Напряжение электропитания должно поддерживаться в пределах ±10 % номинального рабочего напряжения системы. Любые пульсации напряжения должны составлять менее 1,5 % номинального рабочего напряжения системы, измеренного на контрольном выходе ЭС.
4.5 Если испытываемый ЭСУ состоит более чем из одного блока, то в идеале соединяющие кабели должны представлять собой электропроводку, предназначенную для использования на транспортном средстве. Если электропроводки нет, то длина соединения между электронным блоком управления и ЭС должна составлять (1500±75) мм. Все кабели в пучке должны иметь соединения, максимально приближенные к тем, которые имеются в реальных условиях; в оптимальном варианте они должны быть соединены с источниками нагрузки и выключателями, используемыми в условиях практической эксплуатации. Если для обеспечения надлежащего функционирования испытываемой системы требуется дополнительное оборудование, то предусматривается соответствующая компенсация с учетом его влияния на уровень измеряемых излучений.
5 ТИП, ПОЛОЖЕНИЕ И ОРИЕНТАЦИЯ АНТЕННЫ
5.1 Тип антенны
Допускается использование любой линейно-поляризованной антенны, если она может быть стандартизована в соответствии с требованиями, предъявляемыми к контрольной антенне.
5.2 Высота и расстояние измерения
5.2.1 Высота
Фазовый центр антенны находится на высоте (150±10) мм над заземленной поверхностью.
5.2.2 Расстояние измерения
Горизонтальное
расстояние от фазового центра или соответственно конца антенны до края
заземленной поверхности должно составлять (1,00±0,05) м. Ни одна из частей
антенны не должна находиться на расстоянии менее
5.2.3 Если испытание
проводится в закрытом помещении для целей электромагнитного экранирования на
радиочастотах, то принимающие элементы антенны должны находиться на расстоянии
не менее
5.3 Ориентация и поляризация антенны
Показания в точке измерения следует снимать как при вертикальной, так и при горизонтальной поляризации антенны.
5.4 Показания приборов
Максимальное значение одного из двух показаний, снятых (в соответствии с 5.3) на каждой фиксированной частоте, должно учитываться в качестве основного показания.
6 ЧАСТОТЫ
6.1 Измерения
Измерения следует проводить в диапазоне частот от 30 до 1000 МГц. Этот диапазон должен быть разделен на 13 полос. В каждой полосе может быть проверена одна фиксированная частота для подтверждения того, что требуемые пределы соблюдены. Для подтверждения того, что испытываемый ЭСУ отвечает требованиям настоящего приложения, компетентный орган, ответственный за проведение испытаний, должен провести испытания на одной такой частоте в каждой из следующих 13 полос: 30-50, 50-75, 75-100, 100-130, 130-165, 165-200, 200-250, 250-320, 320-400, 400-520, 520-660, 660-820, 820-1000 МГц.
Если в ходе испытания предел превышается, то должно быть проведено расследование, с тем чтобы убедиться, что это связано с помехами, производимыми испытываемым ЭСУ, а не с фоновым излучением.
6.2 Если в ходе первоначального этапа, который может быть проведен в соответствии с положениями 1.3 настоящего приложения, уровень производимых узкополосных помех в рамках любой из полос, указанных в 6.1, составляет по меньшей мере на 10 дБ ниже контрольного предела, то считается, что ЭСУ соответствует требованиям настоящего приложения в отношении данной полосы частот.
1 ОБЩИЕ ПОЛОЖЕНИЯ
1.1 Методы испытания, описанные в настоящем приложении, применяются к ЭСУ.
1.2 Методы испытания
1.2.1 ЭСУ могут соответствовать требованиям любого сочетания указанных ниже методов испытания по усмотрению предприятия-изготовителя при условии, что при этом обеспечивается охват всего диапазона частот, указанного в 5.1 настоящего приложения:
1.2.1.1 испытание в полосковой системе - см. дополнение 1 к настоящему приложению;
1.2.1.2 испытание путем непосредственной инжекции тока - см. дополнение 2 к настоящему приложению;
1.2.1.3 испытание в камере ПЭК - см. дополнение 3 к настоящему приложению;
1.2.1.4 испытание в условиях свободного поля - см. дополнение 4 к настоящему приложению.
1.2.2 Поскольку в ходе этих испытаний создаются электромагнитные поля, все испытания следует проводить в экранированной зоне.
2 ВЫРАЖЕНИЕ РЕЗУЛЬТАТОВ
Для целей испытаний, описанных в настоящем приложении, значения напряженности поля должны выражаться в В/м, а сила инжекционного тока должна выражаться в миллиамперах.
3 МЕСТО ПРОВЕДЕНИЯ ИЗМЕРЕНИЙ
3.1 Испытательная установка должна быть в состоянии генерировать требуемые испытательные сигналы в диапазонах частот, определенных в настоящем приложении. Испытательная установка должна отвечать (национальным) юридическим требованиям в отношении излучения электромагнитных сигналов.
3.2 Измерительное оборудование должно располагаться за пределами камеры.
4 СОСТОЯНИЕ ЭСУ ВО ВРЕМЯ ИСПЫТАНИЙ
4.1 Испытываемый ЭСУ должен находиться в нормальном рабочем режиме. Он должен быть расположен таким образом, как это определено в настоящем приложении, если только для отдельных методов испытания не предусмотрены иные схемы расположения.
4.2 Питание подается на испытываемый ЭСУ через эквивалентную схему электропитания (ЭС) (5 мкГн/50 Ом), которая должна быть заземлена. Напряжение электропитания должно поддерживаться в пределах ±10 % номинального рабочего напряжения системы. Любые пульсации напряжения должны составлять менее 1,5 % номинального рабочего напряжения системы, измеренного на контрольном выходе ЭС.
4.3 На этапе
калибровки должно присутствовать все дополнительное оборудование, требующееся
для обеспечения функционирования испытываемого ЭСУ. В ходе калибровки
дополнительное оборудование должно находиться на расстоянии не менее
4.4 Для обеспечения достоверности результатов измерения оборудование, генерирующее испытательный сигнал, и порядок его расположения должны отвечать тем же требованиям, какие применяются на каждом соответствующем этапе калибровки (см. 7.2, 7.3.2.3, 8.4, 9.2 и 10.2 настоящего приложения).
4.5 Если испытываемый ЭСУ состоит более чем из одного блока, то в оптимальном варианте должна использоваться электропроводка транспортного средства. Если электропроводки нет, то длина соединения между электронным блоком управления и ЭС должна составлять (1500±75) мм. Все кабели в пучке должны иметь соединения, максимально приближенные к тем, которые имеются в реальных условиях; в оптимальном варианте они должны быть соединены с источниками нагрузки и выключателями, используемыми в условиях практической эксплуатации.
5 ДИАПАЗОН ЧАСТОТ, ПРОДОЛЖИТЕЛЬНОСТЬ
5.1 Измерения следует проводить в диапазоне частот от 20 до 1000 МГц.
5.2 Для подтверждения того, что ЭСУ отвечает требованиям настоящего приложения, испытания следует проводить с использованием до 14 фиксированных частот в рамках данного диапазона, например: 27, 45, 65, 90, 120, 150, 190, 230, 280, 380, 450, 600, 750, 900 МГц.
Следует принимать во внимание время реагирования испытываемого оборудования; продолжительность испытания должна быть достаточной для того, чтобы испытываемое оборудование могло реагировать при нормальных условиях. В любом случае продолжительность должна составлять не менее 2 с.
6 ХАРАКТЕРИСТИКИ ГЕНЕРИРУЕМОГО ИСПЫТАТЕЛЬНОГО СИГНАЛА
6.1 Максимальный размах огибающей
Максимальный размах огибающей испытательного сигнала должен быть равен максимальному размаху огибающей немодулированной гармонической волны, среднее квадратическое значение которой определено в 6.7.2 настоящих Правил (см. дополнение 4 к приложению 6).
6.2 Форма волны испытательного сигнала
Испытательный сигнал должен представлять собой радиочастотную гармоническую волну, амплитудно модулированную в гармонической волне частотой 1 кГц при глубине модуляции т, равной 0,8 ± 0,04.
6.3 Глубина модуляции
Глубину модуляции т определяют следующим образом:
![]()
7 ИСПЫТАНИЕ В ПОЛОСКОВОЙ СИСТЕМЕ
7.1 Метод испытания
Данный метод предполагает проведение испытаний по воздействию полей определенной напряженности на проводку, соединяющую элементы ЭСУ.
7.2 Измерение напряженности поля в полосковой системе
На каждой выбираемой испытательной частоте на полосковую систему подают определенный уровень мощности для создания требуемой напряженности поля в зоне испытания при отсутствии испытываемого ЭСУ; этот уровень подводимой мощности или другой параметр, непосредственно связанный с подводимой мощностью и необходимый для определения характеристик поля, измеряют, и результаты фиксируют.
Эти результаты используют в ходе испытаний для целей официального утверждения типа, если только изменения в средствах или оборудовании не потребуют повторения этой процедуры.
В ходе этой процедуры датчик измерителя напряженности поля должен располагаться под токопроводящим проводником, по центру в продольном, вертикальном и поперечном направлениях. Электронный блок измерителя должен находиться как можно дальше от продольной оси полосковой системы.
7.3 Установка испытываемого ЭСУ
7.3.1 Испытание в 150-миллиметровой полосковой системе
Данный метод
испытания позволяет генерировать однородные поля между токопроводящим
проводником (полосковая линия сопротивлением 50 Ом) и заземленной поверхностью
(проводящая поверхность испытательного стола), между которыми может быть
расположена часть электропроводки. Электронный (электронные) блок (и)
управления испытываемого ЭСУ устанавливается (устанавливаются) на заземленной
поверхности, но вне полосковой системы, причем один из его (их) краев должен
быть параллельным токопроводящему проводнику полосковой системы. Он должен
находиться на расстоянии (200±10) мм от линии на заземленной поверхности,
расположенной непосредственно под краем токопроводящего проводника. Расстояние
между любым краем токопроводящего проводника и любым периферийным устройством,
используемым для измерения, должно составлять не менее
7.3.1.1 Минимальная длина электропроводки, которая должна включать
проводку электропитания электронного блока управления и должна быть расположена
под полосковой линией, составляет
7.3.1.2 В противном случае полная длина развернутой проводки,
включая длину наиболее длинного ответвления, должна составлять
7.3.2 Испытание в 800-миллиметровой полосковой системе
7.3.2.1 Метод испытания
Полосковая система
представляет собой две параллельные металлические пластины, находящиеся на
расстоянии
Этот метод может использоваться для испытания укомплектованных электронных систем, в том числе датчиков и выключателей, а также блоков управления и электропроводки. Метод пригоден для приборов, максимальный размер которых составляет менее 1/3 расстояния между пластинами.
7.3.2.2 Расположение полосковой системы
Полосковая система
должна быть установлена в экранированном помещении (для предотвращения
распространения излучений) и расположена на расстоянии не менее
7.3.2.3 Калибровка полосковой системы
Измеритель напряженности поля должен быть расположен в пределах центральной трети пространства между пластинами, испытываемая система должна отсутствовать. Сопутствующее измерительное оборудование должно располагаться за пределами экранированного помещения.
На каждой выбираемой испытательной частоте на полосковую систему подается определенный уровень мощности для создания требуемой напряженности поля в точке расположения измерителя. Этот уровень подводимой мощности или другой параметр, непосредственно связанный с подводимой мощностью и необходимый для определения характеристик поля, используется в ходе испытаний для целей официального утверждения типа, если только изменения в средствах или оборудовании не потребуют повторения этой процедуры.
7.3.2.4 Установка испытываемого ЭСУ
Основной блок управления должен быть расположен в пределах центральной трети пространства между пластинами. Он должен быть установлен на опоре, изготовленной из непроводящего материала.
7.3.2.5 Основной пучок проводов и кабели соединения с датчиками/выключателями
Основной пучок
проводов и любые кабели соединения с датчиками/выключателями должны подниматься
вертикально от блока управления до верхней заземленной поверхности (это
позволяет максимально повысить степень взаимодействия с электромагнитным
полем). Затем они должны проходить по нижней части этой поверхности до одного
из ее свободных краев, где они должны огибать ее и проходить по внешней части
заземленной поверхности до точек соединения с входом полосковой системы. Затем
кабели должны проходить до сопутствующего оборудования, которое должно
располагаться в зоне за пределами влияния электромагнитного поля, например на
полу экранированного помещения на расстоянии не менее
8 ИСПЫТАНИЕ НА УСТОЙЧИВОСТЬ ЭСУ В УСЛОВИЯХ СВОБОДНОГО ПОЛЯ
8.1 Метод испытания
Данный метод испытания позволяет испытывать электрические/электронные системы транспортного средства путем воздействия на ЭСУ электромагнитным излучением, генерированным антенной.
8.2 Описание испытательного стенда
Испытание следует проводить на стенде внутри полуэкранированной камеры, экранированная часть которой доходит до верхней поверхности стенда.
8.2.1 Заземленная поверхность
8.2.1.1 Для
испытания на устойчивость в условиях свободного поля испытываемый ЭСУ и его
электропроводка должны располагаться на опорах на высоте (50±5) мм над столом,
изготовленным из дерева или эквивалентного материала, не проводящего
электрический ток. Однако если какая-либо часть испытываемого ЭСУ должна иметь
электрическое соединение с металлическим кузовом транспортного средства, то эта
часть устанавливается на заземленной поверхности и имеет электрическое
соединение с этой заземленной поверхностью. Заземленная поверхность должна представлять
собой металлический лист минимальной толщиной
8.2.1.2 Испытываемый
ЭСУ должен быть установлен и соединен в соответствии с его эксплуатационными
требованиями. Проводка электропитания располагается вдоль ближайшего к антенне
края заземленной поверхности/стола и в пределах
8.2.1.3 Испытываемый ЭСУ должен быть соединен с системой заземления в соответствии с инструкциями по установке, определенными предприятием-изготовителем; никакие дополнительные заземления не допускаются.
8.2.1.4 Минимальное
расстояние между испытываемым ЭСУ и всеми другими проводящими структурами, как
например стенки экранированной зоны (за исключением заземленной
поверхности/стола, находящихся ниже испытываемого объекта), должно составлять
8.2.1.5 Площадь
любой заземленной поверхности должна составлять не менее
8.2.2 Установка испытываемого ЭСУ
В случае
крупногабаритного оборудования, устанавливаемого на металлическом испытательном
стенде, испытательный стенд рассматривается для целей испытания в качестве
части заземленной поверхности и должен иметь соответствующие соединения.
Наружные поверхности испытываемого образца должны находиться на расстоянии не
менее
8.3 Тип, расположение и ориентация прибора, создающего поле
8.3.1 Тип прибора, создающего поле
8.3.1.1 Тип(ы) прибора, создающего поле, выбирается (выбираются) таким образом, чтобы в контрольной точке (см. 8.3.4 настоящего приложения) достигалась желаемая напряженность поля на надлежащих частотах.
8.3.1.2 Прибор(ы), создающий (создающие) поле, может (могут) представлять собой одну или несколько антенн или пластинчатую антенну.
8.3.1.3 Конструкция и ориентация любого прибора, создающего поле, должны обеспечивать горизонтальную или вертикальную поляризацию создаваемого поля в полосе от 20 до 1000 МГц.
8.3.2 Высота и расстояние измерения
8.3.2.1 Высота
Фазовый центр любой
антенны должен находиться на высоте (150±10) мм над заземленной поверхностью,
на которой располагается испытываемый ЭСУ. Ни одна из частей каких-либо излучающих
элементов антенны не должна находиться на расстоянии менее
8.3.2.2 Расстояние измерения
8.3.2.2.1
Максимальное приближение к реальным условиям эксплуатации может быть достигнуто
за счет установки прибора, создающего поле, как можно дальше от ЭСУ. Это
расстояние обычно составляет от 1 до
8.3.2.2.2 Если
испытание проводится в закрытом помещении, то излучающие элементы антенны
должны находиться на расстоянии не менее
8.3.3 Расположение антенны по отношению к испытываемому ЭСУ
8.3.3.1 Излучающие
элементы прибора, создающего поле, должны находиться на расстоянии не менее
8.3.3.2 Фазовый центр прибора, создающего поле, должен находиться в плоскости, которая:
i) является перпендикулярной заземленной поверхности;
ii) проходит через край заземленной поверхности и среднюю точку основной части электропроводки и
iii) является перпендикулярной краю заземленной поверхности и основной части электропроводки. Прибор, создающий поле, должен быть расположен параллельно этой плоскости (см. рисунки 1 и 2 в дополнении 4 к настоящему приложению).
8.3.3.3 Любой прибор, создающий поле, который устанавливается над заземленной поверхностью или испытываемым ЭСУ, должен располагаться над испытываемым ЭСУ.
8.3.4 Контрольная точка
Для целей настоящего приложения контрольной точкой является точка, в которой определяется напряженность поля и которая находится:
8.3.4.1 на
расстоянии не менее
8.3.4.2 в плоскости, которая
i) является перпендикулярной заземленной поверхности;
ii) является перпендикулярной краю заземленной поверхности, вдоль которого проходит основная часть электропроводки;
iii) проходит через край заземленной поверхности и среднюю точку основной части электропроводки;
iv) проходит через среднюю точку основной части электропроводки, проходящей вдоль ближайшего к антенне края заземленной поверхности;
8.3.4.3 на высоте (150±10) мм над заземленной поверхностью.
8.4 Создание требуемой напряженности поля. Методология испытания
8.4.1 Для установления напряженности поля, необходимой для проведения испытания, используется «метод замены».
8.4.2 Метод замены: калибровка
Для создания требуемой напряженности поля в контрольной точке (определенной в 8.3.4 настоящего приложения) на прибор, создающий поле, подается определенный уровень мощности на каждой выбираемой испытательной частоте при отсутствии испытываемого ЭСУ в зоне испытания; этот уровень подводимой мощности или другой параметр, непосредственно связанный с подводимой мощностью, необходимой для определения характеристик поля, измеряется, а результаты фиксируются. Эти результаты используются в ходе испытаний для официального утверждения типа, если только изменения в средствах или оборудовании не потребуют повторения этой процедуры.
8.4.3 В ходе
калибровки дополнительное оборудование должно находиться на расстоянии не менее
8.4.4 Прибор для измерения напряженности поля
Для определения напряженности поля на этапе калибровки в рамках метода замены должен использоваться надлежащий компактный измеритель напряженности поля.
8.4.5 Фазовый центр измерителя напряженности поля должен находиться в контрольной точке.
8.4.6 После этого
испытываемый ЭСУ, который может включать дополнительную заземленную
поверхность, помещается на испытательную площадку и устанавливается в
соответствии с требованиями 8.3 настоящего
приложения. Если используется вторая заземленная поверхность, то она должна
находиться в пределах
8.4.7 Какой бы параметр ни был избран в соответствии с 8.4.2 настоящего приложения с целью определения характеристик поля, в ходе испытания для установления напряженности поля должен использоваться тот же параметр.
8.5 Контур напряженности поля
8.5.1 На этапе калибровки в рамках метода замены (до установления испытываемого ЭСУ в зоне испытания) напряженность поля должна составлять не менее 50 % номинальной напряженности поля на расстоянии (0,5±0,05)м с обеих сторон от контрольной точки на линии, параллельной ближайшему к антенне краю заземленной поверхности и проходящей через контрольную точку.
9 ИСПЫТАНИЕ В КАМЕРЕ ПЭК
9.1 Метод испытания
В камере ПЭК (поперечные электромагнитные колебания) создаются однородные поля между внутренним проводником (переборка) и корпусом (заземленная поверхность). Эта камера используется для испытания ЭСУ (см. рисунок 1 в дополнении 3 к настоящему приложению).
9.2 Измерение напряженности поля в камере ПЭК
9.2.1 Напряженность электрического поля в камере ПЭК определяют по формуле
![]()
где Е- электрическое поле, В/м;
Р- мощность, подаваемая в камеру, Вт;
Z- сопротивление камеры, равное 50 Ом;
d - расстояние между верхней стенкой и пластиной (перегородкой), м.
9.2.2 В иных случаях в верхней половине камеры ПЭК устанавливают надлежащий датчик напряженности поля. В этой части камеры ПЭК, электронный (электронные) блок (блоки) управления оказывает (оказывают) лишь незначительное влияние на напряженность поля. Напряженность поля определяется выходным сигналом этого датчика.
9.3 Размеры камеры ПЭК
Для поддержания однородности поля в камере ПЭК и обеспечения достоверности результатов измерения размер испытываемого объекта не должен превышать одной трети внутренней высоты камеры.
Рекомендуемые размеры камеры ПЭК приведены на рисунках 2 и 3 в дополнении 3 к настоящему приложению.
9.4 Провода подачи электропитания, передачи сигналов и обеспечения контроля
Камера ПЭК должна быть оснащена коммутационной панелью с коаксиальными гнездами, которая должна иметь как можно более короткое штепсельное соединение (с надлежащим количеством контактных штырей). Провода подачи электропитания и передачи сигналов, идущие от штепсельного соединения в стенке камеры, должны быть напрямую соединены с испытываемым объектом.
Внешние элементы, как например датчики и элементы подачи электропитания и обеспечения контроля, могут быть соединены:
i) с экранированным периферийным устройством;
ii) с транспортным средством, расположенным поблизости от камеры ПЭК
или
iii) непосредственно с экранированной коммутационной панелью.
Если транспортное средство или периферийное устройство находится вне данного или смежного экранированного помещения, то для соединения камеры ПЭК с периферийным устройством или транспортным средством должны использоваться экранированные кабели.
10 ИСПЫТАНИЕ ПУТЕМ НЕПОСРЕДСТВЕННОЙ ИНЖЕКЦИИ ТОКА
10.1 Метод испытания
Данные метод предполагает проведение испытаний на устойчивость к воздействию излучений путем непосредственного индуцирования токов в электропроводке при помощи инжектора тока. Инжектор тока представляет собой соединительный зажим, через который проходят кабели испытываемого ЭСУ. Испытания на устойчивость к воздействию излучений могут проводиться с изменением частоты индуцируемых сигналов.
Испытываемый ЭСУ может устанавливаться на заземленной поверхности, как оговорено в 8.2.1 настоящего приложения, или на транспортном средстве в соответствии со спецификациями транспортного средства.
10.2 Калибровка инжектора тока до начала испытаний
Инжектор тока устанавливают в калибровочном крепежном устройстве. При сканировании испытательного диапазона частот должен контролироваться уровень мощности, требуемый для достижения параметров тока, оговоренных в 6.7.2.1 настоящих Правил. Этот метод используется для калибровки системы непосредственной инжекции тока на предмет подводимой мощности в зависимости от требуемого уровня тока на этапе до проведения испытаний, именно эта подводимая мощность должна подаваться на инжектор тока после его соединения с испытываемым ЭСУ при помощи кабелей, использовавшихся в ходе калибровки. Следует отметить, что контролируемая мощность, подаваемая на инжектор тока, представляет собой подводимую мощность.
10.3 Установка испытываемого ЭСУ
В случае ЭСУ, установленного на заземленной поверхности, как это оговорено в 8.2.1, все кабели электропроводки должны иметь соединения, максимально приближенные к тем, которые имеются в реальных условиях. В оптимальном варианте они должны быть соединены с источниками нагрузки и выключателями, используемыми в условиях практической эксплуатации. Как в случае ЭСУ, устанавливаемых на транспортном средстве, так и в случае ЭСУ, устанавливаемых на заземленной поверхности, инжектор тока устанавливается на всех проводах электропроводки, на каждом соединении на расстоянии (150±10) мм от каждого соединения электронного блока управления (ЭБУ), приборных модулей или активных датчиков, как это показано на рисунке 1 в дополнении 2.
10.4 Провода подачи электропитания, передачи сигналов и обеспечения контроля
В случае,
если испытываемый ЭСУ устанавливается на заземленной поверхности, как это
оговорено в 8.2.1 настоящего приложения, электропроводка должна быть соединена
между эквивалентной схемой (ЭС) и основным электронным блоком управления. Эта
электропроводка должна проходить параллельно краю заземленной поверхности на
расстоянии не менее
Расстояние между ЭБУ и ЭС должно составлять (1,0±0,1) м или должно быть равным длине, если она известна, электропроводки между ЭБУ и аккумулятором на транспортном средстве, в зависимости от того, какое из расстояний является меньшим. Если используется электропроводка транспортного средства, то любые ответвления, имеющиеся на данной длине, должны быть размещены вдоль заземленной поверхности, но перпендикулярно краю заземленной поверхности. В иных случаях другие провода, имеющиеся на этой длине, должны расходиться на уровне ЭС.
ПРИЛОЖЕНИЕ 9. Дополнение 1
(обязательное)
Размеры в миллиметрах

1 - испытательная камера; 2 - проводка; 3 - испытываемый объект; 4 - выходное сопротивление; 5 - генератор частоты; 6/7- резервный аккумулятор; 8-источник питания; 9- фильтр; 10- периферийное устройство; 11 - фильтр; 12 - периферийный блок видеосистемы; 13 - оптоэлектрический преобразователь; 14 - оптические линии связи; 15 - неэкранированное периферийное устройство; 16 - экранированное периферийное устройство; 17- оптоэлектрический преобразователь; 18 - изолирующая опора; 19 - видеокамера
Рисунок 1 - Испытание в 150-миллиметровой полосковой системе
Размеры в миллиметрах

1 - испытываемый объект; 2 - проводка; 3 - периферийное устройство; 4 - выходное сопротивление; 5 - изолирующая опора
Рисунок 2 - Испытание в 150-миллиметровой полосковой системе
Размеры в миллиметрах

Подача питания в полосковую систему
1 - заземленная поверхность; 2 - основной пучок и кабели соединения с датчиками/выключателями; 3 -деревянный каркас; 4 - токопроводящая пластина; 5 - изолятор; 6- испытываемый объект
Рисунок 3 - Испытания в 800-миллиметровой полосковой системе

Рисунок 4 - Размеры для 800-миллиметровой полосковой системы
ПРИЛОЖЕНИЕ 9. Дополнение 2
(обязательное)
Размеры в миллиметрах

1 - ЭСУ; 2 - измеритель ВЧ тока (факультативно); 3 - инжектор ВЧ тока; 4 - эквивалентная схема; 5 - фильтрующая сеть экранированной камеры; 6-источник питания; 7 - блок взаимодействия с ЭСУ: имитационная и контрольная системы; 8 - генератор ВЧ сигналов; 9- широкополосный усилитель; 10- направленный ответвитель (ВЧ, 50 Ом); 11- ВЧ или эквивалентная измерительная система; 12- спектроанализатор или эквивалентное устройство (факультативно)
Рисунок 1 - Измерительная установка для испытания путем непосредственной инжекции тока
ПРИЛОЖЕНИЕ 9. Дополнение 3
(обязательное)

1 - внешний проводник (экран); 2 - внутренний проводник (перегородка); 3 - изолятор; 4 - ввод; 5 - изолятор; 6 - дверь; 7 - коммутационная панель; 8 - подача питания к испытываемому объекту; 9 - выходное сопротивление 50 Ом; 10 - изоляция; 11 - испытываемый объект (максимальная высота - одна треть расстояния между полом камеры и переборкой)
Рисунок 1 - Испытание в камере ПЭК

Вертикальное сечение
Обозначение:
* - диэлектрические стержни
Рисунок 2 - Схема прямоугольной камеры ПЭК
Размеры камеры ПЭК в зависимости от верхних пределов частоты должны соответствовать приведенным в таблице.
|
Верхняя частота, МГц |
Отношение размеров камеры: |
Отношение размеров камеры: |
Разделяющее расстояние b, см |
Переборка S, см |
|
W/b |
L/W |
|||
|
200 |
1,69 |
0,66 |
56 |
70 |
|
200 |
1,00 |
1,00 |
60 |
50 |
ПРИЛОЖЕНИЕ 9. Дополнение 4
(обязательное)
Рисунок 1 - Испытание на устойчивость ЭСУ в условиях свободного поля. Испытательная камера. Общий вид сверху
Размеры в миллиметрах

Рисунок 2 - Испытание на устойчивость ЭСУ в условиях свободного поля. Испытательная камера. Вид в плоскости продольной симметрии
Ключевые слова: транспортные средства, совместимость электромагнитная, электронный сборочный узел
|
|
|
|