ГОСТ Р 41.29-99
(Правила ЕЭК ООН № 29)
ГОСУДАРСТВЕННЫЙ СТАНДАРТ
РОССИЙСКОЙ ФЕДЕРАЦИИ
ЕДИНООБРАЗНЫЕ
ПРЕДПИСАНИЯ, КАСАЮЩИЕСЯ ОФИЦИАЛЬНОГО УТВЕРЖДЕНИЯ ТРАНСПОРТНЫХ СРЕДСТВ В
ОТНОШЕНИИ ЗАЩИТЫ ЛИЦ, НАХОДЯЩИХСЯ В КАБИНЕ ГРУЗОВОГО ТРАНСПОРТНОГО СРЕДСТВА
ГОССТАНДАРТ РОССИИ
Москва
СОДЕРЖАНИЕ
1. РАЗРАБОТАН Всероссийским
научно-исследовательским институтом стандартизации и сертификации в
машиностроении (ВНИИНМАШ) на основе Правил ЕЭК ООН № 29, принятых Рабочей
группой по конструкции транспортных средств КВТ ЕЭК ООН
ВНЕСЕН
Госстандартом России
2. ПРИНЯТ И
ВВЕДЕН В ДЕЙСТВИЕ Постановлением Госстандарта России от 26 мая 1999
г. № 184
3. Настоящий
стандарт представляет собой идентичный текст Правил ЕЭК ООН № 29, Пересмотр 1
(документ E/ECE/324-E/ECE/TRANS/505/Rev.1/Add.28/Rev.1, дата вступления в силу 11.09.92)
«Единообразные предписания, касающиеся официального утверждения транспортных
средств в отношении защиты лиц, находящихся в кабине грузового транспортного
средства»
4. ВВЕДЕН
ВПЕРВЫЕ
5. ИЗДАНИЕ
(февраль 2002 г.)
с Изменением № 1, утвержденным в ноябре 2001
г. (ИУС 2-2002)
ГОСУДАРСТВЕННЫЙ СТАНДАРТ
РОССИЙСКОЙ ФЕДЕРАЦИИ
|
ЕДИНООБРАЗНЫЕ ПРЕДПИСАНИЯ, КАСАЮЩИЕСЯ ОФИЦИАЛЬНОГО УТВЕРЖДЕНИЯ
ТРАНСПОРТНЫХ СРЕДСТВ В ОТНОШЕНИИ ЗАЩИТЫ ЛИЦ, НАХОДЯЩИХСЯ В КАБИНЕ ГРУЗОВОГО
ТРАНСПОРТНОГО СРЕДСТВА
Uniform
provisions concerning the approval of vehicles with regard to the protection
of the occupants of the cab of a commercial vehicle
|
Дата введения 2000-07-01
Настоящий стандарт вводит
в действие Правила ЕЭК ООН № 29 (далее - Правила)
Настоящий стандарт
распространяется на транспортные средства, предназначенные для перевозки
грузов.
Стандарт не
распространяется на сельскохозяйственные тракторы и машины.
В настоящем стандарте
применяют следующие термины с соответствующими определениями:
2.1. официальное
утверждение транспортного средства: Официальное утверждение на основании настоящих
Правил типа транспортного средства в отношении защиты лиц, находящихся в кабине
грузового транспортного средства, в случае лобового удара или опрокидывания, а
также в случае перемещения груза.
2.2. тип
транспортного средства: Категория механических транспортных средств, не
имеющих между собой существенных различий; в частности, эти различия могут
касаться:
2.2.1. размеров, формы и
материала элементов кабины транспортного средства или
2.2.2. крепления кабины к
раме.
2.3. поперечная
плоскость: Вертикальная плоскость, перпендикулярная к среднему продольному
сечению транспортного средства.
2.4. продольная плоскость: Плоскость, параллельная
среднему продольному сечению транспортного средства.
3.1. Заявка на официальное
утверждение типа транспортного средства в отношении защиты лиц, находящихся в
кабине грузового транспортного средства, представляется
предприятием-изготовителем транспортного средства или его надлежащим образом
уполномоченным представителем.
3.2. К заявке прилагают в
трех экземплярах чертежи транспортного средства с указанием размещения и
крепления кабины на транспортном средстве и достаточно подробные чертежи
конструкции кабины.
4.1. Если тип
транспортного средства, представленного на официальное утверждение в
соответствии с настоящими Правилами, удовлетворяет предписаниям раздела 5
настоящих Правил, то данный тип транспортного средства считается официально
утвержденным.
4.2. Каждому официально
утвержденному типу транспортного средства присваивается номер официального
утверждения. Первые две цифры этого номера (в настоящее время 02,
соответствующие поправкам серии 02, вступившим в силу 1 августа 1977
г.) указывают серию поправок, включающих последние
значительные технические изменения, внесенные в Правила к моменту официального
утверждения. Одна и та же Договаривающаяся сторона не может присвоить этот
номер другому типу транспортного средства в соответствии с 2.2.
(Измененная редакция,
Изм. № 1)
4.3.
Стороны Соглашения 1958 г.,
применяющие Правила ЕЭК ООН № 29, уведомляются об официальном утверждении,
распространении официального утверждения, об отказе в официальном утверждении,
об отмене официального утверждения или об окончательном прекращении
производства типа транспортного средства посредством карточки, соответствующей
образцу, приведенному в приложении 1 к настоящим Правилам.
4.4. На
каждом транспортном средстве, соответствующем типу транспортного средства,
официально утвержденному на основании настоящих Правил, проставляют на видном и
легко доступном месте, указанном в карточке официального утверждения,
международный знак официального утверждения, состоящий из:
4.4.1. круга, в котором
проставлена буква Е, за которой следует отличительный номер страны,
предоставившей официальное утверждение 1);
4.4.2. номера настоящих
Правил, проставленного справа от круга, предусмотренного в 4.4.1; и
4.4.3. дополнительного
обозначения, отделенного от номера настоящих Правил вертикальной чертой и
состоящего из буквы С, если кабина удовлетворяет требованиям, предъявляемым при
испытании С.
1) 1 - Германия, 2 - Франция,
3 - Италия, 4 - Нидерланды, 5 - Швеция, 6 - Бельгия, 7 - Венгрия, 8 - Чешская
Республика, 9 - Испания, 10 - Югославия, 11 - Соединенное Королевство, 12 -
Австрия, 13 - Люксембург, 14 - Швейцария, 15 - не присвоен, 16 - Норвегия, 17 -
Финляндия, 18 - Дания, 19 - Румыния, 20 - Польша, 21 - Португалия, 22 -
Российская Федерация, 23 - Греция, 24 - Ирландия, 25 - Хорватия, 26 - Словения,
27 - Словакия, 28 - Беларусь, 29 - Эстония, 30 - не присвоен, 31 - Босния и
Герцеговина, 32 - Латвия, 33-36 - не присвоены, 37 - Турция, 38-39 - не
присвоены и 40 - бывшая югославская Республика Македония, 41 - не присвоен, 42
- Европейское сообщество (официальные утверждения предоставляются его
государствами-членами с использованием его соответствующего символа ЕЭК) и 43 -
Япония. Последующие порядковые номера присваиваются другим странам в
хронологическом порядке ратификации ими Соглашения о принятии единообразных
технических предписаний для колесных транспортных средств, предметов
оборудования и частей, которые могут быть установлены и (или) использованы на
колесных транспортных средствах, и об условиях взаимного признания официальных
утверждений, выдаваемых на основе этих предписаний, или в порядке их
присоединения к этому Соглашению. Присвоенные им таким образом номера сообщаются
Генеральным секретарем Организации Объединенных Наций Сторонам Соглашения.
4.5. Если
транспортное средство соответствует типу транспортного средства, официально
утвержденному на основании других приложенных к Соглашению 1958
г. Правил в той же стране, которая предоставила
официальное утверждение на основании настоящих Правил, то обозначение,
предусмотренное в 4.4.1, повторять не следует; в этом случае дополнительные
номера и обозначения всех Правил, в отношении которых представляется
официальное утверждение в стране, предоставившей официальное утверждение на
основании настоящих Правил, располагают в вертикальных колонках, помещаемых
справа от обозначения, предусмотренного в 4.4.1.
4.6. Знак официального
утверждения должен быть четким и нестираемым.
4.7. Знак официального
утверждения помещают рядом с прикрепленной предприятием-изготовителем
табличкой, на которой приведены характеристики транспортного средства, или
наносят на эту табличку.
4.8. В приложении 2
к настоящим Правилам приведены в качестве примера схемы знаков официального
утверждения.
5.1. Кабина должна быть
сконструирована и укреплена на транспортном средстве таким образом, чтобы в
случае дорожно-транспортного происшествия максимально устранить опасность
ранения находящихся в ней лиц.
5.2. По выбору
предприятия-изготовителя она подвергается либо всем испытаниям, описанным в приложении 3
к настоящим Правилам, либо только испытаниям
А и В. Однако тип транспортного
средства, который официально утвержден в соответствии с Правилами ЕЭК ООН № 33,
может рассматриваться как удовлетворяющий требованиям испытания на удар спереди
(испытание А). Для этой цели используют,
по выбору предприятия-изготовителя, одну, две или три кабины.
5.3. Остаточное
пространство, которое должно оставаться после проведения испытания или
испытаний
5.3.1. После проведения
каждого из испытаний, упомянутых в 5.2, в кабине транспортного средства должно
оставаться остаточное пространство, в котором может поместиться на сиденье,
установленном в среднем положении, не приходя в соприкосновение с жестко
закрепленными частями, манекен, описание которого приводится в дополнении
2 к приложению 3. Для облегчения установки манекена допускается
помещать его по частям и собирать в кабине. Для этого сиденье максимально
откидывают назад, манекен полностью собирают и устанавливают таким образом,
чтобы его точка Н совпадала с точкой R. Затем сиденье устанавливают в
среднее положение для проверки остаточного пространства.
5.3.2. Наличие определенного
таким образом пространства проверяют в отношении каждого сиденья,
предусмотренного предприятием-изготовителем.
5.4. Прочие условия
5.4.1. В ходе испытаний в
деталях крепления кабины к раме могут наблюдаться деформации или изломы, однако
кабина должна оставаться прикрепленной к раме.
5.4.2. В ходе испытаний
ни одна дверь не должна открываться, но после испытаний открытия дверей не
требуется.
5.5. Испытания В и С
допускается не проводить, если предприятие-изготовитель на основе расчетов
прочности элементов кабины или с помощью каких-либо других средств сможет
доказать, что крыша или задняя стенка не подвергнутся опасной для лиц,
находящихся в кабине, деформации (проникновение в остаточное пространство),
если они окажутся в условиях испытаний В
и С.
6.1. Любое изменение типа
транспортного средства доводят до сведения административного органа, который
представил официальное утверждение данному типу транспортного средства. Этот
орган может:
6.1.1. либо прийти к
заключению, что внесенные изменения не будут иметь значительного отрицательного
влияния и что в любом случае это транспортное средство по-прежнему
удовлетворяет предписаниям;
6.1.2. либо потребовать
нового протокола испытания технической службы, уполномоченной проводить
испытания.
6.2. Подтверждение
официального утверждения или отказ в официальном утверждении с указанием
изменений направляется Сторонам Соглашения 1958
г. в соответствии с процедурой, предусмотренной в 4.3.
6.3. Компетентный орган,
распространивший официальное утверждение, присваивает такому распространению
соответствующий серийный номер и уведомляет об этом другие Стороны Соглашения 1958
г. посредством карточки сообщения, соответствующей
образцу, приведенному в приложении 1 к настоящим Правилам.
Проверка соответствия
производства должна соответствовать процедурам, изложенным в дополнении 2 к
Соглашению (E/ECE/324-E/ECE/TRANS/505/Rev.2), с учетом следующих
требований:
(Введен дополнительно,
Изм. № 1).
7.1. Каждое транспортное
средство, имеющее знак официального утверждения на основании настоящих
Предписаний, должно соответствовать официально утвержденному типу транспортного
средства в отношении деталей, которые могут оказать влияние на характеристики
кабины.
7.2. Для проверки
соответствия 7.1 проводят выборочные проверки на транспортных средствах
серийного производства, имеющих знак официального утверждения на основании
настоящих Правил.
7.3. Как правило, эти
проверки ограничиваются измерением размеров; однако в случае необходимости
транспортные средства подвергают испытаниям, описанным в приложении 3
к настоящим Правилам.
8.1. Официальное
утверждение типа транспортного средства, представленное на основании настоящих
Правил, может быть отменено, если не соблюдается требование, изложенное в 7.1,
или если кабина не выдержала проверок, предусмотренных в 7.2 и 7.3.
8.2. Если какая-либо
сторона Соглашения 1958 г.
отменяет представленное ею ранее официальное утверждение, она немедленно
сообщает об этом другим Сторонам Соглашения 1958
г. посредством копии карточки сообщения, соответствующей
образцу, приведенному в приложении 1 к настоящим Правилам.
Если владелец
официального утверждения полностью прекращает производство типа транспортного
средства, официально утвержденного на основании настоящих Правил, он сообщает
об этом компетентному органу, предоставившему официальное утверждение. По
получении соответствующего сообщения этот компетентный орган уведомляет об этом
другие Стороны Соглашения 1958
г. посредством карточки сообщения, соответствующей
образцу, приведенному в приложении 1 к настоящим Правилам.
10.1. Начиная с
официальной даты вступления в силу поправок серии 02, ни одна из
Договаривающихся сторон, применяющих настоящие Правила, не должна отказывать в
предоставлении официальных утверждений ЕЭК на основании настоящих Правил с
внесенными в них поправками серии 02.
10.2. Начиная с 1 октября
2002 г.
Договаривающиеся стороны, применяющие настоящие Правила, должна предоставлять
официальные утверждения ЕЭК только в том случае, если выполнены требования
настоящих Правил с внесенными в них поправками серии 02.
10.3. Начиная с 1 октября
2006 г.
Договаривающиеся стороны, применяющие настоящие Правила, могут отказывать в
признании официальных утверждений, которые были предоставлены не в соответствии
с поправками серии 02 к настоящим Правилам.
Раздел 10 (Введен
дополнительно, Изм. № 1)
Стороны Соглашения 1958
г. сообщают Секретариату Организации Объединенных Наций
наименования и адреса технических служб, уполномоченных проводить испытания для
официального утверждения, а также административных органов, которые предоставляют
официальное утверждение и которым следует направлять выдаваемые в других
странах регистрационные карточки официального утверждения, отказа в официальном
утверждении или отмены официального утверждения.
[Максимальный формат А4 (210 х 297
мм)]

направленное _______________________________,
наименование административного органа,
касающееся 2) ОФИЦИАЛЬНОГО УТВЕРЖДЕНИЯ,
РАСПРОСТРАНЕНИЯ
ОФИЦИАЛЬНОГО УТВЕРЖДЕНИЯ,
ОТКАЗА
В ОФИЦИАЛЬНОМ УТВЕРЖДЕНИИ,
ОТМЕНЫ
ОФИЦИАЛЬНОГО УТВЕРЖДЕНИЯ,
ОКОНЧАТЕЛЬНОГО
ПРЕКРАЩЕНИЯ ПРОИЗВОДСТВА
типа транспортного средства в отношении защиты лиц,
находящихся в кабине грузового транспортного средства, на основании Правил ЕЭК
ООН № 29
Официальное утверждение
№_________________ Распространение №_________________
1. Фабричная или торговая
марка транспортного средства____________________________
2. Тип транспортного
средства___________________________________________________
3. Предприятие-изготовитель
и его адрес__________________________________________
4. В соответствующих
случаях фамилия и адрес представителя предприятия-изготовителя
________________________________________________________________________________
________________________________________________________________________________
5. Краткое описание
конструкции и крепления кабины ______________________________
________________________________________________________________________________
6. Транспортное средство
представлено на официальное утверждение (дата)____________
7. Техническая служба,
уполномоченная проводить испытания для официального
утверждения_____________________________________________________________________
8. Дата протокола
испытания, выданного этой службой______________________________
9. Номер протокола
испытания, выданного этой службой_____________________________
10. Выдержанные кабиной
испытания: А/В/С 2)
11. Официальное
утверждение предоставлено/официальное утверждение распространено/в официальном
утверждении отказано/официальное утверждение отменено 2)
12. Место проставления на
транспортном средстве знака официального
утверждения_____________________________________________________________________
13.
Место_____________________________________________________________________
14.
Дата______________________________________________________________________
15.
Подпись___________________________________________________________________
К настоящему
сообщению прилагается перечень документов, сданных на хранение
административному органу, предоставившему официальное утверждение, которые могут
быть получены при представлении соответствующей просьбы.
1) Отличительный номер страны,
которая предоставила/распространила/отказала/отменила официальное утверждение
(см. положения об официальном утверждении в настоящих Правилах).
2) Ненужное вычеркнуть.
Образец А
(См. 4.4 настоящих Правил)

Приведенный
выше знак официального утверждения, проставленный на транспортном средстве, указывает,
что данный тип транспортного средства официально утвержден в Нидерландах (Е 4)
в отношении защиты лиц, находящихся в кабине грузового транспортного средства,
под номером 022439 и что кабина транспортного средства соответствует
предписаниям испытания С. Первые две цифры номера официального утверждения
указывают, что в момент предоставления официального утверждения Правила ЕЭК ООН
№ 29 уже включали поправки серии 02.
Образец В
(См. 4.5 настоящих Правил)

Приведенный выше знак
официального утверждения, проставленный на транспортном средстве, указывает,
что данный тип транспортного средства официально утвержден в Нидерландах (Е 4)
на основании Правил ЕЭК ООН № 29 и Правил ЕЭК ООН № 24 1) (в
последних Правилах скорректированный коэффициент поглощения составляет 1,30
м -1). Кабина
транспортного средства не соответствует предписаниям испытания С. Номера
официального утверждения указывают, что в момент предоставления соответствующих
официальных утверждений Правила ЕЭК ООН № 29 и Правила ЕЭК ООН № 24 уже
включали поправки серии 02.
ПРИЛОЖЕНИЕ 2 (Измененная
редакция, Изм. № 1).
1) Вторые Правила приведены
только в качестве примера.
1. Двери
До проведения испытаний
двери кабины должны быть закрыты, но не заперты.
2. Двигатель
В ходе испытания А
устанавливают двигатель или макет, который по массе, размерам и способу монтажа
эквивалентен аналогичным характеристикам двигателя.
3. Крепление кабины
При проведении испытания
А кабину устанавливают на транспортном средстве. При проведении испытаний В и С
кабину устанавливают по выбору изготовителя либо на транспортном средстве, либо
на отдельной раме. Транспортное средство или раму крепят согласно предписаниям дополнения
1 к настоящему приложению.
4.
Испытание на удар спереди (испытание А)
4.1. Описание маятника
4.1.1. Маятник должен
быть изготовлен из стали; его масса (1500 ± 250) кг должна быть равномерно распределена.
Ударная поверхность маятника должна быть прямоугольной и плоской; ее ширина -
2500, а высота - 800 мм.
Края поверхности должны быть закруглены, причем радиус кривизны должен
составлять не менее 15 мм.
4.1.2. Конструкция
маятникового комплекта должна быть жесткой. Маятник свободно подвешивают при
помощи двух стержней, жестко прикрепленных к маятнику и удаленных друг от друга
не менее чем на 1000 мм.
Стержни должны иметь двутавровый профиль высотой не менее 100
мм или профиль с, по крайней мере, эквивалентным моментом
инерции. Минимальная длина стержней, измеряемая между осью подвески и
геометрическим центром маятника, должна быть 3500
мм.
4.1.3. Маятник помещают
таким образом, чтобы в вертикальном положении:
4.1.3.1. его фронтальная
сторона соприкасалась с наиболее выдвинутой вперед частью транспортного
средства;
4.1.3.2. его центр
тяжести находился на расстоянии
мм под точкой R сиденья водителя и ни в коем случае не более 1400
мм над грунтом и
(Измененная редакция, №
1)
4.1.3.3. его центр
тяжести находился в среднем продольном сечении транспортного средства.
4.1.4. Маятник должен
наносить удар по кабине в направлении спереди назад. Направление удара должно
быть горизонтальным и параллельным среднему продольному сечению транспортного
средства. Энергия удара должна составлять 3000 кгс.м для транспортных
средств с максимальной разрешенной массой до 7000
кг и 4500 кгс.м - для транспортных средств,
максимальная разрешенная масса которых превышает указанное значение.
5.
Прочность крыши (испытание В)
Крыша кабины должна
выдерживать статическую нагрузку, соответствующую максимальной разрешенной
нагрузке на переднюю (передние) ось (оси) транспортного средства, максимальное
значение которой равно 10 т. Эта нагрузка должна равномерно распределяться по
всем несущим элементам конструкции крыши кабины или отделения водителя при
помощи жесткой опоры соответствующей формы.
6.
Прочность задней стенки (испытание С)
Задняя стенка кабины
должна выдерживать статическую нагрузку 200 кгс на тонну разрешенной полезной
нагрузки. Эту нагрузку прилагают через жесткую плиту, перпендикулярную к
средней продольной оси транспортного средства, покрывающую, по крайней мере,
всю заднюю поверхность кабины под лонжеронами, и перемещающуюся параллельно
этой оси.
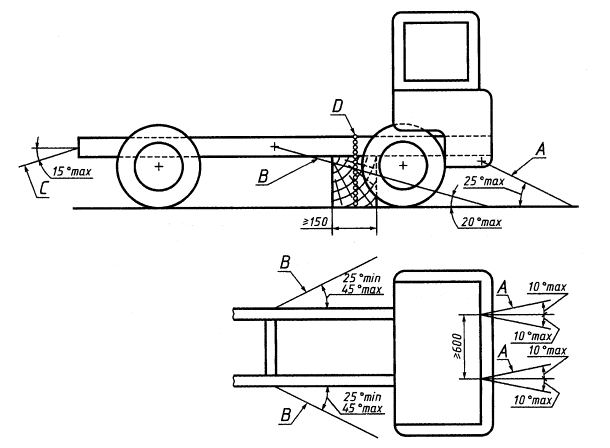
1. Лобовой удар
Испытание А проводят на
кабине, установленной на транспортном средстве следующим образом (см. рисунок
1).
Испытание
на удар спереди

Рисунок 1 - Кабина, установленная на
транспортном средстве
1.1. Крепежные тросы
или цепи
Каждая цепь или крепежный
трос должны быть стальными и выдерживать растяжение не менее 10 т.
1.2. Закрепление рамы
Лонжероны рамы устанавливают
на деревянных опорах по всей их ширине и по длине, равной не менее 150
мм. Передняя часть опор не должна находиться ни перед
задней оконечностью кабины, ни позади середины межосевого расстояния. По
просьбе предприятия-изготовителя рама должна быть установлена в положении,
соответствующем положению, в котором она находится при полной нагрузке.
1.3. Продольное
крепление
Обратное движение рамы
ограничивают при помощи цепей или тросов А, закрепленных в передней
части рамы симметрично продольной оси, причем расстояние между точками
крепления должно быть не менее 600
мм. После натяжения цепи или тросы должны составлять с
горизонтальной плоскостью направленный вниз угол не более 25°, а их проекция на
горизонтальную плоскость должна составлять угол не более 10° с
продольной осью транспортного средства. Цепи и тросы могут скрещиваться.
1.4. Боковое крепление
Боковое движение
ограничивают при помощи цепей или тросов В, прикрепленных к раме
симметрично ее продольной оси. Точки крепления на раме должны находиться на
расстоянии не более 5 и не менее 3
м от передней части транспортного средства. После
натяжения цепи или тросы должны составлять с горизонтальной плоскостью
направленный вниз угол не более 20°, а их проекция на горизонтальную плоскость
- угол не менее 25 и не более 45° с продольной осью транспортного средства.
1.5. Нагрузка на цепи
или тросы и заднее крепление
Прежде всего цепи или
трос С подвергают воздействию нагрузки, равной примерно 100 кгс. Затем
натягивают четыре цепи или тросы А и В и прилагают к цепи или
тросу С растягивающую нагрузку, равную не менее 1000 кгс. Угол,
образуемый этой цепью или тросом С с горизонтальной плоскостью, не
должен превышать 15°. В точке D между рамой и грунтом прилагают
вертикальную удерживающую нагрузку, равную не менее 50 кгс.
1.6. Эквивалентная
установка
По просьбе
предприятия-изготовителя испытание допускается проводить на кабине,
установленной на специальной раме, однако должно быть доказано, что эта
установка воспроизводит условия монтажа кабины на транспортном средстве.
2. Прочность крыши
2.1. Кабина,
установленная на транспортном средстве
Необходимо принимать меры
по предотвращению заметных перемещений транспортного средства в ходе испытания.
С этой целью включают ручной тормоз, одну из скоростей, а под передние колеса
подкладывают клинья. Деформацию различных элементов подвески (рессор, шин и
т.д.) исключают за счет установки жестких опор.
2.2. Кабина,
установленная на специальной раме
Необходимо принимать меры
по предотвращению заметных перемещений рамы в ходе испытания.
3. Прочность задней
стенки
3.1. Кабина,
установленная на транспортном средстве
Необходимо принимать меры
по предотвращению заметных перемещений транспортного средства в ходе испытания.
С этой целью включают ручной тормоз, одну из скоростей, а под передние колеса
подкладывают клинья.
3.2. Кабина,
установленная на специальной раме
Необходимо принимать меры
по предотвращению заметных перемещений рамы в ходе испытания.

Материал Полистирол, плотность 0,0169 г/см3
Масса 4,54
кг
Размеры, см АА - ширина головы 15,3
АВ -
общая высота головы и шеи 24,4
D -
расстояние от макушки головы до плечевого сустава 35,9
Е -
толщина икры 10,6
F - высота от сиденья до верха плеча 62,0
J - высота подлокотника 21,0
М -
расстояние от коленного сустава до пола 54,6
О -
толщина туловища 23,0
Р - расстояние
между спинкой сиденья и коленом 59,5
R - расстояние
от локтя до концов пальцев 49,0
S - длина
ступни 26,6
Т -
высота головы 21,1
U -
высота от сиденья до макушки головы 90,0
V -
ширина плеч 45,3
W - ширина ступни 7,7
a - расстояние между суставами бедра 17,2
b - ширина туловища 30,5
с -
высота головы от подбородка 22,1
d -
толщина предплечий 9,4
е - расстояние между вертикальной осью
туловища и затылком 10,2
f - расстояние между плечевым
суставом и локтевым суставом 28,3
g -
высота от пола до коленного сустава 50,5
h- ширина бедра 16,5
i - расстояние от пола до коленей (в
сидячем положении) 56,5
j -
расстояние от макушки головы до точки H 81,9
k -расстояние между тазобедренным суставом и коленным суставом 42,6
m -
расстояние от пола до лодыжки 8,9
1. Цель
Описываемая в настоящем
приложении процедура предназначена для определения положения точки Н и фактического угла наклона туловища
для одного или нескольких мест для сидения в автомобиле и для проверки
соотношения между измеренными параметрами и конструктивными спецификациями,
указанными предприятием-изготовителем 1).
1) В отношении любых мест для
сидения, за исключением передних сидений, для которых точка Н не может определяться посредством
применения объемного механизма определения точки Н или соответствующих методов, в качестве контрольной точки
допускается применять, по усмотрению компетентного органа, точку R,
указанную
предприятием-изготовителем.
2. Термины и
определения
В настоящем приложении применяют следующие термины с
соответствующими определениями:
2.1. контрольные
параметры: Одна или несколько из следующих характеристик места для сидения:
2.1.1. точка H и точка R и их соотношение;
2.1.2. фактический угол
наклона туловища и конструктивный угол наклона туловища и их соотношение.
2.2. объемный механизм определения точки (механизм 3-D H): Устройство, применяемое для определения точки H и фактического угла наклона туловища. Описание этого
устройства содержится в дополнении 1 к настоящему
приложению.
2.3. точка H. Центр вращения
туловища и бедра механизма 3-D H, установленного на
сиденье транспортного средства в соответствии с предписаниями раздела 4
настоящего приложения. Точка Н
располагается в середине центральной линии устройства, проходящей между
визирными метками точки Н с обеих
сторон механизма 3-D Н. Теоретически
точка Н соответствует (допуски см. 3.2.2)
точке R. После
определения точки Н в соответствии с
порядком, описанным в разделе 4, считается, что эта точка
является фиксированной по отношению к подушке сиденья и перемещается вместе с
ней при регулировке сиденья.
2.4. точка R или
контрольная точка места для сидения: Условная точка, указываемая
предприятием-изготовителем для каждого места для сидения и устанавливаемая
относительно трехмерной системы координат.
2.5. линия туловища: Центральная
линия штыря механизма 3-D Н, когда
штырь находится в крайнем заднем положении.
2.6. фактический угол
наклона туловища: Угол, измеряемый между вертикальной линией, проходящей
через точку Н, и линией туловища
посредством кругового сектора механизма 3-D Н.
Теоретически фактический угол наклона туловища соответствует конструктивному
углу наклона туловища (допуски см. 3.2.2).
2.7. конструктивный
угол наклона туловища: Угол, измеряемый между вертикальной линией,
проходящей через точку R,
и линией туловища в положении, соответствующем конструктивному положению
спинки сиденья, указанному предприятием-изготовителем транспортного средства.
2.8. центральная
плоскость водителя или пассажира (C/LO):Средняя
плоскость механизма 3-D Н,
расположенного на каждом указанном месте для сидения; представлена координатой
точки Н относительно оси Y. На индивидуальных
сиденьях центральная плоскость сиденья совпадает с центральной плоскостью
водителя или пассажира. На других сиденьях центральную плоскость водителя или
пассажира определяет предприятие-изготовитель.
2.9. трехмерная
система координат: Система, описанная в дополнении 2 к
настоящему приложению.
2.10. исходные точки
отсчета: Физические точки (отверстия, плоскости, метки и углубления) на
кузове транспортного средства, указанные предприятием-изготовителем.
2.11.
положение для измерения на транспортном средстве: Положение
транспортного средства, определенное координатами исходных точек отсчета в
трехмерной системе координат.
3. Предписания
3.1. Представление
данных
Для каждого места для
сидения, контрольные параметры которого используются для проверки соответствия
положениям настоящих Правил, представляют все или соответствующую выборку из
следующих данных в том виде, как это указано в дополнении 3 к настоящему
приложению:
3.1.1. координаты точки R в
трехмерной системе координат;
3.1.2. конструктивный
угол наклона туловища;
3.1.3. указания,
необходимые для регулирования сиденья (если сиденье регулируемое) и установки
его в положение для измерения, определенное в 4.3.
3.2. Соотношение
полученных данных и конструктивных спецификаций
3.2.1. Координаты точки Н и фактический угол наклона туловища,
установленные в соответствии с порядком, указанным в разделе 4, сравнивают
соответственно с координатами точки R и конструктивным углом наклона
туловища, указанным предприятием-изготовителем.
3.2.2.
Относительное положение точки R и точки Н и соотношение между конструктивным углом наклона туловища и
фактическим углом наклона туловища считают удовлетворительным для
рассматриваемого места для сидения, если точка Н, определенная ее координатами, находится в пределах квадрата,
горизонтальные и вертикальные стороны которого, равные 50
мм, имеют диагонали, пересекающиеся в точке R, и если фактический
угол наклона туловища не отличается от конструктивного угла наклона туловища
более чем на 5о.
3.2.3. В случае
удовлетворения этих условий точку R и конструктивный угол наклона
туловища используют для проверки соответствия положениям настоящих Правил.
3.2.4. Если точка Н или фактический угол наклона туловища
не соответствуют требованиям 3.2.2, то точку Н и фактический угол наклона туловища определяют еще два раза
(всего три раза). Если результаты двух из этих трех измерений удовлетворяют
требованиям, то применяют положения 3.2.3.
3.2.5. Если результаты по
меньшей мере двух из трех измерений, определенных в 3.2.4, не удовлетворяют
требованиям 3.2.2 или если проверка невозможна в связи с тем, что
предприятие-изготовитель транспортного средства не представил данных,
касающихся положения точки R или конструктивного угла наклона туловища, допускается
использовать центроид трех полученных точек или средние значения трех измерений
углов, которые будут считаться приемлемыми во всех случаях, когда в настоящих
Правилах упоминается точка R или конструктивный угол наклона туловища.
4. Порядок определения точки Н и фактического угла наклона туловища
4.1. Испытываемое
транспортное средство выдерживают при температуре (20±10)°С по выбору
предприятия-изготовителя для того, чтобы температура материала, из которого
изготовлены сиденья, достигла комнатной. Если испытываемое сиденье никогда не
использовалось, то на него помещают дважды в течение 1 мин человека или
устройство массой от 70 до 80
кг для того, чтобы размять подушку сиденья и спинку. По
просьбе предприятия-изготовителя все комплекты сидений выдерживают в
ненагруженном состоянии в течение, по крайней мере, 30 мин до установки на них
механизма 3-D Н.
4.2. Транспортное
средство должно занять положение для измерения, определенное в 2.11.
4.3.
Если сиденье регулируемое, то его устанавливают сначала в крайнее заднее
(нормальное при управлении или использовании) положение, предусмотренное
предприятием-изготовителем транспортного средства, за счет одной лишь
продольной регулировки сиденья, и без его перемещения, предусмотренного для
целей, иных, чем нормальное управление или использование. При наличии других
способов регулировки (вертикальной, угла наклона спинки и т.д.) сиденье
приводят в положение, определенное предприятием-изготовителем транспортного
средства. Для откидных сидений жесткая фиксация сиденья в вертикальном
положении должна соответствовать нормальному положению при управлении,
указанному предприятием-изготовителем.
4.4. Поверхность места
для сиденья, с которой соприкасается механизм 3-D Н, покрывают муслиновой хлопчатобумажной тканью достаточного
размера и соответствующей текстуры, определяемой как гладкая хлопчатобумажная
ткань, имеющая 18,9 нитей на 1
см и массой 1
м2 0,228
кг, или как вязаная или нетканая материя с аналогичными
характеристиками. Если испытание проводят на сиденье вне транспортного
средства, то пол, на который устанавливается сиденье, должен иметь те же
основные характеристики 1), что и
пол транспортного средства, в котором будет установлено такое сиденье.
1) Угол наклона, разница в
высоте крепления сиденья, текстура поверхности и т.д.
4.5. Помещают основание и
спинку механизма 3-D Н таким образом,
чтобы центральная плоскость водителя или пассажира (C/LO) совпадала с центральной плоскостью механизма 3-D Н. По просьбе предприятия-изготовителя
механизм 3-D Н допускается
передвигать внутрь относительно C/LO, если он находится снаружи
и кромка сиденья не позволяет произвести его выравнивание.
4.6. Прикрепляют ступни и
голени механизма к основанию корпуса либо отдельно, либо посредством шарнирного
соединения Т. Линия, проходящая через визирные метки определения точки Н, должна быть параллельной грунту и
перпендикулярной к продольной центральной плоскости сиденья.
4.7. Располагают ступни и
ноги механизма 3-D Н следующим
образом:
4.7.1. Сиденья водителя и
пассажира рядом с водителем
4.7.1.1. Ступни и ноги
перемещают вперед таким образом, чтобы ступни заняли естественное положение в
случае необходимости между рабочими педалями. Левая ступня по возможности
устанавливается таким образом, чтобы она находилась приблизительно на таком же
расстоянии с левой стороны от центральной плоскости механизма 3-D Н, на каком находится правая ступня с
правой стороны. С помощью уровня проверки поперечной ориентации устройство
приводят в горизонтальное положение регулировкой, в случае необходимости,
основания корпуса либо перемещением ступней и ног назад. Линия, проходящая
через визирные метки точки Н, должна
быть перпендикулярной к продольной центральной плоскости сиденья.
4.7.1.2. Если левая нога
не может удержаться параллельно правой ноге, а левая ступня не может быть
установлена на элементах конструкции транспортного средства, то необходимо
переместить левую ступню таким образом, чтобы установить ее на опору.
Горизонтальность определяют по визирным меткам.
4.7.2. Задние внешние
сиденья
Что касается задних или
приставных сидений, то ноги манекена располагают так, как предписывает
предприятие-изготовитель. Если при этом ступни опираются на части пола, которые
находятся на различных уровнях, то та ступня, которая первая прикоснулась к
переднему сиденью, служит в качестве исходной, а другую ступню располагают
таким образом, чтобы обеспечить горизонтальное положение устройства, проверяемое
с помощью уровня поперечной ориентации основания корпуса.
4.7.3. Другие сиденья
Придерживаются общего
порядка, указанного в 4.7.1, за исключением порядка установки ступней, который
определяет предприятие-изготовитель транспортного средства.
4.8. Размещают грузы на
голенях и бедрах и устанавливают механизм 3-D Н в горизонтальное положение.
4.9. Наклоняют заднюю
часть основания туловища вперед до остановки и отводят механизм 3-D Н от спинки сиденья с помощью коленного
шарнира Т. Вновь устанавливают механизм на прежнее место на сиденье
одним из следующих способов:
4.9.1. Если механизм 3-D Н скользит назад, поступают следующим
образом: дают механизму 3-D Н
возможность скользить назад до тех пор, пока не отпадет необходимость в
использовании передней ограничительной горизонтальной нагрузки на коленный
шарнир Т, т.е. до тех пор, пока задняя часть механизма не соприкоснется
со спинкой сиденья. В случае необходимости изменяют положение голени и ступни.
4.9.2. Если механизм 3-D Н скользит назад, поступают следующим образом:
отодвигают механизм 3-D Н назад за
счет использования горизонтальной задней нагрузки, прилагаемой к коленному
шарниру Т, до тех пор, пока задняя
часть механизма не войдет в соприкосновение со спинкой сиденья (см. рисунок 2 дополнения 1
к настоящему приложению).
4.10. Прикладывают
нагрузку (100±10) Н к задней части и основанию механизма 3-D Н на пересечении кругового сектора бедра
и кожуха коленного шарнира Т. Это усилие должно быть все время
направлено вдоль линии, проходящей через вышеуказанное пересечение до точки,
находящейся чуть выше кожуха кронштейна бедра (см. рисунок 2
дополнения 1 к настоящему приложению). После этого осторожно
возвращают назад спинку механизма до соприкосновения со спинкой сиденья.
Оставшуюся процедуру необходимо проводить с осторожностью, для того чтобы не
допустить соскальзывания механизма 3-D Н
вперед.
4.11. Размещают грузы на
правой и левой частях основания туловища и затем попеременно восемь грузов на
спине. Горизонтальное положение механизма 3-D Н проверяют уровнем.
4.12. Наклоняют спинку
механизма 3-D Н вперед, чтобы
устранить давление на спинку сиденья. Проводят три полных цикла бокового
качания механизма 3-D Н по дуге в 10°
(5 в каждую сторону от вертикальной центральной плоскости), для того чтобы
выявить и устранить возможные точки трения между механизмом 3-D Н и сиденьем.
В ходе раскачивания
коленный шарнир Т механизма 3-D Н
может отклоняться от установленного горизонтального и вертикального
направления. Поэтому во время раскачивания механизма шарнир Т должен удерживаться соответствующей
поперечной силой. При удерживании шарнира Т и раскачивании механизма 3-D
Н необходимо проявлять осторожность,
чтобы не допустить появления непредусмотренных внешних вертикальных или
продольных нагрузок.
При этом не следует
удерживать ступни механизма 3-D Н или
ограничивать их перемещение. Если ступни изменят свое положение, они должны
оставаться на некоторое время в новом положении.
Осторожно возвращают
назад спинку механизма до соприкосновения со спинкой сиденья и выводят оба
уровня в нулевое положение. В случае перемещения ступней во время раскачивания
механизма 3-D Н их следует вновь
установить следующим образом:
Попеременно приподнимают
каждую ступню с пола на минимальную величину, необходимую для того, чтобы
предотвратить ее дополнительное перемещение. При этом удерживают ступни таким
образом, чтобы они могли вращаться; применение каких-либо продольных или
поперечных сил исключается. Когда каждая ступня опять устанавливается в свое
нижнее положение, пятка должна войти в соприкосновение с соответствующим
элементом конструкции.
Выводят поперечный
уровень в нулевое положение; в случае необходимости прикладывают поперечную
нагрузку к верхней части спинки механизма; нагрузка должна быть достаточной для
установки в горизонтальное положение спинки механизма 3-D Н на сиденье.
4.13. Придерживают
коленный шарнир Т для того, чтобы не
допустить соскальзывания механизма 3-D Н
вперед на подушку сиденья, и затем:
a) возвращают назад спинку механизма до соприкосновения со спинкой
сиденья;
b) попеременно прилагают и снимают горизонтальную нагрузку, действующую
в заднем направлении и не превышающую 25 Н, к штанге угла наклона спинки на
высоте приблизительно центра крепления грузов к спинке, пока круговой сектор
бедра не покажет, что после устранения действия нагрузки достигнуто устойчивое
положение. Защищают механизм 3-D Н от
воздействия каких-либо внешних сил, направленных вниз или вбок. В случае
необходимой повторной ориентации механизма 3-D Н в горизонтальном направлении наклоняют спинку механизма вперед,
вновь проверяют его горизонтальное положение и повторяют процедуру, указанную в
4.12.
4.14. Производят
измерения:
4.14.1. Координаты точки Н измеряют в трехмерной системе
координат.
4.14.2. Фактический угол
наклона туловища определяют по круговому сектору наклона спинки механизма 3-D Н, причем штырь должен находиться в
крайнем заднем положении.
4.15. В случае повторной
установки механизма 3-D Н сиденье
должно быть свободным от любых нагрузок в течение не менее 30 мин до начала
установки. Механизм 3-D Н не следует
оставлять на сиденье сверх времени, необходимого для проведения данного
испытания.
4.16. Если сиденья,
находящиеся в одном и том же ряду, могут рассматриваться как одинаковые
(многоместное сиденье, идентичные сиденья и т.п.), то определяют только одну
точку Н и один фактический угол
наклона спинки сиденья для каждого ряда, помещая механизм 3-D Н, описанный в дополнении 1 к настоящему
приложению, в месте, которое можно рассматривать как типичное для данного ряда
сидений. Этим местом является:
4.16.1. в переднем ряду -
место водителя;
4.16.2. в заднем ряду или
рядах - одно из крайних мест.
1. Спинка и основание
Спинку и основание
изготовляют из арматурного пластика и металла; они моделируют туловище и бедра
человека и крепятся друг к другу механически в точке Н. На штырь, укрепленный в точке Н, устанавливается круговой сектор для измерения фактического угла
наклона спинки. Регулируемый шарнир бедра, соединяемый с основанием туловища,
определяет центральную линию бедра и служит исходной линией для кругового
сектора наклона бедра.
1) Механизм соответствует
требованиям ИСО 6549-80.
2. Элементы туловища и ног
Элементы,
моделирующие ступни и голени, соединяются с основанием туловища с помощью
коленного шарнира Т, который является продольным продолжением
регулируемого кронштейна бедра. Для измерения угла сгиба колена элементы голени
и лодыжки оборудованы круговыми секторами. Элементы, моделирующие ступни, имеют
градуировку для определения угла наклона ступни. Ориентация устройства
обеспечивается за счет использования двух уровней. Грузы, размещаемые на
туловище, устанавливают в соответствующих центрах тяжести и обеспечивают
давление на подушку сиденья, равное тому, которое оказывается
пассажиром-мужчиной массой 76
кг. Все сочленения механизма 3-D Н должны быть проверены, для того чтобы обеспечить их свободное
движение и исключить какое-либо заметное трение.

1 - спинка; 2- кронштейн
спинных грузов; 3 - уровень
угла наклона спинки; 4- круговой
сектор наклона бедра; 5- основание; 6-
кронштейн набедренных грузов; 7- коленный шарнир Т; 8 - штырь; 9 - круговой сектор наклона спинки; 10 - визирные метки точки Н; 11 - ось вращения точки Н; 12 - поперечный уровень; 13 - кронштейн бедра; 14 - круговой сектор сгиба колена; 15 - круговой сектор сгиба ступни
Рисунок 1 - Обозначение элементов
механизма 3-D Н

1 - спинные грузы; 2 - седалищные грузы; 3 - набедренные грузы; 4 - ножные грузы; 5 - направление и точка
приложения нагрузки
Рисунок 2 - Размеры элементов
механизма 3-D Н и распределение грузов
1. Трехмерная система
координат определяется тремя ортогональными плоскостями, установленными
предприятием-изготовителем транспортного средства (см. рисунок 1) 1).
2. Положение для
измерения на транспортном средстве устанавливают помещением данного
транспортного средства на опорную поверхность таким образом, чтобы координаты
исходных точек отсчета соответствовали значениям, указанным
предприятием-изготовителем.
3.
Координаты точек R и Н устанавливают относительно исходных точек
отсчета, определенных предприятием-изготовителем транспортного средства.
1) Система координат
соответствует требованиям ИСО 4130-78.

Рисунок 1 - Трехмерная система
координат
1. Кодирование исходных
данных
Исходные данные
перечисляют последовательно по каждому месту для сидения. Места для сидения
определяют двузначным кодом. Первый знак представляет собой арабскую цифру и
обозначает ряд мест; отсчет мест ведется спереди назад. Вторым знаком является
заглавная буква, которая обозначает расположение места для сидения в ряду,
обращенном в направлении движения транспортного средства вперед; при этом
используют буквы:
L = левое;
С = центральное;
R = правое.
2. Определение положения
транспортного средства, установленного для измерения
2.1. Координаты исходных
точек отсчета
X____________________________
Y____________________________
Z____________________________
3. Перечень исходных
данных
3.1. Место для
сидения__________________
3.1.1. Координаты точки R
X___________________________
Y___________________________
Z___________________________
3.1.2. Конструктивный
угол наклона туловища__________
3.1.3. Положение для
регулировки сиденья 1)
горизонтальное______________
вертикальное________________
угловое_____________________
угол наклона
туловища________
1) Ненужное вычеркнуть.
Примечание - Перечислить исходные
данные для других мест для сидения в 3.2, 3.3 и т.д.
Ключевые слова: крепление кабины грузового транспортного средства,
манекен, испытание на удар