//
ТехЛит.ру
- крупнейшая бесплатная электронная интернет библиотека для "технически умных" людей.
WWW.TEHLIT.RU - ТЕХНИЧЕСКАЯ ЛИТЕРАТУРА

:: Алготрейдинг::


АЛГОТРЕЙДИНГ
шаг за шагом
с нуля по урокам!

Торговые роботы на PYTHON, BackTrader,
Pandas, Pine Script для TradingView. Связка с брокерами, телеграм и легкими приложениями.


ГОСТ Р 50994-96
(ИСО 4256-78)

ГОСУДАРСТВЕННЫЙ СТАНДАРТ РОССИЙСКОЙ ФЕДЕРАЦИИ

ГАЗЫ УГЛЕВОДОРОДНЫЕ
СЖИЖЕННЫЕ

МЕТОД ОПРЕДЕЛЕНИЯ ДАВЛЕНИЯ
НАСЫЩЕННЫХ ПАРОВ

ГОССТАНДАРТ РОССИИ

Москва

Предисловие

1 РАЗРАБОТАН Техническим комитетом по стандартизации «Сжиженное газообразное топливо» (ТК 139)

ВНЕСЕН Всероссийским научно-исследовательским институтом углеводородного сырья (ВНИИУС)

2 УТВЕРЖДЕН И ВВЕДЕН В ДЕЙСТВИЕ Постановлением Госстандарта России от 10 декабря 1996 № 672

3 Настоящий стандарт содержит полный аутентичный текст международного стандарта ИСО 4256-78 «Газы сжиженные нефтяные. Метод определения давления пара (Метод сжиженных газов)» (приложение) с дополнительными требованиями, отражающими потребности экономики страны

4 ВВЕДЕН ВПЕРВЫЕ

5 ПЕРЕИЗДАНИЕ. Ноябрь 2000 г.

ГОСТ Р 50994-96
(ИСО 4256-78)

ГОСУДАРСТВЕННЫЙ СТАНДАРТ РОССИЙСКОЙ ФЕДЕРАЦИИ

ГАЗЫ УГЛЕВОДОРОДНЫЕ СЖИЖЕННЫЕ.

Метод определения давления насыщенных паров

Liquefied petroleum gases. Determination of gauge vapor pressure. LPG method

Дата введения 1997-07-01

1 ОБЛАСТЬ ПРИМЕНЕНИЯ

Настоящий стандарт распространяется на сжиженные углеводородные газы и широкую фракцию легких углеводородов, содержащие углеводороды С2 - C6, и устанавливает метод определения манометрического давления насыщенных паров.

Допускается при положительных температурах определять давление насыщенных паров сжиженных газов по приложению А.

2 НОРМАТИВНЫЕ ССЫЛКИ

В настоящем стандарте использованы ссылки на следующие стандарты:

ГОСТ 2405-88 Манометры, вакуумметры, мановакуумметры, напоромеры, тягомеры и тягонапоромеры

ГОСТ 14921-78 Газы углеводородные сжиженные. Метод отбора проб

3 АППАРАТУРА, ПРИБОРЫ И МАТЕРИАЛЫ

Пробоотборники по ГОСТ 14921 или аппарат, указанный в приложении А, прошедшие у изготовителя гидравлические испытания при 7,0 МПа.

Примечание - Пробоотборник и аппарат перед началом эксплуатации и далее по мере необходимости проверяют на герметичность. Для этого его заполняют газом с давлением 3,5 МПа и при полном погружении в термостат (водяную баню) фиксируют отсутствие утечки газа.

Манометр по ГОСТ 2405 класса точности не более 1,5 с верхним пределом измерения 2,5 МПа, диаметром корпуса 160 мм.

Термометры ртутные стеклянные с пределами градуировки 0 - 100 °С, ценой деления шкалы не более 1 °С и пределами градуировки минус 38 °С - плюс 100 °С, ценой деления шкалы не более 1,5 °С.

Термостат или баня для поддержания температуры с погрешностью не более 1 °С.

Смесь охлаждающая, состоящая из крупнокристаллической поваренной соли и льда или ацетона и твердого диоксида углерода или другие смеси, обеспечивающие охлаждение газа до требуемой температуры (минус 20 и минус 35 °С).

Переходник из нержавеющей стали с резьбой трубной цилиндрической внутренней.

4 ПРОВЕДЕНИЕ ИСПЫТАНИЙ

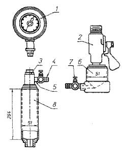
4.1 Отбирают пробу по ГОСТ 14921, а затем через переходник (рисунок 1) к пробоотборнику присоединяют манометр.

При определении давления насыщенных паров при отрицательных температурах пробоотборник с пробой помещают в охлаждающую смесь до требуемой температуры испытания с погрешностью ±2 °С. Термометр погружают в смесь рядом со стенкой пробоотборника. Пробоотборник охлаждают до получения постоянного показания манометра, которое фиксируют как избыточное давление насыщенных паров испытуемого газа при отрицательных температурах.

1 - переходник; 2 - прокладка

Рисунок 1

При определении давления насыщенных паров при положительных температурах пробоотборник с пробой помещают в термостат или баню, нагретую до требуемой температуры испытания + 1 °С, и выдерживают при этой температуре до получения постоянного показания манометра, который фиксирует избыточное давление испытуемого газа при положительных температурах.

Примечание - Если во время испытания обнаружена утечка газа из пробоотборника, испытания прекращают, результаты аннулируют.

4.2 При определении давления насыщенных паров сжиженных газов при положительных температурах допускается использовать метод по приложению А.

Примечание - Допускается применять отечественные аналогичные приборы класса точности не ниже указанных.

5 ОБРАБОТКА РЕЗУЛЬТАТОВ

За результат испытания принимают среднее арифметическое результатов двух определений, расхождения между которыми не должны превышать при отрицательных температурах 0,01 МПа, при положительных температурах 0,07 МПа.

ПРИЛОЖЕНИЕ А

(рекомендуемое)

ОПРЕДЕЛЕНИЕ ДАВЛЕНИЯ ПАРА СЖИЖЕННЫХ НЕФТЯНЫХ ГАЗОВ (ИСО 4256-78)

А.1 Область применения

Настоящий стандарт устанавливает способ определения давления паров сжиженных газов при температурах от 37,8 до 70 °С включительно.

Примечания

1 Информацию по давлениям паров сжиженных газов при температурах от 37,8 до 70 °С используют при выборе конструкции резервуаров для хранения транспортировочных контейнеров и утилизационного оборудования заказчика с целью обеспечения безопасного обращения с такими продуктами.

2 К сжиженным газам относят углеводородные смеси с узким диапазоном кипения, состоящие в основном из пропана и пропилена, бутанов или бутиленов или их смесей, в которых содержание углеводородов с точкой кипения выше 0 °С составляет менее 5 % объема жидкости и манометрическое давление паров при 37,8 °С не более 1550 кПа (1 кПа = 10-2 барам).

А.2 Нормативные ссылки

ГОСТ 14921-78 Газы углеводородные сжиженные. Метод отбора проб

А.3 Сущность метода

А.3.1 Нижнюю камеру аппарата предварительно промывают испытуемым газом, наполняют контрольной пробой газа и присоединяют к верхней камере.

Аппарат погружают в водяную баню с постоянной температурой не ниже 37,8 и не выше 70 °С, периодически встряхивая для достижения постоянной температуры.

А.3.2 Показание манометрического давления в равновесном состоянии после корректировки на погрешность манометра и поправки на стандартное барометрическое давление принимают как «давление паров сжиженных нефтяных газов» при выбранной температуре испытания.

А.4 Аппаратура

А.4.1 Аппарат для измерения давления паров (рисунок А.1), состоящий из верхней и нижней камер, соответствующий требованиям А.4.1.1 - А.4.1.5.

1 - манометр; 2 - проходной клапан; 3 - соединение для манометра; 4 - выпускной клапан; 5 - соединение для выпускного клапана; 6 - нижняя камера; 7 - впускной клапан; 8 - верхняя камера

Рисунок А.1 Схема аппарата для определения давления насыщенных паров сжиженных газов

Примечание - Предупреждение. Для правильного соотношения объемов верхней и нижней камер они должны быть подобраны попарно, и блоки не должны взаимозаменяться без повторной выверки.

А.4.1.1 Верхняя камера

Цилиндрический сосуд, внутренняя поверхность которого с обоих концов слегка закруглена для обеспечения полного стока жидкости. С одного конца сосуда устанавливают переходник с резьбовыми соединениями для манометра и выпускного клапана с внутренним диаметром 6 мм, с другой стороны - резьбовое соединение для проходного клапана.

А.4.1.2 Нижняя камера

Цилиндрический сосуд такого объема, чтобы соотношение объемов верхней и нижней камер составляло 4 ± 0,05 (20 %) или 2 ± 0,03 (331/3 %).

Вблизи дна нижней камеры устанавливают впускной клапан с внутренним диаметром 6 мм. В качестве соединительного переходника используют проходной клапан внутренним диаметром 13 мм.

Примечание - За объем нижней камеры принимают объем ниже перегородки проходного клапана. Объем выше перегородки проходного клапана считают частью верхней камеры.

А.4.1.3 Клапаны и способ соединения верхней и нижней камер

На одном конце нижней камеры должно быть отверстие диаметром 19 мм для проходного клапана внутренним диаметром не менее 13 мм. Другой конец камеры должен быть оборудован впускным клапаном диаметром 6 мм.

Может быть использован любой способ соединения камер при условии удовлетворения требований к объему и герметичности соединения.

А.4.1.4 Гидравлическое испытание

Следует удостовериться, что собранные камеры выдерживают гидравлическое давление в 7000 кПа без необратимой деформации.

А.4.1.5 Проверка на отсутствие утечек

Перед началом эксплуатации аппарата и далее по мере необходимости собранный аппарат следует проверять на отсутствие утечек посредством заполнения его воздухом, природным газом, азотом или другими подобными газами до давления 3500 кПа, а затем полностью погружая его в водяную ванну. Используют аппарат, выдержавший это испытание.

А.4.2 Манометр

Манометр класса точности не более 2, диаметром корпуса 114 - 140 мм, с наружно-резьбовым соединением 6 мм. Диапазон и градуировку манометра определяет давление паров испытуемой пробы, как показано в таблице АЛ.

Таблица А.1 - Спецификации по манометрам

В килопаскалях

Давление паров сжиженных газов

Используемый манометр

Диапазон шкалы

Пронумерованные интервалы, не более

Промежуточные градуировки, не более

655 и ниже

0 - 700

70

3,5

620 - 1730

0 - 2000

175

7

1660 - 3460

0 - 3500

350

35

Используют манометры с погрешностью не более 2 % диапазона шкалы (см. А.9.1).

А.4.3 Водяная баня такого объема, чтобы аппарат для измерения давления паров можно было полностью в нее погрузить, покрыв при этом выпускной клапан, когда узел находится в вертикальном положении.

А.4.4 Допустимые температурные колебания водяной бани во время испытания:

а) температура испытаний 50 °С и ниже ±0,1 °С;

б) температура испытаний выше (50 ± 0,3) °С. Во время испытаний следят за температурой бани по погруженному термометру, который подбирают по А.4.5.

А.4.5 Термометры, соответствующие спецификации в таблице А.2:

- с узким диапазоном - для температур от 35 до 40 °С;

- со средним диапазоном - для температур от 40 до 70 °С;

- с широким диапазоном - для температур от 50 до 80 °С.

А.4.6 Тестер для проверки точности манометров.

A.5 Отбор проб

А.5.1 Отбор проб - по ГОСТ 14921.

Отобранные пробы хранят, если в их отборе имеются технические трудности.

А.5.2 Можно использовать любой способ присоединения аппарата к источнику проб. Для этой цели подходит трубка минимальной длины, диаметром 6 - 7 мм, из материала, который не коррозирует под воздействием продуктов испытаний. Гибкое трубное соединение любого типа облегчает операции по продувке и отбору проб. Трубка должна быть изготовлена из электропроводящего материала или сконструирована со встроенным заземлением.

А.6 Подготовка аппарата

А.6.1 Если аппарат использовали для испытания других продуктов, его разбирают, тщательно прочищают и продувают в потоке сухого воздуха.

А.6.2 Собирают аппарат, при этом впускной клапан нижней камеры должен быть открыт, проходной клапан между двумя камерами открыт, выпускной клапан закрыт, а манометр с надлежащим диапазоном подсоединен.

А.7 Требования безопасности

При работе со сжиженными газами следует тщательно соблюдать следующие меры предосторожности:

а) сжиженные газы могут причинить серьезные холодовые ожоги, поэтому следует соблюдать осторожность, чтобы жидкость не попала на кожу. При работе со сжиженными газами следует надевать защитные очки и перчатки;

б) выпуск сжиженных газов может сопровождаться возникновением разрядов статического электричества, поэтому перед выпуском газов необходимо подсоединить аппарат к заземлению;

в) следует избегать вдыхания паров нефти во время определения паров;

г) при выпуске сжиженных газов вблизи мест, где проводятся операции по заполнению, следует соблюдать осторожность;

д) приведенные меры предосторожности должны быть дополнены примечанием к А. 8.1 и примечаниями 1 и 3 к А.8.2, которые предупреждают о других опасностях, связанных с работой.

Таблица А.2 - Спецификации по термометрам

Наименование показателя

Характеристика термометра

Узкий диапазон

Средний диапазон

Широкий диапазон

Диапазон, °С

34 - 42

40 - 70

50 - 60

Погружение

-

Полное

-

Цена деления

-

0,1 °С

-

Удлиненные линии

-

0,5 °С

-

Цифровое значение через

1 °С (за исключением 38 °С)

1 °С

1 °С

Погрешность шкалы, не более

-

0,1 °С

-

Камера расширения, позволяющая нагрев до

100 °С

-

100 °С

Общая длина термометра, мм

275 ± 5

405

379 ± 5

Диаметр столбика ртути, мм

6 - 7

5,5 - 7,0

7 - 8

Длина ртутного шарика, мм

25 - 35

10 - 15

25 - 35

Диаметр от основания ртутного шарика до отметки на

5 мм столбика

5 мм столбика

6 - 7 мм

Расстояние, мм, от основания ртутного шарика до отметки

34,4 °С - 135 - 150

40 °С - 100

50 °С - 115 - 135

Расстояние, мм, от основания ртутного шарика до отметки

42 °С - 215 - 234

-

80 °С - 324 - 344

А.8 Проведение испытания

А.8.1 Продувка

Собирают аппарат, ставят его вертикально и подсоединяют впускной клапан нижней камеры к источнику проб с помощью соединения для отбора проб (см. А.5.2). Открывают клапан источника проб. Осторожно открывают выпускной клапан на верхней камере, что позволит воздуху или парам, находящимся в аппарате, выходить до тех пор, пока аппарат не будет заполнен жидкостью (см. примечание 2 к А.8.2). Оставив линию для отбора проб подсоединенной, закрывают выпускной и впускной клапаны. Быстро перевертывают аппарат, открывают выпускной клапан и держат аппарат в этом положении, пока вся жидкость не выйдет. Дают возможность выйти остаточным парам, пока давление в аппарате не станет почти атмосферным (см. примечание). Закрывают выпускной клапан.

Примечание - Предупреждение. Во время этой и последующей (А.8.2) операций должны быть предусмотрены надежные средства для вывода паров и жидкостей.

А.8.2 Введение контрольной пробы (см. примечание 1)

Возвращают аппарат, теперь содержащий только пары, в нормальное вертикальное положение и открывают впускной клапан. Как только в аппарате создается примерно такое же давление, как у источника проб, открывают на мгновение выпускной клапан. Если жидкость не появляется, сразу же повторяют этап продувки (см. А.8.1). Если жидкость появляется немедленно, закрывают выпускной и впускной клапаны в этом порядке (см. примечание 2). Закрывают клапан на источнике проб и отсоединяют линию отбора проб. Сразу же закрывают проходной клапан между двумя камерами и открывают впускной клапан, аппарат при этом находится в вертикальном положении. Закрывают впускной клапан, когда жидкость больше не будет выходить, и немедленно открывают проходной клапан (см. примечание 3).

При использовании нижней камеры (331/3 %) (см. А. 4.1.2) продолжают испытание по А.8.3.

При использовании нижней камеры (20 %) (см. А.4.1.2) закрывают проходной клапан и вновь открывают впускной, чтобы произошло выталкивание содержимого нижней камеры. Когда жидкость из нижней камеры больше не будет выходить, закрывают впускной клапан и сразу же открывают проходной клапан.

Примечания

1 Предупреждение. Материалы с высоким коэффициентом жидкостного расширения, такие как пропилен, при введении в аппарат при температурах, близких к их точке кипения, а затем нагреве до температур испытаний, могут расшириться до такой степени, что аппарат полностью заполнится жидкостью, что может грозить разрывом. Следовательно, если для таких проб используют нижнюю камеру (20 %), требуется своевременно осуществить процедуру 40 % слива.

2 Перемещение проб, продувка (см. А.8.1), отбор проб (см. А.8.2) могут быть облегчены посредством охлаждения аппарата порцией материала, который испытывают. Чтобы осуществить это, закрывают впускной клапан и полностью открывают выпускной клапан. Содержащаяся проба испаряется, пока аппарат не охладится до температуры, которая будет намного ниже температуры источника проб. Оставшийся после этой операции материал можно удалить из аппарата через выпускной клапан переворачиванием блока. После этого выпускной клапан закрывают, охлажденный аппарат возвращают в вертикальное положение и контрольную пробу отбирают способом, изложенным ранее.

3 Предупреждение. Перед этой операцией верхняя камера заполнена жидкостью, температура которой обычно ниже температуры испытания. Любой нагрев аппарата вызывает расширение жидкого содержимого верхней камеры, что может привести к разрыву камеры, поэтому необходимо своевременно принять меры по созданию свободного пространства в аппарате.

А.8.3 Определение давления паров

А.8.3.1 Перевертывают аппарат и сильно встряхивают. Возвращают аппарат в вертикальное положение и погружают его в водяную баню, температуру которой поддерживается на уровне температуры испытаний. Аппарат погружают вместе с соединением выпускного клапана, но манометр остается непогруженным. Периодически следует проверять температуру водяной бани.

При температурах испытаний 50 °С и ниже температуру бани поддерживают с погрешностью не более ±0,1 °С, при температурах от 50 до 70 °С включительно - с погрешностью не более ±0,3 °С.

Не допускаются утечки в течение периода испытания. При обнаружении утечки прерывают испытание и аннулируют результат.

А.8.3.2 Через 5 мин удаляют аппарат из водяной бани, переворачивают его, сильно встряхивают, а затем опять помещают в баню. Встряхивают быстро, чтобы избежать охлаждения аппарата и его содержимого. Затем с интервалами не менее 2 мин повторяют эту операцию до достижения равновесия. Перед каждым удалением аппарата из водяной бани слегка стучат по манометру и наблюдают за показанием давления. Если через 20 - 30 мин последовательные наблюдаемые показания манометра держаться на одном и том же уровне, записывают показание давления в качестве нескорректированного давления паров пробы при температуре испытаний.

А.8.3.3 Не отсоединяя манометр от аппарата или не удаляя аппарат из бани, присоединяют контрольный манометр, заранее откалиброванный тестером, к выходу выпускного клапана и открывают выпускной клапан. Через 5 мин сравнивают показания двух манометров, записывают коррекцию, определяемую как погрешность манометра.

А.9 Выражение результатов

А.9.1 По погрешности манометров (А.8.3.3) проводят коррекцию давления паров сжиженных газов.

А.9.2 Переводят скорректированное давление паров, вычисленное по А.9.1, в стандартное барометрическое давление 101,3 кПа по формуле

PV = P'V - (101,3 - Рb),

где PV - давление паров сжиженных газов, кПа, переведенное в стандартное барометрическое давление 101,3 кПа;

P'V - скорректированное давление паров, кПа, вычисленное в А.9.1, кПа;

Рb - наблюдавшееся барометрическое давление, кПа.

А.10 Точность

А.10.1 Повторяемость

Разность двух результатов испытаний, полученных одним оператором, на одном и том же аппарате при постоянных рабочих условиях на идентичном материале испытаний, должна превышать значение 11,0 кПа только в одном случае из двадцати.

А.10.2 Воспроизводимость

Разность двух одиночных и независимых результатов, полученных разными операторами, работающими в разных лабораториях, на идентичном материале испытаний должна превышать значение 31,0 кПа только в одном случае из двадцати.

Примечание - Эти значения точности получены при 45 °С.

А.11 Отчет по испытаниям

Регистрируют давление паров сжиженных газов (кПа) и указывают температуру испытания, а также метод испытания со ссылкой на этот стандарт.

Ключевые слова: газы углеводородные сжиженные, давление насыщенных паров, манометры, температура

содержание

 




Яндекс цитирования



   Copyright © 2007-2026,  www.tehlit.ru.

[ ѓосты, стандарты, нормативы, инструкции, правила, строительные нормы ]