//
ТехЛит.ру
- крупнейшая бесплатная электронная интернет библиотека для "технически умных" людей.
WWW.TEHLIT.RU - ТЕХНИЧЕСКАЯ ЛИТЕРАТУРА

:: Алготрейдинг::


АЛГОТРЕЙДИНГ
шаг за шагом
с нуля по урокам!

Торговые роботы на PYTHON, BackTrader,
Pandas, Pine Script для TradingView. Связка с брокерами, телеграм и легкими приложениями.


ГОСТ Р 51539-99

(МЭК 61242-95)

ГОСУДАРСТВЕННЫЙ СТАНДАРТ РОССИЙСКОЙ ФЕДЕРАЦИИ

УДЛИНИТЕЛИ БЫТОВОГО
И АНАЛОГИЧНОГО НАЗНАЧЕНИЯ
НА КАБЕЛЬНЫХ КАТУШКАХ

Общие требования и методы испытаний

ГОССТАНДАРТ РОССИИ

Москва

Предисловие

1 РАЗРАБОТАН И ВНЕСЕН Техническим комитетом по стандартизации ТК 330 «Электроустановочные изделия»

2 УТВЕРЖДЕН И ВВЕДЕН В ДЕЙСТВИЕ Постановлением Госстандарта России от 29 декабря 1999 г. № 875-ст

3 Настоящий стандарт содержит полный аутентичный текст международного стандарта МЭК 61242-95 (первое издание) «Удлинители на кабельных катушках бытового и аналогичного назначения» с дополнительными требованиями, учитывающими потребности экономики страны

4 ВВЕДЕН ВПЕРВЫЕ

СОДЕРЖАНИЕ

1 Область применения. 3

2 Нормативные ссылки. 3

3 Определения. 4

4 Общие требования. 5

5 Общие требования к испытаниям.. 5

6 Классификация. 6

7 Маркировка. 6

8 Защита от поражения электрическим током.. 8

9 Заземление. 9

10 Контактные зажимы.. 11

11 Гибкие кабели и их соединение. 14

12 Конструкция. 16

13 Комплектующие изделия. 18

14 Устойчивость к старению.. 18

15 Сопротивление проникновению воды.. 18

16 Влагостойкость. 19

17 Сопротивление и электрическая прочность изоляции. 19

18 Нормальная работа. 20

19 Превышение температуры при нормальной работе. 21

20 Превышение температуры в условиях перегрузки. 23

21 Механическая прочность. 25

22 Нагревостойкость. 26

23 Винты, токоведущие части и соединения. 27

24 Пути утечки тока, воздушные зазоры и расстояния через заливочную массу. 29

25 Теплостойкость, огнестойкость и устойчивость к токам поверхностного разряда. 30

26 Коррозиеустойчивость. 31

Приложение А. Дополнительные требования к удлинителям, устанавливаемые в стандартах и технических условиях на удлинители конкретных типов. 34

Приложение Б. Вопросы, подлежащие согласованию между изготовителем и потребителем.. 36

Приложение В. Библиография. 36

Введение

Настоящий стандарт содержит определения, технические требования и методы испытаний удлинителей бытового и аналогичного назначения на кабельных катушках (далее - удлинители), эксплуатируемых неквалифицированным персоналом.

Стандарт распространяется на удлинители переменного тока с несъемным гибким кабелем, предназначенные для обеспечения присоединения электрических приемников к однофазным или трехфазным электрическим сетям и предназначены для применения в помещениях или вне их.

В Европейском экономическом сообществе на удлинители действует европейский стандарт EN 61242 (1997). Наиболее существенные отличия вышеуказанного европейского стандарта от международного стандарта МЭК 61242 определены по следующим разделам.

Область применения

Стандарт EN 61242 не распространяется на удлинители, встроенные в оборудование;

Общие требования к испытаниям

Пункт 5.2. По стандарту EN 61242 в соответствии с 20.2 для испытаний требуется три дополнительных образца.

Классификация

В приложении приведены особые национальные условия.

Маркировка

Пункт 7.1. Введено предупреждение о недопустимости превышения максимально допустимой нагрузки.

В приложении приведены особые национальные условия.

Контактные зажимы

Пункт 10.8. Указаны стандарты HD21 и HD 22 на присоединяемые проводники

Гибкие кабели и их соединение

Пункты 11.1 и 11.4. Указаны стандарты HD 21 и 22 на гибкие кабели для удлинителей и методы их испытаний

Конструкция

Пункты 12.1, 12.2, 12.11, 12.12, 12.14 отличаются ссылками на стандарты HD 21 и 22 на наибольшие и наименьшие размеры кабелей, ограничениями к прерывателям, введением натуральных эластомеров и приведением особых национальных условий в приложениях.

Влагостойкость

В шестом абзаце отличие во времени пребывания образцов во влагокамере при испытаниях.

Превышение температуры при нормальной работе

Пункт 19.2. Введено ограничение температуры окружающей среды при испытаниях.

Превышение температуры в условиях перегрузки

Пункт 20.2. Введены ограничения на испытания удлинителей.

ГОСТ Р 51539-99

(МЭК 61242-95)

ГОСУДАРСТВЕННЫЙ СТАНДАРТ РОССИЙСКОЙ ФЕДЕРАЦИИ

УДЛИНИТЕЛИ БЫТОВОГО И АНАЛОГИЧНОГО НАЗНАЧЕНИЯ
НА КАБЕЛЬНЫХ КАТУШКАХ

Общие требования и методы испытаний

Cable reels for household and similar purposes.
General requirements and test methods

Дата введения 2001-01-01

1 Область применения

Настоящий стандарт распространяется на удлинители на кабельных катушках переменного тока с несъемным гибким кабелем (далее - удлинители), предназначенные для обеспечения присоединения электрических приемников к однофазным электрическим сетям с номинальным напряжением св. 50 В, но не более 250 В и с напряжением св. 50 В, но не более 440 В для всех других удлинителей, и номинальными токами не более 16 А.

Удлинители предназначены для бытового и аналогичного применения в помещениях или вне их при температуре окружающей среды до 25 °С с допустимым временным увеличением до 35 °С. В местах с особыми условиями среды, например во взрывоопасных газовых средах, используют удлинители специальной конструкции.

Примечание - Настоящий стандарт не распространяется на удлинители со съемным гибким кабелем.

Требования данного стандарта являются обязательными.

Дополнения, учитывающие потребности экономики страны, в тексте стандарта и приложении А выделены полужирным шрифтом.

2 Нормативные ссылки

В настоящем стандарте используют ссылки на следующие стандарты:

ГОСТ 8724-81 Основные нормы взаимозаменяемости. Резьба метрическая. Диаметры и шаги

ГОСТ 14254-96 (МЭК 529-89) Степени защиты, обеспечиваемые оболочками (код IP)

ГОСТ 18620-86 Изделия электротехнические. Маркировка

ГОСТ 27473-87 (МЭК 112-79) Материалы электроизоляционные твердые. Метод определения сравнительного и контрольного индексов трекингостойкости во влажной среде

ГОСТ 27483-87 (МЭК 695-2-1-80) Испытания на пожароопасность. Методы испытаний. Испытания нагретой проволокой

ГОСТ 28312-89 (МЭК 417-73) Аппаратура радиоэлектронная профессиональная. Условные графические обозначения

ГОСТ 30331.1-95 (МЭК 364-1-72)/ГОСТ Р 50571.1-93 (МЭК 364-1-72) Электроустановки зданий. Основные положения

ГОСТ 30331.5-95 (МЭК 364-4-43-77)/ГОСТ Р 50571.5-94 (МЭК 364-4-43-77) Электроустановки зданий. Часть 4. Требования по обеспечению безопасности. Защита от понижения напряжения

ГОСТ 30331.8-95 (МЭК 364-4-47-81)/ГОСТ Р 50571.8-94 (МЭК 364-4-47-81) Электроустановки зданий. Часть 4. Требования по обеспечению безопасности. Общие требования по применению мер защиты для обеспечения безопасности. Требования по применению мер защиты от поражения электрическим током

ГОСТ Р МЭК 245-1-97 Кабели с резиновой изоляцией на номинальное напряжение до 450/750 В включительно. Общие требования

ГОСТ Р МЭК 335-1-94 Безопасность бытовых и аналогичных электрических приборов. Общие требования и методы испытаний

ГОСТ Р 50462-92 (МЭК 446-89) Идентификация проводников по цветам или цифровым обозначениям

ГОСТ Р МЭК 60227-1-99 Кабели с поливинилхлоридной изоляцией на номинальное напряжение до 450/750 В включительно. Общие требования

3 Определения

В настоящем стандарте применяют следующие термины с соответствующими определениями:

3.1 номинальное напряжение: Напряжение, установленное изготовителем удлинителя.

3.2 номинальный ток: Ток, установленный изготовителем удлинителя.

3.3 удлинитель на кабельной катушке: Устройство, содержащее кабельную катушку для наматывания или сматывания с нее гибкого кабеля с опрессованными вилкой и/или розеткой и допускающее возможность встраивания в катушку переносной одно- или многоместной розетки этого удлинителя, а также других элементов конструкции: термовыключателя, токоограничивающего реле, выключателя защитного отключения, например УЗО-Д и т. п.

3.3.1 переносной удлинитель: Удлинитель, который перемещают с одного места на другое (если его масса не превышает 15 кг).

3.3.2 стационарный удлинитель: Удлинитель, конструкция которого предусматривает приспособления для ее постоянного, в процессе монтажа и эксплуатации, крепления в определенном месте и не предусматривает ее перемещения с одного места на другое (если его масса превышает 15 кг).

3.4 несъемный гибкий кабель: Кабель с опрессованной вилкой (розеткой), который смонтирован на кабельной катушке таким образом, что его замена возможна только с применением инструмента.

3.5 разборная кабельная катушка: Катушка, сконструированная таким образом, что допускает замену гибкого кабеля с опрессованной вилкой (розеткой) с помощью инструмента общего назначения.

3.6 неразборная кабельная катушка: Катушка, сконструированная таким образом, что она составляет комплектную единицу с розеткой и гибким кабелем с опрессованной вилкой, фиксируемые изготовителем таким образом, что после отсоединения кабеля от катушки с помощью инструмента общего назначения удлинитель оказывается непригодным для дальнейшего использования (см. также 12.5).

3.7 доступная часть: Часть или поверхность, к которой можно прикоснуться при испытаниях стандартным испытательным пальцем, изображенным на рисунке 1.

3.8 съемная часть: Часть, которая может быть удалена без помощи инструмента общего назначения.

3.9 расстояние утечки: Кратчайшее расстояние по поверхности изоляционного материала между двумя токопроводящими частями.

3.10 зазор: Кратчайшее расстояние по воздуху между двумя токопроводящими частями (деталями).

3.11 термовыключатель без самовозврата: Устройство, контролирующее температуру гибкого кабеля, частично или полностью намотанного на кабельную катушку, и препятствующее достижению температуры, превышающей допустимую, путем отключения от источника питания.

3.12 ограничитель (расцепитель) тока без самовозврата: Устройство, контролирующее величину электрического тока нагрузки в электрической цепи удлинителя и не предназначенное для регулировки его потребителем. После срабатывания устройства возврат его в исходное положение производят только вручную.

3.13 механизм, свободный от расцепления: Механизм, сконструированный таким образом, что отключение не может быть ни предотвращено, ни задержано возвратным механизмом, и не препятствующий контактам размыкаться или оставаться замкнутыми при избыточных температуре или токе.

3.14 основная изоляция: По ГОСТ Р МЭК 335-1.

3.15 дополнительная изоляция: По ГОСТ Р МЭК 335-1.

3.16 двойная изоляция: По ГОСТ Р МЭК 335-1.

3.17 усиленная изоляция: По ГОСТ Р МЭК 335-1.

3.18 контактный зажим: Соединительное устройство, предназначенное для разборного или неразборного присоединения жил кабеля к элементу электрической цепи и обеспечивающее надежное механическое крепление этих жил, а также достаточно низкое переходное электрическое сопротивление между жилой провода и элементом электрической цепи, к которой он присоединяется.

3.19 вывод: Токопроводящая часть, предназначенная для присоединения электрической цепи к внешним цепям.

3.20 присоединительное устройство: Устройство для электрического соединения одного (или более) проводника(ов), содержащее один (или более) вывод(ов), либо закрепленное на удлинителе, либо составляющее встроенную часть конструкции удлинителя.

3.21 выходное устройство: Изолированное или неизолированное присоединительное устройство, служащее для несъемного присоединения гибкого кабеля или шнура.

4 Общие требования

Удлинители должны иметь такую конструкцию, которая в нормальных условиях эксплуатации обеспечивает их надежную работу и безопасна для обслуживающего персонала и окружающей среды.

Соответствие проверяют проведением всех предписанных испытаний.

5 Общие требования к испытаниям

5.1 Испытания, проводимые в соответствии с настоящим стандартом, являются типовыми.

Для проверки соответствия удлинителей требованиям настоящего стандарта проводят следующие испытания:

- типовые;

- приемо-сдаточные.

Перечень проверок и испытаний приведен в таблице 1a.

Требования к периодичности, объемам испытаний и правилам приемки установлены в приложении А.

Таблица

Наименование проверок и испытаний

Номер раздела настоящего стандарта

1 Типовые испытания

 

1.1 Проверка превышения температуры

20

1.2 Проверка сопротивления и электрической прочности изоляции

17

1.3 Проверка эффективности защитного заземления

17

1.4 Проверка воздушных зазоров и длин путей утечки

24

1.5 Проверка степени защиты

По ГОСТ 14254

2 Приемо-сдаточные испытания

 

2.1 Проверка маркировки

7

2.2 Проверка сопротивления и электрической прочности изоляции

17

5.2 Если нет других указаний, испытания проводят на трех образцах в состоянии поставки. Составные части удлинителей, при отсутствии других указаний, испытывают согласно требованиям соответствующего стандарта.

5.3 Если нет других указаний, испытания проводят в порядке следования пунктов стандарта, при температуре окружающей среды 15 и 35 °С.

Если есть сомнения по результатам испытаний, то испытания проводят при температуре окружающей среды (20±5) °С.

5.4 Если нет других указаний, три образца подвергают всем необходимым испытаниям на соответствие требованиям настоящего стандарта.

Считают, что если один из образцов не выдержал испытаний вследствие ошибок при сборке или изготовлении, которые не характеризуют конструкцию удлинителя, или не выдержал какое-либо условие одного из испытаний, то это испытание, а также все предыдущие испытания, которые могли повлиять на его результат, повторяют на другом комплекте образцов, соответствующем требованиям настоящего стандарта, причем все они должны выдержать повторные испытания.

6 Классификация

Удлинители классифицируют:

6.1 по способу применения:

- переносные,

- стационарные;

6.2 по способу намотки гибкого кабеля:

- наматываемые вручную,

- наматываемые автоматически (электромеханически), т.е. пружиной или электродвигателем;

6.3 по способам соединения гибкого кабеля:

- разборные,

- неразборные;

6.4 по степени защиты от поражения электрическим током:

- с нормальной защитой (например, соответствующей 8.1.1),

- с усиленной защитой (например, соответствующей 8.1.2);

6.5 по степени защиты от неблагоприятного воздействия воды:

- обычные*, не имеющие специальной защиты,

* Термин «обычный» касается только степени защиты от проникновения воды.

- брызгозащищенные, имеющие степень защиты IPX4,

- струезащищенные, имеющие степень защиты IPX5.

Классификация удлинителей по степени защиты от воды и пыли - по ГОСТ 14254;

6.6 по степени защиты гибкого кабеля, намотанного на катушку, от чрезмерных температур:

- со встроенным автоматическим выключателем с тепловым расцепителем и/или ограничителем потребляемого тока,

- со встроенным термовыключателем или ограничителем потребляемого тока без самовозврата,

- без встроенных автоматических выключателей и/или ограничителей потребляемого тока.

7 Маркировка

7.1 На удлинители наносят следующую маркировку:

- символ переменного тока;

- наименование, товарный или отличительный знак изготовителя или ответственного поставщика удлинителей;

- обозначением типа, которое может быть каталожным номером;

- знак степени защиты от проникновения воды, если он выше, чем IP20.

Примечание - Степени защиты по ГОСТ 14254;

- максимальную нагрузку электроприбора, который присоединяют к розетке(ам), дополнительно к напряжению для полностью намотанного (размотанного) кабеля на/с катушку(и) удлинителя.

Примеры маркировки

1500 Вт - 230 В, или символом по 7.2, означающим, что гибкий кабель полностью намотан,

3000 Вт - 230 В, или символом по 7.2, означающим, что гибкий кабель полностью размотан.

Удлинители без защиты от перегрева гибкого кабеля должны дополнительно к маркировке максимально допустимых нагрузок (см. выше) иметь надпись: «Внимание! Превышение максимально допустимой нагрузки на ...... Вт может вызывать возгорание изоляции кабеля».

Удлинители с термовыключателями и/или ограничителями тока без самовозврата снабжают указаниями, поясняющими, как это устройство возвращают в исходное положение

Удлинители могут дополнительно маркироваться допустимым для нормальной работы номинальным током в амперах.

7.2 При обозначениях используют следующие символы:

- амперы....................................................................................................... А

- вольты........................................................................................................ V

- ватты.......................................................................................................... W

- переменный ток........................................................................................ ~

- нейтральный провод................................................................................ N

- заземление.................................................................................................

- кабель полностью намотан на катушку...................................................

- кабель полностью смотан с катушки.......................................................

- брызгозащищенный удлинитель............................................................. IPX4

- струезащищенный удлинитель................................................................ IРХ5

Примечания

1 Следы, образованные инструментом, не считают частью маркировки.

2 Требования к маркировке деталей символами для переменного тока и заземления - согласно ГОСТ 28312.

3 Букву X заменяют соответствующей цифрой, которая не превышает 2 для настоящего стандарта.

7.3 В разборных удлинителях маркируют:

- контактные зажимы, предназначенные исключительно для нейтрального провода, - буквой N;

- заземляющий контактный зажим - соответствующим символом;

- обозначение сечения жилы, типа и длины гибкого кабеля - на видном месте.

Маркировка должна быть так расположена, чтобы быть четко различимой при замене гибкого кабеля, и она не должна быть размещена на винтах, сменных шайбах или других частях, которые легко могут быть удалены при соединении проводников.

7.4 Обозначения, указанные в 7.1, должны быть отчетливо видны на лицевой стороне удлинителя, когда его используют как при нормальной эксплуатации, а обозначения или другие пояснения по 7.2 должны быть на официальном языке (языках) той страны, в которую будут поставляться удлинители.

Символы степени защиты от проникновения воды и обозначение максимальной нагрузки, если это необходимо, должны наноситься на наружной части корпуса удлинителя и быть четко различимы, что может быть достигнуто использованием шрифта большого размера, контрастных цветов, подчеркивания, расположением на отдельных строках и т. п.

7.5 Если используют маркировочные пластины или ярлыки, то их надежно закрепляют. После проведения всех испытаний согласно требованиям настоящего стандарта маркировка на пластинах и ярлыках должна быть четкой и хорошо читаемой, и у них не должны деформироваться углы или края.

Соответствие требованиям 7.1 - 7.5 проверяют внешним осмотром и испытанием согласно 7.6.

7.6 Маркировка должна быть долговечной и хорошо читаемой невооруженным глазом.

Маркировку проверяют внешним осмотром и следующим испытанием.

Маркировку протирают вручную в течение 15 с сначала хлопчатобумажной тканью, смоченной водой, а затем в течение 15 с - тканью, смоченной бензином.

Примечания

1 Маркировку, нанесенную оттиском, отливкой, вдавливанием или гравировкой, испытанию не подвергают.

2 Рекомендуется, чтобы используемый бензин был на основе гексана в качестве растворителя с максимальным содержанием ароматического карбида 0,1 % от общего объема, каури-бутанола 29 % с начальной температурой кипения ~ 65 °С, температурой полного испарения 69 °С и плотностью ~ 0.68 г/см3.

Дополнительно проводят испытание по ГОСТ 18620.

8 Защита от поражения электрическим током

8.1 Конструкция удлинителей, установленных как в нормальных условиях эксплуатации, должна обеспечивать недоступность прикосновения к их токоведущим частям, при этом детали, снимаемые без помощи инструмента, должны быть сняты.

Проверку проводят внешним осмотром и, в случае необходимости, следующим испытанием (см. 8.1.1).

Для удлинителей с усиленной защитой от поражения электрическим током используют испытание согласно требованиям 8.1.2.

Эти испытания проводят сразу после того, как удлинитель в течение 1 ч нагружали током, соответствующим максимальной нагрузке на удлинитель при полностью намотанном гибком кабеле на катушку и температуре окружающей среды (20±5) °С.

8.1.1 Стандартный испытательный палец, показанный на рисунке 1, прикладывают во всевозможных направлениях с усилием (10±1) Н. Для регистрации контакта с соответствующей частью удлинителя используют электрический индикатор с минимальным напряжением 40 В и максимальным напряжением 50 В.

Удлинители, имеющие детали из эластичного или термопластичного материала, подвергают дополнительному испытанию, которое проводят при температуре окружающей среды (35±2) °С. Образцы должны иметь эту же температуру.

При дополнительном испытании к корпусу удлинителя в течение 1 мин прикладывают усилие, равное 75 Н, прилагаемое через наконечник прямого неразъемного испытательного пальца, имеющего размеры, идентичные указанным на рисунке 1.

Палец, соединенный с индикатором, прикладывают во всех точках, где прогиб изоляционного материала может вызвать нарушение электробезопасности удлинителя.

Во время этого испытания детали удлинителя не должны деформироваться настолько, чтобы изменить и нарушить их электробезопасность.

8.1.2 Для удлинителей с усиленной защитой от поражения электрическим током испытания на безопасность защитных крышек (кожухов) с вентиляционными и другими отверстиями, расположенными таким образом, чтобы исключить контакт с токоведущей деталью удлинителя любого подвесного постороннего предмета при его попадании внутрь корпуса удлинителя, проводят при помощи металлического подпружиненного штыря согласно рисунку 2, который вставляют в отверстие с усилием (1±0,1) Н. Наконечник штыря не должен иметь заусенцев и должен быть расположен под прямым углом относительно длины детали.

Для обнаружения контакта служит электрический индикатор.

Во время испытания наконечник штыря не должен проникать в защитную оболочку или, в случае проникания, не должен касаться неизолированных токоведущих частей.

8.2 Детали удлинителя, обеспечивающие защиту от поражения электрическим током, имеющие соответствующую механическую прочность и выдерживающие нагрузки, возникающие в процессе монтажа и эксплуатации, должны быть надежно закреплены винтами или другими аналогичными по надежности способами. При этом указанные детали не должны ослабевать в процессе нормальной эксплуатации.

Проверку проводят внешним осмотром и испытаниями согласно разделам 21 и 23.

9 Заземление

9.1 У доступных прикосновению металлических частей разборных удлинителей, которые могут оказаться под напряжением в случае выхода из строя основной изоляции, необходимо, чтобы:

- заземляющий контактный зажим соответствовал требованиям раздела 10;

- зажим заземления был расположен вблизи зажимов питающих проводов кабельного ввода;

- внутренние соединения между зажимом заземления и доступными прикосновению металлическими частями были отделены и независимы от контактных зажимов питающих проводов ввода кабеля с целью предотвращения ослабления зажимов в процессе замены кабеля;

- тип розетки не допускал подключения вилок электроприборов класса 0.

9.2 Крепежные детали заземляющего контактного зажима должны изготовляться из таких материалов, которые обеспечивали бы антикоррозийное соединение между этими деталями и медной или из любого другого металла жилой заземляющего проводника, который соприкасается с этими деталями.

Зажим заземляющего проводника должен быть из латуни или другого металла, не менее стойкого к коррозии, если только он не является частью металлического основания или защитной оболочки. В этом случае винт или гайка должны изготовляться из латуни или листовой стали в соответствии с разделом 26 или из другого металла, не менее стойкого к коррозии.

9.3 Если корпус контактного зажима заземления является частью основания или защитного кожуха из алюминиевого сплава или алюминия, то необходимо принять меры, чтобы избежать коррозии из-за контакта между медными жилами кабеля и основанием или кожухом из алюминия или его сплавов.

Винты и гайки из стали с коррозиеустойчивым покрытием, выдерживающие испытания по разделу 26, соответствуют изготовленным из металла, не менее стойкого к коррозии, чем латунь.

9.4 Доступные прикосновению металлические части, которые могут оказаться под напряжением в результате нарушения изоляции, должны быть постоянно и надежно соединены с заземляющим контактным зажимом.

В связи с этим требованием винты и аналогичные им способы крепления для фиксации основания или кожуха не считают частями, которые могут оказаться под напряжением в случае нарушения изоляции.

9.5 Конструкция заземления должна гарантировать безопасность удлинителя при нормальной эксплуатации в случае ослабления крепления, некачественного монтажа кожухов, крышек и им подобных деталей.

Проверку требований 9.1-9.5 проводят внешним осмотром.

9.6 Заземляющие контактные зажимы, предназначенные для соединения гибких наружных проводников, должны иметь конструкцию, обеспечивающую достаточное пространство на случай провисания проводников цепи заземления вследствие повреждения фиксирующего устройства, что приведет к натяжению проводника, но только после натяжения токоведущих проводников кабеля. В случае избыточного усилия проводник заземления должен обрываться после обрыва токоведущих проводников.

Проверку проводят следующим испытанием.

Гибкий кабель присоединяют к катушке удлинителя таким образом, чтобы токоведущие проводники подводились от фиксирующего устройства к соответствующим зажимам кратчайшим путем.

После того как они были правильно соединены, зажим проводника заземления подводят к его выводу и обрезают с припуском 8 мм по сравнению с необходимым для его правильного соединения.

Проводник заземления соединяют с его контактным зажимом с помощью защитной петли, образованной проводником за счет припуска 8 мм на его длину. После чего крышку кабельной катушки снова монтируют и фиксируют, как при нормальной эксплуатации.

9.7 Внутреннее соединение между заземляющим контактным зажимом удлинителя и доступными прикосновению металлическими частями, которые к нему присоединяют, включая соединительные контакты и им подобные, должны иметь малое электрическое сопротивление.

Проверку проводят следующим испытанием, которое выполняют после испытания по разделу 21.

Ток от источника переменного тока с напряжением холостого хода не более 12 В, равный 1,5-кратному значению номинального тока или 25 А, что является большим значением, пропускают поочередно через заземляющий контактный зажим и каждую доступную для прикосновения металлическую часть. При этом измеряют падение напряжения между заземляющим контактным зажимом и доступной металлической частью, а сопротивление рассчитывают по величине тона и падения напряжения.

Электрическое сопротивление должно быть не более 0,05 Ом.

Примечания

1 Сопротивление гибкого кабеля или шнура не учитывают при измерении сопротивления.

2 Следует обратить внимание, чтобы переходное сопротивление между наконечником измерительного прибора и проверяемой металлической частью не оказывало влияние на результаты испытаний.

9.8 В удлинителях, имеющих доступные прикосновению металлические части, изолированные от токоведущих частей только основной изоляцией, соединения между заземляющим зажимом и этими частями должны иметь минимальное сопротивление.

Проверку проводят следующим испытанием, которое выполняют после испытаний по разделу 21.

Ток от источника переменного тока с напряжением холостого хода не более 12 В, равный 1,5-кратному значению номинального тока или 25 А, что является большим значением, пропускают через цепь заземления.

Падение напряжения рассчитывают аналогично указанному выше.

Электрическое сопротивление должно быть не более 0,1 Ом.

9.9 Встроенные скользящие контакты цепи заземления, например контактные кольца со скользящими контактами в катушках для кабеля, должны соответствовать следующим требованиям.

9.9.1 Скользящие контакты между заземляющим контактным зажимом на входе гибкого кабеля и заземляющим контактным зажимом гибкого кабеля или розетки должны быть продублированы.

Одним из контактов должно быть кольцо со скользящими контактами или аналогичное устройство, а другим может быть шарикоподшипник, подшипник скольжения или им подобные устройства катушки для кабеля (далее - катушки), если они изготовлены из металла.

9.9.2 Скользящие контакты электрической цепи заземления между заземляющим контактным зажимом гибкого кабеля и доступными прикосновению металлическими частями катушки удлинителя должны быть продублированы, причем каждый из них может быть шарикоподшипником, подшипником скольжения и т. п., если они изготовлены из металла.

10 Контактные зажимы

10.1 В неразборных удлинителях все соединения должны выполняться пайкой, сваркой, обжатием или другим эквивалентным неразъемным соединением.

Соединения, выполненные скручиванием пропаянного гибкого кабеля, допустимы в случае, когда пропаянная часть находится вне участка обжатия в контактном зажиме.

Проверку проводят внешним осмотром.

10.2 Разборные удлинители должны иметь винтовые контактные зажимы для присоединения гибкого кабеля с медной жилой.

Детали для крепления проводов в контактных зажимах не должны использоваться для крепления других частей, хотя они могут служить для закрепления самих контактных зажимов и препятствовать их смещению.

Внутренние соединения должны быть независимы от присоединения внешнего гибкого кабеля.

Проверку проводят внешним осмотром.

10.3 Винтовые зажимы для внешнего гибкого кабеля

10.3.1 Катушки должны иметь контактные зажимы, позволяющие присоединять провода с медными жилами сечений, указанных в таблице 1.

Проверку проводят внешним осмотром, измерениями и присоединением проводов наибольшего сечения (с наконечниками без изоляции), предусмотренного для данного размера контактного зажима.

Наконечник провода с удаленной изоляцией должен обеспечивать введение в отверстие зажима без значительных усилий.

10.3.2 Винтовые зажимы должны позволять присоединение проводов без специальной подготовки.

Проверку проводят внешним осмотром.

Таблица 1 - Номинальное сечение проводов

Вид удлинителя

Номинальный ток, А

Жесткий одно- или многопроволочный медный провод

Гибкий медный провод

Номинальное сечение провода, мм2

Наибольший диаметр провода, мм

Номинальное сечение провода, мм2

Наибольший диаметр провода, мм

Переносные удлинители

До 16 включ.

-

-

От 0,75

до 1,50 включ.

1,8

Стационарные удлинители

До 10 включ.

От 1,0

до 2,5 включ.

2,2

Св. 10

до 16 включ.

От 1,5

до 2´2,5 включ.

От 1,00

до 1,50 включ.

Примечание - Термин «специальная подготовка» означает пропаивание жилы провода, использование кабельных наконечников и т. д., но не изменение формы проводника перед введением его в контактный зажим или скручивание гибкого провода для укрепления его концов.

10.3.3 Винтовые контактные зажимы должны иметь соответствующую механическую прочность.

Винты и гайки контактных зажимов должны иметь метрическую резьбу по ГОСТ 8724.

Проверку проводят внешним осмотром.

10.3.4 Винтовые контактные зажимы должны быть устойчивыми к коррозии.

Контактные зажимы, выполненные из меди или медных сплавов, соответствующих 23.5, отвечают настоящему требованию.

Контактные зажимы, изготовленные из плакированной стали, подвергают испытанию на коррозиеустойчивость по разделу 26.

Примечание - Контактные зажимы, изготовленные из других материалов, подвергают испытаниям на устойчивость к коррозии, которые находятся на рассмотрении.

10.3.5 Винтовые контактные зажимы должны быть установлены или размещены так, чтобы при затянутых или ослабленных винтах или гайках контактные зажимы не выпадали. Их фиксируют так, чтобы при затягивании или ослаблении винтов зажим не ослаблялся, подсоединенные проводники не повреждались и при этом выполнялись требования по путям утечки тока и воздушным зазорам, указанные в разделе 24.

Проверку проводят визуальным осмотром после проведения испытания по 23.1.

Примечания

1 Выводы можно предохранить от ослабления путем:

- фиксации двумя винтами;

- путем фиксации одним утопленным винтом так, чтобы не было значительного люфта, или другими подходящими средствами.

2 Покрытие герметизирующим компаундом без других мер фиксации не является достаточным. Однако самоотверждаемые смолы могут быть использованы с целью закрепления выводов, проводники в которых не подвергают скручиванию при нормальном использовании.

10.3.6 Конструкция винтовых контактных зажимов должна исключать повреждение провода(дов) при закреплении его(их) в зажиме.

Проверку проводят внешним осмотром проводов после того, как к контактным зажимам присоединят жесткий однопроволочный или скрученный многопроволочный провод вначале наименьшего, а затем наибольшего сечений из указанных в таблице 1.

Винты контактных зажимов затягивают крутящим моментом, указанных в таблице 2.

Таблица 2 - Величина крутящего момента для испытания винтов и гаек

Номинальный диаметр резьбы, мм

Крутящий момент, Н·м

I

II

До 2,8 включ.

0,20

0,40

Св. 2,8 до 3,0 включ.

0,25

0,50

Св. 3,0 до 3,2 включ.

0,30

0,60

Св. 3, 2 до 3,6 включ.

0,40

0,80

Св. 3, 6 до 4,1 включ.

0,70

1,20

Св. 4, 1 до 4,7 включ.

0,80

1,80

Св. 4, 7 до 5,3 включ.

0,80

2,00

Графу I применяют для винтов без головки. В случае, если головка винта при завинчивании не выходит из резьбового отверстия, и для винтов других типов, которые не могут быть завинчены и затянуты отверткой с лезвием шире, чем размер шлиц винта, также применяют графу I.

Графу II применяют для винтов с головкой со шлицем, которые завинчивают и затягивают отверткой, а также для винтов и гаек, которые завинчивают и затягивают другими инструментами, отличными от отвертки.

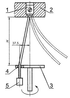
Каждый проводник подвергают испытанию на устройстве, приведенном на рисунке 3.

Конец проводника пропускают через подходящего размера втулку в плите, расположенной на высоте Н, как указано в таблице 3. Втулка расположена в горизонтальной плоскости так, что относительно осевой линии, проходящей через центр зажима, она концентрично описывает круг диаметром 75 мм в горизонтальной плоскости. Плиту вращают с частотой (10±2) об/мин.

Расстояние между отверстием зажима и верхней поверхностью втулки должно быть ±15 мм. Втулка может быть смазана для предотвращения повреждения изоляции проводника.

Груз массой, указанной в таблице 3, подвешивают на конце проводника. Продолжительность испытания - 15 мин.

При испытании проводник не должен выскальзывать из зажима, нарушать изоляцию рядом с зажимом, а также повреждаться таким образом, чтобы он стал непригодным для дальнейшего использования.

Таблица 3 - Диаметр отверстия втулки, высота и масса груза для проводника в устройстве для проверки повреждения проводников

Сечение проводника, мм2

Диаметр отверстия втулки*, мм

Высота Н, мм

±15

Масса груза, кг

0,75; 1,00; 1,50

6,5

260

0,4

2,50

9,5

280

0,7

* Если диаметр отверстия втулки не достаточен, чтобы разместить проводник без сращивания, может быть использована втулка последующего большего размера.

Контактные зажимы не следует подвергать дополнительному кручению и натяжению.

Во время испытаний однопроволочный провод или отдельные проволоки многопроволочного провода не должны выходить из-под зажима или обламываться в нем.

10.3.7 Конструкция контактных зажимов винтового типа должна обеспечивать закрепление проводника между металлическими поверхностями с достаточным контактным усилием.

Проверку проводят внешним осмотром и следующим испытанием.

К контактным зажимам присоединяют жесткие одно- или многопроволочные провода наименьшего и наибольшего сечений из указанных в таблице 1.

Винты контактных зажимов затягивают крутящим моментом, равным 2/3 от указанных в таблице 2.

Затем каждый провод подвергают натяжению усилием, указанным в таблице 4, плавно, без рывков, в течение 1 мин, вдоль продольной оси провода.

Таблица 4 - Усилие натяжения

Сечение провода, мм2

0,75

1,00

1,50

2,50

Усилие натяжения, Н

30

35

40

50

Примечание - Для испытаний по 10.3.6 и 10.3.7:

a) зажимы испытывают отдельно от удлинителя;

b) безопасность некоторых зажимов обеспечивают изготовители.

Если контактный зажим предназначен для присоединения двух или трех проводов, то провода натягивают поочередно, каждый в отдельности.

Во время испытания жила провода не должна иметь заметных смещений в контактном зажиме.

10.3.8 Контактные зажимы винтового типа должны быть сконструированы и размещены таким образом, чтобы обеспечить невозможность выхода жилы жесткого одно- и многопроволочного провода за пределы зажимов или гаек в затянутом положении.

Проверку проводят следующим испытанием.

К контактным зажимам присоединяют провода наибольшего сечения из указанных в таблице 1.

Контактные зажимы, предназначенные для бифлярных подводов двух или трех проводов, проверяют с допустимым числом проводов. Контактные зажимы комплектуют проводами согласно ГОСТ Р МЭК 227-1 и ГОСТ Р МЭК 245-1.

Перед вводом в зажимное устройство контактного зажима жесткие одно- и многопроволочные провода выпрямляют. Многопроволочные провода можно еще и скрутить для обеспечения их первоначальной формы.

Гибкие провода скручивают в одном направлении так, чтобы был примерно одинаковый угол скручивания проволочек на длине около 20 мм.

Жилу провода вставляют в зажимное устройство контактного зажима на минимальную из рекомендуемых глубину или, если таких рекомендаций нет, до тех пор, пока он не упрется в стенку контактного зажима, причем его положение должно быть наиболее благоприятным для выпадания.

Затем зажимной винт затягивают крутящим моментом, равным 2/3 от указанного в таблице 2.

Для гибких проводов испытание проводят также с другим проводом, который закручивают, как указано выше, но в обратном направлении.

После испытаний провод не должен выпадать из контактного зажима.

10.3.9 Зажимные винты или гайки заземляющих винтовых контактных зажимов должны быть защищены от случайного ослабления, в том числе исключать возможность самопроизвольного ослабления без помощи инструмента.

Проверку проводят вручную.

Примечание - Конструкции контактных зажимов, приведенные в МЭК 60999 [1], обеспечивают достаточно упругий и надежный контакт, соответствующий настоящему требованию.

11 Гибкие кабели и их соединение

11.1 Удлинители должны быть снабжены гибким кабелем, соответствующим требованиям ГОСТ Р МЭК 60227-1 и ГОСТ Р МЭК 245-1, который по своим параметрам не уступает кабелю с оболочкой из резины (тип 245 IEC 53) или кабелю с оболочкой из поливинилхлорида (тип 60227 IEC 52).

11.1.1 Минимальные сечения жилы кабеля должны согласовываться с наименьшим номинальным значением токовой нагрузки вилки или любого защитного устройства, присоединенного к удлинителю, в частности:

нагрузка до 6 А включ. …. не менее 0,75 мм2

       "         10 А         "       ….        "        1,00 мм2

     "         16 А         "       ….        "        1,50 мм2

Другие размеры кабелей должны быть интерполированы.

11.1.2 Гибкие кабели должны иметь столько же проводников, сколько полюсов у вилки и розетки, при этом контакты заземления, при их наличии, рассматривают как один полюс, независимо от их числа.

Провод, соединенный с заземляющим контактом, должен быть идентифицирован комбинацией зеленого и желтого цветов согласно ГОСТ Р 50462.

11.1.3 Максимальная длина гибкого кабеля на катушке должна быть согласно таблице 5.

Таблица 5 - Максимальная длина гибкого кабеля

Сечение кабеля, мм2

0,75

1,00

1,50

2,50

Длина, м

30

40

60

100

11.1.4 Конец скрученной жилы проводника не допускается ужесточать мягкой пайкой в том месте, где он подвергается контактному давлению, если конструкция контактного зажима не допускает риска плохого контакта, обусловленного мягкой пайкой.

Проверку требований 11.1 проводят внешним осмотром, путем измерений и проверкой кабелей на соответствие требованиям ГОСТ Р МЭК 60227-1 и ГОСТ Р МЭК 245-1.

11.2 Удлинители должны обеспечиваться анкерным креплением с защитным покрытием от истирания так, что проводники в креплении были свободны от натяжения, включая скручивание, и соединены с контактными зажимами.

Кабельное анкерное крепление должно быть из изоляционного материала или обеспечено дублирующей изоляцией, нанесенной на металлические части анкерного крепления, и иметь такую конструкцию, чтобы гибкий кабель не соприкасался с зажимными винтами анкерного крепления (при их наличии) в случае, если эти винты доступны или электрически соединены с доступными металлическими частями.

Уплотнения кабельных вводов не должны использоваться вместо анкерного крепления кабеля.

Аналогичные методы, такие как использование узла из гибкого кабеля или шнура, не применяют.

Соответствие с этим требованием проверяют осмотром.

11.3 Для разборных удлинителей:

- конструктивное исполнение удлинителя должно обеспечивать облегченное натяжение кабеля и предотвращать его скручивание при наматывании на катушку;

- анкерное крепление кабеля или его части должны быть встроены или прикреплены к одной из частей катушки;

- анкерное крепление кабеля должно быть пригодным для гибких кабелей различных типов, которые могут применяться, и изоляционные покрытия, при их наличии, должны надежно соединяться с металлическими деталями;

- металлические детали анкерного крепления должны быть изолированы от цепи заземления;

- конструкция анкерного крепления должна обеспечивать легкую замену гибкого кабеля;

- крепежные (зажимные) винты, при их наличии, которые используют при замене гибкого кабеля, не должны применяться для крепления любых других деталей (компонентов).

Соответствие проверяют визуальным осмотром и испытанием по 11.4.

11.4 Анкерное крепление удлинителей подвергают испытанию на натяжение, за которым следует испытание крутящим моментом.

Неразборные удлинители испытывают в состоянии поставки с проводниками кабеля, обрезанными около выходных устройств.

Для разборных удлинителей проводники кабеля вводят в зажимы, причем контактный винт затягивают с усилием, достаточным для прочного обжима жилы кабеля без ее повреждения.

Анкерное крепление кабеля применяют как при нормальном использовании, причем зажимные винты затягивают моментом, равным 2/3 от указанных в 10.3.6.

После повторной разборки удлинителя его части должны плотно прилегать друг к другу. Не допускается возможность вставить гибкий кабель в удлинитель на любую значительную длину.

Затем гибкий кабель подвергают 100-кратному натяжению с усилием, указанным ниже. Усилие натяжения прилагают в наиболее неблагоприятном направлении и в непосредственной близости от анкерного крепления кабеля:

- 60 Н для удлинителей с сечением жилы кабеля до и 1,0 мм2 включ.;

- 80 Н для удлинителей с сечением жилы кабеля св. 1,0 мм2. Усилие натяжения прикладывают без рывков, каждое в течение 1 с. Затем кабель испытывают моментом 0,25 Н·м в течение 1 мин.

Во время испытаний гибкий кабель не должен иметь повреждений.

После испытаний гибкий кабель не должен смещаться более чем на 2 мм, и концы проводников не должны заметно смещаться в зажимах или у выходных устройств.

11.5 Удлинители должны иметь такую конструкцию, чтобы отверстие для прохода кабеля не повреждало бы гибкий кабель.

Соответствие проверяют визуальным осмотром и следующим испытанием.

Кабель подвергают 25-кратному натяжению с усилием 60 Н. Усилие натяжения прилагают в самом неблагоприятном направлении без рывка, каждый раз в течение 1 с. После испытаний гибкий кабель не должен иметь повреждений.

11.6 Номинальный ток розетки(ок) удлинителя должен быть не выше аналогичной величины для вилки.

Соответствие проверяют визуальным осмотром.

12 Конструкция

12.1 Удлинители должны иметь такую конструкцию, чтобы поверхность катушки, на которую наматывают кабель, имела диаметр не менее 8-кратного максимального диаметра гибкого кабеля с круглыми жилами или средней величины из суммы размеров максимальной ширины и высоты плоского гибкого кабеля, как указано в ГОСТ Р МЭК 60227-1 или ГОСТ Р МЭК 245-1, в зависимости от того, какой из них применим.

Проверку проводят измерением.

12.2 Доступные металлические части удлинителей, изолированные от токоведущих частей только основной изоляцией, должны быть надежно присоединены к цепи заземления или контактным зажимам заземления (см. 9.4).

Примечание - Вследствие применения розеток без заземления, удлинители этого типа не разрешены в Дании, Норвегии, Португалии, Швеции.

Доступные металлические части других удлинителей должны быть отделены от токоведущих частей двойной или усиленной изоляцией. Такие удлинители могут быть обеспечены средствами поддержания непрерывности цепей защиты, при условии, что такие средства находятся внутри удлинителя и изолированы от доступных поверхностей двойной или усиленной изоляцией.

Соответствие проверяют визуальным осмотром и испытанием согласно разделам 17 и 24.

12.3 Разборные удлинители должны быть сконструированы таким образом, чтобы:

- обеспечивался легкий ввод жил проводников в контактные зажимы;

- обеспечивалась правильная по полярности установка жил проводников в контактные зажимы, при этом изоляция проводника не должна соприкасаться с неизолированными токоведущими частями другой полярности;

- обеспечивалось наматывание гибкого кабеля на гладкую поверхность без шероховатостей, заусенцев и т. п., которые могли бы повредить изоляцию гибкого кабеля;

- внутренняя проводка в удлинителе оставалась надежно зафиксированной во время присоединения гибкого кабеля к стационарной электропроводке;

- устройство контактных зажимов обеспечивало гибкому кабелю легкий ввод в зажимы и присоединение без риска повреждения изоляции кабеля.

Соответствие проверяют визуальным осмотром, путем разъединения и повторного соединения с использованием гибких кабелей, поставляемых с удлинителем.

12.4 Входные отверстия в металле, через которые проходят гибкие кабели, должны быть снабжены втулкой из изоляционного материала.

12.5 Неразборные удлинители должны иметь такую конструкцию, чтобы нельзя было:

- гибкий кабель отделить от катушки без повреждений, делающих ее непригодной для дальнейшего использования, и

- открыть удлинитель вручную или с помощью инструмента общего назначения, например отвертки.

Примечание - Катушку считают непригодной, когда для ее повторной сборки используют части или материалы, отличные от ранее применяемых.

12.6 Гибкие кабели должны быть надежно предохранены от контакта с движущимися частями, которые могут вызвать повреждение кабеля.

12.7 Токопроводящие неизолированные проводники необходимо зафиксировать таким образом, чтобы расстояние между ними и доступными металлическими частями было надежным образом обеспечено соблюдением требований раздела 24.

Соответствие проверяют испытаниями по разделу 21.

12.8 Конструкция удлинителей не должна допускать риска контакта между токоведущими частями и доступными металлическими частями вследствие ослабления крепления внутренней проводки, винтов и т. п.

12.9 Изоляционные прокладки, перегородки и т. п. должны иметь соответствующую механическую прочность и быть надежно закреплены.

12.10 Конструкция удлинителей не должна допускать свободного доступа через их защитные крышки к токоведущим частям, исключая входные отверстия розеток для штырей вилки.

12.11 Термовыключатели и ограничители тока должны:

- быть свободны от расцепления;

- быть несамовозвратного типа;

- иметь конструкцию, препятствующую возвращению в исходное положение без вскрытия крышек выводов;

- иметь конструкцию, препятствующую регулированию заданных величин температуры или тока срабатывания потребителем;

- разъединять:

a) по крайней мере один полюс в двухполюсных (однофазных) удлинителях, который должен быть полюсом фазы поляризованных удлинителей;

b) все полюса, за исключением нейтрали, в других удлинителях.

Плавкие предохранители допускается использовать только в случае, когда невозможно для потребителя заменить их плавкими предохранителями большего номинала по току, чем первоначально установленные. Защитный проводник, при его наличии, не должен быть отключен пользователем.

12.12 Прерыватели не должны самовозвращаться в исходное положение при низкой температуре. Соответствие проверяют следующим испытанием.

Следует вызвать срабатывание прерывателя и удостовериться в том, что он автоматически не возвращается в исходное положение при выдержке при низкой температуре минус (10±2) °С приблизительно в течение 8 ч.

Примечание - В районах с холодным климатом данное испытание следует проводить при температуре минус (25±2) °С.

12.13 Выключатели, если предусмотрены, должны отсоединять все полюса, за исключением случаев, когда они встроены в катушки, использующие розетки с фиксированным положением включения в них вилок, и когда отпадает необходимость отключения нейтрального провода.

Защитный проводник, при его наличии, не должен быть отключен.

12.14 Входные втулки должны быть надежно закреплены и иметь форму, исключающую их повреждение материалом, в который они вставлены. Входные втулки не допускается изготовлять из натурального или синтетического эластомерного материала, например резины.

12.15 Удлинители со встроенными автоматическими выключателями, управляемыми дифференциальным (остаточным) током, должны иметь такую конструкцию, чтобы на входе выключателя оставалось не более 2 м кабеля (см. рисунок 6).

Соответствие требованиям 12.4-12.15 проверяют визуальным осмотром и испытанием вручную, и, кроме этого, для 12.14 - испытанием по разделу 14.

12.16 Срабатывающие от дифференциального (остаточного) тока выключатели в удлинителях должны иметь номинальный ток срабатывания не более 30 мА.

Соответствие проверяют визуальным осмотром.

13 Комплектующие изделия

Комплектующие изделия, включенные или встроенные в удлинители, такие как гибкие кабели, вилка и розетка(и), ограничители тока, автоматы защитного отключения, трансформаторы безопасности, электродвигатели, выключатели, плавкие предохранители, срабатывающие от остаточного тока автоматические выключатели, патроны и присоединительные устройства, должны удовлетворять по безопасности требованиям соответствующих стандартов в такой мере, насколько это целесообразно.

По своим характеристикам комплектующие изделия должны быть пригодны для условий нормального использования удлинителя.

Проверку проводят внешним осмотром.

14 Устойчивость к старению

Конструкция удлинителей и материалы, из которых они изготовлены, должны обеспечивать достаточное сопротивление старению.

Проверку проводят следующим ускоренным испытанием на старение, за которым непосредственно следуют испытания, указанные в разделах 15 и 17.

Удлинители снабжают гибкими кабелями, которые предусмотрены их конструкцией, причем сальники, при их наличии, затягивают крутящим моментом, равным 2/3 от указанных в разделе 21. Удлинитель с намотанным кабелем располагают как при нормальной эксплуатации в термокамере, имеющей естественную циркуляцию воздуха через стенки. Температуру в термокамере (70±2) °С поддерживают в течение 7 сут (168 ч).

После нагрева и необходимой выдержки при этой температуре образцы извлекают из камеры и охлаждают до комнатной температуры.

При визуальном осмотре без разборки удлинитель должен соответствовать требованиям настоящего стандарта в части винтовых соединений.

При проверке образцы не должны иметь трещин, видимых невооруженным глазом, а материал, из которого они изготовлены, не должен быть жирным или липким.

Проверку последнего требования проводят следующим образом.

Указательным пальцем, обмотанным куском сухой грубой ткани, надавливают на образец с силой примерно 5 Н.

На испытуемом образце не должно оставаться следов ткани, а сама ткань не должна прилипать к материалу образца.

После испытания образец не должен иметь повреждений, которые могли бы вызвать несоответствие его настоящему стандарту.

Кроме этого, не допускается подтекание герметизирующего компаунда.

Примечание - Усилие 5 Н может быть получено следующим путем.

Испытуемый образец помещают на чашу весов, а в другую чашу помещают груз, равный массе образца плюс 500 г. Равновесие чашек весов восстанавливают нажатием на испытуемый образец указательным пальцем.

15 Сопротивление проникновению воды

Корпуса удлинителей, отличных от обычных, должны обеспечить степень защиты от проникновения воды в соответствии с классификацией удлинителя. Проверку проводят следующими испытаниями:

- удлинители в брызгозащищенном исполнении, имеющие степень защиты IPX4, должны быть испытаны в соответствии с требованиями ГОСТ 14254;

- удлинители в струезащищенном исполнении, имеющие степень защиты IPX5, также испытывают в соответствии с требованиями ГОСТ 14254.

Непосредственно после испытания удлинители должны выдерживать испытание на электрическую прочность по 17.2, а внешний осмотр должен подтвердить, что вода не проникла в удлинитель в значительном количестве и отсутствует на токопроводящих частях.

Примечание - Это требование пересматривается.

16 Влагостойкость

Удлинители должны быть устойчивы к воздействию влаги, которая может быть при их нормальной эксплуатации.

Проверку проводят следующим испытанием на влагостойкость.

Кабельные вводы и вводные отверстия в корпусе, если таковые имеются, оставляют открытыми.

Проверку проводят в камере влажности при относительной влажности воздуха от 91 до 95 %. Температуру воздуха в камере, в которую помещены испытуемые образцы, поддерживают в пределах t = [(20 - 30)±1] °С.

Перед помещением в камеру влажности испытуемые образцы доводят до температуры от t до (t±4) С.

Образцы выдерживают в камере влажности:

- 48 ч - для обычных удлинителей;

- 168 ч - для удлинителей, отличных от обычных.

Примечания

1 Выдержка образцов в камере должна заканчиваться не менее чем за 4 ч до проверки влагостойкости.

2 Относительная влажность воздуха от 91 и 95 % может быть получена помещением в камеру влажности насыщенного раствора сульфата натрия (Na2SO4) или нитрата калия (KNO3) в воде, имеющего достаточно большую площадь соприкосновения с воздухом.

3 Для достижения нужных условий необходимо обеспечить постоянную циркуляцию воздуха в камере и использовать камеру с термоизоляцией.

После этого испытания удлинители подвергают испытанию на сопротивление и электрическую прочность изоляции согласно 17.1 и 17.2.

После испытания образцы должны соответствовать требованиям настоящего стандарта.

17 Сопротивление и электрическая прочность изоляции

Сопротивление и электрическая прочность изоляции удлинителей должны быть адекватными.

Проверку проводят испытанием, следующим непосредственно после испытаний по разделу 16, в камере влажности или помещении, в котором испытуемые образцы доводят до указанной температуры, для чего на них устанавливают снятые ранее (без применения инструмента) во время других испытаний части. Перед проведением испытаний гибкий кабель удлинителей разматывают.

17.1 Сопротивление изоляции измеряют при напряжении постоянного тока приблизительно 500 В.

Показания снимают спустя 1 мин после приложения напряжения.

Сопротивление изоляции не должно быть менее 5 МОм и должно измеряться последовательно между:

a) всеми полюсами, соединенными вместе, и корпусом;

b) каждым полюсом поочередно и всеми остальными полюсами, соединенными с корпусом;

c) любой металлической оболочкой и металлической фольгой, соприкасающейся с внутренней поверхностью изолирующей прокладки, если таковая имеется. Это испытание проводят, если изоляционная прокладка необходима для обеспечения изоляции;

d) между любой доступной металлической частью анкерного крепления, включая зажимные винты, и заземляющими контактными зажимами или заземляющим контактом, при их наличии, для переносных удлинителей;

e) между любой доступной металлической частью анкерного крепления переносных удлинителей и металлическим штырем того же диаметра, вставленным вместо кабеля.

Под термином «корпус», применяемом в подпунктах а) и b), понимают все доступные металлические части, ручки, кнопки и им подобное, металлическую фольгу, соприкасающуюся с внешней стороной наружных частей из изоляционного материала, крепежные винты оснований, крышки и накладки, наружные сборочные винты и заземляющие зажимы или контакты. Это не относится к металлическим частям, которые недоступны.

Измерения, указанные в подпунктах с), d) и е), не проводят на неразборных удлинителях.

При установке металлической фольги на наружную поверхность или внутреннюю часть изолирующих деталей ее прижимают к отверстиям или углублениям без чрезмерного усилия с помощью прямого испытательного щупа, имеющего те же размеры что и стандартный испытательный палец, показанный на рисунке 1.

17.2 Напряжение синусоидальной формы частотой 50 или 60 Гц прикладывают в течение I мин между частями, указанными в 17.1. Вначале прикладывают менее половины указанного напряжения, а затем его быстро доводят до указанного.

Испытательное напряжение должно быть:

- 1250 В для удлинителей на номинальное напряжение до 130 В включ.;

- 2000 В для удлинителей на номинальное напряжение св. 130 В.

В случае наличия доступных металлических частей, которые не заземлены, испытательное напряжение между ними и токоведущими частями должно быть 4000 В.

В процессе испытания не должно быть пробоев и коротких замыканий.

Примечания

1 Пересмотр значения 4000 В - в стадии рассмотрения.

2 Тлеющие разряды без падения напряжения не учитывают.

3 Трансформатор высокого напряжения, используемый для испытания, должен иметь такую конструкцию, чтобы при короткозамкнутых выходных контактных зажимах и при установленном выходном испытательном напряжении требуемого значения ток был не менее 200 мА.

Реле не должно срабатывать при выходном токе менее 100 мА.

4 Рабочее значение испытательного напряжения должно измеряться с погрешностью ±3 %.

18 Нормальная работа

18.1 Удлинители должны выдерживать без повышенного износа или других неблагоприятных результатов механические, электрические и тепловые перегрузки, возникающие при их нормальной эксплуатации.

Проверку проводят испытаниями по 18.2 - 18.4.

18.2 В удлинителях, имеющих соединения между неподвижными и подвижными частями (например, контактные кольца), каждый фазный и нейтральный проводник и проводник цепи заземления, при его наличии, нагружают испытательным током в соответствии с минимальным сечением, приведенным в 11.1, от источника переменного тока с напряжением холостого хода не более 12 В.

При этом измеряют падение напряжения между элементами, осуществляющими контакт.

Это испытание должно быть проведено непосредственно после того, как удлинитель при номинальной нагрузке достигнет установившегося теплового режима.

Ни в коем случае электрическое сопротивление не должно быть более 0,05 Ом.

Испытание повторяют после того, как удлинитель был испытан согласно требованиям 18.3 и 18.4.

Увеличение сопротивления не должно быть более 50 % с максимальным значением 0,075 Ом для фазного(ых) проводника(ов) и нейтрального проводника и максимальным значением 0,05 Ом - для заземляющего проводника.

18.3 Гибкий кабель разматывают и затем вновь наматывают на катушку с максимальной скоростью 0,5 м/с в направлении, наиболее часто встречающемся при нормальной эксплуатации.

Это испытание выполняют согласно требованиям 18.3.1 - 18.3.3.

18.3.1 Для катушек с ручным управлением, не имеющих движущихся контактов (контактных колец и им подобных):

- гибкий кабель разматывают на полную длину;

- общее число рабочих циклов составляет 100.

18.3.2 При испытании удлинителей, приводимых в действие вручную и содержащих подвижные контакты:

- кабель разматывают таким образом, чтобы катушка делала приблизительно два оборота и на ней оставалось как минимум два витка гибкого кабеля;

- во время повторной намотки гибкий кабель удерживают с усилием натяжения 10 Н на 1 мм2 общего сечения проводников гибкого кабеля;

- общее число рабочих циклов составляет 10000.

18.3.3 При испытании удлинителей, приводимых в действие автоматически:

- кабель разматывают таким образом, чтобы катушка делала приблизительно два оборота и на ней оставалось как минимум два витка гибкого кабеля;

- во время повторной намотки гибкого кабеля эту операцию проводят с усилием натяжения, равным усилию натяжения при наматывании кабеля на катушку;

- общее число рабочих циклов составляет 10000.

- кабель удлинителя, включающий автоматический возвратный механизм, должен быть полностью размотан и выдерживать 100 последовательных, циклов наматывания/разматывания.

После испытаний согласно 18.3.1 - 18.3.3 удлинитель не должен иметь повреждений, ухудшающих требования безопасности и делающих невозможным его дальнейшее использование.

В частности, у удлинителя не должно быть:

- ослабления электрических соединений;

- ослабления механических частей или соединений;

- повреждений корпуса или изоляции гибкого кабеля.

18.4. Сразу после испытаний по 18.3 удлинитель должен выдерживать испытание на электрическую прочность изоляции согласно 17.2, но при значении испытательного напряжения, уменьшенном на 500 В. Это испытание проводят без предварительного испытания на влагостойкость.

В процессе испытаний не должно быть пробоев и коротких замыканий.

В дополнение к вышеуказанному не допускается пробой электрических соединений или проводников.

19 Превышение температуры при нормальной работе

19.1 Удлинители не должны достигать чрезмерных температур при нормальных условиях эксплуатации. Они должны обеспечивать безопасность для персонала или окружающей среды.

19.2 Проверку проводят измерением температуры различных частей при следующих условиях. Переносные удлинители устанавливают как при нормальной эксплуатации в испытательном углу, как можно ближе к стенкам.

Испытательный угол состоит из пола и двух стенок, расположенных под прямым углом, изготовленных из фанеры номинальной толщиной 20 мм, окрашенной однотонной черной краской.

Стационарные удлинители монтируют на стене или потолке в испытательном углу, как можно ближе к потолку и стенке.

Температуру определяют с помощью термопар, которые подбирают и устанавливают так, чтобы они оказывали минимальное влияние на тепловой режим образца.

Термопары, используемые для определения превышения температуры поверхности стенок, потолка и пола, встраивают в поверхность или прикрепляют к обратной стороне зачерненных медных или латунных дисков диаметром 15 мм и толщиной 1 мм, которые устанавливают заподлицо с поверхностью.

По возможности удлинитель располагают так, чтобы части, имеющие наибольшую температуру, соприкасались с измерительными дисками.

При определении превышения температуры ручки, кнопки, контактные зажимы и им подобные рассматривают как части, закрепляемые как при нормальной эксплуатации, и, если они из изолирующего материала, как части, контактирующие с металлом, имеющим повышенную температуру.

Превышение температуры электрической изоляции определяют в местах, где ее повреждение может вызвать короткое замыкание, опасный контакт между токоведущими частями и доступными металлическими частями или уменьшение расстояний утечки или зазоров ниже величин, указанных в разделе 24.

Проверку проводят с удлинителями как с полностью намотанным, так и размотанным кабелем. Удлинители нагружают номинальной мощностью, соответствующей маркировке, при размотанном и намотанном кабеле и выдерживают в рабочем состоянии до получения установившегося теплового режима.

Испытательный ток должен иметь коэффициент мощности cos φ = 1 - 0,05.

Таблица 6 - Максимальные нормальные превышения температуры

Часть 6

Превышение температуры °С

Резиновая изоляция внутренней и наружной проводки и гибкого кабеля

35

Изоляция из поливинилхлорида внутренней и наружной проводки и гибкого кабеля

45

Оболочка кабеля, используемая как дополнительная изоляция

35

Изоляция из кремнийорганического каучука внутренней проводки и гибких кабелей

145

Резина, применяемая для уплотнений или других частей, ухудшение которой может повлиять на безопасность:

 

- при использовании в качестве дополнительной или усиленной изоляции

40

- в других случаях

50

Материал, используемый для изоляции, отличной от изоляции проводов:

 

а) прессованный из:

 

- фенолоформальдегида с целлюлозными заполнителями

85

- фенолоформальдегида с минеральными заполнителями

100

- меламиноформальдегида

75

- мочевиноформальдегада

65

- полиэфира, усиленного стекловолокном

110

- кремнийорганического каучука

115

- политетрафторэтилена

265

- чистой слюды и плотноспеченного керамического материала, когда эти материалы используются в дополнительной или усиленной изоляции

400

- термопласта

1)

Опоры, стены, потолок и пол испытательного угла

60

Скользящие контакты

65

Ручки и аналогичные части, которых в нормальном использовании касаются рукой:

 

- металлические

40

- из изоляционного материала

50

Выводы, включая выводы заземления для наружных проводников

80

Патрон Е27:

 

- металлического или керамического типа

160

- изолированного типа, отличного от керамического

120

Патроны Е14, В15, В22:

 

- металлического или керамического типа

180

- изолированного типа, отличного от керамического

90

- с маркировкой Т

Т-25

1) Вследствие большого числа термопластичных изоляционных материалов невозможно установить допустимые превышения температуры для таких материалов. Временно следует проводить испытание в соответствии с 22.3.

В процессе испытаний термовыключатели и/или ограничители тока не должны функционировать.

После испытания удлинитель не должен иметь какие-либо деформации или повреждения, не совместимые с требованиями настоящего стандарта.

Во время испытания необходимо определять превышение температуры, необходимое при проведении испытаний по 22.3.

Примечание - Практика показала, что самая горячая точка изоляции гибкого кабеля, вероятно, находится между вторым и третьим слоями, в центральной области удлинителя, когда он плотно намотан.

20 Превышение температуры в условиях перегрузки

Конструкция удлинителей, применяемых как при нормальной эксплуатации, должна обеспечивать пожаро- и электробезопасность потребителей.

Удлинители со встроенными выключателями защитного отключения и/или ограничителями тока подвергают испытанию по 20.1, удлинители других типов - по 20.2.

20.1 Удлинители испытывают в условиях, описанных в разделе 19, и нагружают наибольшим возможным током, при котором термовыключатель или ограничитель тока не будут срабатывать до тех пор, пока не наступит установившийся режим, или в течение 4 ч (выбирают более короткий период).

Примечание - Установившийся режим достигается в случае, когда температура не изменяется более чем на 1 °С в 1 ч.

Температура частей удлинителей не должна превышать более чем на 25 °С соответствующее значение по таблице 6.

После испытания должны быть выполнены следующие условия:

- удлинитель не должен иметь деформаций, влияющих на защиту от поражения электрическим током;

- не должно быть короткого замыкания или повреждения изоляции катушки или гибкого кабеля, а также повреждений, влияющих на дальнейшее использование удлинителя.

Соответствие проверяют внешним осмотром, испытанием с использованием стандартного испытательного пальца, показанного на рисунке 1, который прикладывают сразу же после испытания на превышение температуры, и испытанием на электрическую прочность изоляции согласно 17.2, причем испытательное напряжение уменьшают на 500 В.

Перед испытанием на электрическую прочность изоляции испытание на влагостойкость не проводят;

- автомат защитного отключения и/или ограничитель тока не должны быть деформированы или повреждены, а значение тока срабатывания не должно быть изменено.

Проверку проводят внешним осмотром и путем сравнительного испытания на расцепление автоматического выключателя или ограничителя тока, встроенных в удлинитель, который не подвергался испытанию по 20.1;

- качество заземления не должно ухудшаться. Проверку проводят испытанием согласно 9.7.

20.2 Для данного испытания используют три дополнительных образца. Удлинитель испытывают с полностью намотанным кабелем в условиях, описанных в разделе 19, причем испытательная нагрузка соответствует 1,5-кратному максимальному номинальному току розеток, в которые может быть вставлена вилка удлинителя при номинальном напряжении, или 1,5-кратном номинальном токе защитного устройства в случае стационарных удлинителей.

Испытательная цепь должна быть защищена устройством защиты от коротких замыканий, выбранным в соответствии с требованиями ГОСТ 30331.5/ГОСТ Р 50571.5 и ГОСТ 30331.8/ ГОСТ Р 50571.8, причем ток короткого замыкания в месте, где установлен удлинитель, равен 3000 А±5 %.

Нагрузку подают до тех пор, пока не будет достигнут установившийся режим или пока не сработает устройство защиты от коротких замыканий.

После испытания должны быть выполнены следующие условия:

- удлинитель не должен иметь деформаций, влияющих на защиту от поражения электрическим током.

Соответствие проверяют (при полностью намотанном кабеле) внешним осмотром и испытанием стандартным испытательным пальцем согласно рисунку 1. Испытательный палец не должен касаться токоведущих частей.

После того как удлинитель охладился до комнатной температуры, пять раз прикладывают без рывков, как при обычном разматывании кабеля, следующие максимальные растягивающие усилия, каждый раз в течение 10 с:

60 Н для удлинителей с гибким кабелем, имеющим номинальное сечение не более 1 мм2;

80 Н для удлинителей с гибким кабелем сечением более 1 мм2.

Удлинитель вновь подвергают испытанию стандартным испытательным пальцем, во время которого не допускается касание токоведущих частей или металлических частей, не соединенных с цепью заземления, которые могли войти в контакт с токоведущими частями. Если кабель частично или полностью размотан, размотанную часть кабеля подвергают испытанию на диэлектрическую прочность изоляции напряжением согласно 17.2, уменьшенным на 500 В.

Часть размотанного кабеля, за исключением концов длиной не более 200 мм каждый, погружают в воду температурой (20±5) °С на 1 ч.

Затем прилагают испытательное напряжение между всеми проводниками, соединенными вместе, и водой в течение 5 мин.

При этом:

- не должна быть нарушена непрерывность соединения с землей доступных металлических частей, при их наличии, упомянутых в 9.4, если сохранена непрерывность токопроводящего провода(ов).

Проверку проводят внешним осмотром и путем проверки целостности цепи с использованием электрического индикатора в соответствии с 8.1.1;

- удлинитель не должен загораться.

21 Механическая прочность

21.1 Удлинители должны иметь достаточную механическую прочность для того, чтобы выдерживать нагрузки, возникающие в процессе монтажа и эксплуатации.

Проверку проводят следующими испытаниями:

a) переносные удлинители, имеющие полную массу до и 2,5 кг включ., - по 21.2 и 21.3;

b) переносные удлинители, имеющие полную массу от 2,5 кг до 30 кг, - по 21.2 и 21.4;

c) переносные удлинители, имеющие полную массу св. 30 кг, - по 21.2 и 21.5;

d) стационарные удлинители - по 21.2;

e) удлинители с уплотнениями кабельных вводов с резьбой - дополнительно по 21.7.

21.2 Проверку проводят нанесением ударов по образцу пружинным ударным жестко закрепленным устройством, приведенным на рисунке 4 в каждую наиболее слабую точку корпуса, причем энергия удара равна (1±0,04) Дж.

Устройство имеет три основные части: корпус, ударный элемент и спусковой конус, взведенный при помощи пружины.

Корпус состоит из кожуха, направляющей ударного элемента, спускового механизма и других частей, жестко прикрепленных к нему. Масса корпуса должна быть (1250±10) г.

Ударный элемент состоит из головки молотка, стержня и кнопки взвода. Масса ударного элемента должна быть (250±1) г.

Головка молотка имеет полукруглую форму радиусом 10 мм и изготавливается из полиамида с твердостью 100 HRC; она должна быть прикреплена к стержню молотка так, чтобы расстояние между ее вершиной и плоскостью, проходящей через торец конуса, непосредственно перед спуском ударного элемента было равно 20 мм.

Масса конуса равна 60 г, пружина конуса непосредственно перед спуском ударного элемента должна создавать усилие 5Н.

Пружины спускового механизма должны быть отрегулированы так, чтобы давление, создаваемое ими, было достаточно для удержания зажимов спускового механизма в состоянии зацепления.

Сила, требуемая для освобождения ударного элемента, не должна превышать 10 Н. Конфигурация стержня, головки молотка и устройства регулировки пружины молотка должна быть такой, чтобы пружина молотка освобождала всю запасенную энергию за 1 мм до нанесения вершиной головки молотка удара. На последнем этапе перед ударом ударный элемент должен, кроме трения, быть свободно движущейся массой, имеющей только кинетическую энергию.

Устройство вводят в действие путем оттягивания взводной рукоятки до тех пор, пока зажимы спускового механизма не войдут в зацепление с пазами стержня молотка.

Удары наносят путем прижатия спускового конуса к образцу в направлении, перпендикулярном поверхности в точке, подвергаемой испытанию.

Давление постепенно увеличивают так, чтобы конус перемещался назад до тех пор, пока он не коснется стержней спускового механизма, которые при перемещении назад приведут в действие спусковой механизм и позволят молотку нанести удар.

Удлинитель жестко закрепляют и наносят по три удара к каждой точке корпуса, которые заведомо считают слабыми, включая розетки, сигнальные лампы и тому подобное, если они встроены в конструкцию удлинителя. Удары наносят по частям, которые при нормальном использовании подвергаются ударам и конструктивно не защищены утопленным монтажом.

Обычные переносные удлинители (см. 6.5) подвергают испытанию на удар при температуре минус 5°С.

Переносные удлинители, имеющие степень защиты IPX4 или IPX5, подвергают испытанию на удар при температуре минус (15±2) °С.

Удлинители выдерживают в холодильнике до достижения предписанной температуры. Удлинители подвергают испытанию на удар спустя 1 мин после их извлечения из холодильника.

21.3 Удлинители следует испытывать 10-кратным сбрасыванием в наиболее неблагоприятном направлении с высоты 0,75 м на бетонный пол. Во время испытания удлинитель должен быть с полностью намотанным кабелем.

21.4 Удлинители следует испытывать 10-кратным сбрасыванием с высоты транспортирования (0,75 м) на бетонный пол. Во время испытания удлинитель должен быть с полностью намотанным кабелем.

Примечание - Термин «высота транспортирования» означает вертикальное расстояние от пола до ручки удлинителя, которую при нормальном использовании используют для переноски удлинителя.

21.5 Удлинители опрокидывают 10 раз в положении как при нормальной эксплуатации на бетонном полу в наиболее неблагоприятном направлении, но не более трех раз в одном и том же направлении.

Во время испытания удлинитель должен быть с полностью намотанным кабелем.

21.6 После испытаний по 21.2-21.5 не должна ухудшаться защита от поражения электрическим током, и удлинитель не должен иметь повреждений, влияющих на его безопасность или препятствующих его дальнейшему использованию.

В частности:

- розетки и электрические соединения не должны быть ослаблены или повреждены;

- крышки или защитные кожухи не должны иметь поверхностных трещин, видимых невооруженным глазом,

- прочность изоляционных перегородок или других частей из изоляционного материала не должна быть нарушена.

Повреждения отделочного покрытия, небольшие вмятины, не приводящие к уменьшению путей утечки и воздушных зазоров до значений, меньших, чем указано в разделе 24, а также небольшие сколы, которые не оказывают влияние на защиту от поражения электрическим током или влагостойкость, не учитывают.

Примечание - Трещины, не видимые невооруженным глазом, и поверхностные трещины в прессованных материалах, армированных волокном, и т. п. не учитывают.

21.7 Резьбовые уплотненные кабельные вводы должны выдерживать механические напряжения, возникающие как при нормальной эксплуатации.

Проверку проводят следующим испытанием.

В резьбовой уплотненный кабельный ввод вводят круглый металлический стержень диаметром (в миллиметрах), равным ближайшему целому числу, меньшему внутреннего диаметра уплотнения.

Затем уплотненный кабельный ввод затягивают моментом, указанным в таблице 7, в течение 1 мин.

Таблица 7 - Испытательный момент для уплотненных кабельных вводов

Диаметр испытательного стержня, мм

Момент, Н·м

Металлические уплотнительные кабельные вводы

Кабельные вводы из прессованного материала

До 14 включ.

6,25

3,75

Св. 14 до 20 включ.

7,50

5,00

Св. 20

10,00

7,50

После испытания уплотненные кабельные вводы и корпус удлинителя должны соответствовать требованиям настоящего стандарта.

22 Нагревостойкость

22.1 Удлинители должны быть достаточно устойчивы к нагреву.

Требование проверяют с помощью испытаний, указанных в 22.2 и 22.3, которые проводят с удлинителями при полностью размотанном кабеле.

22.2 Удлинители выдерживают в течение 1 ч в термокамере при температуре (100±2) °С.

Во время испытания не должно произойти изменений, затрудняющих дальнейшую эксплуатацию удлинителей, не должен плавиться компаунд, если таковой имеется, до такой степени, чтобы оголились токоведущие части.

После испытания образцы охлаждают до комнатной температуры.

Затем проводят испытание стандартным испытательным пальцем, который прикладывают с усилием 5 Н. При этом токоведущие части должны оставаться недоступными для прикосновения, когда удлинитель смонтирован как при нормальной эксплуатации.

Маркировка после испытания должна быть четкой и разборчивой.

Примечание - Изменением цвета, вздутием или небольшим вытеканием компаунда можно пренебречь, если при этом не нарушаются требования настоящего стандарта в отношении электробезопасности.

22.3 Детали из изолирующего материала, на которых крепят токоведущие части, и детали цепи заземления испытывают на твердость по Бринеллю при помощи устройства, приведенного на рисунке 5.

Поверхность испытуемого образца устанавливают в горизонтальном положении и стальной шарик диаметром 5 мм вдавливают в поверхность с силой 20 Н.

Испытательную нагрузку и опорное устройство необходимо поместить в термокамеру на время, достаточное для того, чтобы они достигли устойчивой температуры до начала испытаний.

Части из изоляционного материала, не предназначенные для крепления на них токоведущих частей, подвергают испытаниям в термокамере при температуре (40±2) °С или (70±2) °С (выбирают большее значение) плюс наибольшая температура перегрева, определенная для соответствующих частей во время испытаний по разделу 19.

Части изоляционного материала, которые предназначены для крепления на них токоведущих частей и частей заземляющей цепи, даже если они контактируют с ними, подвергают испытаниям в термокамере при температуре (125±2) °С.

Через 1 ч шарик убирают с образца, затем образец погружают в воду для охлаждения до комнатной температуры.

Диаметр отпечатка на образце должен быть не более 2 мм.

23 Винты, токоведущие части и соединения

23.1 Электрические и механические соединения должны выдерживать механические нагрузки, возникающие при нормальной эксплуатации.

Винты, передающие контактное давление, должны ввинчиваться в металлическую резьбу.

Проверку проводят внешним осмотром.

Винты и гайки, передающие контактное давление или предназначенные для подключения питающих проводов, затягивают и отпускают:

- десять раз для винтов, ввинчивающихся в резьбу из изолирующего материала;

- пять раз для гаек и других винтов.

Винты, ввинчивающиеся в резьбу из изолирующего материала, каждый раз полностью ввинчивают и вывинчивают.

При испытании винтов контактного зажима и гаек медную жилу кабеля, имеющую наибольшее сечение, указанное в 10.3.1, или медную жилу кабеля, имеющую сечение, равное сечению жилы гибкого кабеля удлинителя, вставляют в контактный зажим.

Испытание проводят при помощи соответствующей испытательной отвертки с приложением крутящего момента, указанного в таблице 2.

Проводник смещают каждый раз при ослаблении винта или гайки.

Во время испытания не должны возникать повреждения, препятствующие дальнейшему использованию винтовых соединений, таких как излом винтов или повреждения шлица под отвертку, резьбы, шайбы или хомутка.

Примечания

1 К винтам или гайкам, применяемым при монтаже удлинителя, относят винты для крепления крышек, накладок и т. п.

2 Форма лезвия испытательной отвертки должна соответствовать шлицу испытуемого винта.

3 Винты и гайки следует затягивать плавно, без рывков.

4 Повреждение крышек не принимают во внимание.

5 Рекомендуется, чтобы винты, которые, вероятно, могут затягиваться потребителем, имели фиксацию.

23.2 Винты, ввертываемые в электроизоляционный материал и предназначенные для крепления соединителей при монтаже удлинителя, должны иметь правильный ввод в отверстие или гайку.

Проверку проводят внешним осмотром и испытанием вручную.

Примечание - Требование к правильному введению винта может быть соблюдено при наличии направляющего устройства на фиксируемой части, применении утопленной гаечной резьбы или винтов со снятой начальной резьбой.

23.3 Электрические соединения должны иметь такую конструкцию, чтобы контактное давление не передавалось через изолирующий материал, кроме керамики, чистой слюды или других материалов с аналогичными техническими данными, за исключением случаев, когда металлические детали обладают достаточной упругостью и могут при этом компенсировать возможную усадку и сжатие изолирующего материала.

Проверку проводят внешним осмотром.

Примечание - Применяемость материалов рассматривают по отношению их устойчивости к стабильности размеров.

23.4 Винты, гайки и заклепки, служащие в качестве электрических и механических соединений, должны иметь устройство, препятствующее их ослаблению или развинчиванию.

Проверку проводят внешним осмотром и испытанием вручную.

Примечания

1 В качестве устройства от самоотвинчивания может служить пружинная шайба.

2 Для заклепок и некруглых заклепок достаточным условием является наличие соответствующих канавок.

3 Компаунд, который при нагревании размягчается, может служить удовлетворительным средством от самоотвинчивания для винтовых соединений, которые при нормальной эксплуатации не должны отвинчиваться.

23.5 Токоведущие части, включая контактные зажимы (также и заземляющие), должны изготавливаться из металла, имеющего механическую прочность, электропроводность и устойчивость к коррозии как при нормальной эксплуатации.

Проверку проводят внешним осмотром и, при необходимости, химическим, анализом.

Примерами таких металлов, работающих в пределах допустимых температур при нормальных химических загрязнениях, являются:

- медь;

- сплав, содержащий по меньшей мере 58 % меди, для изготовления частей из холоднокатаных листов, или не менее 50 % меди - для других частей;

- нержавеющая сталь, содержащая не менее 13 % хрома и не более 0,09 % углерода;

- сталь, имеющая гальваническое цинковое покрытие в соответствии с ИСО 2081 [2]. Покрытие должно иметь толщину не менее:

5 мкм - рабочие условия № 1 для обычных удлинителей;

12 мкм - рабочие условия № 2 для брызгозащищенных удлинителей;

25 мкм - рабочие условия № 3 для струезащищенных удлинителей;

- сталь, имеющая гальваническое хромоникелевое покрытие в соответствии с ИСО 1456 [3]. Покрытие должно иметь толщину не менее:

20 мкм - рабочие условия № 2 для обычных удлинителей,

30 мкм - рабочие условия № 3 для брызгозащищенных удлинителей,

40 мкм - рабочие условия № 4 для струезащищенных удлинителей;

- сталь, имеющая гальваническое оловянное покрытие в соответствии с ИСО 2093 [4]. Покрытие должно иметь толщину не менее:

12 мкм - рабочие условия № 2 для обычных удлинителей,

20 мкм - рабочие условия № 3 для брызгозащищенных удлинителей,

30 мкм - рабочие условия № 4 для струезащищенных удлинителей.

23.6 Токоведущие части, которые в процессе эксплуатации могут подвергаться механическому износу, недопустимо изготовлять из стали с гальваническим покрытием.

Во влажных условиях металлы, обладающие значительными различиями электрохимического потенциала по отношению друг к другу, не следует использовать в контакте друг с другом. Проверку проводят внешним осмотром.

Примечание - Требования пункта не распространяются на винты, гайки и шайбы, прижимные пластины и аналогичные части контактных зажимов.

23.7 Самонарезающие (формующие или режущие) винты не должны использоваться для соединения токоведущих частей удлинителей.

Самонарезающие винты могут применяться в цепи заземления в случае, если при нормальной эксплуатации соединения не будут разъединяться, и для каждого соединения будет использовано не менее двух винтов.

23.8 Самонарезающие винты (формующие резьбу) не должны использоваться там, где потребителю может понадобиться удалить их при соединении или замене гибкого кабеля.

23.9 Винты, которые используют при монтаже или присоединении жил кабеля, не должны изготовляться из мягкого или текучего металла, например цинка или алюминия.

23.10 Винты, которые удаляют при замене гибкого кабеля или других частей, не должны изготовляться из изолирующего материала, если их замена металлическими винтами может ухудшить изоляцию между токоведущими частями и частями заземления, которые доступны как металлические части.

Соответствие требованиям 23.7-23.10 проверяют внешним осмотром.

23.11 Контакты, которые при нормальной эксплуатации подвергаются трению, должны изготавливаться из коррозиеустойчивого материала.

Соответствие требованию проверяют внешним осмотром и, при необходимости, химическим анализом.

24 Пути утечки тока, воздушные зазоры и расстояния через заливочную массу

Расстояния утечки и зазоры не должны быть меньше величин, указанных в таблице 8.

Таблица 8 - Минимальные расстояния утечки и зазоры

Размеры в миллиметрах

Пути утечки

Номинальное напряжение кабельной катушки

До 250 В включ.

Св. 250 до 440 В включ.

Расстояние утечки

Зазор

Расстояние утечки

Зазор

1) Между токоведущими частями различной полярности

3

3

4

3

2) Между токоведущими частями и:

 

 

 

 

а) контактом заземления или доступными металлическими заземленными частями

3

3

4

3

b) доступными металлическими частями, отделенными от токоведущих частей усиленной или двойной изоляцией

6

6

8

6

с) другими металлическими частями, отделенными от токоведущих частей функциональной изоляцией

3

3

4

3

3) Между доступными металлическими частями и другими металлическими частями, которые отделены от доступных металлических частей дополнительной изоляции

3

3

4

3

Примечание - Таблица не применима к компонентам, которые должны удовлетворять соответствующим стандартам (см. раздел 13)

Проверку проводят измерениями.

Измерения проводят на удлинителях в состоянии поставки, снабженных соответствующими гибкими кабелями; стационарные удлинители комплектуют кабелем с наибольшим сечением для стационарных электроустановок, указанным в 10.3.1.

Расстояния в пазах или отверстия наружных частей изолирующего материала измеряют до металлической фольги, соприкасающейся с открытой поверхностью.

Фольгу заталкивают в углы и т. п. с помощью прямого бесшарнирного испытательного пальца, имеющего те же размеры, что и испытательный палец на рисунке 1, при этом фольга не должна вдавливаться в отверстие.

Примечания

1 При рассмотрении влияния утечки тока в пазе шириной менее 1 мм учитывают его ширину.

2 При подсчете полной величины воздушного зазора воздушный промежуток менее 1 мм не учитывают.

25 Теплостойкость, огнестойкость и устойчивость к токам поверхностного разряда

25.1 Устойчивость к воздействию повышенной температуры и огня

Части из изолирующего материала, которые могут испытывать термические нагрузки под воздействием электрического тока и нарушение которых может привести к снижению электрической безопасности удлинителя, не должны подвергаться чрезмерному воздействию повышенной температуры.

Проверку проводят испытанием раскаленной проволокой в соответствии с ГОСТ 27483 при следующих условиях:

- для частей из изолирующего материала, на которых закрепляют токоведущие части и части заземляющей цепи стационарных удлинителей, - при температуре 850 °С;

- для частей из изолирующего материала, на которых закрепляют токоведущие части и части заземляющей цепи переносных удлинителей, - при температуре 750 °С;

- для частей из изолирующего материала, на которых не крепят токоведущие части и части заземляющей цепи, даже если они контактируют с ними, - при температуре 650 °С.

Если указанное испытание должно проводиться в нескольких местах одного и того же образца, следует иметь в виду, чтобы любые нарушения образца, вызванные предыдущими испытаниями, не повлияли на результат последующего испытания.

Мелкие детали, такие как шайбы, указанному испытанию не подвергают.

Испытание не проводят на деталях из керамики.

Примечание - Испытание раскаленной с помощью электрического тока проволокой заключается в определении огнестойкости изолирующих деталей или их частей.

Раскаленную проволоку прикладывают к испытательной поверхности, которая при определенных условиях может воспламениться, гореть непродолжительное время, не переходя в открытое пламя с образованием горячих частиц или расплавленных капель, способных воспламенить папиросную бумагу, которой покрыта сосновая доска, находящаяся под испытуемым образцом.

По возможности, в качестве образца должен быть использован собранный удлинитель.

Если испытание нельзя провести на собранном удлинителе, то испытанию подвергают фрагмент удлинителя.

Испытание проводят на одном образце.

В случае сомнения, испытания проводят еще на двух других образцах.

Испытание проводят раскаленной проволокой один раз.

Образец во время испытания следует устанавливать в наиболее неблагоприятном положении (испытуемая поверхность должна находиться в вертикальном положении).

Конец раскаленной проволоки прикладывают к поверхности испытуемого образца, учитывая при этом, чтобы условия испытаний незначительно отличались от условий предполагаемого использования, при которых нагретый элемент мог бы контактировать с образцом.

Образец считают прошедшим испытание, если:

- нет видимого пламени или тления;

- пламя и тление угасают через 30 с после удаления раскаленной проволоки;

- горячие или расплавленные капли не должны вызывать возгорания папиросной бумаги.

25.2 Сопротивление токам поверхностного разряда

В удлинителях, отличных от обычных, изолирующие части, на которых располагают токоведущие части, должны быть изготовлены из материала, устойчивого к токам утечки.

Для материалов, кроме керамических, соответствие данному требованию устанавливают следующей проверкой по ГОСТ 27473 с использованием испытательного раствора А и испытательного напряжения 175 В.

Прежде чем на поверхность образца будет нанесено 50 капель раствора А, между электродами не должно возникнуть короткого замыкания или пробоя.

Испытание проводят в трех точках образца или на трех образцах.

26 Коррозиеустойчивость

Металлические части удлинителей, включая крышки, должны быть надежно защищены от коррозии.

Проверку проводят следующим образом.

Смазочные вещества удаляют с испытуемых частей путем погружения их на 10 мин в раствор тетрахлорметана, трихлорэтана или аналогичного обезжиривающего вещества температурой (20±5) °С.

После этого испытуемые части погружают на 10 мин в 10 %-ный водный раствор нашатырного спирта температурой (20±5) °С.

Стряхнув капли, испытуемые части без просушки помещают на 10 мин в термокамеру, содержащую воздух, насыщенный влагой, при температуре (20+5) °С. После того, как испытуемые части будут просушены в камере при температуре (100±5) °С в течение 10 мин, на их поверхностях не должно быть следов коррозии.

Примечание - Следы коррозии на острых краях и желтоватую пленку, которую удаляют путем протирания, не учитывают.

Слой смазки, наносимый на небольшие пружины и аналогичные им детали, а также на закрытые части, подверженные истиранию, может служить надежной защитой от коррозии.

Указанные детали испытывают только в случае, если возникает сомнение относительно эффективности смазочного покрытия. В этом случае испытание проводят без предварительного удаления с деталей смазки.

Неуказанные допуски:

- на угловые размеры................................. 10°

- на линейные размеры:

менее 25 мм.............................................. 0,05

более 25 мм.............................................. +0,2

Материал испытательного пальца - легированная сталь.

Оба сочленения пальца могут быть согнуты под углом 90°-10, но в одном и том же направлении.

Применение штыря и паза является лишь одним из ограничений угла сгибания до 90°. Поэтому размеры и допуски для этих деталей на рисунке не указаны.

1 - рукоятка; 2 - упорная пластина; 3 - торцевой упор; 4 - шарниры; 5 - изоляционный материал

Рисунок 1 - Стандартный испытательный палец

При калибровке прибора усилие 1 Н прикладывают к наконечнику жесткого стального стержня вдоль оси до совмещения плоскостей А и Б за счет сжатия пружины

Рисунок 2 - Прибор для проверки недоступности токоведущих частей в удлинителях

1 - зажим; 2 - неподвижная часть; 3 - пластина; 4 - втулка; 5 - груз

Рисунок 3 - Устройство для испытания прочности изоляции проводов

1 - спусковой конус; 2 - пружина конуса; 3 - стержень спуска; 4 - пружина спускового механизма; 5 - зажим; 6 - головка молотка; 7 - пружина молотка; 8 - стержень молотка; 9 - взводная рукоятка

Рисунок 4 - Прибор для испытания на удар

1 - стальной шарик; 2 - испытуемая поверхность

Рисунок 5 - Установка для испытания прочности материалов при нагревании

1 - кабель длиной 2 м, не более; 2 - автоматический выключатель RCCB

Рисунок 6 - Пример удлинителя на кабельной катушке, укомплектованного автоматическим выключателем, управляемым дифференциальным (остаточным) током

ПРИЛОЖЕНИЕ А

(обязательное)

Дополнительные требования к удлинителям, устанавливаемые в стандартах и технических условиях на удлинители конкретных типов

А.1 Требования стойкости к внешним воздействующим факторам

А.1.1 Номинальные и предельные значения климатических факторов, отличающиеся от приведенных в настоящем стандарте, должны соответствовать ГОСТ 15543.1 и ГОСТ 15150.

А.1.2 Конкретные требования по воздействию механических факторов, отличающиеся от приведенных в настоящем стандарте, должны соответствовать группам условий эксплуатации по ГОСТ 17515.1.

А.2 Требования к консервации, упаковке, транспортированию и хранению

А.2.1 Требования к консервации и упаковке - по ГОСТ 23216.

А.2.2 Условия транспортирования устанавливают в зависимости от назначения удлинителей по ГОСТ 23216 и ГОСТ 15150.

А.3 Требования к защитным покрытиям

Металлические детали удлинителей должны иметь защитные покрытия в соответствии со стандартами Единой системы защиты от коррозии и старения материалов и изделий.

Контактные участки выводов удлинителей должны иметь защитные покрытия по ГОСТ 9.005.

А.4 Защита от поражения электрическим током

А.4.1 Конструкция удлинителей должна соответствовать требованиям ГОСТ 12.1.004, ГОСТ 12.2.007.0 и ГОСТ 12.2.007.6 и быть пожаробезопасной и безопасной для людей.

А.4.2 Классы удлинителей по способу защиты человека от поражения электрическим током должны быть установлены в стандартах или технических условиях на удлинители конкретных типов в соответствии с ГОСТ 12.2.007.0.

А.4.3 Дополнительные требования безопасности удлинителей должны быть указаны в стандартах или технических условиях на удлинители конкретных типов.

А.5 Виды испытаний и правила приемки

А.5.1 В настоящем стандарте программа типовых испытаний является основой для установления программ контрольных испытаний любых видов по ГОСТ 16504.

А.5.2 Удлинители подвергают квалификационным, периодическим, приемо-сдаточным и типовым испытаниям; порядок их проведения должен соответствовать ГОСТ 15.001; периодичность испытаний, программы испытаний и условия их проведения должны устанавливаться в стандартах и технических условиях на удлинители конкретных типов.

Программы приемочных и квалификационных испытаний удлинителей должны включать в себя полную программу типовых испытаний по настоящему стандарту, а также испытания на стойкость к внешним воздействующим факторами, проверку защитных покрытий, испытания на надежность по ГОСТ 27.003 и ГОСТ 27.410.

А.5.3 Правила приемки удлинителей должны устанавливаться в стандартах и технических условиях на удлинители конкретных типов.

А.6 Требования к гарантии

Изготовитель должен гарантировать надежную работу удлинителей в течение определенного срока эксплуатации, который должен быть не менее пяти лет с момента ввода в эксплуатацию.

А.7 Рекомендации по учету дополнительных требований

При разработке, изготовлении и эксплуатации удлинителей учет требований действующих государственных стандартов должен осуществляться на основе опросных листов, в которых должен быть определен и согласован с потребителем перечень дополнительных требований и требований, изменяющих положения настоящего стандарта, исходя из условий функционирования и эксплуатации удлинителей.

А.8 Нормативные ссылки

В настоящем приложении использованы ссылки на следующие стандарты:

ГОСТ 9.005-72 Единая система защиты от коррозии и старения. Металлы, сплавы, металлические и неметаллические неорганические покрытия. Допустимые и недопустимые контакты с металлами и неметаллами.

ГОСТ 12.1.004-91 Система стандартов безопасности труда. Пожарная безопасность. Общие требования

ГОСТ 12.2.007.0-75 Система стандартов безопасности труда. Изделия электротехнические. Общие требования безопасности

ГОСТ 12.2.007.6-93 Система стандартов безопасности труда. Аппараты электрические коммутационные на напряжение до 1000 В. Требования безопасности

ГОСТ 15.001-88 Система разработки и постановки продукции на производство. Продукция производственно-технического назначения

ГОСТ 27.003-90 Надежность в технике. Состав и общие правила задания требований по надежности

ГОСТ 27.410-87 Надежность в технике. Методы контроля показателей надежности и планы контрольных испытаний на надежность

ГОСТ 15150-69 Машины, приборы и другие технические изделия. Исполнения для различных климатических районов. Категории, условия эксплуатации, хранения и транспортирования в части воздействия климатических факторов внешней среды

ГОСТ 15543.1-89 Изделия электротехнические. Общие требования в части стойкости к климатическим внешним воздействующим факторам

ГОСТ 16504-81 Система государственных испытаний продукции. Испытания и контроль качества продукции. Основные термины и определения

ГОСТ 17515.1-90 Изделия электротехнические. Общие требования в части стойкости к механическим внешним воздействующим факторам

ГОСТ 23216-78 Изделия электротехнические. Общие требования к хранению, транспортированию, временной противокоррозионной защите и упаковке.

ПРИЛОЖЕНИЕ Б

(обязательное)

Вопросы, подлежащие согласованию между изготовителем и потребителем

Пункты настоящего стандарта

Перечень мероприятий

1.1

Дополнительные технические требования при распространении стандарта на удлинители, предназначенные для эксплуатации в особых условиях. Возможность изменения или дополнения технических требований и методов испытаний

1.3

Перечень пунктов, определяющих обязательные требования к качеству удлинителей

5.1

Дополнительные типовые испытания, связанные с проверкой удлинителя на соответствие специальным требованиям

7.1

Перечень символов маркировки, относящихся к конкретному типу удлинителя

10.3

Пропускная способность по току зажимов для нейтрального проводника

11.1.1

Сечение присоединительных кабелей

ПРИЛОЖЕНИЕ В

(справочное)

Библиография*

* Международные стандарты МЭК и их переводы находятся во Всероссийском научно-исследовательском институте классификации, терминологии и информации по стандартизации и качеству (ВНИИКИ). Адрес: 103001, Москва, Гранатный пер., 4.

[1] МЭК 60999-90 Присоединительные устройства. Требования безопасности к винтовым и безвинтовым зажимам для электрических медных проводников

[2] ИСО 2081-86 Металлическое покрытие. Цинк на чугун или сталь электролитическим осаждением

[3] ИСО 1456-88 Металлические покрытия. Никель-хромовое и медно-никелевое покрытия электролитическим осаждением

[4] ИСО 2093-86 Металлическое покрытие. Залуживание электролитическим осаждением. Спецификация и методы испытаний

Ключевые слова: кабельные катушки, удлинители на кабельных катушках, общие требования, методы испытаний




Яндекс цитирования



   Copyright © 2007-2026,  www.tehlit.ru.

[ ѓосты, стандарты, нормативы, инструкции, правила, строительные нормы ]