//
ТехЛит.ру
- крупнейшая бесплатная электронная интернет библиотека для "технически умных" людей.
WWW.TEHLIT.RU - ТЕХНИЧЕСКАЯ ЛИТЕРАТУРА

:: Алготрейдинг::


АЛГОТРЕЙДИНГ
шаг за шагом
с нуля по урокам!

Торговые роботы на PYTHON, BackTrader,
Pandas, Pine Script для TradingView. Связка с брокерами, телеграм и легкими приложениями.


Производственный и научно-исследовательский
институт по инженерным изысканиям
в строительстве (ПНИИИС) Госстроя СССР

ПОСОБИЕ
по составлению и оформлению документации
инженерных изысканий
для строительства

Часть 1

Инженерно-геодезические
изыскания
(к СНиП II-9-78)

Утверждено
приказом по ПНИИИС
от 20 сентября 1984 г. №
268

МОСКВА СТРОЙИЗДАТ 1986

Рекомендовано к изданию решением Научно-технического совета ПНИИИС Госстроя СССР.

Даны указания по обработке и оформлению полевой и первичной камеральной технической документации инженерно-геодезических изысканий. Приведены правила составления и оформления полевых журналов, ведомостей и актов, даны типовые формы первичной камеральной документации и образцы их заполнения.

Для инженерно-технических работников изыскательских и проектно-изыскательских организаций.

Разработано ПНИИИС Госстроя СССР (канд. техн. наук С.А. Алейников, инженеры П.И. Остапенко, В.Я. Дольников, В.В. Ларин, А.Ф. Хлопников, Н.П. Калинин, Т.Н. Метакса) при участии п/о Стройизыскания Госстроя РСФСР (канд. техн. наук Л.Я. Кельман) и УкргипроНИИнефть Миннефтепрома СССР (канд. техн. наук И.Е. Субботин, инж. О.В. Иванов).

1. ОБЩИЕ ПОЛОЖЕНИЯ

1.1. Полевая техническая документация содержит результаты рекогносцировок, обследований и измерений, выполняемых непосредственно на местности, и является основой (первоисточником) материалов инженерно-геодезических изысканий.

1.2. Полевую и первичную камеральную техническую документацию рекомендуется вести в журналах и ведомостях по формам, приведенным в настоящем Пособии.

1.3. Полевые журналы должны иметь формат 148 ´ 210, 210 ´ 297 мм и содержать не более 50 страниц.

1.4. Кроме основной части, предназначенной для записей результатов рекогносцировок, обследований и измерений, каждый журнал должен содержать: титульный лист, оглавление, одну-две страницы, предназначенные для записей контролирующих лиц; страницу для оформления подписей. В журналах полигонометрии, теодолитных и нивелирных ходов одна страница или развернутый лист используется для зарисовки схемы ходов.

1.5. Титульный лист, являющийся одновременно обложкой журнала, заполняется по образцу, приведенному в прил. 1.

Поля титульного листа предназначены для записей:

поле 1 - наименования министерства (ведомства), которому подчинена организация; наименования организации; названия или номера экспедиции, партии или отряда;

поле 2 - года производства изысканий;

поле 3 - названия объекта изысканий;

поле 4 - регистрационного номера журнала и его названия. Например, «Журнал № 2 нивелирования IV класса» или «Журнал № 3 обследования колодцев подземных коммуникаций» и др.;

поле 5 - кратких технических характеристик использованных приборов и оборудования, например увеличения зрительной трубы, типа теодолита, нивелира, реек и др. Если измерения выполнены техническими теодолитами и нивелирами, мерными рейками, рулетками и другими стандартными простыми приборами, то сведения об их технических характеристиках могут не приводиться;

поле 6 - фамилий и инициалов производителя работ и начальника партии;

поле 7 - адреса организации и просьбы возвратить журнал по указанному адресу при его случайной утрате.

1.6. В содержании журнала рекомендуется выносить номера ходов, базисов, точек привязки, наименование выполняемых работ, а также номера страниц журнала, с которых начинаются соответствующие записи.

1.7. На странице для оформления подписей (обычно последней странице журнала) приводятся:

число пронумерованных страниц, подтвержденное подписью начальника партии (отряда);

число заполненных страниц, заверенное подписью производителя работ;

указание о проверке журнала с подписью лица, выполнившего проверку;

подпись начальника партии (отряда) о приемке журнала.

Образец оформления последней страницы журнала дан в прил. 1.

1.8. Схема хода составляется с примерным соблюдением его конфигурации. На схему наносятся все исходные и закрепленные на местности определяемые точки и пункты. Если измерения хода выполнены в нескольких журналах, то схему хода разрешается составлять в одном из них с соответствующей ссылкой.

1.9. Записи в журналах выполняются отточенным карандашом или шариковой ручкой. Запись должна делаться четко и разборчиво.

1.10. Неправильные (ошибочные) записи в журналах должны быть зачеркнуты с соблюдением следующих правил:

зачеркивание производится аккуратно, таким образом, чтобы зачеркиваемые записи оставались полностью читаемыми;

причину зачеркивания следует объяснять краткими пояснительными надписями, например «Ошибка отсчета», «Ошибка в измерении», «Сбит инструмент»;

при числе повторных измерений в приеме, превышающем 30 % числа выполненных измерений, запрещается принимать в обработку все измерения, относящиеся к соответствующему приему.

1.11. Записи результатов полевых измерений производятся строго в отведенных формой журнала графах и строках. При этом в одной строке следует записывать только один результат измерений. Исправленные (повторные) результаты измерений, как правило, необходимо записывать в нижеследующих строках журнала.

Результаты повторных измерений допускается записывать на других страницах данного журнала или в другом журнале той же формы. При этом в журнале, где были записаны первоначальные (зачеркнутые) измерения, следует указать номер журнала и страницу, где они повторены.

Записи в одной строке зачеркнутых и исправленных (повторных) результатов измерений, запись «цифра по цифре», а также подчистка или стирание резинкой записей полевых измерений категорически запрещены.

1.12. Записи результатов измерений должны производиться только в полевых журналах. Не допускается записывать результаты измерений на черновиках с последующим переписыванием в полевые журналы.

1.13. Полевые журналы должны заполняться без пропуска страниц и, как правило, полностью. Случайно пропущенные страницы журнала необходимо гасить знаком «Z».

1.14. Полевые журналы должны выдаваться производителю работ начальником партии (отряда), который обязан зарегистрировать выдаваемый журнал в книге учета, присвоить ему регистрационный номер, записать число сброшюрованных страниц и расписаться в журнале. Количество выдаваемых одновременно журналов не должно превышать необходимого для работы на период более одного месяца.

1.15. Каждый журнал производитель работ должен оформить, а именно:

заполнить титульный лист;

пронумеровать страницы журнала, считая первой страницей титульный лист;

на последней странице записать прописью число заполненных страниц и расписаться;

составить оглавление журнала;

заполнить все пояснительные данные о процессе измерений (схемы ходов, сведения об инструментах, результаты эталонирования и др.);

выполнить необходимые контрольные вычисления, записав результаты камеральных вычислений чернилами или пастой.

1.16. Оформленные полевые журналы должны быть представлены начальнику партии (отряда) для приемки.

При приемке полевых журналов начальник партии (отряда) обязан:

проверить правильность и полноту оформления журнала;

убедиться в отсутствии вырванных из журнала или дополнительно вложенных в него страниц;

установить достаточность выполненных измерений, а также соблюдение нормативных допусков точности измерений на станции;

проверить соблюдение установленных правил ведения полевых журналов.

1.17. Законченные и принятые начальником партии полевые журналы комплектуются в дела (папки).

На мелких объектах изысканий все журналы комплектуются в одно дело. На крупных объектах комплектуется ряд дел, при этом полевые журналы могут группироваться по принадлежности к планшету или части территории объекта; к производителю работ; к видам работ, выполняемым на объекте.

Каждое дело нумеруется, оформляется этикетка и составляется оглавление вложенной в дело документации.

На этикетке указываются номер и наименование дела, название объекта, фамилии производителя работ и начальника партии.

2. ОПОРНЫЕ ГЕОДЕЗИЧЕСКИЕ СЕТИ

2.1. Техническая документация, составляемая при построении плановых и высотных геодезических сетей, может быть разделена на полевые журналы, акты и ведомости. Полевые журналы предназначены для записей результатов рекогносцировки, угловых измерений, измерений длин линий, нивелирования и других данных и сведений.

2.2. Журнал рекогносцировки триангуляционных пунктов (прил. 2) ведется, как правило, при построении триангуляции 3-го и 4-го классов в случаях, когда построение знаков осуществляется специальной строительной бригадой.

2.3. Журнал измерения горизонтальных направлений круговыми приемами (прил. 3) рассчитан на использование как для классных, так и для разрядных сетей.

При построении классных сетей на каждой странице журнала следует указывать:

название или номер пункта;

дату и время (часы, минуты) производства работ;

погоду, характеризуемую одним из следующих терминов: «ясно», «облачно», «пасмурно» в сочетании с оценкой ветра - «тихо», «слабый», «умеренный», «порывистый»;

качество изображений - спокойные (спокойн.), колеблющиеся (колебл.).

При построении разрядных сетей можно не указывать точное время производства измерений в приемах и качество изображения, а погоду коротко характеризовать терминами: «ясно», «облачно» или «пасмурно».

Образец записей дан для триангуляции (полигонометрии) 4-го класса. При построении классных сетей отсчеты берутся до 0,1″, а в разрядных - округляются до 1″. Журнал разрешается использовать при одновременном выполнении угловых измерений в сетях триангуляции 1-го и 2-го разрядов. При этом измерения направлений на пункты триангуляции 2-го разряда выполняются на установках лимба, принятых для триангуляции 1-го разряда.

Совмещать в одном журнале записи результатов измерений в сетях триангуляции 4-го класса, 1-го и 2-го разрядов не допускается.

2.4. Журнал измерения зенитных расстояний (прил. 4) предназначен для записей результатов тригонометрического нивелирования в сетях триангуляции 4-го класса, 1-го и 2-го разрядов.

Результаты измерений можно представлять в виде зенитных расстояний или углов наклона.

Если зенитные расстояния наблюдаемых пунктов триангуляции 3-го и 4-го классов отличаются от 90° на величину более 2°, необходимо в процессе наблюдений определять наклон вертикальной оси вращения инструмента, беря отсчеты по концам пузырька уровня при алидаде вертикального круга, с последующим введением поправки и направления.

В разрядных сетях указанная поправка не учитывается.

2.5. Журнал измерения параллактических углов (прил. 5) используется при проложении короткобазисной полигонометрии. Образец записи приведен для полигонометрии 1-го и 2-го разрядов.

2.6. Журнал измерения длин линий светодальномерами (прил. 6) используется при производстве линейных измерений в триангуляции (полигонометрии, трилатерации) 4-го класса, 1-го и 2-го разрядов светодальномерами СМ-5, 2СМ-2 и ЕОК-2000.

2.7. Журнал измерения длин линий мерными проволоками (прил. 7) дан с образцом заполнения для ходов 4-го класса и 1-го разряда. Измерение коротких пролетов (домеров) следует иллюстрировать схемой с указанием нумерации штативов.

2.8. Журнал измерения углов и линий дальномерной полигонометрии, выполняемой редукционным тахеометром (прил. 8), применяется для полигонометрии 2-го разряда и теодолитных ходов.

Образец записи дан для полигонометрии 2-го разряда. При проложении теодолитных ходов измерения выполняют одним приемом с перестановкой лимба между полуприемами, углы вычисляют с округлением до 0,1′, а линии - 0,01 м.

2.9. Журналы нивелирования II, III и IV классов даны в прил. 9, 10 и 11. Поскольку схема хода, а также зарисовка и описание марок и реперов оформляются одинаково в журналах нивелирования разных классов, то соответствующие образцы даны лишь в прил. 9.

Записи в журналах следует вести по секциям. С началом каждой секции запись измерений ведут с новой страницы и нумерацию станций начинают с единицы. Под секцией следует понимать участки хода между стенными или грунтовыми реперами (марками).

Контрольные вычисления производятся на каждой странице в журналах нивелирования II, III и IV классов, а также по секциям.

2.10. При измерении горизонтальных направлений на пунктах триангуляции (полигонометрии, трилатерации), имеющих наружные знаки (вехи, пирамиды, сигналы), необходимо определять элементы приведения. Графическое определение элементов приведения выполняется на стандартном бланке размером 297 ´ 210 мм (прил. 12), а при необходимости - на листах большего размера.

Элементы приведения определяются дважды - перед началом измерений и после их окончания.

2.11. Работы по инвентаризации пунктов геодезической сети, имеющие целью установить их пригодность для дальнейшего использования, оформляются в ведомости (прил. 13). Ведомость подписывается начальником или старшим геодезистом партии.

2.12. При нарушении верхнего центра пунктов государственных геодезических сетей производится его перезакладка с составлением акта (прил. 14). Прилагаемый к акту центрировочный лист составляется по форме УТ-11 (см. прил. 12).

2.13. На каждый геодезический центр, заложенный на долговременную сохранность, составляется абрис, предназначенный для отыскания центра при дальнейшем его использовании. Абрис составляется на стандартных бланках. Форма бланка пригодна для составления абриса как плановых, так и высотных геодезических пунктов. Образец абриса геодезического пункта дан в прил. 15.

2.14. Геодезические знаки следует сдавать на наблюдение за сохранностью представителям заказчика или местных Советов народных депутатов. При этом составляется акт по формуле УТ-15 (прил. 16). Список сдаваемых пунктов составляется на отдельных листах.

2.15. При первичной камеральной обработке полевой технической документации составляют:

сводки результатов наблюдений горизонтальных направлений на пункте;

схемы геодезических сетей;

ведомости вычислений рабочих координат и высот геодезических пунктов;

каталоги рабочих координат и высот геодезических пунктов.

2.16. Сводки результатов наблюдений горизонтальных направлений на специальном бланке (прил. 17) составляют при обработке измерений на пунктах триангуляции 3-го и 4-го классов. При обработке измерений на пунктах полигонометрии 4-го класса, а также разрядных сетей триангуляции и полигонометрии сводки горизонтальных направлений составляют в случаях, когда измерения ведутся внецентренно или с наблюдениями на визирные цилиндры пирамид и сигналов. Образец заполнения сводки наблюдений горизонтальных направлений дан для триангуляции 4-го класса.

2.17. Схемы геодезических сетей рекомендуется составлять на стандартном бланке по форме УТ-17 (прил. 18, образец дан для составления схем полигонометрии).

Выбор масштаба схемы определяется размерами сети и плотностью пунктов. При этом оптимальным считается расстояние между пунктами на схеме порядка 2 см.

2.18. Вычисление рабочих координат и высот геодезических пунктов производится в ведомостях, приведенных в приложениях 24 и 25 или на вычислительной бумаге.

Вычисленные значения рабочих координат и высот сводятся для удобства пользования в каталоги по форме УТ-18 (прил. 19).

3. СЪЕМОЧНЫЕ ГЕОДЕЗИЧЕСКИЕ СЕТИ

3.1. При выполнении работ по созданию съемочных геодезических сетей составляются:

журналы измерения углов, линий и технического нивелирования;

материалы компарирования мерных приборов;

схемы съемочного обоснования;

абрисы точек, закрепленных на долговременную сохранность;

ведомости вычисления координат и высот;

каталог координат и высот точек, закрепленных на долговременную сохранность.

3.2. Журнал теодолитных ходов (прил. 20) предназначен для записей результатов измерений и первичной обработки как в теодолитных, так и в тахеометрических ходах.

При проложении теодолитного хода с применением рулеток (лент) заполняются графы 1 - 6 и 10. Измерения и вычисления вертикальных углов (графы 7 - 9) производятся только при необходимости (как правило, когда теодолитные ходы прокладываются на местности с уклонами более 1,5°).

При измерении горизонтальных и вертикальных углов в тахеометрических ходах (при использовании тахеометрического хода в качестве планового и высотного съемочного обоснования) не заполняется только графа 10.

Результаты измерения углов на точках микротриангуляции и при производстве засечек записываются в графы 1 - 6 журнала теодолитных ходов. Для той же цели можно использовать журнал измерения горизонтальных направлений методом круговых приемов (прил. 3).

Измеренные и вычисленные углы при построении съемочного обоснования записываются с округлением до 0,1′, а линии - 0,01 м.

3.3. Журнал технического нивелирования дан в прил. 21.

Данные, относящиеся непосредственно к техническому нивелированию, записываются в графы 1 - 4 и 7. При проложении ходов технического нивелирования одновременно с высотной съемкой элементов ситуации заполняются все графы журнала. При этом запись отсчетов по задней и передней рейкам должна предшествовать записи отсчетов по рейкам, устанавливаемым на нивелируемых точках ситуации (промежуточные точки).

Отсчеты по рейкам записываются в миллиметрах четырьмя цифрами (например, 0090, 1235 и т.д.). Высоты точек съемочного обоснования вычисляют до 0,001 м, а высоты элементов подземных и надземных коммуникаций, полов, цоколей, приямков и других бетонных или заасфальтированных искусственных сооружений, асфальтовых покрытий дорог и улиц, спланированных поверхностей земли и элементов рельефа вычисляются с округлением до 0,01 м.

При проложении магистральных ходов технического нивелирования следует выполнять постраничный контроль, образец которого приведен в форме УТ-10 (прил. 11).

3.4. При построении высотных съемочных геодезических сетей тригонометрическим нивелированием запись результатов производится в соответствующих графах журнала теодолитных ходов (прил. 20) или в журнале измерения зенитных расстояний (прил. 4). Вертикальные углы записываются с округлением до 0,1′, а превышения - до 0,01 м.

3.5. При построении съемочных геодезических сетей компарированию подлежат мерные рулетки и ленты, оптические дальномеры.

Запись результатов компарирования, как правило, производится в журнале теодолитных ходов. Для этого выделяются 1 - 3 страницы, оформленные соответствующим заголовком с указанием даты и условий компарирования.

3.6. Журнал планово-высотной съемочной сети дан в прил. 22. Он чаще всего применяется на небольших объектах изысканий, когда записи измерений в плановых и высотных съемочных ходах целесообразно сосредоточить в одном журнале.

3.7. Схемы съемочных геодезических сетей составляют в масштабах 1:5000 - 1:2000. Выбор масштаба зависит от площади участка и плотности точек съемочных геодезических сетей. При этом стремятся к тому, чтобы размер схемы без ущерба для ее читаемости не превышал 210 ´ 297 мм. Для больших участков размеры схемы можно увеличивать до 420 ´ 297 мм. На схеме указывается масштаб изображения (точный или приближенный).

На схему плановой съемочной сети (прил. 23) наносят исходные пункты и все поворотные точки ходов (микротриангуляции и засечек). Нанесенные точки соединяют тонкими прямыми линиями с учетом принятых условных обозначений.

На схему высотной съемочной геодезической сети (прил. 24) в принятом масштабе наносят исходные пункты, узловые точки, реперы и точки, закрепленные на долговременную сохранность, точки съемочного обоснования, с которых была выполнена высотная съемка. Нанесенные точки соединяются волнистыми линиями.

На схемы плановой и высотной геодезических сетей наносят границы топографической съемки.

3.8. Вычисление координат и высот ведется в соответствующих ведомостях (прил. 25 и 26). Вычисленные угловые величины записываются с округлением до 0,1′, линейные до 0,01 м и превышения - 0,001 м. Записи в ведомостях должны быть четкими, выполняться тушью или пастой.

Ведомости брошюруются в тетради и оформляются титульным листом, на оборотной стороне которого дается оглавление.

Каталог координат и высот точек съемочной геодезической сети (прил. 27) включает в себя только точки, закрепленные на долговременную сохранность.

В ведомости вычисления координат, а также в каталоге координат и высот закрепленных точек трасс линейных сооружений рядом с графой «Дирекционные направления» добавляется графа «Румб линии».

Абрисы точек съемочной геодезической сети, закрепленных на долговременную сохранность, вычерчиваются по форме УТ-14 (прил. 15).

4. ТОПОГРАФИЧЕСКАЯ СЪЕМКА

4.1. При производстве топографической съемки ведутся: абрисы и журналы топографической (горизонтальной, высотной, мензульной, тахеометрической, фототеодолитной и аэрофототопографической) съемки; схемы расположения планшетов; сводки по рамкам; акты полевой проверки и приемки работ; корректурные листы; кальки контуров и высот.

4.2. При съемке способами перпендикуляров и засечек, полярным и комбинированным составляется абрисный журнал (прил. 28). Абрис представляет собой безмасштабный ориентированный по местным предметам чертеж участка местности с результатами линейных и угловых измерений, выполненных для съемки элементов ситуации.

К составлению абриса предъявляются следующие основные требования:

снимаемые элементы ситуации и вспомогательные линии отображаются аккуратно и четко, при этом элементы ситуации выделяются утолщенными линиями;

отсчеты по линиям между точками съемочного обоснования приводятся с нарастающим итогом в направлении промера; у начальной точки записывается отсчет «00», а у конечной - общая длина линии;

длины линейных засечек записываются вдоль линий, проведенных между точками съемочной сети и снимаемыми точками;

при полярном способе съемки результаты измерения углов и линий можно записывать непосредственно на прочерчиваемых в абрисе направлениях полярных лучей. Если с одной точки стояния снимается большое число контурных точек, целесообразно, придав им условную нумерацию, результаты измерений записать в виде таблицы на свободном месте листа абриса;

расположение контуров относительно друг друга должно соответствовать натуре. При зарисовке абриса целесообразно располагать снимаемый контур полностью на одном листе. Если к снимаемому контуру непосредственно примыкают детали ситуации (отмостки, заборы, колодцы, газоны и др.), то для облегчения последующего составления плана на одном листе абриса зарисовывается как снимаемый контур, так и примыкающие к нему детали. В случаях, когда съемка одного контура производится на разных страницах абриса или в разных абрисных книжках, необходимо дать взаимно адресованные пояснительные надписи примерно следующего содержания: «См. также стр. 5», или «См. стр. 6 абриса № 3».

4.3. Журнал мензульной съемки (прил. 29) рассчитан на применение кипрегелей полуавтоматов типа КА-2 и КН. В журнал записываются:

номера пикетов (на каждой станции пикеты нумеруются порядковыми цифрами, начиная с единицы);

описания пикетов, при этом применяются краткие названия снимаемых контуров: луг, лес, пашня, КЖ, Ж, колодец, столб и др.;

расстояния от точки стояния до снимаемого контура. При съемке всех контуров в масштабах 1:500 - 1:1000 и четких контуров в масштабе 1:2000 расстояния записываются с округлением до 0,1 м, при съемке нечетких контуров в масштабе 1:2000 и всех контуров в масштабе 1:5000 расстояния записываются с округлением до 1 м; при съемках с высотой сечения 0,5 и 1 м превышения записываются с округлением до 0,01 м, а при съемках с большей высотой сечения - 0,1 м;

высоты наведения и инструмента записываются для каждого пикета до 0,01 м. Высоты пикетов выписываются с округлением, принятым при записи превышений.

В примечаниях записывают при необходимости особенности снимаемых контуров, не отраженные в графе «Описания пикетов».

4.4. Высотную съемку застроенных территорий документируют одним из следующих способов:

изготовляют копию планов горизонтальной съемки, на которой нумеруют все подлежащие высотной съемке контуры, результаты высотной съемки записывают и обрабатывают в журнале технического нивелирования (см. прил. 21);

в абрисном журнале (см. прил. 28) нумеруют контуры, подлежащие высотной съемке, а запись превышений и вычислений высот ведут в журнале технического нивелирования;

запись отсчетов при нивелировании контуров, а также вычисление высот производят непосредственно в абрисе горизонтальной съемки. В этих случаях абрис должен составляться с разреженной плотностью контуров.

4.5. Журнал тахеометрической съемки (прил. 30) предназначен для записей расстояний, измеренных по нитяному дальномеру, и высот, определенных тригонометрическим нивелированием.

Расстояния записывают с округлением до 0,1 м при съемке в масштабах 1:500, 1:1000 и 1:2000, а при съемках в масштабе 1:5000 - с округлением до 1 м. Поправка и измеренное расстояние за угол наклона вводится, если угол наклона превышает 3°.

Величина h′ = stg a записывается в графу 13, а конечный результат - в графу 15. Округление превышений производится по правилам, принятым для мензульной съемки.

На каждой станции ведется абрис местности с соблюдением следующих правил:

примерно в центре абриса наносится точка стояния, от которой вычерчивается ориентирная линия (направление на точку наведения, которому соответствует отсчет по горизонтальному кругу, равный 0° 00′);

относительно ориентирной линии и с соблюдением взаимного местоположения наносятся все снимаемые пикеты;

снимаемые точки (пикеты) нумеруются порядковыми цифрами, начиная с единицы;

границы нечетких контуров (лес, луг, пашня и др.) показываются проведенным от руки пунктиром, а четких контуров - прямыми линиями, проведенными по линейке;

пикеты, набранные по линиям тальвегов и водоразделов, соединяются пунктирной линией, а направления склона показываются стрелками.

При координировании ответственных контуров полярным методом с одновременной высотной съемкой застроенной территории рекомендуется использовать специальный журнал, форма которого приведена в прил. 31.

4.6. Журнал фототеодолитной съемки (прил. 32) предназначен для записи результатов измерений при привязке базисов фотографирования методами прямой, обратной и комбинированной засечек с передачей высот тригонометрическим нивелированием. Величины горизонтальных и вертикальных углов записываются и вычисляются с округлением до 0,1′. При измерении углов двумя приемами запись отсчетов целесообразно вести на развороте листа.

При измерении базиса фотографирования рулеткой значение его длины записывается в конце таблицы, в графе «Измерение базиса», с пометкой «Измерен рулеткой». В этом случае прочие графы таблицы останутся незаполненными.

4.7. Журнал зарисовки контрольных пунктов (прил. 33) и журнал маркирования опознаков (прил. 34) используются соответственно при фототеодолитной и аэрофототопографической съемках.

4.8. Составленные топографические планы подлежат корректуре. Результаты корректуры отражаются в корректурных листах (прил. 35). Замечания корректора должны иметь характер четких указаний исполнителю о необходимости дополнительных, повторных и уточняющих действий для ликвидации ошибок или неточностей. Например, «Доснять ю-з границу контура леса», «Уточнить назначение контура...» Недопустимо, чтобы корректурные замечания имели вопросительную форму или позволяли неоднозначное толкование.

4.9. Кальку контуров и высот составляют при съемках в масштабах 1:2000 и 1:5000. На малоконтурных участках незастроенных территорий высоты и контуры наносят на одну кальку. При большой контурности составляют раздельные кальки контуров и высот.

На кальку контуров (прил. 36) наносят все снятые элементы ситуации, точки планового съемочного обоснования, включая точки мензульных ходов и переходные точки.

На кальку высот (прил. 37) наносят все фактические отметки, точки высотного обоснования и контрольные пикеты.

На кальках контуров и высот координатную сетку, элементы ситуации, рельефа и точки обоснования наносят черной тушью, а контрольные пикеты - красной.

4.10. Контуры ситуации и горизонтали, отображающие рельеф, по рамкам каждого планшета сводятся с соответствующими контурами и горизонталями смежных планшетов. При этом не должно быть неоправданных изломов ситуации или резких изгибов горизонталей.

Сводки (прил. 38) составляют для южной и восточной рамок плана на полосе кальки шириной до 10 см и длиной 55 - 60 см. Посередине проводится линия сводки и наносятся выходы координатной сетки. Элементы ситуации и рельефа копируются на кальку в пределах до 2 см от рамки каждого сводимого планшета.

Величины расхождений при сводках на плане не должны превышать: для капитальных зданий и сооружений - 0,8 мм; для контуров - 2 мм; для горизонталей - величины принятого сечения рельефа. В горных и залесенных районах величины этих допусков могут быть в 1,5 раза больше.

Все элементы ситуации и рельефа копируются тушью в принятых по условным знакам цветах. Исправленные (средние) положения контуров и горизонталей прорисовываются красной тушью или показываются пунктиром. На сводку выписываются номенклатура сводимых планшетов и названия рамок.

4.11. Каждый планшет топографической съемки должен быть проверен и принят в поле начальником партии (отряда) или старшим специалистом.

При приемке производят сличение содержания плана с местностью и набор контрольных пикетов. Результаты проверки и приемки планшетов отражаются в акте (прил. 39). Акт составляется, как правило, на каждый полный планшет топографической съемки.

4.12. Схема расположения планшетов (прил. 40) составляется, как правило, в масштабе 1:10000. На схему наносят границу топографической съемки и границы планшетов с указанием их номенклатуры и масштаба выполненной съемки.

5. СЪЕМКА ПОДЗЕМНЫХ КОММУНИКАЦИЙ

5.1. При съемке подземных коммуникаций составляются: абрисы съемки; журналы нивелирования и обследования колодцев (шурфов); схемы отрекогносцированных сетей.

5.2. При наличии специального задания производится детальное обследование колодцев, составляется соответствующий журнал и каталоги колодцев инженерных коммуникаций.

5.3. Нивелирование подземных коммуникаций включает определение высот обечаек (верха чугунного кольца люка колодцев), земли или мощения у колодца, а также высот расположенных в колодке труб, кабелей и каналов.

Высоты обечаек определяют по двум сторонам рейки методом технического (геометрического) нивелирования. Высоты земли (мощения) у колодцев определяют по одной стороне рейки.

Результаты нивелирования записываются в журнал технического нивелирования (прил. 21).

5.4. Журнал обследования колодцев подземных коммуникаций и шурфов (прил. 41) составляется по форме УТ-51. В журнале фиксируются технические характеристики обследуемой коммуникации, а также ее планово-высотное положение относительно центра люка колодца или юго-западного угла камеры (шурфа). Журнал составляется в процессе рекогносцировки и обследования колодцев (камер) подземных коммуникаций или шурфов, вскрытых специально для этих целей. В журнале записывают результаты плановой привязки к центру люка входящих и выходящих прокладок, выполняемой при съемке подземных коммуникаций в масштабах 1:500 и 1:1000. Габариты колодцев (камер) для последующего нанесения на план определяют, если их площадь в натуре не менее 4 м2 при съемке в масштабе 1:500 и 9 м2 - при 1:1000. При съемках в масштабах 1:2000 и 1:5000 габариты колодцев и камер не определяются. Результаты обмеров и привязки прокладок показывают на схематическом чертеже колодца (камеры, шурфа), ориентированном по направлениям на смежные колодцы (вводы в здания, шурфы и др.). При обследовании колодцев (шурфов) определяют и записывают в журнал материал труб и их внутренние диаметры. Глубину заложения верха труб (дна лотков, верха и низа каналов) измеряют относительно обечайки с округлением до 0,01 м. По результатам измерения глубин заложения и высоте обечайки, выписываемой из журнала технического нивелирования, вычисляют и записывают в журнал высоты занивелированных элементов подземных коммуникаций.

5.5. Журнал детального обследования колодцев (камер) подземных коммуникаций (прил. 42) содержит данные и сведения, позволяющие получить полные технические характеристики обследуемых сетей, а также составить в масштабе 1:25 или 1:50 обмерный чертеж колодца (камеры) и расположенных в нем прокладок с их конструктивными деталями. Результаты детального обследования записываются на двух чертежах: плане и разрезе колодца. При обследовании сложных камер с большим числом прокладок составляется 2 - 3 разреза. Трубные прокладки вычерчиваются двумя параллельными линиями с соблюдением примерной разницы в диаметрах труб. Видимые элементы прокладок вычерчиваются сплошными линиями, а закрытые - пунктирными. На плане проводится линия разреза, т.е. след сечения колодца вертикальной плоскостью, на которую проектируются прокладки и их конструктивные элементы. Стрелки на линии разреза указывают направление проектирования.

На плане колодца указываются направления на смежные колодцы или узлы. В журнале приводятся данные о диаметре и материале колодца и его крышки, а также вычисленные отметки всех прокладок. При детальном обследовании сложных колодцев или камер все полевые измерения и зарисовки целесообразно вести на развернутом листе абрисного журнала, где размеры чертежей можно увеличить.

5.6. Журнал съемки подземных коммуникаций и сооружений (прил. 43) предназначен для записи результатов измерений при привязке бесколодезных углов поворота, вводов и выпусков.

Абрис съемки инженерных коммуникаций составляется по тем же правилам, что и абрис горизонтальной съемки с учетом следующих особенностей:

снимаемые коммуникации вычерчиваются по линейке утолщенными линиями. Над линией указываются назначение коммуникации, диаметр и материал труб (марка кабеля при необходимости);

все точки привязки нумеруются порядковыми номерами таким образом, чтобы не повторялись номера точек, снимаемых на одной станции;

на каждой станции подсчитывается число снятых точек, а в конце журнала проставляется их итоговая сумма.

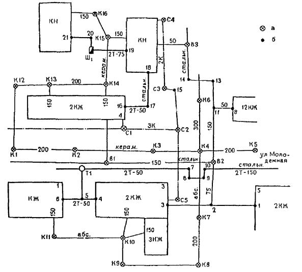
5.7. В результате обследования колодцев (шурфов) и съемки скрытых элементов подземных коммуникаций (поворотов, примыканий, вводов) составляется схема отрекогносцированных сетей (прил. 44). На схему наносят: все колодцы (шурфы) и снятые элементы подземных коммуникаций с их номерами; здания и сооружения, связанные с подземными коммуникациями; линии прокладок между колодцами, шурфами или элементами подземных коммуникаций с указанием материала и диаметра труб, а для кабельных прокладок - числа кабелей. Условными обозначениями указывается назначение коммуникаций, а для кабельных прокладок - разделение их на высоковольтные (с напряжением 1 кВ и более) и низковольтные. При съемке подземных коммуникаций на территории крупных промышленных предприятий все работы целесообразно выполнять по видам сетей, соответственно чему концентрируется полевая документация. Схема отрекогносцированных сетей при этом составляется на каждый вид коммуникаций отдельно. Схема отрекогносцированных сетей согласовывается с представителями эксплуатирующих организаций.

5.8. Каталоги колодцев подземных коммуникаций составляются, как правило, на планы с плотной сетью коммуникаций во избежание перегрузки планов избыточной информацией. При этом на планах каждому колодцу присваивается номер, а высоты, характеризующие глубины заложения труб, не показываются.

Каталоги могут составляться по площадному или технологическому принципам. В первом случае колодцы в каталоге размещают по возрастающим номерам независимо от назначения коммуникации. Во втором - для каждого вида коммуникаций составляется свой каталог колодцев.

В каталог включаются следующие сведения: номер колодца; координаты центра люка; номенклатура планшета, где расположен колодец; назначение сети; диаметры труб в колодце; материал труб (марка кабеля); высоты обечайки, земли (мощения) у колодцев, верха труб (дна лотков, верха и низа каналов); материал колодца; схема расположения труб (кабелей) с ориентировкой на смежные колодцы или обслуживаемые здания.

Каталоги оформляются на листах, изготовленных типографским способом. На каждом из них помещаются сведения не более чем по четырем колодцам. Заполненные листы брошюруются в альбом объемом не более 100 листов каждый.

Образец заполненного листа каталога дан в прил. 45.

6. СЪЕМКА НАДЗЕМНЫХ КОММУНИКАЦИЙ

6.1. При съемке надземных коммуникаций составляется следующая документация:

журнал обследования воздушных линий электропередач и связи и измерения высоты подвеса проводов (прил. 46);

журнал обследования и нивелирования опор (эстакад) надземных коммуникаций (прил. 47);

ведомость воздушных линий электропередач и связи (прил. 49); ведомость надземных коммуникаций (прил. 50).

6.2. В журнал обследования воздушных линий и измерения высоты подвеса проводов записываются:

номера опор (при этом опорам можно придать условную, единую для всего объекта изысканий нумерацию; если в натуре опоры замаркированы, то для нумерации рекомендуется использовать эту маркировку);

основное назначение линий, число проводов (трос заземления в число проводов не включается) и материал опоры. Воздушные линии по основному назначению делят на линии связи (ЛЭС), линии электропередач (ЛЭП) - высоковольтные и низковольтные. ЛЭП высокого напряжения следует характеризовать величиной напряжения;

значения измеренных вертикальных углов и базиса, используемых для вычисления высот подвеса верхнего и нижнего проводов. Вертикальные углы записываются с округлением до 1°, а длина базиса - 0,01 м. Если МО превышает 5′, то его величину следует учитывать при вычислении высот подвеса проводов. При определении высоты подвеса проводов связи длинномерными рейками (непосредственно) колонки журнала, предназначенные для записей результатов измерения вертикальных углов и базиса, не заполняются, а величина подвеса проводов записывается непосредственно на эскизе опоры, приводимом в журнале;

высоты подвеса проводов, вычисляемые с округлением до 0,1 м.

6.3. Журнал обследования и нивелирования опор (эстакад) составляется при выполнении съемки надземных коммуникаций на территориях действующих промышленных предприятий.

Основной частью журнала является эскизный чертеж опоры (эстакады), представляющий собой ориентированный по местным предметам и глазомерно составленный вертикальный разрез опоры (эстакады) с расположенными на ней коммуникациями. На разрезе показываются основные конструктивные элементы опоры (эстакады). Коммуникации рисуются в виде кружков примерно на своих местах. Разница в диаметрах труб иллюстрируется изменением размера кружков. Коммуникации нумеруются порядковыми номерами. На эскизе приводятся высота основания опоры, выбираемая из журнала технического нивелирования, и габаритный размер, измеряемый в натуре.

Ориентирование эскиза иллюстрируется чертежом плана опоры, на котором показываются направления на смежные опоры и здания.

В журнале приводятся внутренний диаметр труб, материал труб, основное назначение коммуникаций.

Трубопроводы, расположенные на опорах (эстакадах) промышленных предприятий, по своему основному назначению целесообразно разделить на четыре группы в соответствии с табл. 1.

Кабельные линии по основному назначению классифицируются на: кабели связи - условный знак «С» (телефон, радио, КИП и автоматика и др.); высоковольтные кабельные линии с напряжением 1 кВ и более - условный знак «в/в»; низковольтные кабельные линии - условный знак «н/в».

Таблица 1

№ п.п.

Трубопроводы

Условный знак

Назначение трубопроводов

1

Теплопроводы

Т

Трубопроводы отопления, технологические паропроводы, горячее водоснабжение, конденсат

2

Материалопроводы

Мт

Бензо-, нефте-, мазуто-, кислото-, рассолопроводы; трубопроводы различных химреагентов и сыпучих материалов

3

Газопроводы

Г

Трубопроводы горючих газов и воздухопроводы

4

Водопроводы технические

В

Водопроводы речной, умягченной, осветленной воды, оборотное водоснабжение

6.4. При необходимости выполнения детального обследовании опор (эстакад) составляется журнал по форме УТ-42 (прил. 48).

7. ТРАССИРОВАНИЕ ВНЕПЛОЩАДОЧНЫХ КОММУНИКАЦИЙ

7.1. Трассы внеплощадочных коммуникаций по их назначению можно условно разделить на три вида:

наземные (автомобильные и железные дороги, трамвайные пути, каналы водоснабжения и др.);

подземные (водопроводы, нефтепроводы, газопроводы, канализация, паропроводы, кабельные линии и др.);

воздушные (канатно-подвесные дороги, линии электропередачи, трубопроводы на опорах и др.).

7.2. При изысканиях трасс внеплощадочных коммуникаций используются: пикетажный журнал (прил. 51), журналы теодолитных ходов (см. прил. 20), технического нивелирования (см. прил. 21), мензульной и тахеометрической съемок (см. прил. 29 и 30), журнал обследования воздушных линий и измерения высоты подвеса проводов (см. прил. 46).

7.3. Основной документацией при изысканиях трасс внеплощадочных коммуникаций являются продольные профили и планы, которые составляются на отдельных листах высотой 297 мм и оформляются штампом выпускающей организации в правом нижнем углу чертежа.

7.4. В зависимости от протяженности коммуникаций чертежи плана и продольного профиля трассы могут выполняться на нескольких листах со ссылкой на чертежи прилегающих участков.

7.5. Пикетаж на плане трассы независимо от его ориентирования должен располагаться слева направо.

Порядковое расположение пикетов на продольном профиле должно соответствовать расположению пикетов на плане трассы.

7.6. Масштабы планов и высоты сечения рельефа топографических съемок трасс в зависимости от их назначения принимаются по табл. 1 Инструкции по инженерным изысканиям для промышленного строительства (СН 225-79).

7.7. Масштабы продольных профилей рекомендуется принимать следующие:

для линейных объектов значительного протяжения - 1:10000 или 1:5000 с добавлением при необходимости профилей отдельных сложных участков в более крупном масштабе;

для объектов небольшого протяжения или на участках сложных переходов 1:2000, 1:1000.

7.8. Планы и профили переходов (сложных участков) помещаются на одном чертеже и выполняются в одном масштабе.

При большой протяженности перехода (сложного участка) план и профиль могут размещаться на отдельных чертежах.

7.9. При вычерчивании продольного профиля на нескольких листах наименование элементов сетки, масштабы и указания о том, в какой системе высот и на основании каких материалов составлен продольный профиль, помещаются только на первом листе.

7.10. Продольный профиль проектируемой автомобильной дороги и железнодорожных путей составляется в соответствии с прил. 53 и 55, а по реконструкции дороги и железнодорожного пути - по прил. 54, 56.

Продольные профили составляются, как правило, в абсолютных отметках. При составлении профиля в условных отметках указывается порядок перевода их в абсолютные.

На профиле показывают натурную линию поверхности земли и проектную линию земляного полотна, отнесенные к оси трассы, а при реконструкции - также линию поверхности существующей дороги или головки рельса существующего пути, изображаемые соответственно тонкой основной и тонкой штриховой линиями.

На надпрофильную часть чертежа наносят обозначения и привязку реперов, переездов, сооружений для пропуска воды, направление водоотвода, рабочие отметки насыпи.

При большом количестве плюсовых точек на пикете в надпрофильной части чертежа помещают таблицу натурных, проектных и рабочих отметок и соответствующих расстояний.

В случае сложного водоотвода отметки дна и уклоны кюветов и резервов даются с обеих сторон дороги в соответствии с сеткой, приведенной в нижнем левом углу прил. 53.

Отметки указывают в метрах с двумя десятичными знаками, а для реперов - с тремя десятичными знаками.

На ординатную часть чертежа наносят: привязки пересекаемых и примыкающих автомобильных дорог, железнодорожных путей, инженерных сетей и коммуникационных сооружений, рабочие отметки выемки, геологические данные - для вновь проектируемых дорог и железнодорожных путей в 2 см от линии поверхности земли, по реконструкции - в соответствующих графах продольных профилей.

На схематическом плане отражается ситуация местности и общая конфигурация участка трассы, указываются все переходы через естественные и искусственные препятствия, границы угодий.

В графе «Прямые и кривые в плане, км» величины углов поворота трассы указывают в градусах и минутах с округлением до 1, выписываются длины прямых вставок в метрах с двумя десятичными знаками и указывается румб линии.

Проектные километры разбиваются с учетом рубленых пикетов и ведомости сквозного километража с привязкой в расстоянии до ближайшего пикета, вписываются элементы углов поворота.

7.11. Продольные профили по трассам трубопроводов (водовод, канализация, паропроводы и т.д.) оформляются по сетке профиля, приведенного в прил. 57, по трассам линии электропередачи - по прил. 58.

На профиле показывают отнесенную к оси трассы натурную линию поверхности земли.

При большом количестве плюсовых точек на пикете в надпрофильной части чертежа помещают таблицу значений натурных отметок и расстояний (таблицу выноски отметок на прил. 53). Делается пометка о детали перехода.

На ординатную часть чертежа наносят привязки и отметки пересекаемых инженерных сетей и коммуникационных сооружений.

На развернутом плане показывается ситуация местности трассы, границы угодий и административных районов.

По трассам линии электропередач на продольном профиле в графах «Левый профиль» и «Правый профиль» отметки выписываются на косогорных участках, если отметки точек оси трассы отличаются от отметок точек земли под крайними проектируемыми проводами по поперечнику на 0,4 м и более.

Горизонтальные расстояния по поперечнику в каждую сторону от оси трассы линии электропередачи принимаются: для ЛЭП 35 кВ - 4 м; 110 кВ - 5 м; 220 кВ - 10 м; 330 кВ - 11 м; 500 кВ - 14 м; 750 кВ - 20 м.

На профилях выписываются номера углов, пикетажное положение и величины углов поворота, расстояния между углами и румб линии.

Инженерно-геологические данные наносятся на профили по трассам трубопроводов (см. прил. 57) на 2 см ниже линии поверхности земли, по трассам линии электропередач - вдоль линии земли.

Инженерно-геологические данные на продольные профили трасс трубопроводов наносятся аналогично трассам линий электропередач.

7.12. План трассы кабельной линии, приведенный в прил. 59, концентрирует в себе всю основную информацию о трассе.

План создается главным образом на основе топографических карт или районных землеустроительных планов, а также фотопланов. На этом плане обозначается окончательно изысканная трасса кабельной линии и освещается выявленная в процессе изысканий ситуация. Наносятся все пересечения с инженерными сооружениями.

По подземным коммуникациям на сносках указываются их наименование, марка (тип), диаметр, глубина заложения, владелец, его адрес и телефон.

Таблица 2

Наименование ведомостей

Дороги

Трубопроводы

ЛЭП

Кабельные линии

Ссылка на номер приложения

железные

автомобильные

1

2

3

4

5

6

7

Углов поворота, прямых и кривых

+

+

-

-

-

60

Прямых и углов

-

-

+

+

+

61

Закрепления трассы

+

+

+

+

+

62

Реперов

+

+

+

-

-

63

Пересекаемых угодий

+

+

+

+

+

64

Пересекаемых инженерных сооружений

+

+

+

+

+

65

Пересекаемых электролиний и линий связи

-

-

-

-

-

66

Съездов и переездов

-

+

-

-

-

67

Болот

+

+

+

-

-

68

Строений, подлежащих сносу

+

+

+

+

-

69

Состояния существующей дороги с промерами толщины одежды и основания (при реконструкции автомобильных дорог)

-

+

-

-

-

70

Существующих автомобильных дорог в районе трассы ВЛ

-

-

-

+

-

71

По пересечениям, на которые выполнены детальные чертежи, делается сноска с указанием номера детали.

В графической легенде к чертежу и специальных графах даются сведения о землепользованиях, угодьях. Приводятся основные инженерно-геологические характеристики (литологическая карта поверхности, коррозионная активность грунта, глубина уровня грунтовых вод и т.п.). Кроме того, в легенде предусматриваются соответствующие графы проектного характера.

7.13. В зависимости от назначения трасс линейных сооружений в табл. 2 приведен примерный перечень ведомостей, которые даны в прил. 60 - 71.

ПРИЛОЖЕНИЕ 1

ОБРАЗЦЫ СТРАНИЦ ПОЛЕВОГО ЖУРНАЛА

А. ТИТУЛЬНЫЙ ЛИСТ

_________________________________Поле 1_________________________________

__Поле 2__

_________________________________Поле 3_________________________________

___________Поле 4___________

___________Поле 5___________

________________Поле 6______

__________________________________Поле 7__________________________________

ПОСЛЕДНЯЯ СТРАНИЦА ЖУРНАЛА

В журнале пронумеровано 47 стр.

Начальник партии Петров В. И.________________________

(должность, фамилия, подпись)

«16» марта 1981 г.

В журнале заполнено 45 стр.

Производитель работ _____________________________

(подпись)

Журнал проверен

___________________________ст. инженер Котов П. В.__________________________

(должность, фамилия, подпись)

«10» апреля 1981 г.

Журнал принят

________________________Начальник партии Петров В. И._______________________

(должность, фамилия, подпись)

«12» апреля 1981 г.

ПРИЛОЖЕНИЕ 2

Форма УТ-1

(Обложка журнала)

_______________________________Госстрой СССР_____________________________

(министерство, ведомство)

_________________________________ПНИИИС________________________________

(организация)

_______________________________Альметьевская______________________________

(экспедиция, партия, отряд)

Триангуляция ______4 класса______

1981 г.

Объект ___г. Альметьевск_______

Участок _______-______________

Договор _____15____________

ЖУРНАЛ 1_
РЕКОГНОСЦИРОВКИ ТРИАНГУЛЯЦИОННЫХ ПУНКТОВ

Производитель работ Петров И. В.

Начальник партии (отряда) Жуков П. И.

Нашедшего журнал просим вернуть по адресу Москва, Окружной проезд, 18

Форма УТ-1

(Оборотная сторона обложки)

ОГЛАВЛЕНИЕ

№ п.п.

Название пункта

Страница

1

Ивановка

4

Форма УТ-1

(3-я страница журнала)

Таблица поправок за кривизну Земли и рефракцию, м

S, км

, 0

, 2

, 4

, 6

, 8

1

0,1

0,1

0,1

0,2

0,2

2

0,3

0,3

0,4

0,5

0,5

3

0,6

0,7

0,8

0,9

1,0

4

1,1

1,2

1,3

1,4

1,6

5

1,7

1,8

2,0

2,1

2,3

6

2,4

2,6

2,8

2,9

3,1

7

3,3

3,5

3,7

3,9

4,1

8

4,3

4,5

4,8

5,0

5,2

9

5,5

5,7

6,0

6,2

6,5

10

6,7

7,0

7,3

7,6

7,9

Форма УТ-1

(разворот на 4-й и 5-й страницах)

СХЕМА ОТРЕКОГНОСЦИРОВАННОЙ СЕТИ

Форма УТ-1

(6, 10, 14-я и т.д. стр. журнала)

___ __________ 19__ г.

Название пункта __Ивановка_________________________________________________

Класс _3_

Республика, край (область), район, сельсовет РСФСР____________________________

______Смоленская обл., Ярцевский р-н________________________________________

Название ближайшей к пункту железнодорожной станции или пристани, расстояние до них _____г. Ярцево, 3 км_____________________________________________________

Пункт намечен на новом месте

Пункт намечен на месте пункта ____-____ класса ______-_____

Триангуляции (назв. класс) _________-_________________________________________

исполненной _____________________-_________________________________________

Состояние старого знака, сведения о старом центре _________-____________________

__________________________________________________________________________

Строительные работы на пункте:

1. Постройка знака: тип ___пирамида__________________________________________

высота до столика ______2,5 м__

общая высота ________7 м_____

2. Закладка центра (тип центра) __2 г. р._________________________________________

3. Необходимый ремонт и приспособления старого знака (местного предмета) _________нет______________________________________________________________

4. Прочие строительные работы _заложены два ориентирных пункта_

Форма УТ-1

(7, 11, 15-я и т.д. стр. журнала)

АБРИС МЕСТОПОЛОЖЕНИЯ ПУНКТА И ПОДЪЕЗДА К НЕМУ

 

Форма УТ-1

(8, 12, 16-я и т.д. стр. журнала)

Описание местоположения пункта

и подъезда к нему ______________Ивановка___________________________________

Пункт расположен в 2,5 км южнее дер. Ивановки, в 150 м западнее грунтовой дороги между дер. Ивановкой и с. Михеево, в 420 м к северо-западу от кустов лозняка.

Форма УТ-1

(9, 13, 17-я и т.д. стр. журнала)

Чертеж направлений с пункта ____Ивановка___________________________________

ЗАРИСОВКА МЕСТНЫХ ПРЕДМЕТОВ,
СУЩЕСТВУЮЩИХ ТРИАНГУЛЯЦИОННЫХ ЗНАКОВ
И СЕКТОРОВ ВИДИМОСТИ

Зарисовка произведена с высоты 1,6 м над поверхностью земли.

ПРИЛОЖЕНИЕ 3

Форма УТ-2

(Обложка журнала)

_______________________________Госстрой СССР_______________________________

(министерство, ведомство)

_________________________________ПНИИИС_________________________________

(организация)

_______________________________Альметьевская_______________________________

(экспедиция, партия, отряд)

Триангуляция ______4________________________________ класса

Полигонометрия ______-____________________________ класса

1981 г.

Объект ___г. Альметьевск_________________________

Участок ___-________ Договор № _15_

ЖУРНАЛ № 1_
ИЗМЕРЕНИЯ ГОРИЗОНТАЛЬНЫХ НАПРАВЛЕНИЙ
КРУГОВЫМИ ПРИЕМАМИ

Инструмент ____Теодолит Т2____ № 15453

Цена 1-го деления шкалы оптического микрометра = _1″

«Рен» = + 0″6, дата определения «15» мая 1981 г.

Производитель работ Петров И. В._______

Начальник партии      Жуков П. И._______

Нашедшего журнал просим вернуть по адресу Москва, Окружной проезд, 18

Форма УТ-2

(Оборотная сторона обложки)

ОГЛАВЛЕНИЕ

№ п.п.

Название пункта

Страница

1

Моховое (таблица направлений)

1

2

Моховое (измерение направлений)

5

Форма УТ-2

(3 - 7-я страницы журнала)

Пункт Моховое_____

Тип знака металлическая пирамида. Год постройки 1972 г.

Высота над маркой верхнего центра:

столика для инструмента                            _-_ м

горизонтальной оси инструмента              1,40 м

верха визирной цели                                    5,65 м

Таблица направлений                                     °                   

1. Ивановка______________________________                 0        00     00,0_____________

2. Березка_______________________________                  71      48     22,0_____________

3. Гора__________________________________                 107    17     46,9_____________

4. Башня________________________________                   183    34     06,4_____________

5. ______________________________________                  __________________________

6. ______________________________________                  __________________________

7. ______________________________________                  __________________________

8. ______________________________________                  __________________________

Ориентирный пункт, d = 583,4 м                                          92°     00′      24″_____________

ЧЕРТЕЖ НАПРАВЛЕНИЙ

Форма УТ-2

(8-я и последующие страницы журнала)

Пункт Моховое                                                              Прием 1__

Дата 15.07.78 t = 15 °С                                              Погода: ясно, ветер слабый____

Время 16 ч 40 мин                                                     Изображение спокойное_______

Название направления

Круг

Отсчет по штрихам лимба

Отсчеты по микрометру

1 + а2) /2

(Л + П) /2

Направления

а1

а2

°

°

Ивановка

Л

60

01

10,2

10,6

10,4

12,2

0

00

00,0

П

240

01

13,8

14,2

14,0

- 0,9

 

 

 

Березка

Л

131

49

32,0

32,4

32,2

35,2

71

48

22,1

П

311

49

38,4

38,0

38,2

- 1,8

 

 

 

Гора

Л

167

18

59,6

60,0

59,8

61,0

107

17

47,0

П

347

19

09,8

02,4

02,1

- 2,8

 

 

 

Башня

Л

243

35

19,0

19,0

19,0

21,4

183

34

06,4

П

63

35

23,6

24,0

23,8

- 3,7

 

 

 

Ивановка

Л

60

01

14,6

14,8

14,7

15,9

 

 

 

П

240

01

17,2

17,0

17,1

 

 

 

 

Незамыкание Dл = + 4,3; Dп = + 3,1; Dор = + 3,7

ПРИЛОЖЕНИЕ 4

Форма УТ-3

(Обложка журнала)

_______________________________Госстрой СССР_______________________________

(министерство, ведомство)

_________________________________ПНИИИС_________________________________

(организация)

_______________________________Альметьевская_______________________________

(экспедиция, партия, отряд)

Триангуляция 4 класса

1981 г.

Объект г. Альметьевск

Участок _____-_____ Договор № 15

ЖУРНАЛ № 1_
ИЗМЕРЕНИЯ ЗЕНИТНЫХ РАССТОЯНИЙ

Инструмент Теодолит Т215453

Точность отсчета по вертикальному кругу 1″

Цена деления уровня 12″

Производитель работ Петров И. В.

Начальник партии      Жуков П. И.

Нашедшего журнал просим вернуть по адресу Москва, Окружной проезд, 18___

Форма УТ-3

(Оборотная сторона обложки)

Формулы вычисления зенитных расстояний

ОГЛАВЛЕНИЕ

№ п. п.

Наименование пунктов

Страница

1

Высокое

1

Форма УТ-3

(Страница журнала)

Пункт Высокое                                                                     Прием 1__

Дата 26.06                                                                        Погода: ясно, ветер слабый

Время 11 ч 30 мин                                                          Изображение: колеблющееся

Название направления, место наведения

Круг

Отсчеты по вертикальному кругу

Среднее

Mr (Mo)

Z (a)

I

II

°

°

°

°

Рыбное

Л

88

25

24

24

88

25

24

359

59

29

88

25

55

Верх. виз. ц.

П

271

33

35

34

271

33

34

Городище

Л

91

58

52

52

91

58

52

359

59

28

91

59

23

Верх. виз. ц.

П

268

00

05

05

268

00

05

ПРИЛОЖЕНИЕ 5

Форма УТ-4

(Обложка журнала)

_______________________________Госстрой СССР_____________________________

(министерство, ведомство)

_________________________________ПНИИИС_________________________________

(организация)

_______________________________Альметьевская______________________________

(экспедиция, партия, отряд)

Полигонометрия 1-го разряда

1981 г.

Объект г. Воскресенск

Участок ПО «Минудобрений» Договор № 70

ЖУРНАЛ № 3_
ИЗМЕРЕНИЯ ПАРАЛЛАКТИЧЕСКИХ УГЛОВ

ТЕОДОЛИТ Т2 01351

ЖЕЗЛ Бала144

Рен - 0″,6                                                                       Дата определения 15.07.81 г.

Производитель работ Петров И. В.

Начальник партии      Жуков П. И.

Нашедшего журнал просим вернуть по адресу Москва, Окружной проезд, 18

Форма УТ-4

(Оборотная сторона обложки)

ОГЛАВЛЕНИЕ

№ п.п.

№ точек хода

Страница

1

21 - 23

1

Форма УТ-1

(3-я страница журнала)

СХЕМА ХОДОВ

Форма УТ-4

(Страница журнала)

Дата 1.06                                                                            Линия пз 21 - пз 23___________

Погода ясно                                                                       Изображение - спокойное_____

Точка стоянки

№ марок

Отсчеты

Среднее

Рен

Исправленные отсчеты

Углы

Схема звеньев

°

°

1

2

38

03

45,5

03

45,4

+ 0,2

45,6

2

15

24,3

45,2

1

40

19

09,6

19

09,4

+ 0,5

09,9

09,2

2

38

08

58,6

08

58,6

+ 0,5

59,1

2

15

22,9

58,5

1

40

24

21,8

24

21,8

+ 0,2

22,0

21,8

2

38

04

38,0

04

38,1

+ 0,2

38,3

2

15

25,9

38,2

1

40

20

04,1

20

04,2

0,0

04,2

04,4

2

38

05

45,2

05

45,2

+ 0,3

45,5

2

15

23,0

45,2

1

40

21

08,4

21

08,4

+ 0,1

08,5

08,4

 

 

 

 

Среднее

 

 

2

15

23,4

 

ПРИЛОЖЕНИЕ 6

Форма УТ-5

(Обложка журнала)

_______________________________Госстрой СССР_______________________________

(министерство, ведомство)

_________________________________ПНИИИС_________________________________

(организация)

_______________________________Альметьевская_______________________________

(экспедиция, партия, отряд)

Полигонометрия 4-го класса

1981 г.

Объект г. Альметьевск

Участок ___-________    Договор № 75_

ЖУРНАЛ № 3_
ИЗМЕРЕНИЯ ДЛИН ЛИНИЙ СВЕТОДАЛЬНОМЕРАМИ

Инструмент _2 СМ2__           01544

Отражатель триплекс            1433

Производитель работ      Сомов П. И.

Начальник партии     Ежов П. В.

Нашедшего журнал просим вернуть по адресу Москва, Окружной проезд, 18

Форма УТ-5

(Оборотная сторона обложки журнала)

ОГЛАВЛЕНИЕ

№ п.п.

Наименование пунктов

Страница

1

ПЗ 6

5

Форма УТ-5

(3-я страница журнала)

СХЕМА ХОДА

Форма УТ-5

(4-я страница журнала)

Условные обозначения

Дист 1, 2 (R1, R2)  - отсчет в режиме «ДИСТ» (грубые отсчеты);

ОКЗ                       - отсчет в режиме ОКЗ на частоте f3, (2 СМ2);

Д, RIII 1, 2, 3, 4      - точные отсчеты на частоте f3, (2ОМ-2, СМ-5, ЕОК-2000);

RIIIср.                      - средний отсчет на частоте f3;

(2 Ŝ)                       - двойная длина линии, измеренная светодальномером (ЕОК-2000);

S                            - длина линии, измеренная светодальномером;

DА                          - атмосферная поправка, мм, равная Ka S, км;

Df                           - частотная поправка, мм, равная Kf S, км;

DС                         - поправка гониометра (по результатам исследований);

С                            - постоянное слагаемое системы;

DS                          - суммарная поправка в линию;

S                            - точная длина линии:

S = S′ + DS = S′ + DА + Df + Dj + С;

S = S′ + DS = S′ + DА + Df + S× 10-5 (DА + Df );

S′ = S + n × 1000 для 2СМ2; S′ = Ŝ + n ´ 500 для ЕОК × 2000;

 - поправка за приведение линии к горизонту;

 - поправка за приведение линии на уровенную поверхность;

 - поправка за приведение линии на плоскость в проекции Гаусса-Крюгера.

Форма УТ-5

(Страница журнала)

Точка стояния пз 6                                            Погода: ясно

Точка наведения пз 7                                        Изображение - спокойное__

Число призм 3                                                    Дата 05.07_

Прием 1                                                              Приблизительное расстояние 2 км

Примечание. Цифры в скобках обозначают последовательность действий.

ПРИЛОЖЕНИЕ 7

Форма УТ-6

(Обложка журнала)

_______________________________Госстрой СССР_______________________________

(министерство, ведомство)

_________________________________ПНИИИС_________________________________

(организация)

______________________________Экспедиция № 12______________________________

(экспедиция, партия, отряд)

Полигонометрия 4-го класса___

1981 г.

Объект г. Балаково___

Участок ЗСЗМ. Договор № 75

ЖУРНАЛ № 1_
ИЗМЕРЕНИЯ ДЛИН ЛИНИЙ МЕРНЫМИ ПРОВОЛОКАМИ

Производитель работ Петров И. В.

Начальник отряда Белов И. П.

Нашедшего журнал просим вернуть по адресу Москва, Окружной проезд, 18

Форма УТ-6

(Оборотная сторона обложки)

ОГЛАВЛЕНИЕ

№ п.п.

Наименование линий

Страница

1

1 - 2

3

Данные о длинах проволок

№ проволоки

Дата компарирования

№ свидетельства

Уравнение длины проволоки

4430

15.07.81

973

L = 24 м + 141 мкм - 8 мкм (t - 15°) + 0,4 мкм (t2 - 225°)

4415

15.07.81

974

L = 24 м + 97 мкм - 3 мкм (t - 15°) + 0,2 мкм (t2 - 225°)

Форма УТ-6

(3-я страница журнала)

Обозначения:

П - отсчет по передней шкале проволоки;

З - отсчет по задней шкале проволоки;

t° - температура воздуха по термометру-пращу

Примечание. Передняя и задняя шкалы принимаются согласно изображению на чертеже.

--------®

Направление хода измерения

Форма УТ-6

(Страница журнала)

Дата 23.07___                                                               Линия 1 - 2___

Погода облачно___                                                                 tср + 17____

Ветер слабый_____

№ пролета

4430

4415

П

З

(П - З)

П

З

(П - З)

 

21,1

28,7

- 7,6

37,2

44,2

- 7,0

0 - 1

27,7

35,1

- 7,4

41,7

48,7

- 7,0

 

35,0

42,4

- 7,4

47,0

53,9

- 6,9

 

 

 

- 7,5

 

 

- 7,0

 

22,1

26,0

- 3,9

52,8

56,4

- 3,6

1 - 2

29,7

33,7

- 4,0

44,0

47,7

- 3,7

 

36,8

40,7

- 3,9

37,6

41,2

- 3,6

 

 

 

- 3,9

 

 

- 3,6

2 - 3

 

 

 

 

 

 

3 - 4

 

 

 

 

 

 

4 - 5

 

 

 

 

 

 

ПРИЛОЖЕНИЕ 8

Форма УТ-7

(Обложка журнала)

_______________________________Госстрой СССР______________________________

(министерство, ведомство)

_________________________________ПНИИИС_________________________________

(организация)

______________________________Ярцевская партия______________________________

(экспедиция, партия, отряд)

Полигонометрия 2-го разряда___

1981 г.

Объект г. Ярцево__

Участок жилой поселок. Договор № 17

ЖУРНАЛ № 4_
ИЗМЕРЕНИЯ УГЛОВ И ЛИНИЙ ДАЛЬНОМЕРНОЙ
ПОЛИГОНОМЕТРИИ, ВЫПОЛНЯЕМОЙ РЕДУКЦИОННЫМ
ТАХЕОМЕТРОМ

Инструмент Редта-002. 001760

Производитель работ Петров В. И.

Начальник партии (отряда) Жуков И. К.

Нашедшего журнал просим вернуть по адресу Москва, Окружной проезд, 18

Форма УТ-7

(Оборотная сторона обложки)

ОГЛАВЛЕНИЕ

№ п.п.

Наименование линий

Страница

1

3 - 4

2

Результаты компарирования

Дата

Коэффициент дальномера

Постоянная дальномера

4.07.81

0,99973

+ 0,013 м

Форма УТ-7

(3-я страница журнала)

СХЕМА ХОДА

(Четная страница журнала)

Дата измерения 28.01                                                                             Погода: ясно___

№ точки стояния

№ точки наблюдения

Отсчеты по горизонтальному кругу (Л, П)

Углы или направления

Средние углы или направления

из полуприемов

из приемов

°

°

°

°

3

2

0

04,0

 

 

 

 

 

 

 

 

180

03,7

77

21,1

77

21

00

 

 

 

4

77

25,1

77

20,9

 

 

 

 

 

 

257

24,0

 

 

 

 

 

77

21

03

2

90

09,2

 

 

 

 

 

 

 

 

270

09,0

77

21,6

77

21

06

 

 

 

4

167

30,8

77

21,6

 

 

 

 

 

 

347

30,6

 

 

 

 

 

 

 

 

Форма УТ-7

(Нечетная страница журнала)

Наименование линий или секций

1-е измерение

2-е измерение

Среднее из двух измерений, м

м

см

полный отсчет, м

м

см

полный отсчет, м

I

II

I

II

3 - 4

114,8

06,1

08,3

114,872

114,8

09,5

11,6

114,906

114,889

4 - 3

114,8

10,0

10,4

114,902

114,8

10,3

11,1

114,907

114,904

 

 

 

 

 

 

 

 

Линия 3 - 4

114,900

ПРИЛОЖЕНИЕ 9

Форма УТ-8

(Обложка журнала)

_______________________________Госстрой СССР_______________________________

(министерство, ведомство)

_________________________________ПНИИИС_________________________________

(организация)

______________________________Ярцевская партия______________________________

(экспедиция, партия, отряд)

1980 г.

Объект п/о Минудобрения

Участок _____-_________

Договор № 70

ЖУРНАЛ № 1_
НИВЕЛИРОВАНИЯ II КЛАССА

Нивелир_Н200151

Увеличение трубы 41*

Цена деления уровня 8″

Рейки штриховые с инварной полосой_____

Производитель работ Петров В. И.

Начальник партии Жуков В. И.___

Нашедшего журнал просим вернуть по адресу Москва, Окружной проезд, 18

Форма УТ-8

(Оборотная сторона обложки)

ОГЛАВЛЕНИЕ

№ п.п.

Наименование ходов или секций

Страница

1

Ход от репера 14 до марки II

7

2

Секция от марки II до вр. реп. 3

15

Форма УТ-8

(3-я страница журнала)

СХЕМА ХОДА

Форма УТ-8

(Четная и нечетная страницы журнала на развороте листа)

Ход от Ап 14             до Рп 39                                       Погода: облачно

Дата 24.06                                                                           Изображение - спокойное____

№ штатива, № реек

Зарисовка привязок

Отсчеты по дальномерным нитям (1/2 мм)

Отсчет

Отсчеты по биссектору нитей (1/2 дм)

Контроль

основная шкала

дополнительная шкала

З/и′

n/d

рейка

барабан

рейка

барабан

 

1910 (1)

2840 (5)

З

19,8 (3)

58 (4)

79,0 (11)

102 (12)

59,244 (25)

2050 (2)

2980 (6)

П

29,1 (7)

58 (8)

88,4 (9)

8 (10)

59,250 (26)

140 (21)

140 (22)

З - П

- 9,3 (13)

0 (14)

- 9,4 (16)

+ 94 (17)

+ 6 (19)

- 9,30 (24)

0/0 (23)

И

- 9,300 (15)

- 9,306 (18)

+ 6 (20)

 

2435

2380

З

28,5

40

87,7

88

59,248

3260

3215

П

28,0

95

87,3

47

59,252

825

835

З - П

+ 0,5

- 55

+ 0,4

+ 41

+ 4

+ 0,50

- 10/- 10

И

+ 0,445

+ 0,441

+ 10

Контрольные вычисления по секции

965 (Σ21)

975 (Σ22)

 

48,3 (Σ3)

98 (Σ4)

166,7 (Σ11)

190 (Σ12)

 

- 10

57,1 (Σ7)

153 (Σ8)

175,7 (Σ9)

55 (Σ10)

+ 10

 

- 8,8

- 55

- 9,0

+ 135

 

 

- 8,855 (Σ15)

- 8,865 (Σ18)

 

Форма УТ-8

(стр. 44 - 46)

Зарисовки и описание марок и реперов

Страница

№ реперов и марок

Местоположение и зарисовки

15

10

ПРИЛОЖЕНИЕ 10

Форма УТ-9

(Обложка журнала)

_______________________________Госстрой СССР_______________________________

(министерство, ведомство)

_________________________________ПНИИИС_________________________________

(организация)

______________________________Экспедиция № 12______________________________

(экспедиция, партия, отряд)

1981 г.

Объект г. Чарджоу______

Участок западный район. Договор № 76

ЖУРНАЛ № 4_
НИВЕЛИРОВАНИЯ III КЛАССА

Нивелир НЗ1546_

Увеличение трубы 30*

Рейки 3-метровые шашечные________

Производитель работ Петров В. Г.

Начальник партии Чернышев П. В.

Нашедшего журнал просим вернуть по адресу Москва, Окружной проезд, 18

Форма УТ-9

(Оборотная сторона обложки)

ОГЛАВЛЕНИЕ

№ п.п.

Наименование ходов или секций

Страница

1

Ход от марки 433 до Рп 15

3

Форма УТ-9

(Четная и нечетная страницы журнала на развороте листа)

___Ход от ПЗ 14 до Рп 128___                                           Погода: ясно__

Дата 25.07                                                                             Изображение: колеблющееся__

_№ штатива_

№ реек

Наблюдение по дальномерным нитям

Контрольное превышение

Наблюдение по средней нити

Среднее превышение, мм

задняя рейка

передняя рейка

задняя рейка

передняя рейка

превышение

1572 (2)

1812 (5)

- 240 (11)

ч 1739 (1)

1971 (4)

- 232 (14)

- 231,5 (19)

1904 (3)

2130 (6)

- 226 (12)

к 6430 (8)

6761 (7)

- 331 (15)

332 (9)

318 (10)

+ 14/+ 14 (13)

4691 (16)

4790 (17)

+ 99 (18)

1170

0631

+ 539

ч 1478

0937

+ 541

+ 541,5

1786

1241

+ 545

к 6269

5627

+ 642

616

610

+ 6/+ 20

4791

4690

- 101

Постраничные контрольные вычисления

948 (20)

928 (21)

+ 618 (22)

15916 (23)

15296 (24)

+ 620 (25)

+ 310 (26)

+ 309 (27)

15296 (28)

+ 310 (30)

+ 620 (29)

ПРИЛОЖЕНИЕ 11

Форма УТ-10

(Обложка журнала)

_______________________________Госстрой СССР_______________________________

(министерство, ведомство)

_________________________________ПНИИИС_________________________________

(организация)

______________________________Альметьевская______________________________

(экспедиция, партия, отряд)

1981 г.

Объект г. Альметьевск___

Участок товарный парк._ Договор № 103

ЖУРНАЛ № 14_
НИВЕЛИРОВАНИЯ IV КЛАССА

Нивелир НЗ0156_

Увеличение трубы 30*

Рейки 3-метровые шашечные________

Производитель работ Петров П. В.__

Начальник партии Иванов В. И.____

Нашедшего журнал просим вернуть по адресу Москва, Окружной проезд, 18

Форма УТ-10

(Оборотная сторона обложки)

ОГЛАВЛЕНИЕ

№ п.п.

Наименование ходов

Страница

1

Ход от Рп 1 до ПЗ 14

4

Форма УТ-10

(Страница журнала)

Ход от ПЗ 1526 до Рп 24____                                                 Погода: ясно__

Дата 04.07__                                                                             Изображение: спокойное____

_№ станций_

№ реек

Дальномерные расстояния до задней и передней реек

Отсчеты по рейке

Превышение, мм

Среднее превышение, мм

задняя

передняя

375 (7)

1185 (1)

1058 (3)

 

 

372 (8)

1560 (2)

1430 (4)

+ 130 (11)

+ 130 (13)

+ 3/+ 3

6247 (6)

6217 (5)

+ 30 (12)

 

 

4687 (9)

4787 (10)

+ 100 (14)

 

260

1005

1209

 

 

263

1265

1472

- 207

- 207

- 3/0

6052

6159

- 107

 

 

4787

4687

- 100

 

Постраничные контрольные вычисления

1270 (21)

15124 (15)

15278 (16)

- 154 (17)

- 77 (18)

 

15278 (16)

 

- 77 (20)

 

 

- 154 (19)

 

 

 

ПРИЛОЖЕНИЕ 12

Форма УТ-11

ТРИАНГУЛЯЦИЯ 4-ГО КЛАССА

Графическое определение элементов приведения на пункте 3_

Центрировка:                                           Редукция:

l =       _____        _______ на п. ______ l1 = 0,062 Q1 = 285°00′ для п. 4_

                              _______ на п. ______                 Q1 = 331°40′ для п. 7_

                                                                                   Q1 = ______ для п. __

Контрольный угол 4 - 7_

На чертеже 46°40′

Из наблюдений 46°51′

Обозначения проекций:

С - центр знака;

J - ось инструмента;

- - »      гелиотропа (фонаря);

- - »      визирного цилиндра.

Примечание. Углы Q строятся при проекции оси инструмента и оси визирной цели и отсчитываются по ходу часовой стрелки от направления на проекцию центра до направления на пункт.

Определение произвел ____________________________

Проверил _______________ «_____» _________ 19__ г.

ПРИЛОЖЕНИЕ 13

Форма УТ-12

ВЕДОМОСТЬ
ИНВЕНТАРИЗАЦИИ ПУНКТОВ ГЕОДЕЗИЧЕСКОЙ СЕТИ

№ п.п.

Название (номер) пункта, класс (разряд), тип центра, наружный знак

Организация, установившая знак

Состояние центра и наружного знака

Причина уничтожения

Дата инвентаризации

1

Высокое - 4 км

2 г. р., пирамида

ГУГК

Марка верхнего центра находится в хорошем состоянии, наружный знак уничтожен

-

27.05.80 г.

2

ПЗ 14 - 1-й разр.

6 г. р.

ПНИИИС

Уничтожен

Строительные работы

27.05.80 г.

Составил _______________________________

(фамилия, подпись)

Начальник партии _____________________________

(фамилия, подпись)

ПРИЛОЖЕНИЕ 14

Форма УТ-13

АКТ
ПЕРЕЗАКЛАДКИ ЦЕНТРА

__________________________________________________________________________

(название пункта, класс)

Дата _________________________

Составлен _______________________________________________________________

(фамилия, имя, отчество, должность)

________________________________________________ в том, что новый центр пункта

(название организации)

___________________________________________ совмещен в плане с маркой нижнего

(название, класс)

центра.

Плановое положение вновь установленного верхнего центра относительно нижнего центра пункта __________________________________ показано на прилагаемом к акту

(название)

центрировочном листе.

Расстояние по высоте между марками верхнего и нижнего центров составляет ___ см.

Составил ______________________________

(должность, фамилия)

ПРИЛОЖЕНИЕ 15

Форма УТ-14

АБРИС ГЕОДЕЗИЧЕСКОГО ПУНКТА
ПУНКТ ПОЛИГОНОМЕТРИИ 1-ГО РАЗРЯДА, № 135

План 4-Г-15

СХЕМА МЕСТОПОЛОЖЕНИЯ ПУНКТА

Описание местоположения пункта.

Знак расположен в поселке Климово, на пересечении улиц Мира и новой.

Наружный знак

Разрез центра

Предохранительный колпак

Тип 6 г. р.

«___» _______________ 198 ___ г.                  Составитель _________________________

(должность, фамилия)

ПРИЛОЖЕНИЕ 16

Форма УТ-15

АКТ №
О СДАЧЕ ГЕОДЕЗИЧЕСКИХ ЗНАКОВ НА НАБЛЮДЕНИЕ
ЗА СОХРАННОСТЬЮ

Я, нижеподписавшийся, _____________________________________________________

(имя, отчество, фамилия

__________________________________________________________________________

сдатчика, должность, название учреждения,

__________________________________________________________________________

адрес)

сдал на наблюдение за сохранностью, и я, нижеподписавшийся,

__________________________________________________________________________

(имя, отчество, фамилия принявшего, должность, учреждение)

принял на наблюдение за сохранностью геодезические знаки, расположенные _______

__________________________________________________________________________

(указать местоположение знака, вид знака,

__________________________________________________________________________

его название)

Акт составлен _______________________________________ дня 19 ____ г. в количестве двух экземпляров, из которых один хранится ____________________________________

(учреждение,

__________________________________________________________________________

адрес)

другой вручен ______________________________________________________________

(имя, отчество и фамилия производителя

__________________________________________________________________________

работ)

Сдал: ___________________    Принял: _______________

(подпись)                                            (подпись)

м.п.

Примечание. Список сдаваемых пунктов прилагается к настоящему акту.

Форма УТ-15

(Оборотная сторона акта)

СПИСОК
ГЕОДЕЗИЧЕСКИХ ЗНАКОВ, ПРИНЯТЫХ ПО АКТУ № _____

№ п.п.

Наименование (номер) знака

Тип центра

Местоположение (адрес)

1

ПЗ 115

6 г. р.

Поселок Горный, ул. Вольнова

Сдал: ___________________           Принял: ____________________

(подпись, фамилия)                                                      (подпись, фамилия)

ПРИЛОЖЕНИЕ 17

Форма УТ-16

(Начало листа)

СВОДКА
РЕЗУЛЬТАТОВ НАБЛЮДЕНИЙ ГОРИЗОНТАЛЬНЫХ
НАПРАВЛЕНИЙ НА ПУНКТЕ ХАНХОР

(триангуляция, полигонометрия 3 кл., 4 кл., 1-го разр., 2-го разр.)

Наблюдатель Петров А. Б.__

Инструмент Т-2108660

Журнал № 2 __________________

Наблюдения выполнены с 3 декабря по 10 декабря 1979 г.

Название направления и род знака

Отнаблюденные направления

Поправки

с

r

δ

(с + r)″

(c + r + δ)″

(с + r)″, приведенные к нулю

(c + r + δ)″, приведенные к нулю

1

2

3

4

5

6

7

8

9

Зурх

0 00 00,0

 

+ 2,5

- 3,0

 

- 0,5

0

0

Антенная

312 20 47,2

 

0

- 0,3

 

- 0,3

- 2,5

+ 0,2

Ц. П.

321 38 57,8

 

- 0,8

- 1,0

 

- 1,8

- 3,3

- 1,3

Форма УТ-16

(Окончание листа)

Объект № 917

Тип знака _пирамида_

Высоты над маркой верхнего центра столика для инструмента - м

горизонтальной оси инструмента 1,52 м

верха визирной цели 6,26 м

Окончательные направления, приведенные к центру

е = --- е1 = 0,039

θ = --- θ1 = 8° 00′

на пункте Зурх

Приближенные координаты, км

сферические

плоские

М + θ

S

М + θ1

r

X

2,09

Y

331,10

 

10

11

12

13

14

15

16

17

 

0 00 00,00

0 00 00,0

 

8,993

8 00

+ 0,1

9,26

160,11

 

312 20 44,7

312 20 47,4

 

7,126

320 21

- 0,7

2,73

158,45

 

321 38 54,5

321 38 56,5

 

10,714

329 39

- 0,4

4,76

165,18

 

Форма УТ-16

(Оборотная сторона)

Вывод средних направлений на пункте Хонхор

Дата наблюдений

№ приема

Установка лимба

Зурх

Антенная

ЦП

°

°

ν

°

ν

°

ν

3.XII.79

I

0

01

0

00

00,0

 

312

20

47

- 0,2

321

38

54

- 3,8

II

30

12

 

 

00,0

 

 

 

46

- 1,2

 

 

56

- 1,8

III

60

20

 

 

00,0

 

 

 

46

- 1,2

 

 

59

+ 1,2

IV

90

46

 

 

00,0

 

 

 

48

+ 0,8

 

 

58

+ 0,2

V

120

42

 

 

00,0

 

 

 

49

+ 1,8

 

39

01

+ 3,2

VI

150

52

 

 

00,0

 

 

 

47

- 0,2

 

38

59

+ 1,2

Среднее

0

00

00,0

 

312

20

47,2

-

321

38

57,8

-

Σ (+)

-

 

 

+ 2,6

 

+ 5,8

Σ (-)

-

 

 

- 2,8

 

- 5,6

Σ (ν) 6,8;

Составил _______________________ 1980 г.        Проверил ________________________

(должность, фамилия)                                                           (должность, фамилия)

ПРИЛОЖЕНИЕ 18

Форма УТ-17

СХЕМА ПОЛИГОНОМЕТРИИ

Масштаб 1:5000

Обозначения:

а - полигонометрия 4-го класса;

б - полигонометрия 1-го разр.;

в - полигонометрия 2-го разр.;

г - исходные пункты триангуляции, полигонометрии;

д - пункт полигонометрии, закрепленный центром типа 2 г. р.;

е - пункт полигонометрии, закрепленный центром типа 6 г. р.;

ж - граница участка съемки.

Составил ___________________________

(должность, фамилия)

ПРИЛОЖЕНИЕ 19

Форма УТ-18

КАТАЛОГ
КООРДИНАТ И ВЫСОТ ПУНКТОВ

_____________триангуляции 4-го класса____________

(триангуляции, полигонометрии, трилатерации)

Система координат местная

Система высот Балтийская_

п. п.

Название пункта, тип знака, высота знака, тип центра

Класс, разряд

Координаты, м

Дирекционный угол на пункт

Длина стороны, м

Высота над уровнем моря, м, (класс нивелирования)

X

Y

°

 

1

ПЗ 104, пирамида 6,5 м, тип 2 г. р.

1-й разр.

21630,803

18501,918

255

27

49

ПЗ 1147

174,632

191,236 (IV)

2

ПЗ 1147 наружного знака нет, тип 6 г. р.

2-й разр.

21586,971

18332,876

250

21

24

ПЗ 1208

196,780

191,417 (IV)

Составил ___________________________

(должность, фамилия)

Проверил ___________________________

(должность, фамилия)

ПРИЛОЖЕНИЕ 20

Форма УТ-19

(Обложка журнала)

_______________________________Госстрой СССР_______________________________

(министерство, ведомство)

_________________________________ПНИИИС_________________________________

(организация)

_____________________________Балаковская партия_____________________________

(экспедиция, партия, отряд)

1981 г.

Объект г. Балаково___

Участок пионерлагерь._ Договор № 155

ЖУРНАЛ № 15_
ТЕОДОЛИТНЫХ ХОДОВ

Теодолит Т5.00851

Производитель работ Комов В. Е.__

Начальник партии Жуков П. В.____

Начато 6.07. Окончено 8.07. 1981 г.

Нашедшего журнал просим вернуть по адресу Москва, Окружной проезд, 18__

Форма УТ-19

(Оборотная сторона обложки)

ОГЛАВЛЕНИЕ

№ п. п.

№ конечных пунктов ходов

Страница

1

ПЗ 10 - ПЗ 6

4

Результаты компарирования мерных приборов

Дата

Наименование мерного прибора

Результаты компарирования

18.06.81

Рулетка металлическая 50 м

Sм = 50 + 6 × 10-4 (t - 15°)

Форма УТ-19

(3-я страница журнала)

Обозначения:

d - расстояние, измеренное по рейке;

d = dcos2 a - горизонтальное проложение;

 - превышение, полученное из тахеометрических таблиц;

D = i - U - разность между высотой инструмента и высотой наведения;

Hст - высота точки стояния;

 - среднее превышение;

Hнаб = Hст ± hср - высота точки наблюдения.

Форма УТ-19

(4-я страница журнала)

СХЕМА ХОДА

Форма УТ-19

(Четная страница журнала)

Погода ясно + 17°___

№ точки стояния

высота инструмента

№ точки визирования

L

R

Горизонтальный круг

V, м

Вертикальный круг

отсчеты

углы

средние углы

отсчеты

углы

°        

°        

°        

°       

°       

Образец записи для теодолитного хода

 

10

L

10   15,0

 

 

 

 

 

 

2

 

49   34,3

39   19,3

 

1,30

2  30

 

 

 

 

 

39  19,4

 

357   27

- 2 28

 

10

R

280   30,0

39   19,5

 

 

 

 

 

2

 

319   49,5

 

 

 

 

 

Образец записи для тахеометрического хода

 

5

L

15   45,0

 

 

1,00

359   14,7

+ 0  45,2

 

6

 

66   46,0

51   01,0

 

2,00

358   42,8

+ 1  17,1

 

 

 

 

51  01,2

 

 

 

 

5

R

285   44,5

51   01,5

 

 

0   45,0

 

 

6

 

336   46,0

 

 

 

1   17,0

 

 

4

L

44  33,0

 

 

1,30

0   57,2

- 0   57,1

 

7

 

225   40,0

181   07,0

 

1,30

359   17,0

+ 0  43,0

___6___

 

 

 

 

181   06,8

 

 

 

 

4

R

314   34,0

181   06,5

 

 

359   03,0

 

 

7

 

135   40,5

 

 

 

0   43,0

 

Форма УТ-19

(Нечетная страница журнала)

Длины линий, горизонтальные проложения

Расстояния, измеренные по рейке d

Горизонтальные проложения d

h′

+ D

h

hср

Hст

+ hср

Hнаб

10

11

12

13

14

15

Образец записи для теодолитного хода

1 - 10

93,20

93,23

93,22 ср.

- 0,09

93,13

 

 

 

 

 

Образец записи для тахеометрического хода

 

 

 

+ 2,36

 

HT4 = 175,15

 

103,2

103,2

- 0,65

+ 1,70

+ 1,70

 

 

 

+ 1,71

 

HТ4 = 176,85

 

165,0

164,9

+ 2,16

 

 

 

 

 

+ 0,35

 

 

 

 

 

+ 2,51

 

 

 

102,6

102,6

- 1,70

 

 

 

 

 

0

 

 

 

 

 

- 1,70

 

 

 

130,5

130,5

+ 1,65

 

 

 

 

 

0

 

 

 

 

 

+ 1,65

 

 

ПРИЛОЖЕНИЕ 21

Форма УТ-20

(Обложка журнала)

_______________________________Госстрой СССР_______________________________

(министерство, ведомство)

_________________________________ПНИИИС_________________________________

(организация)

______________________________Экспедиция № 51______________________________

(экспедиция, партия, отряд)

1981 г.

Объект г. Электросталь

Участок цех № 3___

Договор № 156

ЖУРНАЛ № 6_
ТЕХНИЧЕСКОГО НИВЕЛИРОВАНИЯ

Нивелир НВ-1 № 0130____

Рейки 4 Н

Производитель работ Кожухов В. В.

Начальник партии Жуков В. И.____

Начато 15.10.                                         Окончено 20.10.1981 г.

Нашедшего журнал просим вернуть по адресу Москва, Окружной проезд, 18

Форма УТ-20

(Оборотная сторона обложки)

ОГЛАВЛЕНИЕ

№ п. п.

№ конечных пунктов хода

Страница

1

Рп 33 - т 45

6

Форма УТ-20

(3-я страница журнала)

СХЕМА ХОДОВ

Формат УТ-20

(Страница журнала)

Погода: ясно_____

№ станции

№ пикета и промежуточной точки

Отсчеты по рейке

Превышения, м

Горизонт инструмента

Высота, м

задней

передней

промежуточные

наблюденные

средние

1

2

3

4

6

6

7

8

9

1

р 5

1400

1550

 

- 150

 

 

157,752

 

6170

6322

 

- 152

- 151

159,15

 

т 2

4770

4772

 

 

 

 

 

1

 

 

1540

 

 

 

157,61

2

 

 

1100

 

 

 

158,05

3

 

 

1550

 

 

 

157,60

4

 

 

1900

 

 

 

157,25

5

 

 

2000

 

 

 

157,15

6

 

 

0150

 

 

 

159,00

ПРИЛОЖЕНИЕ 22

Форма УТ-21

(Обложка журнала)

_______________________________Госстрой СССР_______________________________

(министерство, ведомство)

_________________________________ПНИИИС_________________________________

(организация)

_____________________________Балаковская партия_____________________________

(экспедиция, партия, отряд)

1982 г.

Объект г. Балаково___

Участок микрорайон № 2. Договор № 170

ЖУРНАЛ № 20_
ПЛАНОВО-ВЫСОТНОЙ СЪЕМОЧНОЙ СЕТИ

Теодолит Т5.00851. Нивелир Н3 5514

Производитель работ Комов В. Е.__

Начальник партии Жуков П. В.____

Начато 10.09             Окончено 20.09. 1982 г.

Нашедшего журнал просим вернуть по адресу Москва, Окружной проезд, 18__

Форма УТ-21

(Оборотная сторона обложки)

ОГЛАВЛЕНИЕ

№ п.п.

№ конечных пунктов хода

Страница

1

Теодолитный ход от ПЗ 10 до т. 4

4

2

Нивелирный ход от ПЗ 11 до рп. 3

8

Результаты компарирования мерных приборов

Дата

Наименование мерного прибора

Результаты компарирования

17.09.82

Рулетка металлическая 50 м

Sм = 50 + 6 × 10-4 (t° - 15°)

Форма УТ-21

(3-я страница журнала)

СХЕМА ТЕОДОЛИТНОГО ХОДА

СХЕМА НИВЕЛИРНОГО ХОДА

Форма УТ-21

(Четная страница журнала)

Дата 15.10.83                                                                      Погода: ясно, + 15°

 ход                                                        от пз 10 до т 4

№ точек стояния

№ точек визирования V, м

Горизонтальный круг

Вертикальный круг

Длины линий, горизонтальные проложения

отсчеты

углы
Lo R

средние углы о′

отсчеты о′

МО углы о′

L/R о

 

№ станций

№ пикетов, точек установки рейки

Отсчеты по рейке, мм

Превышения, мм

горизонт инструмента, м

высоты, м

задняя

передняя

промежуточная

наблюденные

средние

1

2

3

4

5

6

7

8

9

ПЗ 10

ПЗ 11

14

13,3

182  01,2

 

 

 

ПЗ 11 - т 1

т 1

196

14,5

 

182  01,3

4  15,0

 

119,33

ПЗ 11

193

17,0

182  01,4

 

 

 

119,39

т 1

15

18,4

 

 

 

 

119,36ср

 

 

 

 

 

 

 

- 0,33

 

 

 

 

 

 

 

119,03

Форма УТ-21

(Нечетная страница журнала)

Дата 15.10.83                                                                      Погода: ясно, + 17°

 ход                                                        от пз 10 до т 4

1

2

3

4

5

6

7

8

9

1

ПЗ 11

1530

1840

 

- 310

- 311

147,410

145,880

 

т 1

6310

6622

 

- 312

 

 

145,510

 

 

4780

4782

 

 

 

 

 

ПРИЛОЖЕНИЕ 23

Форма УТ-22

СХЕМА ПЛАНОВОЙ СЪЕМОЧНОЙ СЕТИ

Масштаб 1:5000

Обозначения:

а - пункт триангуляции;

б - пункт полигонометрии;

в - пункт съемочной сети, закрепленный на долговременную сохранность;

г - пункт съемочной сети;

д - граница участка съемки.

Составил ___________________________

(должность, фамилия)

ПРИЛОЖЕНИЕ 24

Форма УТ-23

СХЕМА ВЫСОТНОЙ СЪЕМОЧНОЙ СЕТИ

Масштаб 1:5000

Обозначения:

а - линия технического нивелирования;

б - грунтовый репер;

в - стенной репер;

г - марка (стенная);

д - пункт триангуляции;

е - пункт полигонометрии;

ж - пункт съемочной сети;

з - граница участка съемки.

Составил ___________________________

(должность, фамилия)

ПРИЛОЖЕНИЕ 25

Форма УТ-24

(Титульный лист)

_______________________________Госстрой СССР_______________________________

(министерство, ведомство)

_________________________________ПНИИИС_________________________________

(организация)

1981 г.

Объект г. Ярцево___

Участок литейный завод__

ВЕДОМОСТЬ
ВЫЧИСЛЕНИЯ КООРДИНАТ

Система координат местная___

Вычислил Сомов П. В._______________________

(подпись) (фамилия И. О.)

Форма УТ-24

(Страница ведомости)

№ точки

Измеренные углы

Дирекционные углы

Длины сторон, м

Приращения координат, м

Координаты, м

°

°

±

X

±

Y

X

Y

ПЗ 11

 

 

 

 

 

 

 

 

 

 

 

 

 

+ 0,2

181

15,3

 

 

 

 

 

 

 

 

 

 

 

 

 

 

ПЗ 10

145

15,0

 

 

 

 

- 5

 

+ 3

4320, 45

1050,41

 

 

 

146

30,5

155,14

+

129,45

-

85,59

 

 

 

 

+ 0,2

 

 

 

 

 

 

 

 

 

Т. 1

90

16,3

 

 

 

 

- 4

 

+ 2

4449,85

964,85

 

56

47,0

100,80

+

55,24

+

84,32

 

 

 

 

4505,10

1049,19

 

 

 

 

ПРИЛОЖЕНИЕ 26

Форма УТ-25

(Титульный лист)

_______________________________Госстрой СССР_______________________________

(министерство, ведомство)

_________________________________ПНИИИС_________________________________

(организация)

1981 г.

Объект г. Чарджоу

Участок Восточный район___

ВЕДОМОСТЬ
ВЫЧИСЛЕНИЯ ВЫСОТ ТОЧЕК ТЕХНИЧЕСКОГО
НИВЕЛИРОВАНИЯ

Система высот Балтийская_____

Вычислил Сомов П. В.___________

(подпись) (фамилия и. о.)

Форма УТ-25

(Страница ведомости)

№ точки

Число штативов

Превышение, мм

Высота, м

Рп 10

 

+ 1

133,451

 

3

+ 1530

 

Т. 1

 

+ 1

134,982

 

2

+ 1015

 

Т. 2

 

+ 1

135,998

 

1

+ 1018

 

Т. 3

 

 

137,017

ПРИЛОЖЕНИЕ 27

Форма УТ-26

Объект пос. Некрасовка________

КАТАЛОГ
КООРДИНАТ И ВЫСОТ ТОЧЕК СЪЕМОЧНОЙ
ГЕОДЕЗИЧЕСКОЙ СЕТИ

№ точки

Координаты, м

Высота, м

X

Y

1

2

3

4

7

5320,45

1150,41

115,231

11

5449,85

1064,85

116,433

8

5505,10

1149,19

117,031

Составил ___________________________

(должность, фамилия)

Проверил ___________________________

(должность, фамилия)

ПРИЛОЖЕНИЕ 28

Форма УТ-27

(Обложка журнала)

_______________________________Госстрой СССР_______________________________

(министерство, ведомство)

_________________________________ПНИИИС_________________________________

(организация)

________________________________Чарджоуская_______________________________

(экспедиция, партия, отряд)

1981 г.

Объект г. Чарджоу___

Участок Северный район. Договор № 15

АБРИСНЫЙ ЖУРНАЛ № 3_

____горизонтальной и высотной съемки____

(наименование работ)

Производитель работ Седов П. В.____

Начальник партии Жуков П. В.______

Начато 1.07.                                            Окончено 10.07. 1981 г.

Нашедшего журнал просим вернуть по адресу Москва, Окружной проезд, 18

Форма УТ-27

(Оборотная сторона обложки)

ОГЛАВЛЕНИЕ

№ п.п.

№ съемочных точек

Страница

1

Т. 1, т. 2

3

2

т. 5

4

Форма УТ-27

(Страница журнала)

Примечание. В кружках даны номера пикетов высотной съемки.

ПРИЛОЖЕНИЕ 29

Форма УТ-28

(Обложка журнала)

_______________________________Госстрой СССР_______________________________

(министерство, ведомство)

_________________________________ПНИИИС_________________________________

(организация)

______________________________Экспедиция № 51_____________________________

(экспедиция, партия, отряд)

Топографическая съемка в масштабе 1:500

1981 г.

Объект г. Рославль___

Участок жилпоселок. Договор № 44

ЖУРНАЛ № 15_
МЕНЗУЛЬНОЙ СЪЕМКИ

Номенклатура планшета 17-Г-4

Кипрегель № 4515

К = 100

Производитель работ Сомов В. П.___

Начальник отряда Иванов С. С._____

Начато 10.10.                                                                         Окончено 15.10. 1981 г.

Нашедшего журнал просим вернуть по адресу Москва, Окружной проезд, 18

Форма УТ-28

(Оборотная сторона обложки)

ОГЛАВЛЕНИЕ

№ п.п.

№ съемочных точек

Страница

1

Т. 5

4

Определение МО

Дата

R

L

МО

Примечание

10.06.81

0°21′

359°50′

0°01′

 

Форма УТ-28

(стр. 3 - 37)

Станция 5 Н = 143,90 i = 1,25

H + i - v = 144,15

№ пикета

Описание пикета

d

h

v

H

Примечание

1

КЖ

15,2

+ 0,15

1,00

144,30

 

2

Лес

20,3

- 1,30

1,00

142,85

 

Форма УТ-2

(стр. 38 - 42)

№ точки с исходной отметкой т 45

Н = 145,10

Н = 145,10

Н =

Н =

i = 1,30

i = -

i =

i =

v = 2,0

v = -

v =

v =

№ определяемой точки п. 2

i = -

i = 1,32

i =

i =

v = -

v = 3,0

v =

v =

L

0°45

357°50

 

 

R

359°15

2°10

 

 

МО

0°00

0°00

 

 

a

+ 0°45′

- 2°10′

 

 

d

63,5

64,0

 

 

h′

+ 0,70

- 1,66

 

 

+ i - v

- 0,70

+ 1,68

 

 

h

0

+ 0,02

 

 

Hопр

145,10

145,12

 

 

Hcp

145,11

 

 

ПРИЛОЖЕНИЕ 30

Форма УТ-29

(Обложка журнала)

_______________________________Госстрой СССР_______________________________

(министерство, ведомство)

_________________________________ПНИИИС_________________________________

(организация)

______________________________Альметьевская______________________________

(экспедиция, партия, отряд)

1981 г.

Объект Северо-Альметьевская площадь______

Участок Товарный парк._ Договор № 75

ЖУРНАЛ № 4_
ТАХЕОМЕТРИЧЕСКОЙ СЪЕМКИ

Теодолит Т5 № 01544

Рейки 3-метровые шашечные

К = 100

Производитель работ Сомов В. И.___

Начальник партии Жуков И. В._____

Начато 15.08.                                                     Окончено 20.08.81 г.

Нашедшего журнал просим вернуть по адресу Москва, Окружной проезд, 18

Форма УТ-29

(Оборотная сторона обложки)

ОГЛАВЛЕНИЕ

№ п.п.

№ съемочных точек

Страница

1

Т. 7

4

Определение МО

Дата

R

L

МО

Примечание

8.07.81

0°45′

359°13′

359°59′

 

Форма УТ-29

(Нечетные страницы журнала)

 Высота инструмента 1,30 Круг право

H = h′ + i - v

Высота

Кроки

15

16

Высота станции 100,30

+ 0,78

101,08

+ 0,73

101,03

- 3,60

96,70

Форма УТ-29

(Четные страницы журнала)

Точка стояния 155

Ориентировка на 156                                                                          Погода: облачно

№ точки наблюдения

Расстояние

Высота наведения

Отсчеты

Углы наклона

Исправленные расстояния

Превышения h

i - v

по горизонтальному кругу

по вертикальному кругу

на К дальномера

на угол наклона

°

°

±

°

1

47,0

1,0

314

15

0

15

+

0

15

-

-

+ 0,48

+ 0,30

2

45,3

1,4

320

17

1

10

+

1

10

-

-

+ 0,83

- 0,10

3

59,3

1,9

330

20

357

10

-

2

15

-

59,0

- 3,00

- 0,60

ПРИЛОЖЕНИЕ 31

Форма УТ-30

(Обложка журнала)

_______________________________Госстрой СССР_______________________________

(министерство, ведомство)

_________________________________ПНИИИС_________________________________

(организация)

______________________________Альметьевская______________________________

(экспедиция, партия, отряд)

1981 г.

Объект г. Альметьевск

Участок_____-___ Договор № 75

ЖУРНАЛ № 4_
КООРДИНИРОВАНИЯ ЗДАНИЙ И СООРУЖЕНИЙ

Теодолит Т501544

Рулетка 50 м металлическая______

Производитель работ Сомов П. В.____

Начальник партии Жуков С. И.______

Начато 15.07.                                    Окончено 24.07.1981 г.

Нашедшего журнал просим вернуть по адресу Москва, Окружной проезд, 18

Форма УТ-30

(Оборотная сторона обложки)

ОГЛАВЛЕНИЕ

№ п.п.

№ съемочных точек

Страница

1

Т.7

4

Форма УТ-30

(Четная страница журнала)

Станция Т.25

Начальное направление Т.26

Дирекционный угол Т.26 - Т.25

Н = 125,72

Х = 146,18

Х = 232,65 Кр. L = 0°00′

D = (R - L)

1238/5920

Y = 425,07

Y = 330,06 Кр. R = 90°15′

90°15′

132°18′

Г. И. = 126,96

 

№ точки

Характеристика точки

Отсчеты по рейке

Направления

Измеренный угол

Нивелирование

черная

желтая - 11,11

a/d

Дирекционный угол

Отсчеты по рейке

Образец ведения журнала для вычисления на ЭВМ

1

Угол цеха

30,13

24,58

0°30

30°08′

 

1482

30,14

24,56

120°08

30°08

6165

60,27

49,14

60,26

90°05

 

4683

Образец ведения журнала для вычисления на арифмометре

1

Угол цеха

30,13

24,58

0°30

30°08°

30°08″

1482

30,14

24,56

120°23″

6165

60,27

49,14

60,26

90°15

342°26

4683

Форма УТ-30

(Нечетная страница журнала)

М.О. = 0°00′                                К = 100,00

Hопр

 координаты

Абрис

125,48

203,63

406,88

125,48

203,63

406,88

ПРИЛОЖЕНИЕ 32

Форма УТ-31

(Обложка журнала)

_______________________________Госстрой СССР_______________________________

(министерство, ведомство)

_________________________________ПНИИИС_________________________________

(организация)

________________________________Партия № 7________________________________

(экспедиция, партия, отряд)

Объект г. Чарвак____

Участок____-____ Договор № 155

ЖУРНАЛ № 1_
ЗАРИСОВОК КОНТРОЛЬНЫХ ПУНКТОВ

Производитель работ Сомов П. В.___

Начальник партии Гусев В. С.______

Начато 10.07.                                                                  Окончено 12.08. 1981 г.

Нашедшего журнал просим вернуть по адресу Москва, Окружной проезд, 18

Форма УТ-31

(Оборотная сторона обложки)

ОГЛАВЛЕНИЕ

№ п.п.

№ контрольных пунктов

Страница

1

1, 2, 5

4

Форма УТ-31

(Страница журнала)

№ п. п.

№ КП

Описание

Зарисовка

№ пунктов, к которым произведена привязка

№ журнала

Страница

1

40

Столб

44,43

15

3

ПРИЛОЖЕНИЕ 33

Форма УТ-32

(Обложка журнала)

_______________________________Госстрой СССР______________________________

(министерство, ведомство)

_________________________________ПНИИИС_________________________________

(организация)

______________________________Алагирская № 59______________________________

(экспедиция, партия, отряд)

Объект Архон____

Участок Южный                   Договор № 467

ЖУРНАЛ № 1_
ФОТОТЕОДОЛИТНОЙ СЪЕМКИ

Комплект фототеодолита: камера № 216 176 фотео 19/1318

Теодолит Тео 020 № 3480 рейка Бала, 2 м__

Производитель работ А. А. Тинт_______

Начальник партии Е. М. Гороховский___

Нашедшего журнал просим вернуть по адресу Москва, Окружной проезд, 18, ПНИИИС

Форма УТ-32

(Оборотная сторона обложки)

ОГЛАВЛЕНИЕ

№ п.п.

Наименование работ

Страница

1

Схема геодезической привязки фотостанций № 15 и 16

3

2

Журнал фотографирования на фотостанциях № 15 и 16

3

3

Измерение базиса № 15

4

4

Привязка фотостанции А-241

6

Форма УТ-32

(страницы журнала 3, 4; 12, 13; 22, 23 и т.д.)

СХЕМА ГЕОДЕЗИЧЕСКОЙ ПРИВЯЗКИ

Дата 20.05.1981

Узел Сопка Н-843

Станции 15, 16

ЖУРНАЛ ФОТОГРАФИРОВАНИЯ

Станция 15                                                                              Погода: облачно, ветер____

Точка стояния

А

B

Направление оси

AL

А

AR

ALL

ARR

BL

B

BR

BLL

BRR

Отсчет угла скоса

238°30′

270°00′

301°30′

220°00′

320°00′

58°30′

90°00′

121°30′

40°00′

140°00′

Кассета №

1

2

3

7

8

4

5

6

9

10

Экспозиция, с

10

12

20

20

20

15

15

30

30

30

Положение объектива

- 20

- 30

- 45

- 20

- 45

- 20

- 30

- 46

- 20

- 45

Форма УТ-32

(страницы журнала 4, 5, 14, 15, 24, 26 и т.д.)

СХЕМА ИЗМЕРЕНИЯ БАЗИСА

Измерение базиса 15 (16)__

№ приема

Угол g

Угол g

a1

a2

g

a1

a2

g

1

0 13,4

1 45,7

1 32,3

0 00,3

13 10,8

13 10,5

2

45 20,5

46 52,8

1 32,3

45 10,4

58 21,0

13 10,6

3

90 32,1

92 04,5

1 32,4

90 20,1

103 30,6

13 10,5

4

135 40,1

137 12,5

1 32,4

135 32,8

148 43,1

13 10,3

 

Среднее

1°32′21″

Среднее

13°10′28

Вычисление длины базиса 15 (16)                                                             Угол b = 81°34′7

l/2        1,000

sin (g + b)      0,989216

       37,216

sin g      0,227917

В       37,216

В       161,53

Форма УТ-32

(Страницы журнала 6 - 11, 16 - 21, 26 - 31 и т.д.)

Дата 20.Х.81 г.                                                                         Погода - пасмурно___

Точка стояния А - 241

прием 1_

i = 1,55

Точка визирования

Круг

Горизонтальные направления

Круг

Вертикальные углы

Высота визирования, м

°

°

Дирекционный угол

XXIV

Л

0

02,0

Л

84

44,0

 

П

90

30,2

П

275

17,0

 

Лн

0

00,0

Луг

+ 5

16,0

2,00

Пн

0

00,0

Пуг

+ 5

17,0

 

Ср

0

00,00

Ср

+ 5

16,5

23°16,5

КП-1

Л

33

15,0

Л

84

44,6

 

П

123

43,4

П

275

16,6

 

Лн

33

13,0

Луг

+ 5

15,4

 

Пн

33

13,2

Пуг

+ 5

16,6

0,00

Ср

33

13,1

Ср

+ 5

16,0

56°29,6

КП-2

Л

61

17,5

Л

91

17,3

 

П

151

46,0

П

268

43,7

 

Лн

61

15,5

Луг

- 1

17,3

 

Пн

61

15,8

Пуг

- 1

16,3

4,00

Ср

61

15,6

Ср

- 1

16,8

84°32,1

ПРИЛОЖЕНИЕ 34

Форма УТ-33

(Обложка журнала)

_______________________________Госстрой СССР_______________________________

(министерство, ведомство)

_________________________________ПНИИИС_________________________________

(организация)

______________________________Альметьевская______________________________

(экспедиция, партия, отряд)

1980 г.

Объект Азнакаевская площадь___

Участок_____-____ Договор № 155

ЖУРНАЛ № 1_
МАРКИРОВАНИЯ ОПОЗНАКОВ

Производитель работ Сомов В. И.__

Начальник партии Сидоров В. И.___

Начато 15.10.                                                                            Окончено 25.10.1981 г.

Нашедшего журнал просим вернуть по адресу Москва, Окружной проезд, 18

Форма УТ-33

(Оборотная сторона обложки)

ОГЛАВЛЕНИЕ

№ п.п.

№ опознаков

Страница

1

Оп 44

4

Форма УТ-33

(страница журнала)

Опознан плановый_______________________________                        44_

Вид маркирования опознака белый крест на асфальте

АБРИС

Описание местоположения опознака и подхода к нему

____Расположен на 6-м км шоссе Азнакаево - Актюба____________________________

ПРИЛОЖЕНИЕ 35

Форма УТ-34

Схема расположения квадратов

КОРРЕКТУРНЫЙ ЛИСТ

Объект ____г. Воскресенск_________________________

Планшет __17-А-4________________________________

Корректура  вычерчивания

Корректировал ____Сомов В.И._____________________

Исправление после корректуры произвел Седов П.В.___

1

2

3

4

5

6

7

8

9

10

11

12

13

14

15

16

17

18

19

20

21

22

23

24

25

 

№ зам.

№ кв.

Содержание замечаний

Отметка об исправлении

Примечание

1

2

Заполнить контур луга

 

 

2

3

Проверить диаметр водовода

 

 

ПРИЛОЖЕНИЕ 36

КАЛЬКА КОНТУРОВ

Планшет 14-20-А

Масштаб 1:20000

Составил ___________________________

(должность, фамилия)

ПРИЛОЖЕНИЕ 37

КАЛЬКА ВЫСОТ

Планшет 14-30-А

Масштаб 1:2000

Составил ___________________________

(должность, фамилия)

ПРИЛОЖЕНИЕ 38

СВОДКА ПЛАНШЕТА

Составил ___________________________

(должность, фамилия)

ПРИЛОЖЕНИЕ 39

Форма УТ-35

Экспедиция (партия) ________________________________ Объект _________________

АКТ
ПОЛЕВОЙ ПРИЕМКИ ПЛАНШЕТА
ТОПОГРАФИЧЕСКОЙ СЪЕМКИ

Номенклатура планшета _____________                Масштаб ________________________

Сечение рельефа ___________________                Площадь съемки _________________

Количество точек

съемочного обоснования ____________                 Метод съемки ___________________

Начальник отряда (партии) __________                 Исполнитель ____________________

1. Результаты приемки топографической съемки

А. Рисовка рельефа                                               Б. Нанесение ситуации

Отклонения

Колич. пикетов

%

 

Отклонения

Колич. пикетов

%

От 0 до        см

 

 

От 0 до        см

 

 

От     до       см

 

 

От     до       см

 

 

От     до       см

 

 

От     до       см

 

 

Итого __________________________                  Итого __________________________

Среднее отклонение ________________                Среднее отклонение _______________

2. Результаты приемки съемки подземных коммуникаций

А. Высотное положение                                           Б. Плановое положение

Отклонения

Колич. промеров

%

 

Отклонения

Колич. промеров

%

От 0 до        см

 

 

От 0 до        см

 

 

От     до       см

 

 

От     до       см

 

 

От     до       см

 

 

От     до       см

 

 

Итого __________________________                  Итого _________________________

Среднее отклонение ________________                Среднее отклонение ______________

Несоответствие технических характеристик ___________________ шт., ___________ %

3. Состояние планшета ____________________________________________

4. Полевые журналы топографической съемки № _____________________________

приняты с общей оценкой ____________________________________

5. Журналы съемки подземных коммуникаций № _____________________________

приняты с общей оценкой ____________________________________

6. Общая оценка материалов и планшета _____________________________________

Планшет сдал                                                                           Планшет принял

__________________                                                           __________________

(должность, фамилия)                                                                                (должность, фамилия)

ПРИЛОЖЕНИЕ 40

СХЕМА
РАСПОЛОЖЕНИЯ ЛИСТОВ ТОПОГРАФИЧЕСКОГО ПЛАНА

Масштаб 1:5000

---------- номенклатура плана в масштабе 1:-

- - - - - - - - граница топографической съемки масштаба 1:500

Составил ___________________________

(должность, фамилия)

ПРИЛОЖЕНИЕ 41

Форма УТ-36

(Обложка журнала)

_______________________________Госстрой СССР_______________________________

(министерство, ведомство)

_________________________________ПНИИИС_________________________________

(организация)

________________________________Партия № 6________________________________

(экспедиция, партия, отряд)

1981 г.

Объект г. Балаково___

Участок Жилой поселок Договор № 180_____________

ЖУРНАЛ № 4_
ОБСЛЕДОВАНИЯ ПОДЗЕМНЫХ КОММУНИКАЦИЙ В КОЛОДЦАХ И ШУРФАХ

Производитель работ Сомов В. П.___

Начальник партии Жуков В. И._____

Начато 10.11.                                                                           Окончено 20.11.1981 г.____

Нашедшего журнал просим вернуть по адресу Москва, Окружной проезд, 18__

Форма УТ-36

(Оборотная сторона обложки)

№ п.п.

№ колодцев (шурфов)

Страница

1

ВК 1, 2, 4

4

2

ВК 5, 6, 7

7

Форма УТ-36

(Страница журнала)

ОБРАЗЕЦ ДЛЯ ОБСЛЕДОВАНИЯ КОЛОДЦЕВ КАНАЛЬНЫХ ПРОКЛАДОК

___________________________________________________________________________

Колодец теплосети                                                                                                 15

Шурф_____________________________________________________________________

Схема взаимосвязи
прокладок

Обозначения по схеме

Диаметр внутренний, мм

Отметки, м

1 - 2

2 ´ 150

138,95 н/кан

1 - 2

 

138,65 в/кан

3

50

139,05 в/кан

 

75

138,75 н/кан

Глубина залегания, м

Материал труб сталь____

Категория грунта 1__

Отметка люка или ЮЗ угла 140,15__

1 - 2

1,50 н/кан

 

1,20 в/кан

3

1,40 в/кан

 

1,10 н/кан

Форма УТ-36

(Страница журнала)

ОБРАЗЕЦ ДЛЯ ОБСЛЕДОВАНИЯ КОЛОДЦЕВ НАПОРНЫХ
ТРУБОПРОВОДОВ БЕЗ КАНАЛОВ

___________________________________________________________________________

Колодец теплосети                                                                                                 15

Шурф_____________________________________________________________________

Схема взаимосвязи
прокладок

Обозначения по схеме

Диаметр внутренний, мм

Отметки, м

1

150

138,00 в. тр

2

150

137,99     »

3

50

138,35     »

4

75

138,45     »

5

 

 

6

 

 

Глубина залегания, м

Материал труб сталь____

Категория грунта __-__

Отметка люка или ЮЗ угла 140,15__

1

2,15 в. тр.

2

2,16      »

3

1,80      »

4

1,70      »

5

 

6

 

Форма УТ-36

(Страница журнала)

ОБРАЗЕЦ ДЛЯ ОБСЛЕДОВАНИЯ КОЛОДЦЕВ САМОТЕЧНОЙ СЕТИ

___________________________________________________________________________

Колодец теплосети                                                                                                      18

Шурф_____________________________________________________________________

Схема взаимосвязи
прокладок

Обозначения по схеме

Диаметр внутренний, мм

Отметки, м

1

150

138,04 н/тр

2

150

138,00 лот

3

100

138,35 н/тр

4

 

 

5

 

 

Глубина залегания, м

Материал труб сталь____

Категория грунта __-__

Отметка люка или ЮЗ угла 140,15__

1

2,11 н/трубы

2

2,15 лот.

3

1,80 н/трубы

4

 

5

 

ПРИЛОЖЕНИЕ 42

Форма УТ-37

(Обложка журнала)

_______________________________Госстрой СССР_______________________________

(министерство, ведомство)

_________________________________ПНИИИС_________________________________

(организация)

______________________________Альметьевская______________________________

(экспедиция, партия, отряд)

1981 г.

Объект Альметьевский парк____

Участок_____-____ Договор № 150

ЖУРНАЛ № 4_
ДЕТАЛЬНОГО ОБСЛЕДОВАНИЯ КОЛОДЦЕВ ПОДЗЕМНЫХ
КОММУНИКАЦИЙ

Производитель работ Сомов В. К.___

Начальник партии Жуков И. В._____

Начато 15.05.                                                            Окончено 20.05.1981 г.

Нашедшего журнал просим вернуть по адресу Москва, Окружной проезд, 18__

Форма УТ-37

(Оборотная сторона обложки)

№ п.п.

№ колодцев (камер)

Страница

1

ТК 1

1

Форма УТ-37

(Страница журнала)

___________________________________________________________________________

Колодец газовый                                                                                                          __№ 2__

Диаметр труб

№ трубы

Диаметр, мм

Отметка, м

1

200

147,98

2

100

148,38

3

100

148,58

Материал:

труб сталь___

стен колодца кирпич______

крышки колодца чугун_____

Отметка люка или ЮЗ угла Н = 150,18

ПРИЛОЖЕНИЕ 43

Форма УТ-38

(Обложка журнала)

_______________________________Госстрой СССР_______________________________

(министерство, ведомство)

_________________________________ПНИИИС_________________________________

(организация)

______________________________Альметьевская______________________________

(экспедиция, партия, отряд)

1981 г.

Объект Северо-Альметьевская площадь____

Участок трапеция 17-А Договор № 155

ЖУРНАЛ № 1_
СЪЕМКИ ПОДЗЕМНЫХ КОММУНИКАЦИЙ И СООРУЖЕНИЙ

Начато 10.08                                                                             Окончено 20.08.1981 г.___

Производитель работ Сомов В. Н.____

Начальник партии Жуков И. В.______

Нашедшего журнал просим вернуть по адресу Москва, Окружной проезд, 18

Форма УТ-38

(Оборотная сторона обложки)

ОГЛАВЛЕНИЕ

п.п.

Наименование коммуникаций

Страница

1

Водопровод от ВК 30 до котельной

4

Форма УТ-38

Точка стояния 2. Наведение на т 1

№ точки

Угол
°       

Расстояние, м

1

350 40

40,60

2

347 20

33,10

3

320 15

30,40

4

290 00

37,00

5

280 10

40,15

ПРИЛОЖЕНИЕ 44

СХЕМА ОТРЕКОГНОСЦИРОВАННЫХ СЕТЕЙ

Масштаб _______________________

Обозначения: а - колодцы; б - точки, отысканные трубоискателем.

Составил ___________________________

(должность, фамилия)

Согласовал ______________________________

(должность, фамилия)

ПРИЛОЖЕНИЕ 45

Форма УТ-39

КАТАЛОГ
КОЛОДЦЕВ ПОДЗЕМНЫХ КОММУНИКАЦИЙ НА ОБЪЕКТЕ _г. БАЛАКОВО_

№ п. п.

№ колодца

Номенклатура планшета

Высота, м

Трубы

Схема колодца

Примечание

Координаты, м

X

Y

обечайки, земли

верха труб, два лотка, верха и низа канала

материал

диаметр, мм

1

627

61-Б-4

129,35

127,10

Керамические

250

 

21316,84

129,20

127,45

Чугунные

100

17215,45

 

 

Керамические

250

ПРИЛОЖЕНИЕ 46

Форма УТ-40

(Обложка журнала)

_______________________________Госстрой СССР_______________________________

(министерство, ведомство)

_________________________________ПНИИИС_________________________________

(организация)

______________________________Альметьевская______________________________

(экспедиция, партия, отряд)

1981 г.

Объект г. Альметьевск___

Участок северная зона___

Договор № 70

ЖУРНАЛ № 4_
ОБСЛЕДОВАНИЯ ВОЗДУШНЫХ ЛИНИЙ И ИЗМЕРЕНИЯ
ВЫСОТЫ ПОДВЕСА ПРОВОДОВ

Производитель работ Ежов П. В._____

Начальник партии Жуков П. И.______

Нашедшего журнал просим вернуть по адресу Москва, Окружной проезд, 18

Форма УТ-40

(Оборотная сторона обложки)

ОГЛАВЛЕНИЕ

№ п.п.

Наименование

Страница

1

ЛЭП 35 кВ на Пк 20 + 45,30

3

2

Опора № 40 ЛЭП 220 кВ

5

Форма УТ-40

(Четные страницы журнала)

Круг право__      t = 20°___                                                                       Дата 10.07 81

Точка стояния

Точка ориентирования

Высота наведения v

Расстояние по рейке

Точка наблюдения

Отсчет по горизонтальному кругу

Угол наклона

Расстояние, исправленное за наклон

°

°

1

2

3

4

5

6

7

8

9

10

11

Пк 20 + 00

Пк 19

0,00

 

Трос

 

 

+

12

00

 

H = 170,50

0,00

 

Верхний провод

 

 

+

10

10

 

i = 1,40

0,00

 

Нижний провод

 

 

+

9

10

 

 

1,40

60,0

Основание опоры

157

25

+

0

25

60,0

Пк 21 + 00

Пк 20

0,00

 

Трос

 

 

+

8

10

 

H = 172,84

0,00

 

Верхний провод

 

 

+

6

49

 

i = l,35

0,00

 

Нижний провод

 

 

+

5

54

 

 

1,40

70,2

Основание опоры

30

20

-

1

59

70,2

Форма УТ-40

(Нечетные страницы журнала)

Превышение Л. и

i - v, м

h0 = h + i - v, м

Высота, м

Назначение, материал и № опоры, число проводов, эскиз

измеренная

средняя

12

13

14

15

16

17

+ 12,20

+ 1,40

+ 13,60

184,10

184,06

ЛЭП 35 кВ, № 45, 4 пр; опора деревянная с железобетонными пасынками

+ 10,42

+ 1,40

+ 11,82

182,32

182,38

+ 9,44

+ 1,40

+ 10,84

181,34

181,34

+ 0,44

0,00

+ 0,44

170,94

170,97

+ 9,84

+ 1,35

+ 11,19

184,03

 

+ 8,25

+ 1,35

+ 9,60

182,44

+ 7,16

+ 1,35

+ 8,51

181,35

- 1,83

0,00

- 1,83

171,01

ПРИЛОЖЕНИЕ 47

Форма УТ-41

(Обложка журнала)

_______________________________Госстрой СССР______________________________

(министерство, ведомство)

_________________________________ПНИИИС_________________________________

(организация)

____________________________Воскресенская партия____________________________

(экспедиция, партия, отряд)

1981 г.

Объект г. Воскресенск

Участок ПО «Минудобрений» Договор № 154

ЖУРНАЛ № 2_
ОБСЛЕДОВАНИЯ И НИВЕЛИРОВАНИЯ ОПОР (ЭСТАКАД)
НАДЗЕМНЫХ КОММУНИКАЦИЙ

Производитель работ Сомов В. И.____

Начальник партии Жуков С. В.______

Начато 10.11.                                                                                   Окончено 25.11.1981 г.

Нашедшего журнал просим вернуть по адресу Москва, Окружной проезд, 18

Форма УТ-41

(Оборотная сторона обложки)

ОГЛАВЛЕНИЕ

№ п.п.

№ опор (эстакад)

Страница

1

Оп. 44

4

Форма УТ-41

(Страница журнала)

Планшет 48-Г-5

№ по эскизу

Назначение

Диаметр, мм

1

Мт

25

2

Мт

75

3

Мт

75

4

Мт

50

5

Т

150

6

Т

200

7

Т

100

8

Кабель

 

Материал:

труб сталь

опоры бетон

ПРИЛОЖЕНИЕ 48

Форма УТ-42

(Обложка журнала)

_______________________________Госстрой СССР_______________________________

(министерство, ведомство)

_________________________________ПНИИИС_________________________________

(организация)

____________________________Воскресенская партия____________________________

(экспедиция, партия, отряд)

1981 г.

Объект г. Воскресенск

Участок ПО «Минудобрений» Договор № 154

ЖУРНАЛ № 3_
ДЕТАЛЬНОГО ОБСЛЕДОВАНИЯ ОПОР (ЭСТАКАД)

Производитель работ Сомов В. К.____

Начальник партии Жуков С. В.______

Начато 11.09.                                                                           Окончено 27.09.1981 г.

Нашедшего журнал просим вернуть по адресу Москва, Окружной проезд, 18

Форма УТ-42

(Оборотная сторона обложки)

ОГЛАВЛЕНИЕ

№ п.п.

№ опор (эстакад)

Страница

1

Оп. 86

4

Форма УТ-42

(Страница журнала)

Планшет 48-Г-4

Опора 86

№ по эскизу

Назначение

Диаметр, мм

Материал

1

Рас.

50

Сталь

2

Маз.

75

»

3

Т

50

»

4

Т

75

»

5

Вр

150

»

6

Ву

150

»

7

Т

100

»

8

Вх

25

»

Материал опоры - железобетон

ПРИЛОЖЕНИЕ 49

Форма УТ-43

ВЕДОМОСТЬ
ВОЗДУШНЫХ ЛИНИЙ ЭЛЕКТРОПЕРЕДАЧ И СВЯЗИ
НА ОБЪЕКТЕ г. БАЛАКОВО__

№ опоры

Назначение линий

Характеристика опор

Высота, м

номенклатура планшета

Число проводов

тип

материал

эскиз

основания опоры

подвеса проводов

1.

Анкерная

сталь

113,3

1) 126,9;

2) 121,4

2.

Линейная

Дерево

117,4

124,5

Составил ______________________                      Проверил _____________________

(должность, фамилия)                                                   (должность, фамилия)

ПРИЛОЖЕНИЕ 50

Форма УТ-44

ВЕДОМОСТЬ
НАДЗЕМНЫХ КОММУНИКАЦИЙ НА ОБЪЕКТЕ Г. ЯРЦЕВО__

№ п.п.

№ опоры

Характеристика коммуникаций

Высота основания, м

Эскиз опоры

номенклатура планшета

№ на эскизе

назначение

материал

диаметр, мм

материал опор

1

1

Т

Сталь

200

 

 

2

Т

»

200

 

 

 

3

Т

»

150

 

 

 

4

Вх

»

50

 

 

 

5

Кабель 6 кВ

 

 

 

Составил ______________________

(должность, фамилия)

Проверил ______________________

(должность, фамилия)

ПРИЛОЖЕНИЕ 51

ПИКЕТАЖНЫЙ ЖУРНАЛ
(ОБРАЗЕЦ ЗАПОЛНЕНИЯ
СТРАНИЦЫ ЖУРНАЛА)

Угол 2 право 59°12′

Р -100

l - 40

Т - 56,81

К - 103,32

Д - 10,30

Б - 15,00

ПРИЛОЖЕНИЕ 52

Форма УТ-46

ВЕДОМОСТЬ
ИЗМЕРЕННЫХ ДЛИН ЛИНИЙ ПО ТРАССЕ ЛЭП 220 кВ_______

Объект г. Киров___

Наименование линии

Пикет

Длина линии, м

Расхождения

по пикету

по дальномеру

абсолютные

относительные

Уг. 1

5 + 70,30

312,95

312,3

0,65

1:500

Ств. 1

8 + 83,25

206,80

206,3

0,50

1:400

Ств. 2

10 + 90,05

204,95

204,4

0,55

1:400

Уг. 2

12 + 95,00

 

 

 

 

Составил ______________________                      Проверил _____________________

(должность, фамилия)                                                          (должность, фамилия)

ПРИЛОЖЕНИЕ 53

Форма УТ-47

СЕТКА ПРОДОЛЬНОГО ПРОФИЛЯ ПРОЕКТИРУЕМОЙ АВТОМОБИЛЬНОЙ ДОРОГИ

СИСТЕМА ВОДООТВОДА
В СЛОЖНЫХ УСЛОВИЯХ

ТАБЛИЦА ВЫНОСКИ
ОТМЕТОК

ГК +

Расстояние

Отметки

Рабочие отметки

земли

проектные

насыпи

выемки

 

 

 

 

 

 

 

 

 

 

 

 

ПРИЛОЖЕНИЕ 54

ПРИЛОЖЕНИЕ 55

ПРИЛОЖЕНИЕ 56

ПРИЛОЖЕНИЕ 57

ПРИЛОЖЕНИЕ 58

ПРИЛОЖЕНИЕ 59

Форма УТ-53

ПЛАН ТРАССЫ КАБЕЛЬНОЙ ЛИНИИ

Граница административных районов и землепользований

Ленинский район

колхоз «Луч»

колхоз «Знание»

колхоз «Звезда»

Характеристика местности по трассе

Пашня вдоль полосы отчуждения автодороги

Выгон

Мощность гумусированной почвы

0,15

0,30

Коррозионная активность:

 

 

грунтов

некоррозионный

средняя

воды

некоррозионная

низкая

Литологическая карта поверхности

Глубина уровня грунтовых вод

 

0,0 - 1,0

Группа по трудности разработки грунта

 

Способ производства земляных работ

 

Дополнительные работы

 


Форма УТ-54

ПРИЛОЖЕНИЕ 60

ВЕДОМОСТЬ
УГЛОВ ПОВОРОТА, ПРЯМЫХ И КРИВЫХ _______________________________________________________________________________

Левая сторона

№ угла

Положение вершины угла

Величина угла поворота

Элементы круговой кривой

Элементы переходной кривой

ПК+

влево

вправо

радиус Р

тангенс Т

кривая К

биссектриса Б

домер Д 2T - К

l

Тр

т

Бр

Р

1

2

3

4

5

6

7

8

9

10

11

12

13

14

 

 

 

 

 

 

 

 

 

 

 

 

 

 

 

 

 

 

 

 

 

 

 

 

 

 

 

 

 

 

 

 

 

 

 

 

 

 

 

 

 

 

 

 

 

 

 

 

 

 

 

 

 

 

 

 

Форма УТ-54

Правая сторона

Элементы суммарных кривых

Начало кривой

Конец кривой

Прямые

Рубленные пикеты

Тангенс
Тс = Т + Тр + m

Кривая
Кс = К + l

Биссектриса
Бс = Б + БР

Домер
Dc = D +2Tp - 2 (0,5l - m)

ПК+

ПК+

расстояние между вершинами углов, м

длина прямой, м

румб вычисленный

№ пикета

протяжение, м

15

16

17

IS

19

20

21

22

23

24

25

 

 

 

 

 

 

 

 

 

 

 

 

 

 

 

 

 

 

 

 

 

 

 

 

 

 

 

 

 

 

 

 

 

 

 

 

 

 

 

 

 

 

 

 

Σ кривых = ______________________;

Σ прямых = ______________________;

Σ левых углов = _____________________;

Σ правых углов = ____________________;

Начальный румб ___________

Конечный румб ____________

Длина трассы =

Разность =

Разность =

Составил _____________________

(должность, фамилия)

Проверил _____________________

(должность, фамилия)


ПРИЛОЖЕНИЕ 61

Форма УТ-55

ВЕДОМОСТЬ
ПРЯМЫХ И УГЛОВ ___________________________

№ угла поворота трассы

Пикетаж угла поворота

Километраж от начала хода

Величина угла поворота

Направление угла поворота по ходу трассы

Длина прямых, м

Румбы

Примечание

 

 

 

 

 

 

 

 

 

 

 

 

 

 

 

 

Составил ______________________                           Проверил _____________________

(должность, фамилия)                                                                (должность, фамилия)

ПРИЛОЖЕНИЕ 62

Форма УТ-56

ВЕДОМОСТЬ
ЗАКРЕПЛЕНИЯ ТРАССЫ _______________________

угла и створа

Положение закрепительного знака

Расстояние закрепительного знака от трассы, м

Эскиз и описание закрепительного знака

километр

пикет

плюс

вправо

влево

 

 

 

 

 

 

 

 

 

 

 

 

 

 

Составил ______________________                           Проверил _____________________

(должность, фамилия)                                                             (должность, фамилия)

ПРИЛОЖЕНИЕ 63

Форма УТ-57

ВЕДОМОСТЬ РЕПЕРОВ

Проектный километр

Расположение репера (пикет и плюс)

№ репера или марки

Отметка репера

Расстояние репера от трассы, м, по ходу километража

Род репера: марка, пень, вкопанный столб, цоколь здания и т.п. (в некоторых случаях - эскиз)

Примечание

влево

вправо

 

 

 

 

 

 

 

 

 

 

 

 

 

 

 

 

Составил ______________________                           Проверил _____________________

(должность, фамилия)                                                             (должность, фамилия)


Форма УТ-58

ПРИЛОЖЕНИЕ 64

ВЕДОМОСТЬ
ПЕРЕСЕКАЕМЫХ УГОДИЙ _______________________________

Левая сторона

Проектный километр

Пикетаж пересекаемых угодий

Наименование области, района и землепользователей

Виды угодий

от

до

лес крупный и средней крупности

лес мелкий

ПК

+

ПК

+

густой

средний

редкий

густой

средний

1

2

3

4

5

6

7

8

9

10

11

 

 

 

 

 

 

 

 

 

 

 

 

 

 

 

 

 

 

 

 

 

 

Форма УТ-58

Правая сторона

протяжение, м

Примечание

 

кустарник

вырубка

сады

огороды

усадьбы

пашня

луг

выгон

неудобные земли

редкий

густой

средней густоты

редкий

заливной

суходол

12

13

14

15

16

17

18

19

20

21

22

23

24

25

 

 

 

 

 

 

 

 

 

 

 

 

 

 

 

 

 

 

 

 

 

 

 

 

 

 

 

 

Составил ______________________

(должность, фамилия)

Проверил _____________________

(должность, фамилия)

ПРИЛОЖЕНИЕ 65

Форма УТ-59

ВЕДОМОСТЬ
ПЕРЕСЕКАЕМЫХ ИНЖЕНЕРНЫХ СООРУЖЕНИЙ _____________________________________

Левая сторона

№ п. п.

Наименование коммуникаций

Владелец

Место пересечения

Расстояние от оси до опоры

Угол пересечения (острый)

Отметка земли оси пересечения

Число проводов воздушной линии, шт.

влево

вправо

Км

Пк+

опоры

№ опоры

1

2

3

4

5

6

7

8

9

10

 

 

 

 

 

 

 

 

 

 

 

 

 

 

 

 

 

 

 

 

Форма УТ-59

Правая сторона

 

Напряжение для электролиний (киловольт)

Рабочее давление в трубопроводах (атм)

Материал, сечение проводов, марка кабеля, диаметр трубопровода

Материал, тип и профиль опор

Высота нижнего провода воздушной линии или глубина заложения кабеля, трубопровода, м

Высота подвески нижнего провода

Примечание

 

 

от поверхности земли

от проектной отметки оси

 

 

11

12

13

14

15

16

17

 

 

 

 

 

 

 

 

 

 

 

 

 

 

 

 

 

 

 

Составил ______________________

(должность, фамилия)

Проверил _____________________

(должность, фамилия)

ПРИЛОЖЕНИЕ 66

Форма УТ-60

ВЕДОМОСТЬ
ПЕРЕСЕКАЕМЫХ ЭЛЕКТРОЛИНИЙ И ЛИНИЙ СВЯЗИ _________________________________________

Левая сторона

Пикетаж точки пересечения

Километры

Угол пересечения

Наименование, напряжение, направление и владелец линии

Число пересекаемых проводов

Схема расположения проводов

Расстояние от оси трассы до опор пересекаемых линий

левой

правой

1

2

3

4

5

6

7

8

 

 

 

 

 

 

 

 

 

 

 

 

 

 

 

 

Форма УТ-60

Правая сторона

 

№ и тип опор

Отметки земли

Отметки проводов

Дата и температура воздуха

Примечание

 

 

опоры

точки пересечения

верхний

нижний

 

 

левой

правой

опоры

точки пересечения

 

 

левой

правой

 

 

9

10

11

12

13

14

15

16

17

 

 

 

 

 

 

 

 

 

 

 

 

 

 

 

 

 

 

 

 

 

 

 

Составил ______________________

(должность, фамилия)

Проверил _____________________

(должность, фамилия)

ПРИЛОЖЕНИЕ 67

Форма УТ-61

ВЕДОМОСТЬ
СЪЕЗДОВ И ПЕРЕЕЗДОВ

Левая сторона

№ п.п.

Местоположение

Категория пересекаемой дороги, тип покрытия и назначение съездов и переездов

Направление

км

пикет

плюс

влево

вправо

1

2

3

4

5

6

7

 

 

 

 

 

 

Форма УТ-61

Правая сторона

 

Угол пересечения

Тип съездов и переездов

Примечание

 

 

автомобильные

тракторные

 

 

влево

вправо

 

 

8

9

10

11

12

 

 

 

 

 

 

 

 

Составил ______________________

(должность, фамилия)

Проверил _____________________

(должность, фамилия)

ПРИЛОЖЕНИЕ 68

Форма УТ-62

ВЕДОМОСТЬ БОЛОТ

Левая сторона

№ п.п.

Проектный километр

Протяжение по оси перехода

Глубина болота, м

от оси

по ходу

от ПК+

до ПК+

длина по оси перехода, м

вправо

влево

ПК+

глубина

расстояние от оси

глубина

расстояние от оси

глубина

1

2

3

4

5

6

7

8

9

10

11

 

 

 

 

 

 

 

 

 

 

 

 

 

 

 

 

 

 

 

 

 

 

Форма УТ-62

Правая сторона

 

Характеристика слоев торфа по оси перехода

Характеристика болота

Примечание

 

 

глубина, м

от ......

до ......

род торфа, степень разложения его, плотность и влажность

 

 

12

13

14

15

 

 

 

 

 

 

 

 

 

 

 

 

 

Составил ______________________

(должность, фамилия)

Проверил _____________________

(должность, фамилия)

ПРИЛОЖЕНИЕ 69

Форма УТ-63

ВЕДОМОСТЬ
СТРОЕНИЙ, ПОДЛЕЖАЩИХ СНОСУ

Левая сторона

№ п.п.

Местоположение

Расстояние до строения от трассы

Наименование области, района, владельцы строений и их адреса

Строения, м23

деревянные

пикет

плюс

влево

вправо

жилые

нежилые

1

2

3

4

5

6

7

8

 

 

 

 

 

 

 

 

Форма УТ-63

Правая сторона

 

Строения, м23

Краткая характеристика существующего строения и его стоимость

Намечаемые мероприятия

Примечание

 

 

каменные

прочие

 

 

жилые

нежилые

жилые

нежилые

 

 

9

10

11

12

13

14

15

 

 

 

 

 

 

 

 

 

 

 

 

 

 

 

 

 

 

 

Составил ______________________

(должность, фамилия)

Проверил _____________________

(должность, фамилия)

ПРИЛОЖЕНИЕ 70

Форма УТ-64

ВЕДОМОСТЬ
СОСТОЯНИЯ СУЩЕСТВУЮЩЕЙ ДОРОГИ С ПРОМЕРАМИ ТОЛЩИНЫ ОДЕЖДЫ И ОСНОВАНИЯ

Левая сторона

№ участка

Километраж

Протяжение участка

Полотно

от Пк плюс

до Пк плюс

длина, м

из них мостового настила, м

ширина, насыпь, выемка, нулевые отметки, грунт полотна, состояние откосов

состояние кюветов, обочин

мероприятия по улучшению полотна, обеспечению устойчивости, водоотводу и т.п.

1

2

3

4

5

6

7

8

9

 

 

 

 

 

 

 

 

 

Форма УТ-64

Правая сторона

 

Покрытие и искусственное основание

 

 

род покрытия и ширина

род и качество искусственного основания

грунт под искусственным основанием

Толщина

Состояние покрытия и основания

оценка покрытия и степень использования (перестройка, утолщение)

 

 

одежды

 

 

искусственного основания

 

 

лунки

среднее

 

 

1

2

3

 

 

10

11

12

13

14

15

16

17

18

 

 

 

 

 

 

 

 

 

 

 

 

Составил ______________________

(должность, фамилия)

Проверил _____________________

(должность, фамилия)

ПРИЛОЖЕНИЕ 71

Форма УТ-65

ВЕДОМОСТЬ
СУЩЕСТВУЮЩИХ АВТОМОБИЛЬНЫХ ДОРОГ В РАЙОНЕ ТРАССЫ ВЛ

______________________________________________________________________

№ п.п.

Наименование, категория, участок и владелец дороги

Расстояние по трассе ВЛ, км

Расстояние от трассы, км

Характеристика дороги

Мосты

ширина дороги, м

тип покрытия и состояние

доступность для проезда, снегозаносимость

местоположение

описание (материал, конструкция)

состояние

1

2

3

4

5

6

7

8

9

10

 

 

 

 

 

 

 

 

 

 

 

 

 

 

 

 

 

 

 

 

 

 

 

 

 

 

 

 

 

 

Составил ______________________

(должность, фамилия)

Проверил _____________________

(должность, фамилия)


СОДЕРЖАНИЕ

1. Общие положения  1

2. Опорные геодезические сети. 3

3. Съемочные геодезические сети. 5

4. Топографическая съемка. 6

5. Съемка подземных коммуникаций. 9

6. Съемка надземных коммуникаций. 10

7. Трассирование внеплощадочных коммуникаций. 11

Приложение 1 Образцы страниц полевого журнала. 14

Приложение 2 Журнал рекогносцировки триангуляционных пунктов. 15

Приложение 3 Журнал измерения горизонтальных направлений круговыми приемами. 16

Приложение 4 Журнал измерения зенитных расстояний. 17

Приложение 5 Журнал измерения параллактических углов. 18

Приложение 6 Журнал измерения длин линий светодальномерами. 20

Приложение 7 Журнал измерения длин линий мерными проволоками. 21

Приложение 8 Журнал измерения углов и линий дальномерной полигонометрии, выполняемой редукционным тахеометром.. 22

Приложение 9 Журнал нивелирования ii класса. 23

Приложение 10 Журнал нивелирования iii класса. 24

Приложение 11 Журнал нивелирования iv класса. 24

Приложение 12 Триангуляция 4-го класса. 25

Приложение 13 Ведомость инвентаризации пунктов геодезической сети. 25

Приложение 14 Акт перезакладки центра. 26

Приложение 15 Абрис геодезического пункта. 26

Приложение 16 Акт о сдаче геодезических знаков на наблюдение за сохранностью.. 26

Приложение 17 Сводка результатов наблюдений горизонтальных направлений. 27

Приложение 18 Схема полигонометрии. 28

Приложение 19 Каталог координат и высот пунктов. 28

Приложение 20 Журнал теодолитных ходов. 29

Приложение 21 Журнал технического нивелирования. 30

Приложение 22 Журнал планово-высотной съемочной сети. 31

Приложение 23 Схема плановой съемочной сети. 32

Приложение 24 Схема высотной съемочной сети. 32

Приложение 25 Ведомость вычисления координат. 33

Приложение 26 Ведомость вычисления высот точек технического нивелирования. 33

Приложение 27 Каталог координат и высот точек съемочной геодезической сети. 34

Приложение 28 Абрисный журнал. 34

Приложение 29 Журнал мензульной съемки. 35

Приложение 30 Журнал тахеометрической съемки. 36

Приложение 31 Журнал координирования зданий и сооружений. 37

Приложение 32 Журнал зарисовок контрольных пунктов. 38

Приложение 33 Журнал фототеодолитной съемки. 39

Приложение 34 Журнал маркирования опознаков. 40

Приложение 35 Корректурный лист. 40

Приложение 36 Калька контуров. 41

Приложение 37 Калька высот. 41

Приложение 38 Сводка планшета. 42

Приложение 39 Акт полевой приемки планшета топографической съемки. 42

Приложение 40 Схема расположения листов топографического плана. 43

Приложение 41 Журнал обследования подземных коммуникаций в колодцах и шурфах. 44

Приложение 42 Журнал детального обследования колодцев подземных коммуникаций. 45

Приложение 43 Журнал съемки подземных коммуникаций и сооружений. 46

Приложение 44 Схема отрекогносцированных сетей. 47

Приложение 45 Каталог колодцев подземных коммуникаций. 47

Приложение 46 Журнал обследования воздушных линий и измерения высоты подвеса проводов. 48

Приложение 47 Журнал обследования и нивелирования опор (эстакад) надземных коммуникаций. 49

Приложение 48 Журнал детального обследования опор (эстакад) 50

Приложение 49 Ведомость воздушных линий электропередач и связи. 51

Приложение 50 Ведомость надземных коммуникаций. 51

Приложение 51 Пикетажный журнал. 51

Приложение 52 Ведомость измеренных длин линий. 52

Приложение 53 Сетка продольного профиля проектируемой автомобильной дороги. 52

Приложение 54 Сетка продольного профиля реконструируемой автомобильной дороги. 52

Приложение 55 Сетка продольного профиля проектируемого железнодорожного пути. 53

Приложение 56 Сетка продольного профиля реконструируемого железнодорожного пути. 53

Приложение 57 Сетка продольного профиля трассы трубопровода. 53

Приложение 58 Сетка продольного профиля трассы линии электропередачи. 54

Приложение 59 План трассы кабельной линии. 54

Приложение 60 Ведомость углов поворота, прямых и кривых. 56

Приложение 61 Ведомость прямых и углов. 57

Приложение 62 Ведомость закрепления трассы.. 57

Приложение 63 Ведомость реперов. 57

Приложение 64 Ведомость пересекаемых угодий. 58

Приложение 65 Ведомость пересекаемых инженерных сооружений. 59

Приложение 66 Ведомость пересекаемых электролиний и линий связи. 59

Приложение 67 Ведомость съездов и переездов. 59

Приложение 68 Ведомость болот. 59

Приложение 69 Ведомость строений, подлежащих сносу. 59

Приложение 70 Ведомость состояния существующей дороги с промерами толщины одежды и основания. 59

Приложение 71 Ведомость существующих автомобильных дорог в районе трассы вл   60

 




Яндекс цитирования



   Copyright © 2007-2026,  www.tehlit.ru.

[ ѓосты, стандарты, нормативы, инструкции, правила, строительные нормы ]