//
ТехЛит.ру
- крупнейшая бесплатная электронная интернет библиотека для "технически умных" людей.
WWW.TEHLIT.RU - ТЕХНИЧЕСКАЯ ЛИТЕРАТУРА

:: Алготрейдинг::


АЛГОТРЕЙДИНГ
шаг за шагом
с нуля по урокам!

Торговые роботы на PYTHON, BackTrader,
Pandas, Pine Script для TradingView. Связка с брокерами, телеграм и легкими приложениями.


ГОСТ Р 52086-2003

ГОСУДАРСТВЕННЫЙ СТАНДАРТ РОССИЙСКОЙ ФЕДЕРАЦИИ

ОПАЛУБКА

ТЕРМИНЫ И ОПРЕДЕЛЕНИЯ

ГОСУДАРСТВЕННЫЙ КОМИТЕТ РОССИЙСКОЙ ФЕДЕРАЦИИ
ПО СТРОИТЕЛЬСТВУ И ЖИЛИЩНО-КОММУНАЛЬНОМУ КОМПЛЕКСУ
(ГОССТРОЙ РОССИИ)

Москва

Предисловие

1 РАЗРАБОТАН рабочей группой технического подкомитета по стандартизации и техническому нормированию ПК 3/ТКС 71 «Опалубка и опалубочные работы для монолитного строительства» в составе: НТЦ «Стройопалубка» ЗАО «ЦНИИОМТП», Управление государственной строительной политики (в том числе лицензирование) Госстроя России, ООО ПСФ «Крост»

ВНЕСЕН Управлением государственной строительной политики (в том числе лицензирование) Госстроя России

2 ПРИНЯТ И ВВЕДЕН В ДЕЙСТВИЕ постановлением Госстроя России от 22.05.2003 № 42

3 ВВЕДЕН ВПЕРВЫЕ

СОДЕРЖАНИЕ

ГОСУДАРСТВЕННЫЙ СТАНДАРТ РОССИЙСКОЙ ФЕДЕРАЦИИ

ОПАЛУБКА

Термины и определения

FORMWORKS

Terms and definitions

Дата введения 2003-06-01

1 Область применения

1.1 Настоящий стандарт распространяется на опалубку для возведения монолитных бетонных и железобетонных конструкций.

Настоящий стандарт не распространяется на опалубку разового применения для уникальных и индивидуальных монолитных конструкций.

Требования настоящего стандарта являются обязательными.

1.2 Термины и определения приведены в разделе 2 (таблица 1).

1.3 Схематические изображения некоторых типов опалубки с обозначениями их основных элементов приведены в приложении А.

Примечание - Рисунки, приведенные в приложении А, не определяют конструкцию опалубки.

1.4 Алфавитный указатель содержащихся в стандарте терминов приведен в приложении Б.

2 Термины и определения

Таблица 1

Термин

Определение

Общие понятия

1 опалубка

Конструкция, представляющая собой форму для укладки и выдерживания бетонной смеси. Состоит из формообразующих, несущих, поддерживающих, соединительных, технологических и других элементов и обеспечивает проектные характеристики монолитных конструкций

2 элемент опалубки

Составная часть опалубки, например щит, подкос, стойка, балка и т.д.

3 монолитные конструкции

Бетонные и железобетонные строительные конструкции, бетонирование которых осуществляется непосредственно на месте их проектного положения

4 строительные конструкции

Часть здания или другого строительного сооружения, выполняющая определенные несущие, ограждающие и (или) эстетические функции

5 здание

Наземное строительное сооружение с помещениями для проживания и (или) деятельности людей, размещения производств, хранения продукции или содержания животных

6 строительное сооружение

Единичный результат строительной деятельности, предназначенный для осуществления определенных потребительских функций

7 ярус

Разбивка здания (сооружения) по вертикали. Может включать один или несколько этажей

8 захватка

Часть монолитных конструкций (здания, сооружения), которая бетонируется в едином цикле (одновременно) и на которую целиком выставляется опалубка

9 ростверк

Конструкция верхней части свайного фундамента в виде бетонной или железобетонной плиты либо балки, объединяющей сваи в одну устойчивую систему и служащая для передачи нагрузки на сваи

10 обделка

Постоянная конструкция, закрепляющая выработку подземных сооружений и образующая их внутреннюю поверхность

11 применяемость опалубки

Область или особенность применения (эксплуатации) опалубки для возведения монолитных конструкций

12 переопирание опалубки

Опирание опалубки на несущие строительные или другие конструкции перед демонтажем. Например, переопирание скользящей опалубки на стены перед демонтажем подъемного оборудования

13 сочетание типов опалубки

Совместное применение опалубок разных типов на одной захватке при возведении одинаковых или различных монолитных конструкций

14 столовая опалубка

Опалубка, состоящая из столов и комплектующих (соединение, приспособление для монтажа, выкатывания и т.п.) для бетонирования крупноразмерных перекрытий (на комнату, квартиру и т.д.)

15 рабочее положение

Проектное положение опалубки, подготовленное для укладки бетонной смеси

16 допуск

Предельные отклонения размеров опалубки и (или) ее элементов

17 технология опалубочных работ

Способ производства опалубочных работ, зависящий от типа применяемых опалубок, характера монолитных конструкций и технологии их возведения

18 монтаж опалубки

Сборка и установка в рабочее положение опалубки и ее элементов

19 монтаж блоками

Монтаж опалубки, осуществляемый с помощью предварительно собранных блоков

20 монтаж отдельными элементами (щитами)

Монтаж опалубки, осуществляемый поэлементно (щиты, схватки, подкосы и др.) вручную или с помощью подъемного механизма

21 монтаж панелями

Монтаж опалубки, осуществляемый с помощью предварительно собранных панелей, состоящих из щитов, несущих, соединительных и других элементов

22 обогрев бетона

Обогрев бетонных конструкций снаружи с помощью нагревателей, в том числе электрических, инфракрасным излучением или другим способом с помощью греющей опалубки или других внешних нагревателей

23 обработка поверхности

Отделка бетонной поверхности, удаление слоя застывшего бетона на определенную глубину, в том числе с помощью специальных механических средств

24 прогрев бетона

Система технических и технологических мер, обеспечивающих прогрев бетонной смеси (бетона) до заданной (распалубочной) прочности монолитной конструкции, в том числе изнутри бетона, например, греющими проводами

25 распалубка

Снятие (демонтаж) опалубки после бетонирования и выдерживания бетона

26 рихтовка

Выверка и незначительные перемещения установленных конструкций опалубки с целью обеспечения их проектного положения с заданной точностью

27 термообработка бетона

Термическое воздействие на бетонную смесь (бетон) с целью ускорения набора прочности бетонных конструкций

28 строповка

Временное соединение монтируемых, транспортируемых или поднимаемых конструкций (изделий, оборудования) с крюком (захватом) грузоподъемной машины

29 безопасность работ

Система технологических мероприятий и средств для безопасного производства работ (ограждения, отключение тока, блокировки и т.д.)

30 эксплуатационная документация

Документация на опалубку, выполненная в соответствии с требованиями ГОСТ 2.601-95 (паспорт, инструкция по эксплуатации и др.)

31 технологическая документация

Документация, определяющая технологию, сроки выполнения и порядок обеспечения ресурсами строительно-монтажных работ по возведению частей здания: проект производства работ (ППР) или технологическая карта (ТК), устанавливающая рациональную и стабильную технологию производства, в том числе схемы раскладки (установки) опалубки

Термины и определения типов опалубки по виду бетонируемых монолитных конструкций

32 опалубка вертикальных монолитных конструкций

Опалубка, применяемая для бетонирования вертикальных и наклонно-вертикальных монолитных конструкций различных конфигураций, в том числе стен, колонн и других подобных конструкций

33 опалубка фундаментов

Опалубка, применяемая для бетонирования фундаментов

34 опалубка ростверков

Опалубка, применяемая для бетонирования ростверков

35 опалубка стен

Опалубка, применяемая для бетонирования стен

36 опалубка колонн

Опалубка, применяемая для бетонирования колонн

37 опалубка горизонтальных монолитных конструкций

Опалубка, применяемая для бетонирования горизонтальных и горизонтально-наклонных монолитных конструкций, в том числе перекрытий, эстакад, пролетных строений мостов и других подобных сооружений

38 опалубка перекрытий (в том числе балочных и ребристых)

Опалубка, применяемая для бетонирования перекрытий

39 опалубка куполов (сфер, оболочек, сводов)

Опалубка, применяемая для бетонирования куполов (сфер, оболочек, сводов)

40 опалубка пролетных строений мостов, эстакад и других подобных сооружений

Опалубка, применяемая для бетонирования пролетных строений мостов, эстакад и других подобных сооружений

Термины и определения типов опалубки по ее конструкции

41 мелкооптовая опалубка

Опалубка, состоящая из малогабаритных щитов, поддерживающих, соединительных и монтажных элементов массой до 50 кг, допускающих монтаж опалубки вручную

42 крупнощитовая опалубка

Опалубка, состоящая из крупногабаритных щитов, поддерживающих, соединительных и монтажных элементов массой более 50 кг

43 модульная опалубка

Опалубка крупнощитовая (мелкощитовая), включающая щиты и (или) другие элементы с фиксированными размерами, кратными определенному модулю

44 разборная опалубка

Опалубка крупнощитовая (мелкощитовая), состоящая из съемной палубы и набора несущих элементов, из которых в различном их сочетании собираются каркасы щитов, панелей, блоков, столов в зависимости от нагрузки с последующим закреплением палубы, а также необходимых поддерживающих, соединительных и монтажных элементов

45 блочная опалубка

Опалубка, состоящая из пространственных блоков

46 опалубка внешнего контура (блок-форма)

Опалубка блочная, применяемая для бетонирования замкнутых и отдельно стоящих монолитных конструкций типа колонн, ступенчатых фундаментов, ростверков и др.

47 опалубка внутреннего контура

Опалубка блочная внутренней поверхности замкнутых ячеек (например, квартир, комнат, лифтовых шахт)

48 опалубка внутреннего (внешнего) контура разъемная

Опалубка блочная (внешнего и внутреннего контура) с разъемными блоками

49 опалубка внутреннего (внешнего) контура неразъемная

Опалубка блочная (внешнего и внутреннего контура) с неразъемными блоками

50 опалубка внутреннего (внешнего) контура переналаживаемая

Опалубка блочная (внешнего и внутреннего контура), конструкция которой допускает изменение размеров в плане и по высоте

51 объемно-переставная опалубка

Опалубка, состоящая из секций, которые при установке в рабочее положение образуют в поперечном сечении опалубку П-образной формы для одновременного бетонирования стен и перекрытий

52 П-образная опалубка

Опалубка объемно-переставная, состоящая из П-образных секций

53 Г-образная опалубка

Опалубка объемно-переставная, состоящая из Г-образных полусекций

54 универсальная опалубка

Опалубка объемно-переставная, включающая, кроме опалубки стен и перекрытий, дополнительные сочетающие элементы опалубки других конструкций, например, колонн, перегородок, диафрагм и др.

55 скользящая опалубка

Опалубка, конструкция которой перемещается вертикально домкратами по мере бетонирования монолитной конструкции и которая состоит из щитов, домкратных рам, домкратных стержней, подъемных механизмов (домкратов, насосных или других подъемных станций) и технологических элементов (рабочий пол, подмости)

56 горизонтально-перемещаемая опалубка

Опалубка, конструкция которой перемещается горизонтально по мере бетонирования монолитной конструкции, и состоящая из щитов, несущих, поддерживающих, соединительных элементов и механизмов для перемещения

57 катучая опалубка

Опалубка горизонтально-перемещаемая, перемещение которой осуществляется на тележках и при помощи других приспособлений для бетонирования протяженных стен, туннелей, возводимых открытым способом, и других подобных сооружений

58 туннельная опалубка

Опалубка горизонтально-перемещаемая, перемещение которой осуществляется с помощью специальных механизмов с гидравлическим, механическим или другим приводом для бетонирования обделки туннелей, возводимых закрытым способом

59 подъемно-переставная опалубка

Опалубка, состоящая из щитов, отделяемых от бетонированной поверхности при подъеме, а также поддерживающих, крепежных, технологических элементов и приспособлений для подъема

60 опалубка с шахтным подъемником

Опалубка подъемно-переставная с механизмом подъема опалубки - шахтным подъемником

61 опалубка с опиранием на сооружение

Опалубка подъемно-переставная, опираемая при подъеме на конструкции сооружения

62 пневматическая опалубка

Опалубка, состоящая из формообразующей гибкой воздухоопорной оболочки или пневматических поддерживающих элементов с формообразующей оболочкой, поддерживаемых в рабочем положении избыточным давлением воздуха

63 подъемная опалубка

Опалубка пневматическая, формообразующая оболочка которой поднимается в проектное положение вместе с уложенной на нее бетонной смесью

64 стационарная опалубка

Опалубка пневматическая, формообразующая поверхность которой поднимается в рабочее положение, после чего осуществляется бетонирование, например, методом торкретирования

65 несъемная опалубка

Опалубка, состоящая из щитов (панелей, блоков, пластин), остающихся после бетонирования в конструкции, и инвентарных поддерживающих элементов

66 опалубка, включаемая в расчетное сечение конструкции

Опалубка несъемная, включаемая в расчетное сечение конструкции

67 опалубка, не включаемая в расчетное сечение конструкции

Опалубка несъемная, которая не включена в расчетное сечение бетонируемой конструкции

68 опалубка со специальными свойствами

Опалубка несъемная со специальными свойствами, такими, как гидроизоляция, декоративная отделка, защитная облицовка и др.

Термины и определения типов опалубки по материалам преобладающих несущих и формообразующих элементов

69 стальная опалубка

Опалубка, несущие и формообразующие элементы которой изготовлены из стали

70 алюминиевая опалубка

Опалубка, несущие, а также, возможно, и формообразующие, элементы которой изготовлены из алюминиевых сплавов

71 пластиковая опалубка

Опалубка, несущие и формообразующие элементы которой изготовлены из пластических материалов

72 деревянная опалубка

Опалубка, несущие и формообразующие элементы которой изготовлены из древесных материалов

73 комбинированная опалубка

Опалубка, несущие и формообразующие элементы которой изготовлены из различных материалов и (или) их комбинации

Термины и определения типов опалубки по применяемости при различной температуре наружного воздуха и характеру воздействия опалубки на бетон монолитных конструкций

74 неутепленная опалубка

Опалубка, предназначенная для бетонирования монолитных конструкций при положительных температурах наружного воздуха

75 утепленная опалубка

Опалубка, предназначенная для предохранения бетона от замерзания и охлаждения в зимних условиях, от перегрева в условиях жаркого климата

76 греющая опалубка

Опалубка, предназначенная для бетонирования монолитных конструкций в условиях низких температур окружающего воздуха (от +5 °С), а также для ускорения твердения бетона как в летних, так и в зимних условиях

77 специальная опалубка

Опалубка, применяемая для придания бетону или поверхности бетона специальных свойств, в том числе создание рельефа, поверхности с повышенной плотностью, а также с переменным термическим сопротивлением и др.

Термины и определения типов опалубки по оборачиваемости

78 опалубка разового применения

Опалубка, применение которой осуществляется один раз, например несъемная, или для уникальных, неповторяемых конструкций

79 инвентарная опалубка

Опалубка многократного применения

Термины и определения элементов опалубки

80 формообразующий элемент

Элемент опалубки, который находится в непосредственном контакте с бетонной смесью и используется для придания бетону заданной геометрии конструкции (сооружения) и качества поверхности до набора бетоном необходимой прочности

81 поддерживающий элемент

Элемент, поддерживающий опалубку и воспринимающий монтажные нагрузки

82 несущий элемент

Элемент опалубки, воспринимающий все нагрузки при бетонировании и обеспечивающий прочность, жесткость и устойчивость ее конструкции

83 монтажный элемент

Элемент опалубки (приспособление), служащий для монтажа и распалубки

84 соединительный элемент

Монтажный элемент опалубки, который используется для объединения отдельных элементов опалубки стен и перекрытий (щитов, балок и пр.) и который воспринимает нагрузки при монтаже и частично при бетонировании

85 опорный элемент

Элемент опалубки, служащий для установки несущих элементов опалубки (стоек, рам, балок опалубки перекрытия и т.д.)

86 технологический элемент

Элемент, необходимый для производства работ

87 анкер

Опорный элемент, закрепляемый в какой-либо неподвижной конструкции или в грунте для закрепления опалубки

88 балка (ригель)

Несущий элемент, удерживающий опалубку стен в рабочем положении и воспринимающий давление бетонной смеси, а также продольные и поперечные несущие балки опалубки перекрытий

89 блок

Несущая и формообразующая конструкция опалубки, состоящая из отдельных щитов, панелей и других элементов, связанных в единую конструкцию для ее монтажа и демонтажа целиком

90 вилка

Опорный элемент, устанавливаемый на несущих элементах опалубки перекрытий (рамах, стойках и др.) для установки по нему балок

91 выпуски

Элемент несъемной опалубки, расположенный на внутренней поверхности опалубочной плиты для соединения его с бетонируемой конструкцией

92 Г-образная секция (полусекция)

Несущий элемент объемно-переставной опалубки, включающий опалубку стены и половину опалубки перекрытия

93 домкрат

Несущий и поддерживающий элемент (винтовой, гидравлический, пневматический и др.) для установки, демонтажа, рихтовки и подъема опалубки, в том числе скользящей, подъемно-переставной, а также опалубки перекрытий, рихтовочных элементов

94 домкратная рама

Несущий элемент скользящей опалубки, воспринимающий нагрузки от щитов при бетонировании и рабочего -пола и служащий для установки домкратов при подъеме опалубки

95 домкратный стержень

Опорный элемент скользящей опалубки, расположенный внутри возводимого сооружения, на который опирается опалубка

96 зажим

Соединительный элемент, соединяющий балки опалубки перекрытий с опорами и между собой

97 замок

Соединительный элемент, объединяющий в том числе отдельные щиты

98 захват

Монтажный элемент для строповки (захвата) опалубки при ее подъеме во время монтажа, распалубке или перемонтировании

99 защитная трубка

Трубка для защиты от бетона с целью последующего использования, например, защитная трубка домкратного стержня скользящей опалубки, стяжки и др.

100 каркас щита

Основной несущий элемент щита

101 козырек

Площадка, устраиваемая вдоль наружных щитов скользящей опалубки, воспринимающая технологические нагрузки и служащая внешним ограждением

102 конус

Конусная вставка, извлекаемая после бетонирования, например, конусная вставка, соединенная с защитной трубкой стяжки

103 крестовая связь

Шарнирно-соединенные (крестообразные) связи для удержания рам опалубки перекрытий при монтаже

104 кронштейн подмостей

Технологический элемент, закрепляемый на опалубке стен для устройства подмостей (ограждений, настила и др.)

105 кружало

Горизонтальная балка, объединяющая щиты скользящей опалубки и воспринимающая давление бетонной смеси

106 лестница

Элемент, закрепляемый или не закрепляемый на опалубке для перемещения рабочих

107 механизм радиального перемещения

Элемент для перемещения щитов подъемно-переставной опалубки для изменения геометрии сечения конструкции

108 монтажные подмости с откидным ограждением

Наружные подмости с откидным ограждением, служащие для выкатывания крупногабаритных опалубок (столовой, объемно-переставной и др.) после демонтажа за габариты подмостей

109 направляющая рама

Несущий и опорный элемент туннельной опалубки, на который опирается опорная рама

110 настил

Рабочая поверхность, на которой размещаются рабочие, материалы, механизмы для осуществления технологических операций, например, настил подмостей

111 оболочка пневмоопалубки

Формообразующий элемент из гибкого воздухонепроницаемого материала

112 ограждение

Защитное устройство, препятствующее непреднамеренному доступу людей в зону действия опасного производственного фактора, а также предназначенное для изоляции соответствующих рабочих мест от доступа посторонних лиц

113 опорная рама

Несущий элемент туннельной опалубки, воспринимающий нагрузки от щитов при бетонировании и служащий опорой домкратов

114 основание

Опорный элемент стоек, рам опалубки перекрытий

115 отжимное устройство

Монтажный элемент для распалубки (принудительного отрыва опалубки от бетона)

116 открылки

Опорный элемент для удержания бетонной смеси при подъеме пневмоопалубки

117 отсекатель

Технологический элемент опалубки, отсекающий захватку (часть конструкции - в том числе перекрытия) при бетонировании

118 падающая головка

Опорный элемент с подвижной и неподвижной частью, опускающийся с опалубкой перекрытий при распалубке. При этом неподвижная часть, как правило, остается на бетоне в качестве временной опоры, что позволяет осуществлять более раннюю распалубку

119 палуба

Формообразующий элемент опалубки, представляющий собой поверхность, соприкасающуюся с бетоном

120 панель

Несущий крупноразмерный элемент, собираемый из щитов или унифицированных несущих элементов, монтируемый или демонтируемый без переборок

121 петля

Монтажный элемент, закрепляемый на опалубке для удержания несущих и поддерживающих элементов, а также подъема и опускания опалубки

122 П-образная секция

Несущий элемент объемно-переставной опалубки П-образной формы для бетонирования стен и перекрытий

123 подвески подмостей

Элементы скользящей опалубки, с помощью которых крепятся нижние подмости

124 подкос

Монтажный элемент для установки, рихтовки и распалубки щитов (панелей)

125 подмости для бетонирования

Технологический элемент, представляющий собой настил с ограждением, для удобства бетонирования монолитных конструкций и обеспечения безопасности работ, устраиваемый по кронштейнам подмостей

126 подмости внутренние

Подмости, навешиваемые на скользящую, подъемно-переставную и другую опалубку с внутренней стороны стены для обеспечения технологических процессов, в том числе отделки поверхности

127 подмости наружные

Подмости, навешиваемые на наружную (фасадную, торцевую) стену для установки опалубки наружной поверхности степы, а также подмости, навешиваемые на скользящую, подъемно-переставную и другую опалубку с наружной стороны стены для обеспечения технологических процессов, в том числе отделки поверхности

128 подъемная головка

Механизм для подъема подъемно-переставной опалубки

129 пробка

Технологический элемент, представляющий собой заглушку неиспользуемых отверстий, например отверстий для пропуска стяжек

130 проемообразователь

Формообразующий элемент, закрепляемый на палубе (или арматуре) для устройства конструктивных или технологических проемов в монолитных конструкциях зданий или сооружений

131 промежуточные (временные) опоры

Несущий элемент в виде опор, остающихся на бетоне после распалубки для возможности более раннего снятия опалубки, в том числе перекрытия, то же опоры на нижележащих этажах здания (уровнях сооружения) для временного поддержания монолитных конструкций до набора ими проектной прочности

132 профнастил

Формообразующий и несущий элемент несъемной опалубки из стального профилированного листа со специальными рифами и анкерами для устройства монолитного перекрытия

133 рабочий пол

Пол скользящей и подъемно-переставной опалубки, (сплошной или вдоль внутренних щитов скользящей опалубки) для установки оборудования, размещения людей, материалов, насосных станций и для обслуживания опалубки и бетонирования

134 рама

Несущий элемент опалубки перекрытия, объединяющий две или несколько стоек

135 распалубочный механизм

Монтажный элемент, расположенный под центральной вставкой в П -образной объемно-переставной опалубке, с помощью которого производится подъем центральной вставки в верхнее (рабочее) положение и опускание ее (при распалубке), а также перемещение угловых или других вставок блочной опалубки

136 ролик

Технологический элемент для перемещения опалубки по перекрытию или опорам, закрепленным к стенам

137 связь

Монтажный элемент для временного удержания элементов опалубки

138 секция

Несущий элемент, включающий щиты стен и перекрытий, монтируемый и демонтируемый целиком

139 створка

Несущий элемент блока одной из граней поверхности

140 стойка

Несущий и поддерживающий элемент опалубки перекрытия

141 стол

Опалубка перекрытий, устраиваемая, как правило, на размер помещения (ячейки) здания с вертикальными опорами или опорами, закрепляемыми к стенам (колоннам)

142 струбцина балок (ригелей)

Несущий элемент, охватывающий опалубку балок (ригелей), навешиваемый на несущие элементы опалубку перекрытий

143 стяжка

Несущий элемент, соединяющий противоположные щиты и служащий в качестве опоры для восприятия бокового давления бетонной смеси

144 схватка

Горизонтальная балка, закрепляемая на опалубке

145 тележка

Приспособление для горизонтального перемещения опалубки, например, катучей, столовой, перекрытий

146 телескопическая стойка

Стойка с возможностью изменения размеров, выдвижения (перемещения) одной части относительно другой (базовой)

147 траверса

Монтажное приспособление для монтажа и демонтажа крупноразмерных элементов опалубки стен и перекрытий

148 тренога

Монтажный элемент для удержания стоек, рам при монтаже

149 угольник

Элемент, соединяющий щиты в углах, в том числе может быть использован в качестве формообразующего элемента

150 удлиненный замок

Соединительный элемент, объединяющий отдельные щиты при наличии вставок

151 хомут

Несущий элемент, предназначенный для соединения щитов опалубки. Применяется для сборки опалубки колонн, торцов стен

152 центральная вставка

Соединительный элемент щита перекрытия в П-образной объемно-переставной опалубке, перекрывающий зазор в месте соединения Г-образных полусекций

153 шахтный подъемник

Подъемник подъемно-переставной опалубки, устанавливаемый внутри (шахте) возводимого сооружения (трубы, градирни и т.д.)

154 щит

Несущий и формообразующий элемент опалубки, состоящий из палубы, каркаса и/или других несущих элементов

155 щит-компенсатор (промежуточная вставка)

Формообразующий элемент, устанавливаемый между основными элементами опалубки (щитами, панелями) для получения немодульных размеров, а также для обеспечения распалубки внутренних замкнутых ячеек здания и сооружения. Промежуточные вставки могут изготовляться как разового (неинвентарная вставка), так и многоразового (инвентарная) применения

156 угловой щит

Элемент опалубки для бетонирования угловых сопряжений стен

157 шарнирный щит

Элемент опалубки для бетонирования угловых сопряжений стен под разными углами, состоящий из двух щитов, соединенных шарниром

Термины и определения параметров и размерных характеристик опалубки

158 класс опалубки

Качественная характеристика опалубки

159 несущая способность

Расчетная несущая способность опалубки и ее элементов (нагрузки с учетом всех коэффициентов запаса)

160 удельная масса

Масса опалубки, полностью укомплектованной и готовой к бетонированию, включающая подмости для бетонирования, стяжки, замки, подкосы и другие необходимые элементы, отнесенная к единице площади бетонируемой поверхности

161 жесткость

Характеристика опалубки и ее элементов, зависящая от материала (модуль упругости Е) и момента инерции сечения опалубки

162 прогиб под нагрузкой

Прогиб опалубки и ее элементов под нагрузкой в вертикальной и горизонтальной плоскости, характеризующий жесткость опалубки

163 расчетная нагрузка

Нагрузка, принимаемая для расчета, с соответствующими нормативными коэффициентами запаса при монтаже, демонтаже, бетонировании

164 адгезия к бетону

Сцепление, прилипание палубы к бетону и бетонной смеси

165 класс отделки поверхности

Качество необработанной поверхности бетона после распалубки

166 универсальность

Применимость опалубки для возведения различных монолитных конструкций

167 модуль (М)

Характеристика универсальности, представляющая собой предпочтительное число размера формообразующих элементов, как правило, 100 мм. Длина формообразующих элементов выбирается кратно 3 м

168 уровень унификации изделия

Насыщенность изделия унифицированными составными частями (однородными или одинаковыми для использования в различном сочетании и различного назначения)

169 трудоемкость монтажа и демонтажа

Затраты труда (чел.-ч) на монтаж и демонтаж опалубки

170 точность монтажа

Точность монтажа опалубки при установке ее в рабочее положение, зависящая от вида и назначения монолитных конструкций и класса выбранной опалубки

171 ремонтопригодность

Возможность и удобство восстановления работоспособного состояния элементов опалубки путем технического обслуживания и ремонта

172 оборачиваемость

Количество использования опалубки (циклоп бетонирования), определенное на основе опыта использования статистических данных или расчетным методом. Оборачиваемость до износа, до ремонта, оборачиваемость в течение месяца, года и т.д.

ПРИЛОЖЕНИЕ А

Схематические изображения некоторых типов опалубки с обозначениями их основных элементов

1 - щит; 2 - вертикальная балка; 3 - схватка; 4 - подкос; 5 - домкрат; 6 - деревянная вставка; 7 - отверстие для пропуска стяжки; 8 - подмости для бетонирования

Рисунок А. 1 - Мелкощитовая модульная опалубка стен

1 - стойка телескопическая; 2 - падающая головка; 3 - балка; 4 - промежуточная опора, остающаяся на бетоне после распалубки (балка, как на рисунке или опора в виде пластины); 5 - щит

Рисунок А.2 - Мелкощитовая модульная опалубка перекрытий (с падающей головкой)

1 - рама; 2 - домкрат; 3 - продольная балка; 4 - поперечная балка; 5 - опора балки (вилка); 6 - монтажная связь рам; 7 - основание рамы; 8 - струбцина балки; 9 - ограждение

Рисунок А.3 - Мелкощитовая разборная опалубка перекрытий (на рамах)

1 - стойка телескопическая; 2 - тренога; 3 - продольная балка; 4 - поперечная балка; 5 - ограждение; 6 - опора балки (вилка)

Рисунок А.4 - Мелкощитовая разборная опалубка перекрытий (на стойках)

1 - щит; 2 - угловой щит; 3 - шарнирный угловой щит; 4 - подкос; 5 - замок соединения щитов; 6 - подмости для бетонирования; 7 - стяжка; 8 - ограждение

Рисунок А.5 - Крупнощитовая модульная опалубка стен

1 - щит; 2 - подкос; 3 - наружные подмости; 4 - подмости для бетонирования; 5 - стяжка; 6 - стена нижележащего этажа

Рисунок А.6 - Крупнощитовая модульная опалубка стен (с наружными подмостями для бетонирования наружной, фасадной, торцевой стен)

а - опалубка колонн (на замках)*; б - опалубка колонн (на хомутах)

1 - щит; 2 - подкос; 3 - подмости для бетонирования; 4 - замок; 5 - угольник; 6 - кронштейн подмостей; 7 - ограждение; 8 - хомут; 9 - замок; 10 - петля для удержания хомутов

Рисунок А.7 - Крупнощитовая модульная опалубка колонн

* Может быть вариант опалубки колонн на замках в «мельницу».

А - панель: 1 - съемная палуба; 2 - вертикальная балка; 3 - горизонтальная балка; 4 - стяжка

Примечания

1а - переменный шаг схваток согласно эпюре (расчету) давлений.

2 Сечение балок показано условно.

Рисунок А.8 - Крупнощитовая разборная опалубка стен

1 - опалубка перекрытий (выкатываемая); 2 - балка; 3 - опора с домкратом

Рисунок А.9 - Крупнощитовая разборная опалубка перекрытий (выкатываемая)

1 - панель; 2 - отжимное устройство; 3 - замок

Рисунок А.10 - Блочная опалубка внешнего контура (блок-форма) разъемная фундаментов

1 - щит внешнего контура; 2 - щит внутреннего контура; 3 - щит угловой внутренний; 4 - замок; 5 - захват; 6 - вставка

Рисунок А.11 - Блочная опалубка внутреннего контура разъемная

а - П-образная опалубка; б - Г-образная опалубка; в - универсальная

1 - П-образные секции; 2 - Г-образные полусекции; 3 - распалубочный механизм; 4 - центральная вставка; 5 - стыковочный узел; 6 - домкрат; 7 - ролики; 8 - откидные монтажные опоры; 9 - щит (блок) наружной (внутренней) опалубки; 10 - Г-образные секции; 11 - стойка; 12 - тренога; 13 - опора стойки (вилка); 14 - стол опалубки перекрытий; 15 - щит опалубки перекрытий; 16 - подмости

Рисунок А.12 - Объемно-переставная опалубка

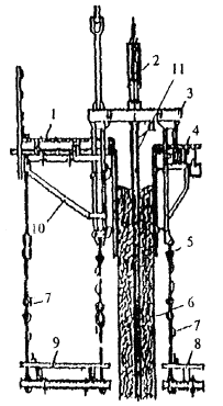
1 - козырек; 2 - гидродомкрат с регулятором горизонтальности; 3 - домкратная рама; 4 - рабочий пол; 5 - щит; 6 - домкратный стержень; 7 - подвески подмостей; 8 - внутренние подмости; 9 - наружные подмости; 10 - кронштейн козырька; 11 - защитная трубка домкратного стержня

Рисунок А.13 - Скользящая опалубка

1 - стойка тележки; 2 - тележка; 3 - щит; 4 - устройство подъема щитов; 5 - подмости для бетонирования; 6 - ограждение; 7 - бункеры для бетонной смеси; 8 - лестница; 9 - привод горизонтального перемещения; 10 - вибратор

Рисунок А.14 - Горизонтально-перемещаемая катучая опалубка

1 - опорная рама; 2 - домкрат (механический, гидравлический); 3 - вставка; 4 - щит свода; 5 - щит стены; 6 - направляющие рамы

Рисунок А.15 - Горизонтально-перемещаемая туннельная опалубка

1 - щит наружной опалубки; 2 - щит внутренней опалубки; 3 - механизм радиального перемещения; 4 - рабочий пол; 5 - наружные подмости; 6 - внутренние подмости; 7 - шахтный подъемник; 8 - подъемная головка

Рисунок А.16 - Подъемно-переставная опалубка с шахтным подъемником

а - подготовленная опалубка; б - опалубка с уложенной бетонной смесью; в - поднятая опалубка

1 - пневмоопалубка; 2 - фундамент; 3 - открылки; 4 - спиральная арматура; 5 - бетонная смесь; 6 - трубопровод для нагнетания воздуха; 7 - опорные трубы; 8 - участки свода (стены), бетонируемые заранее; 9 - участки пневмоопалубки, не соприкасающиеся с бетоном; 10 - фундамент; 11 - анкеры; 12- натяжная внешняя оболочка

Рисунок А.17 - Пневматическая подъемная опалубка сводов

а - ребристый цилиндрический свод; б - гладкая цилиндрическая сводчатая оболочка с вертикальными стенами

1 - оболочка

Рисунок А.18 - Пневматическая стационарная опалубка оболочек

а - общий вид опалубки; б - опалубочные плиты; в - профильные плиты; г - ребристые плиты; д - профнастил в качестве несъемной опалубки, в том числе перекрытий

1 - опалубочная плита; 2 - бетон; 3 - выпуски; 4 - армокаркас; 5 - активная внутренняя поверхность с повышенным сцеплением бетона; 6 - ребро; 7 - профнастил; 8 - перекрытие; 9 - анкер

Рисунок А.19 - Несъемная опалубка

ПРИЛОЖЕНИЕ Б

Алфавитный указатель терминов

Таблица Б.1

Термин

Номер страницы

Адгезия к бетону

20

Анкер

11

Балка (ригель)

12

Безопасность работ

5

Блок

12

Вилка

12

Вставка центральная

18

Выпуски

12

Головка падающая

15

Головка подъемная

16

Документация технологическая

5

Документация эксплуатационная

5

Домкрат

12

Допуск

3

Жесткость

19

Зажим

13

Замок

13

Замок удлиненный

18

Захват

13

Захватка

2

Здание

2

Каркас щита

13

Класс опалубки

19

Класс отделки поверхности

20

Козырек

13

Конструкции монолитные

2

Конструкции строительные

2

Конус

13

Кронштейн подмостей

13

Кружало

13

Лестница

13

Механизм радиального перемещения

14

Механизм распалубочный

17

Модуль

20

Монтаж блоками

4

Монтаж опалубки

3

Монтаж отдельными элементами (щитами)

4

Монтаж панелями

4

Нагрузка расчетная

19

Настил

14

Несущая способность

19

Обделка

3

Обогрев бетона

4

Оболочка пневмоопалубки

14

Оборачиваемость

20

Обработка поверхности

4

Ограждение

14

Опалубка

2

Опалубка алюминиевая

9

Опалубка блочная

7

Опалубка вертикальных монолитных конструкций

5

Опалубка, включаемая в расчетное сечение конструкций

9

Опалубка внешнего контура (блок-форма)

7

Опалубка внутреннего контура

7

Опалубка внутреннего (внешнего) контура неразъемная

7

Опалубка внутреннего (внешнего) контура переналаживаемая

7

Опалубка внутреннего (внешнего) контура разъемная

7

Опалубка Г-образная

7

Опалубка горизонтально-перемещаемая

8

Опалубка горизонтальных монолитных конструкций

6

Опалубка греющая

10

Опалубка деревянная

10

Опалубка инвентарная

11

Опалубка катучая

8

Опалубка колони

5

Опалубка комбинированная

10

Опалубка крупнощитовая

6

Опалубка куполов (сфер, оболочек, сводов)

6

Опалубка мелкощитовая

6

Опалубка модульная

6

Опалубка, не включаемая в расчетное сечение конструкции

9

Опалубка несъемная

9

Опалубка неутепленная

10

Опалубка объемно-переставная

7

Опалубка перекрытий (в том числе балочных и ребристых)

6

Опалубка пластиковая

10

Опалубка пневматическая

9

Опалубка П-образная

7

Опалубка подъемная

9

Опалубка подъемно-переставная

8

Опалубка пролетных строений мостов, эстакад и других подобных сооружений

6

Опалубка разборная

6

Опалубка разового применения

10

Опалубка ростверков

5

Опалубка скользящая

8

Опалубка со специальными свойствами

9

Опалубка специальная

10

Опалубка стальная

9

Опалубка стационарная

9

Опалубка стен

5

Опалубка с опиранием на сооружение

8

Опалубка столовая

3

Опалубка с шахтным подъемником

8

Опалубка туннельная

8

Опалубка универсальная

7

Опалубка утепленная

10

Опалубка фундаментов

5

Опоры промежуточные (временные)

16

Основание

14

Открылки

14

Отсекатель

14

Палуба

15

Панель

15

Переопирание опалубки

3

Петля

15

Подвески подмостей

15

Подкос

15

Подмости для бетонирования

15

Подмости внутренние

15

Подмости монтажные с откидным ограждением

14

Подмости наружные

16

Подъемник шахтный

18

Пол рабочий

16

Прогиб под нагрузкой

19

Положение рабочее

3

Применяемость опалубки

3

Пробка

16

Прогрев бетона

4

Проемообразователь

16

Профнастил

16

Рама

16

Рама дом кратная

12

Рама направляющая

14

Рама опорная

14

Распалубка

4

Ремонтопригодность

20

Рихтовка

4

Ролик

17

Ростверк

3

Связь

17

Связь крестовая

13

Секция

17

Секция (полусекция) Г-образная

12

Секция П-образная

15

Сооружение строительное

2

Сочетание типов опалубки

3

Створка

17

Стержень домкратный

12

Стойка

17

Стойка телескопическая

18

Стол

17

Строповка

5

Струбцина балок (ригелей)

17

Стяжка

17

Схватка

17

Тележка

18

Термообработка бетона

4

Технология опалубочных работ

3

Точность монтажа

20

Траверса

18

Тренога

18

Трубка защитная

13

Трудоемкость монтажа и демонтажа

20

Угольник

18

Удельная масса

19

Универсальность

20

Уровень унификации изделия

20

Устройство отжимное

14

Хомут

18

Щит

18

Щит-компенсатор (вставка)

19

Щит угловой

19

Щит шарнирный

19

Элемент монтажный

11

Элемент несущий

11

Элемент опалубки

2

Элемент опорный

11

Элемент поддерживающий

11

Элемент соединительный

11

Элемент технологический

11

Элемент формообразующий

11

Ярус

2

Ключевые слова: опалубка, монолитные конструкции, элемент опалубки, класс опалубки, универсальность, оборачиваемость.




Яндекс цитирования



   Copyright © 2007-2026,  www.tehlit.ru.

[ ѓосты, стандарты, нормативы, инструкции, правила, строительные нормы ]