//
|
|
РОССИЙСКОЕ АКЦИОНЕРНОЕ ОБЩЕСТВО ЭНЕРГЕТИКИ И ЭЛЕКТРИФИКАЦИИ ДЕПАРТАМЕНТ НАУКИ И ТЕХНИКИ ТИПОВАЯ ИНСТРУКЦИЯ РД 34.22.402-94
ОРГРЭС Москва 1997 Разработано АО «Фирма ОРГРЭС» Исполнитель Н.Я. ТКАЧ Утверждено Департаментом науки и техники РАО «ЕЭС России» 23.12.94 г. Начальник А.П. БЕРСЕНЕВ
Срок действия установлен с 01.01.96 г. Настоящая типовая инструкция определяет порядок приемки в эксплуатацию вновь построенных, реконструированных и отремонтированных испарительных башенных градирен различных конструкций, их пуск, обследование, надзор, контроль за охлаждающим эффектом и способом устранения неисправностей. Инструкция рассчитана на эксплуатационный персонал электростанций и энергоуправлений, а также может быть использована специалистами других отраслей. Типовая инструкция выпускается взамен «Типовой инструкции по приемке и эксплуатации башенных градирен: ТИ 34-70-001-82» (М.: СПО Союзтехэнерго, 1982) и дополнена с учетом опыта эксплуатации градирен большой производительности, а также градирен с пластмассовым оросителем. 1. ОБЩАЯ ЧАСТЬ1.1. В настоящей Типовой инструкции (далее - Инструкции) приведены указания по приемке башенных градирен (далее - градирен) в эксплуатацию с перечнем мероприятий по контролю за качеством строительно-монтажных работ при строительстве, ремонте и реконструкции градирен, их пуску, обслуживанию, в том числе в зимний период, останову, выявлению охлаждающего эффекта и устранению обнаруженных дефектов. 1.2. На энергопредприятиях на основании настоящей Инструкции при необходимости могут разрабатываться местные рабочие инструкции с учетом фактических режимов работы установленных градирен. 1.3. Инструкция разработана в соответствии с требованиями действующих строительных норм и правил, а также других нормативно-технических документов. При составлении Инструкции использован опыт эксплуатации градирен различных конструкций, в том числе современных, большой производительности. 1.4. Эксплуатация градирен осуществляется подразделениями энергопредприятий, на которые возложена эта обязанность в соответствии с утвержденными организационными структурами: в основном турбинными либо котлотурбинными цехами по принадлежности. 1.5. На подразделение, осуществляющее эксплуатацию градирен, возлагаются следующие обязанности: участие в осуществлении технического надзора и приемке градирни в эксплуатацию после возведения, ремонта либо реконструкции; обслуживание градирни; контроль охлаждающего эффекта и устранение недоохлаждения в случае его выявления; осмотр конструкции градирни и своевременная ликвидация дефектов; обеспечение оптимального режима работы градирни, исходя из условий достижения наивыгоднейшего (экономического) вакуума в конденсаторах соответствующих паровых турбин; составление соответствующих рабочих инструкций, паспортов, журналов эксплуатации градирен, документации по планово-предупредительному ремонту. 1.6. Эксплуатируемые на электростанциях градирни имеют площадь орошения от 500 до 10000 м2, производительность соответственно от 3000 до 100000 м3/ч. В зависимости от типа оросителя градирни подразделяются на пленочные, капельно-пленочные и брызгальные. По признаку направления движения охлаждающей воды эксплуатируются в основном градирни с противоточным движением воздуха, на отдельных электростанциях - с поперечным или поперечно-противоточным движением воздуха. 1.7. В настоящее время оросители градирен выполняются из асбестоцементных плоских листов и пластмассовых элементов. Деревянные детали для оросителей используются только для восстановительных работ при разрушении ранее установленных. Срок службы деревянного оросителя, пропитанного антисептиком, - 10 - 12 % лет, асбестоцементного и пластмассового - 25 - 30 лет. 1.8. Брызгальные градирни эксплуатируются на электростанциях с ограниченной конденсационной нагрузкой, так как температура охлажденной воды в брызгальной башенной градирне при обслуживании паровых турбин с номинальной конденсационной нагрузкой на 4 - 5 °С выше, чем в градирне с современным пленочным оросителем. А. ПРИЕМКА ГРАДИРЕН В ЭКСПЛУАТАЦИЮ2. ПРАВА И ОБЯЗАННОСТИ РАБОЧЕЙ КОМИССИИ2.1. Приемка в эксплуатацию вновь построенных и реконструируемых градирен производится рабочей комиссией, в состав которой входят представители заказчика, генерального подрядчика, субподрядных организаций, организаций, выполнивших проект, органов государственного санитарного и пожарного надзора, представители других заинтересованных организаций. 2.2. Рабочая комиссия создается после получения извещения подрядчика о готовности объекта. 2.3. Рабочая комиссия имеет право: привлекать в случае необходимости отдельных специалистов по проверке качества и готовности отдельных узлов и конструкций градирни; проверять соответствие объемов и качества произведенных скрытых работ данным, указанным в актах, представленных подрядчиком; проверять соответствие объемов и качество работ, указанных в актах приемки отдельных конструкций и узлов градирни, фактически выполненным работам, а также правильность заключений по опробованию работы градирни. 2.4. Рабочая комиссия обязана: проверить качество и соответствие выполненных строительно-монтажных работ и проектно-сметной документации строительным нормам и правилам производства работ; дать заключение по результатам произведенного заказчиком опробования работы градирни и вынести решение об ее готовности к эксплуатации; составить акты приемки по результатам проверок готовности градирни. 2.5. Подрядчик представляет рабочей комиссии следующую документацию: перечень организаций, участвовавших в производстве строительно-монтажных работ, с указанием видов выполненных ими работ и фамилий инженерно-технических работников, непосредственно ответственных за выполнение этих работ; комплект рабочих чертежей на строительство предъявляемой к приемке градирни с подтверждениями о соответствии выполненных в натуре работ этим чертежам или с указанием о внесенных в них изменениях, подтвержденных лицами, ответственными за производство строительно-монтажных работ. Указанный комплект рабочих чертежей является исполнительной документацией; сертификаты, технические паспорта или другие документы, удостоверяющие качество материалов, конструкций и деталей, примененных при производстве строительно-монтажных работ; акты освидетельствования скрытых работ в днище бассейна, наклонной колоннаде, опорном кольце (при железобетонной оболочке) и несущих металлических конструкциях каркаса (при обшивной оболочке); акты испытания водосборного бассейна на утечку; акты проверки соответствия проекту грунтов основания с приложением данных геологических изысканий; акты проверки соответствия привязки градирни по генеральному плану с приложением схемы привязки; акты проверки соответствия фундамента оболочки градирни (перед его засыпкой) и ее каркаса проекту; акты на скрытые работы по установке арматуры, по устройству гидроизоляции фундаментов и днища бассейна; журналы производства работ. 2.6. При сооружении обшивной оболочки градирни с металлическим каркасом генеральный подрядчик дополнительно должен представить: сертификаты на электроды и другие материалы, использованные при сварке; журналы сварочных работ, выполненных при монтаже и заделке стыков; акты промежуточной приемки смонтированных металлических конструкций; документацию по лабораторным анализам и испытаниям качества сварки и замоноличивания стыков; результаты проверки качества конструкций; копии дипломов и удостоверений сварщиков, проводивших сварку конструкций при монтаже; заводские сертификаты на поставленные металлические конструкции, метизы, электроды и т.п.; результаты геодезических измерений при проверке разбивки осей каркаса и установке конструкций; данные долговременных геодезических наблюдений за вертикальным перемещением металлического каркаса, полученные генеральным подрядчиком в процессе строительства; акты предусмотренных проектом испытаний металлических конструкций. 2.7. Вся техническая документация, кроме исполнительных чертежей, представляется рабочей комиссии подрядчиком в двух экземплярах, и после окончания работы комиссии хранится у заказчика. 2.8. В состав подкомиссии входят представители цеха, в ведении которого находится градирня, или гидротехнической службы заказчика, отдела капитального строительства, строительно-монтажной и проектной организаций. 2.9. Состав подкомиссии утверждается на заседании рабочей комиссии. Руководство работой подкомиссии возлагается на одного из членов рабочей комиссии или на представителя соответствующего цеха электростанции. 2.10. Перед началом работы подкомиссии стоящие перед ней задачи предварительно изучаются ее членами по проектным и отчетным материалам, представляемым заказчиком. 2.11. Подкомиссия составляет заключение о состоянии соответствующей части принимаемой градирни и готовности ее к приемке в эксплуатацию. Заключение должно содержать: краткую оценку качества выполненных строительных и монтажных работ; наименование организаций, разработавших и утвердивших проект; наименование организаций, выполнивших строительные и монтажные работы; плановые и фактические даты начала и окончания строительства; краткую характеристику градирни по проекту и фактическому выполнению; оценку соответствия выполненных строительно-монтажных работ проекту с характеристикой важнейших отклонений и их влияния на условия эксплуатации; оценку качества примененных материалов и готовых изделий и сведения о соответствии их характеристик техническим условиям; результаты проверки устранения недоделок и исправления дефектов строительно-монтажных работ; выводы и предложения по мероприятиям, которые должны быть проведены для обеспечения бесперебойной и надежной работы градирни. 2.12. Заключение подкомиссии представляется рабочей комиссии в письменном виде с приложением необходимых чертежей, схем, фотографий и подписывается всеми членами подкомиссии. При разногласиях по отдельным пунктам заключения подкомиссии и подрядчика или заказчика последние представляют в качестве приложения к заключению письменные замечания в виде особого мнения. Решение рабочей комиссии по замечаниям и разногласиям является обязательным для всех членов подкомиссии. 2.13. Всю документацию, необходимую для работы подкомиссии (проекты, отчеты и т.д.), представляют подрядчик и заказчик. 2.14. Председатель рабочей комиссии должен представить в организацию, назначившую эту комиссию, акт приемки градирни в эксплуатацию (приложение 1), а также краткую докладную записку к акту приемки, содержащую выводы и предложения с приложением особых мнений отдельных членов комиссии. Акт приемки градирни в эксплуатацию и докладная записка составляются в пяти экземплярах, один из которых представляется в организацию, назначившую комиссию, на утверждение; по одному экземпляру акта и докладной записки передается заказчику, генеральному проектировщику и наладочной организации (при ее участии в приемке). 2.15. Акт рабочей комиссии рассматривается и утверждается организацией, назначившей ее, не позднее чем в месячный срок после его представления. 2.16. После приемки градирни в эксплуатацию необходимо в согласованные сроки составить паспорт градирни (приложение 2). 2.17. Недоделки и дефекты строительства и монтажа, вызванные отклонениями от рабочих чертежей или возникшие вследствие несоблюдения технологии, нарушения требований строительных норм и правил, соответствующих инструкций и указаний при производстве работ, должны быть устранены за счет организации, допустившей их. Дополнительные работы, согласованные с проектной организацией, выполняются за счет заказчика по отдельным наряд-заказам. Срок исполнения согласовывается с организацией, выполняющей эти работы. В течение гарантийного срока монтажные и строительные организации обязаны в установленные комиссией сроки за свой счет устранять дефекты, возникшие по их вине. 3. ПОРЯДОК ПРИЕМКИ СТРОИТЕЛЬНЫХ КОНСТРУКЦИЙ В ЭКСПЛУАТАЦИЮ3.1. Монолитные железобетонные элементы оболочки, водосборного бассейна и фундаментов каркаса обшивной оболочкиЛетнее бетонирование 3.1.1. При летнем бетонировании должны проверяться: качество материалов, применяемых для приготовления бетона, арматуры, а также условия их хранения; качество дозировочных устройств, бетоносмесительных установок и бетонного хозяйства в целом; соответствие качества бетонной смеси, приготовленной для укладки, нормативным данным; правильность ухода за бетоном, сроки снятия опалубки; качество конструкций и устранение обнаруженных дефектов. 3.1.2. Необходимо вести систематическое наблюдение за производством работ с выполнением в необходимых случаях соответствующих анализов, исследований и испытаний, а также установленную техническую документацию по производству и контролю качества работ. 3.1.3. Прочность уложенного бетона определяется испытанием серии образцов, взятых из элементов бетонирования и хранящихся в условиях, предусмотренных действующими правилами. Наряду с проверкой прочности обязательным является испытание бетона на сжатие, морозостойкость и водонепроницаемость по действующим ГОСТ. 3.1.4. Для испытаний берется девять одинаковых образцов из следующих элементов: железобетонной оболочки - из каждого пояса бетонирования; днища и стенок водосборного бассейна - из каждых 10 м3 уложенного бетона; фундаментов каркаса обшивных оболочек - из каждого фундамента. 3.1.5. Оценка прочности бетона в элементах градирен по результатам испытаний контрольных образцов должна определяться в соответствии с ГОСТ 10180-90. 3.1.6. Контроль качества бетона конструктивных элементов градирни может производиться с помощью проверенных физических методов определения прочности, однородности, наличия пор, трещин и т.п. 3.1.7. Если испытаниями установлено, что бетон не удовлетворяет предъявленным требованиям, то возможность и порядок исправления дефектов должны быть определены с участием проектной организации. 3.1.8. Результаты контроля качества работ должны фиксироваться в соответствующих документах (акты, журналы), которые должны быть пронумерованы, прошнурованы и опечатаны. Зимнее бетонирование 3.1.9. Дополнительно к проверке, выполняемой при летнем бетонировании, в зимних условиях проводятся: наблюдение за температурой подогрева воды и заполнителей, а также за температурой бетонной смеси на выходе из смесителя и на месте ее укладки; наблюдение за температурным режимом твердеющего бетона. Результаты указанных наблюдений и проверки прочности образцов должны заноситься в журнал бетонных работ и температурные листы. Данные о методах и сроках выдерживания бетона и образцов для контроля его прочности, о температурах бетона и другие данные по тепловому режиму заносятся в журнал контроля температур. 3.1.10. Температура бетонной смеси на выходе из смесителя, а также температура воды и заполнителей при загрузке в бетоно-смеситель должна измеряться не реже чем каждые 2 ч. 3.1.11. Контроль температуры бетонной смеси при укладке в оболочку или фундамент градирни должен проводиться систематически таким образом, чтобы была исключена возможность укладки бетона с температурой ниже заданной. 3.1.12. Контроль температуры уложенного бетона должен проводиться при: паропрогреве (бетонирование водосборного бассейна и фундаментов) в первые 8 ч - через каждые 2 ч, в последующие 16 ч - через каждые 4 ч, а в остальное время прогрева и остывания - не реже одного раза в смену; электропрогреве (бетонирование оболочки) в первые 3 ч - каждый час, в остальное время прогрева - три раза в смену. Измерение температуры наружного воздуха должно производиться не реже трех раз в сутки. 3.1.13. При измерении температуры бетона градирни термометры должны быть изолированы от влияния температуры наружного воздуха и должны находиться в точке измерения не менее 3 мин. Допускается измерение температуры бетона термометрами сопротивления и термопарами. Температура бетона должна измеряться в местах наиболее неблагоприятного температурного режима. Перечень производственно-технической документации, которую необходимо вести при возведении железобетонной оболочки градирни, приведен в приложении 3. 3.1.14. Для определения фактического воздействия отрицательных температур наружного воздуха на бетон оболочки во время ее эксплуатации термометры сопротивления необходимо установить постоянно в трех точках по высоте оболочки, а именно: в шестом, считая снизу, в шестом, считая сверху, и в среднем поясах. В каждой из этих точек устанавливаются по два термометра таким образом, чтобы расстояние одного из них было 15 - 20 мм от наружной поверхности оболочки, другого - 15 - 20 мм от внутренней поверхности. Для установки рекомендуется термометр сопротивления 0,37 К, градуировка № 22. Приемка выполненных работ 3.1.15. Приемка производственной рабочей комиссией выполненных работ по возведению бетонных и железобетонных конструкций оболочки, фундаментов и водосборного бассейна градирни должна производиться с соблюдением следующих указаний: приемка работ допускается не ранее достижения бетоном проектной прочности и должна осуществляться до затирки его поверхности; при приемке выполненных работ должны производиться внешний осмотр, контрольные измерения и лабораторные испытания. 3.1.16. При приемке должна быть предъявлена следующая документация: рабочие чертежи с нанесением на них всех изменений, которые имели место в процессе строительства и монтажа, а при значительных отступлениях от проекта - исполнительные чертежи; документы по согласованию изменений; журналы работ; данные испытаний контрольных образцов; акты приемки сварных элементов и каркасов; акты промежуточной приемки конструкций; акты приемки оснований. Промежуточной приемке подлежат: участки с установленной опалубкой и арматурой - перед началом бетонных работ; конструктивные элементы и работы, закрываемые в процессе последующего производства работ, - основания, подготовка, гидроизоляция бассейна, арматура. 3.1.17. Приемка отдельных участков водосборного бассейна, фундаментов или оболочки, приготовленных к бетонированию, должна сопровождаться проверкой: качества подготовки основания (у водосборного бассейна и фундаментов); правильности и надежности установки опалубки, арматуры и закладных частей в соответствии с проектом; качества очистки опалубки и арматуры и подготовки бетонных поверхностей; температуры поверхности смежных участков (в зимних условиях); правильности расположения и размеров штраб и анкеров в оболочке, а также вкладышей для образования проемов и каналов в стенке водосборного бассейна; качества изоляции деформационных швов днища водосборного бассейна. 3.1.18. При приемке законченных работ по возведению железобетонной оболочки, водосборного бассейна и фундаментов несущего каркаса обшивной оболочки градирни должны определяться: качество бетона - прочность, морозостойкость и водонепроницаемость; качество поверхности уложенного бетона; наличие и правильность установки закладных частей; наличие и правильность выполнения деформационных швов днища водосборного бассейна; соответствие внешних очертаний и геометрических размеров вытяжной оболочки, водосборного бассейна и фундаментов несущего каркаса обшивной оболочки проекту; правильность расположения сооружения в плане, глубина заложения фундаментов, а также высотные отметки водосборного бассейна и оболочки. Возможность приемки градирни в эксплуатацию при неудовлетворительных результатах испытаний элементов конструкций (бетонных образцов) должна устанавливаться комиссией с привлечением специализированной организации на основе освидетельствования конструкций в натуре. 3.1.19. Отклонения в размерах и положении выполненных монолитных бетонных и железобетонных конструкций градирен от проектных не должны превышать допустимых значений, указанных в табл. 1. 3.1.20. Контроль качества торкретирования заключается в проверке: качества исходных материалов; влажности заполнителей; подготовки участков к торкретированию (подготовка поверхности, установка арматуры и ее крепление и др.); правильности дозировки составляющих и приготовления сухой смеси; соответствия состава сухой смеси заданному давлению воздуха в машине; толщины наносимых слоев; сроков и продолжительности поливки; качества выполненных работ; прочности отобранных контрольных образцов. Перечисленные данные должны фиксироваться в журнале работ по торкретированию. Таблица 1 Допустимые отклонения при монтаже монолитных железобетонных конструкций градирни
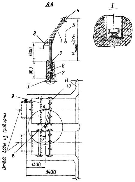
3.1.21. При производстве работ по торкретированию один раз в смену из наносимого раствора или бетонной смеси изготовляются контрольные образцы в виде плит или призм. Образцы изготовляются торкретированием вертикально установленных плит на проектную толщину с последующей распиловкой изготовленной плиты на кубики для испытания на водонепроницаемость. Образцы хранятся в условиях, аналогичных производственным. 3.1.22. Приемка выполненных работ по торкретированию должна производиться в процессе выполнения работ и после их окончания. Промежуточной приемке с составлением актов на скрытые работы подлежат подготовленные под торкрет поверхности и установленная арматура. 3.1.23. При окончательной приемке работ по торкретированию должны предъявляться: акты промежуточной приемки работ; данные о результатах проверки применяемых материалов; журналы работ по торкретированию. 3.2. Сборные железобетонные конструкции3.2.1. Элементы сборных железобетонных конструкций, поступающие на стройплощадку для строительства или реконструкции градирен, должны соответствовать проекту, ГОСТ и нормалям - техническим условиям. 3.2.2. Каждая партия железобетонных изделий должна уметь паспорт, выдаваемый заводом-изготовителем. 3.2.3. Приемка элементов железобетонных конструкций, поступающих на монтаж, производится внешним осмотром. 3.2.4. Элементы несущей колоннады и опорного пояса, а также каркаса оросителя принимаются поштучно, а все остальные элементы - выборочно. При приемке необходимо проверять: отсутствие деформаций, повреждений (сколов); соответствие размеров проектным; правильность расположения закладных частей, монтажных петель, выпусков арматуры и фиксирующих устройств; отсутствие раковин, трещин; наличие паспорта. 3.2.5. На бракованные элементы составляется акт с участием представителей генерального подрядчика, монтажной организации и завода-изготовителя. 3.2.6. На элементы несущей колоннады, фундаментов, каркаса оросительного устройства должны быть нанесены риски, указывающие оси и метки, определяющие места опирания при транспортировке и складировании, а также места стропки, если проектом не предусмотрены для этого монтажные петли. 3.2.7. Сборные элементы должны поставляться с комплектующими стальными деталями, необходимыми для выполнения сварных соединений. 3.2.8. Не допускаются следующие дефекты закладных и комплектующих деталей: трещины, расслоения, грубые рваные зазубренные кромки, срезы торцов, отклонения на угол более 15°, участки, сплющенные на глубину более 0,1 толщины детали или диаметра стержня. 3.2.9. Элементы конструкций, балок и стоек каркаса оросителя, у которых верх трудно отличить от низа, и у которых несимметрично расположена рабочая арматура, должны иметь надписи («верх», «низ» и другие указатели) для определения правильного положения их при перевозке, складировании и монтаже. 3.2.10. Приемка монтажных работ осуществляется в целях проверки: соответствия элементов проекту; качества монтажных работ; готовности возведенных элементов к производству последующих строительно-монтажных работ. При приемке должны проверять: правильность установки элементов конструкции и плотность примыкания элементов к опорным поверхностям и друг к другу (в пределах допустимых отклонений - см. табл. 2); качество сварки и заделки стыков и швов; сохранность элементов. 3.2.11. Промежуточной приемке подлежат следующие конструкции и работы: основания под фундаменты каркаса обшивной оболочки; несущая колоннада и нижний опорный пояс оболочки; опоры и места опирания каркаса оросителя. Таблица 2 Допустимые отклонения при монтаже сборных железобетонных конструкций градирни
3.2.12. Актами на скрытые работы оформляется приемка следующих работ: гидроизоляция; сварка выпусков арматуры и закладных частей; защита металлических деталей от коррозии; заделка и герметизация швов. Акты на скрытые работы подписываются заказчиком и подрядной организацией. 3.2.13. Приемка монтажных работ производится после закрепления узлов и не ранее приобретения бетоном и заделкой стыков проектной прочности. В процессе сдачи-приемки производятся осмотр стыков, контрольные измерения, а в необходимых случаях - испытания. Качество строительных материалов, деталей и конструкций должно подтверждаться паспортами, сертификатами и другими документами, а при необходимости - актами испытаний. 3.2.14. Приемка последующих строительно-монтажных работ производится после окончания монтажа всей сборной конструкции (фундаментов, несущей колоннады, опорного пояса, каркаса оросителя). Приемка производится с участием представителей генерального подрядчика и монтажной организации и оформляется актами. 3.2.15. При приемке смонтированных конструкций приемочной комиссии должны быть предъявлены следующие документы: паспорта на конструкции или их элементы, выданные предприятием-изготовителем; сертификаты на материалы, примененные при монтаже; сертификаты на электроды, использованные при сварке; исполнительные и рабочие чертежи конструкции с нанесением на них отклонений от проекта, допущенных в процессе монтажа и согласованных с проектной организацией; журналы монтажных, сварочных работ и заделки стыков; акты промежуточной приемки смонтированных конструкций; акты на скрытые работы; документация лабораторных анализов и испытаний мест сварки и замоноличивания стыков; данные о результатах инструментальной проверки конструкции. 3.3. Арматурные работы3.3.1. При приемке арматурных работ должно проверяться выполнение следующих требований: применяемая для изготовления железобетонных монолитных конструкций арматура должна выполняться и монтироваться в соответствии с рабочими чертежами элементов градирни; применение арматурной стали, отличающейся по классу, марке, сортаменту от предусмотренной проектом, или замена конструкции анкеров должно быть согласовано с организацией, разработавшей рабочий проект градирни; арматурная сталь, закладные детали и анкеры при приемке должны подвергаться внешнему осмотру и измерениям; при приемке арматурной стали должно проверяться соответствие ее требованиям соответствующих ГОСТ или ТУ; арматурная проволока, пораженная коррозией, к применению не допускается (проволока считается пораженной коррозией в том случае, если продукты коррозии - налет или ржавчина не поддаются удалению протиркой); арматурная сталь и арматура должны храниться раздельно по партиям, при этом должны приниматься меры, предупреждающие их коррозию, загрязнение, а также должны обеспечиваться сохранность металлических бирок поставщика и возможность доступа к ним. 3.3.2. Контроль за качеством арматурных работ заключается в проверке правильности: размеров стержней арматуры; установки штучной арматуры и арматурных каркасов; выполнения скреплений в местах пересечений стержней и стыков; выполнения сварных соединений; установки специального устройства или цементно-песчаных прокладок, обеспечивающих необходимую толщину защитного слоя бетона рабочей арматуры; установки дюбелей для монтажа металлических конструкций и грозозащиты. 3.3.3. Приемка установленной в конструкциях градирен арматуры должна оформляться актом на скрытые работы, в котором указываются номера рабочих чертежей и отступления от проекта, дается оценка качества арматурных работ и заключение о возможности бетонирования. К акту на скрытые работы должны быть приложены: заводские сертификаты арматурной стали или результаты ее лабораторных испытаний; акты приемки арматуры, изготовленной на заводе или в мастерских; копии или перечень документов о разрешении внесения изменений в рабочие чертежи. 3.3.4. Отклонения при заготовке и установке арматуры должны приниматься в соответствии с требованиями действующих нормативно-технических документов. 3.4. Металлические элементы каркаса обшивной оболочки, лестниц и площадок3.4.1. Приемка смонтированных элементов металлоконструкций производится до грунтовки; приемка работ по грунтовке производится после ее выполнения. Допустимые отклонения размеров металлоконструкций от проектных не должны превышать указанных в табл. 3. Таблица 3 Допустимые отклонения размеров металлоконструкций
3.4.2. При приемке стальных элементов конструкций после изготовления всего заказа или его части завод-изготовитель должен выдавать сертификаты на стальные конструкции, в которых должно быть указано соответствие материалов, примененных для изготовления стальных конструкций, проекту и стандартам, а также соответствие изготовленных конструкций проекту. 3.4.3. Приемка смонтированных стальных конструкций состоит из: промежуточной приемки скрытых работ; окончательной приемки смонтированных конструкций осей градирен или ее части. 3.4.4. Промежуточной приемке с составлением актов на скрытые работы подлежат: фундаменты и другие опоры под стальные конструкции и различные бетонируемые и заделываемые закладные детали; стальные конструкции, закрываемые в процессе производства последующих работ. 3.4.5. Приемка фундаментов и опор под стальные конструкции каркаса оболочки градирни и закладных деталей должна производиться по отдельным секциям до начала монтажа конструкций с составлением приемо-сдаточного акта. При приемке следует проверять соответствие размеров и положения опорных поверхностей, специальных опорных устройств и анкерных болтов проекту, а также допустимым отклонениям, приведенным в табл. 4. Таблица 4 Допустимые отклонения при устройстве опор под стальные конструкции каркаса оболочки градирни
3.4.6. Приемка смонтированных конструкций всего каркаса оболочки или отдельно его пространственно-жестких секций должна осуществляться, согласно проекту, до выполнения окраски и оформляться актом; окраска конструкций оформляется отдельным актом. 3.4.7. При приемке смонтированных стальных конструкций должна представляться следующая документация: деталировочные чертежи стальных конструкций (КМД); заводские сертификаты на сталь конструкций; документы о согласовании допущенных отступлений от проекта; согласованные отступления от проекта должны быть нанесены монтажной организацией на чертежи КМД; акты приемки скрытых работ; сертификаты и другие документы на метизы, электроды, электродную проволоку и другие сварочные материалы, примененные при монтаже; данные о результатах геодезических измерений при проверке разбивочных осей и установке конструкций; журналы работ. Допустимые отклонения положений смонтированных стальных конструкций от предусмотренных проектом не должны превышать значений, указанных в табл. 5. Таблица 5 Допустимые отклонения при монтаже стальных конструкций каркаса оболочки градирни
Примечание. Площадки опирания балок, ферм и ригелей должны иметь одинаковую длину для каждого конца опирания. Разница в длине опирания каждого элемента не должна превышать 10 мм. 3.4.8. Не разрешается производство каких-либо последующих строительно-монтажных работ до подписания акта сдачи всех смонтированных конструкций либо части их, а также акта сдачи скрытых работ. 3.4.9. Дефекты стальных конструкций, выявленные в течение гарантийного срока эксплуатации градирни и происшедшие по вине завода-изготовителя или монтажной организации, должны быть ими устранены. В течение гарантийного срока организация, эксплуатирующая градирню, должна вести наблюдение за состоянием стальных конструкций, условиями их работы, соответствием фактических нагрузок расчетным и за осадками фундаментов. 3.5. Деревянные элементы обшивки, оросительного и водоулавливающего устройств3.5.1. Конструкции и изделия, изготовленные деревообрабатывающими предприятиями, должны поставляться комплектно со всеми необходимыми элементами соединений. К комплекту конструкций и изделий должны быть приложены паспорт, спецификация деталей и материалов, а также указания по сборке конструкций. Элементы конструкций должны иметь маркировку и сопроводительную заводскую документацию. 3.5.2. Элементы конструкции и изделия должны поступать с завода пропитанными антисептиком в соответствии с проектом. При вынужденном снятии слоя древесины плоскости должны быть заново обработаны антисептиком. 3.5.3. Неплотность в стыках составных элементов несущих деревянных конструкций не должна превышать 1 мм. 3.5.4. Влажность пиломатериалов, применяемых для сооружения элементов градирен, не должна превышать 30 %. 3.5.5. Доски обшивки должны быть шпунтованы, причем доски для обшивки башни должны иметь удлиненный шпунт. Обшивка башни и шатра должна быть выполнена с учетом разбухания досок, т.е. с зазорами между досками, значения которых должны быть в пределах 1,5 ÷ 2,5 % ширины доски (зазоры выполняются с таким расчетом, чтобы при разбухании досок при эксплуатации они полностью закрывались). 3.5.6. Ширина досок для обшивки не должна превышать 160 мм во избежание значительного коробления. 3.5.7. Деревянные конструкции на нагельных и болтовых соединениях должны удовлетворять следующим требованиям: отверстия для металлических нагелей и болтов должны обеспечить плотную установку их. Диаметры отверстий для рабочих болтов и нагелей должны соответствовать диаметрам последних; диаметры отверстий для стяжных болтов должны быть больше диаметров этих болтов на 1 - 2 мм; пластинчатые нагели должны иметь размеры, обеспечивающие их вставку в гнезда с небольшим трением; глубина гнезда должна быть на 2 мм больше длины пластинки. 3.5.8. Гвозди, использованные для соединения деревянных конструкций оросителя, должны быть оцинкованные и при встречной забивке не должны пробиваться через пакет насквозь; в случае, если проектом предусмотрена сквозная пробивка, концы гвоздей следует загибать поперек волокон. 3.5.9. Собранные деревянные блоки оросителя или щитов водоуловителя до установки их на место необходимо принимать по промежуточным актам. Приемка заключается в проверке: соответствия качества примененных материалов проекту; качества антикоррозионной защиты; точности выполнения отдельных деталей, соединений. Допустимые отклонения при изготовлении и установке деревянных блоков оросителя и щитов водоуловителя приведены в табл. 6. 3.5.10. Приемка законченных работ по сборке деревянных конструкций сопровождается осмотром их в натуре и контрольными измерениями. Конструктивные элементы, закрываемые в процессе выполнения последующих работ, подлежат до их закрытия промежуточной приемке с составлением актов на скрытые работы. 3.5.11. Отклонения положения установленных деревянных конструкций от проектного не должны превышать значений, указанных в табл. 6. 3.5.12. При приемке выполненных работ по деревянным конструкциям необходимо предъявить: рабочие чертежи с внесенными в них изменениями и документы о согласовании изменений с проектной организацией; паспорт завода-изготовителя на конструкции; акты на работы по антисептической обработке древесины. Таблица 6 Допустимые отклонения при изготовлении и установке деревянных блоков оросителя и щитов водоуловителя
3.5.13. Приемка деревянных конструкций градирен производится в нерабочем состоянии при опорожненном водосбросом бассейне. 3.6. Асбестоцементные элементы оросительного устройства и обшивки оболочки3.6.1. Асбестоцементные листы оросительного устройства должны соответствовать техническим условиям. 3.6.2. Отклонения размеров установленных блоков из асбестоцементных листов от проектных не должны превышать по: длине ± 10 мм; ширине ± 10 мм; высоте ± 5 мм. 3.6.3. Листы блоков оросителя не должны иметь трещин. 3.6.4. Блоки оросителя не должны иметь отколов углов и кромок, превышающих 20 мм по длине и ширине. 3.6.5. Перед сборкой листов в блоки необходимо произвести контрольную проверку не менее 5 листов из каждого блока. Отобранные для проверки листы подвергаются осмотру и испытанию на прочность согласно техническим условиям. 3.6.6. Порядок сборки асбестоцементных листов в блоки и установка последних в градирню должна соответствовать проекту. Отклонение расстояния между асбестоцементными листами блока оросителя от проектного допускается не более ± 2 мм, смещение от вертикального положения листов - не более ± 5 мм. 3.6.7. При устройстве обшивки оболочки из асбестоцементных листов предварительно проверяется качество листов и их соответствие техническим условиям. 3.6.8. В процессе приемки обшивки определяется качество работ, соответствие выполненных работ требованиям проекта. 3.6.9. При приемке работ по обшивке проверяется журнал производства работ, в котором должны фиксироваться дата выполнения работы, условия производства работ на отдельных захватах и результаты систематического контроля за качеством укладываемых в оболочку листов и крепежных материалов. 3.6.10. Особое внимание необходимо уделять качеству работ по обеспечению плотности обшивки: вертикальные и горизонтальные стыки между листами обшивки, а также все неплотности, возникшие при монтаже, должны быть проконопачены и залиты раствором; на все стягивающие болты между листами по высоте вертикальных стыков должны быть установлены шайбы; в местах, где волнистый асбестоцементный лист накладывается на плоский лист в крайней к углу волне, необходимо выполнение шпонки по всей высоте листов из пакли с раствором; зазоры в углах башни между стойками металлического каркаса должны быть перекрыты по всей высоте оцинкованным железом, прикрепляемым к металлу башни; все асбестоцементные листы после заготовки должны быть окрашены с обеих сторон два раза антикоррозионным составом в соответствии с проектом. 3.7. Алюминиевая обшивка3.7.1. Листы для алюминиевой обшивки предъявляются к приемке партиями. Каждая партия должна состоять из листов одной марки алюминия или алюминиевого сплава одного состава и одного размера. Контролироваться должны размеры каждого десятого листа. На качество поверхности и выкатки проверяется каждый лист. 3.7.2. Каждая партия листов должна сопровождаться документом, удостоверяющим соответствие требованиям проекта. 3.7.3. Все крепежные детали алюминиевых листов между собой и с другими элементами должны быть оцинкованными, применение в качестве крепежа самонарезающих болтов не допускается. 3.7.4. Алюминиевая обшивка внутри градирни должна быть защищена от водяных брызг деревянными щитами. Наружная и внутренняя поверхности алюминиевых листов, смачиваемых водой, рекомендуется покрыть анодной пленкой с последующим нанесением одного слоя грунтовки АК-069 и одного слоя эмали ХВ-16 или ХВ-124 или др., а места сопряжения алюминиевых листов во избежание щелевой коррозии рекомендуется защищать одним слоем грунтовки АК-069 или АК-070 и одним слоем эмали ХВ-16 или ХВ-124 и др. 3.7.5. Для предотвращения контактной коррозии между алюминиевыми листами и металлическим каркасом применяются паронитовые прокладки. 3.8. Трубопроводы водораспределительного устройства3.8.1. Элементы, детали, узлы и арматура, используемые для монтажа трубопроводов, должны удовлетворять требованиям стандартов, нормалей и технических условий и иметь сертификаты или паспорта заводов-изготовителей. Материалы и изделия, не имеющие сертификатов или паспортов, могут применяться для изготовления и монтажа трубопроводов только после их проверки на соответствие стандартам, нормалям и техническим условиям. 3.8.2. Узлы деталей трубопроводов и опоры перед монтажом должны быть осмотрены. Поверхность труб, фасонных деталей, фланцев и прокладок не должна иметь трещин, раковин, заусенцев и других дефектов. 3.8.3. Узлы трубопроводов и опоры, поступающие для монтажа, должны быть комплектными и иметь маркировку в соответствии с указанием проекта. 3.8.4. Отклонения габаритных размеров узлов трубопроводов от проектных не должны превышать: при габаритном размере узла до 3 м ± 5 мм; на каждый последующий полный метр увеличения габаритного размера ± 2 мм. При этом общее отклонение не должно превышать ± 15 мм. 3.8.5. Отклонение размера выходного сечения разбрызгивающего сопла от проектного не должно превышать ± 1 мм. 3.8.6. Внешнему осмотру подлежат все сварные швы для выявления следующих дефектов: трещин, выходящих на поверхность шва или основного металла в зоне сварки; наплывов и надрезов в зоне перехода от основного металла к наплавленному; прожогов; неравномерности усиления сварного шва по ширине и высоте, а также возможности его отклонения от оси (перекосов). 3.8.7. При физических методах контроля сварные швы должны браковаться, если в них будут обнаружены следующие дефекты: непровар глубиной более 15 % толщины стенки трубы, если он не превышает 20 мм, а при толщине стенки свыше 20 мм - более 3 мм; шлаковые включения в поры глубиной более 10 % толщины стенки трубы, если они не превышают 20 мм, и 3 мм - при толщине стенки свыше 20 мм. 3.8.8. Исправление дефектов сварных швов трубопроводов допускается, если при условном диаметре трубопровода до 100 мм длина трещин меньше 20 мм и при условном диаметре свыше 100 мм - меньше 50 мм, а также, если протяженность участков с недопустимыми дефектами меньше 1/4 окружности шва. Исправление должно производиться с обязательной вырубкой дефектных мест и заваркой их вновь. В остальных случаях дефектный шов должен быть удален из трубопровода. 3.8.9. Расположение и диаметр трубопроводов и разбрызгивающих сопл должны соответствовать проектным данным. Допустимые отклонения от разбивочной оси: магистральных трубопроводов ± 50 мм; распределительных трубопроводов ± 30 мм; разбрызгивающих сопл ± 30 мм. Допустимые отклонения по высоте ± 30 мм. 3.8.10. Трубопроводы могут быть приняты в эксплуатацию только после проверки качества антикоррозионного покрытия и его соответствия проекту. 3.8.11. При приемке смонтированных трубопроводов водораспределительного устройства в эксплуатацию должна быть представлена следующая техническая документация: паспорта и сертификаты на элементы заводского изготовления и сопла; сертификаты на сварочные материалы; акты проверки внутренней очистки трубопроводов; заключения о качестве сварных швов трубопроводов физическими методами контроля и протоколы механических испытаний; акты испытания разбрызгивающих сопл и арматуры (если они проводились); акты испытания трубопроводов на прочность и плотность; журналы сварочных работ; акты промывки трубопроводов. 3.9. Антикоррозионная защита строительных конструкций3.9.1. Работы по антикоррозионной защите строительных конструкций градирен подлежат обязательной приемке как по мере выполнения отдельных процессов (промежуточная приемка), так и после окончания всех работ (окончательная приемка). 3.9.2. Приемка осуществляется заказчиком с участием представителей генерального подрядчика. 3.9.3. Работы по защите строительных конструкций градирен от коррозии должны подвергаться промежуточному освидетельствованию. Подготовка поверхностей для защиты противокоррозионными покрытиями заключается в их очистке, обезжиривании и выравнивании в целях обеспечения сцепления защитного покрытия с поверхностями. 3.9.4. Подготовка поверхностей металлических конструкций каркаса оболочки и трубопроводов водораспределения должна выполняться в следующем технологическом порядке: срезка временных монтажных приспособлений; устранение задиров и наплывов металла, зачистка сварочных швов, удаление окислов, закругление острых краев и заполнение углов; обезжиривание растворителями (промывка, протирка). 3.9.5. Поверхности металлических конструкций следует очищать, применяя механические щетки и скребки, пескоструйные или дробеструйные установки, а подчищать отдельные места следует наждачными камнями. 3.9.6. При промежуточной приемке выполненных работ по подготовке поверхностей, подлежащих антикоррозионной защите, следует проверить: поверхность металлических конструкций каркаса оболочки, трубопроводов водораспределения и стояков на качество очистки от ржавчины, окалины, старой краски и загрязнений; отсутствие в сварных швах наплывов, прожогов, сужений, перерывов и трещин; плотность сварных швов по всей длине и плавность переходов их к основному металлу; поверхность железобетонных конструкций фундаментов водосборного бассейна, оболочки, каркаса оросителя на отсутствие выступающей арматуры, проволоки и остатков опалубки, ровность (затирку) поверхности, степень ее просушки, отсутствие трещин, отслоений, пустот; поверхность деревянных конструкций обшивки оболочки, оросительного и водоулавливающего устройств, отсутствие трещин, степень просушки. 3.9.7. Особое внимание следует уделить приемке поступающих на строительство или реконструкцию деревянных конструкций, все обработанные антисептиком элементы должны иметь паспорт. В паспорте должны быть указаны: вид применяемого антисептика, метод обработки, количество поглощенного защитного вещества и глубина его проникновения в древесину. При возникновении сомнений в качестве произведенной защитной обработки заказчик должен провести контрольные испытания обработанной древесины. 3.9.8. При антисептировании деревянных конструкций обшивки оросителя или водоуловителя градирни на строительной площадке приемка производится путем осмотра обработанных конструкций с проверкой актов лабораторных анализов на качество обработки. 3.9.9. В актах на производство защитной обработки антисептиком деревянных конструкций оросителя, оболочки и водоуловителя градирни должны быть указаны: рецептура применяемых антисептических составов; расход раствора антисептика на 1 м2 поверхностей древесины и соответствие фактического расхода требованиям норм. 3.9.10. При приемке законченных работ по антикоррозионной защите должны проверяться: сплошность покрытия; степень сцепления покрытия с защищаемой поверхностью; степень затвердения поверхностей покрытия; толщина и общее состояние покрытия. 3.10. Грозозащита и светоограждение3.10.1. Приемка в эксплуатацию устройств грозозащиты и светоограждения градирни должна производиться после предварительной их приемки комиссией от монтажной организации и устранения всех дефектов и недоделок, отмеченных этой комиссией в акте предварительной приемки. 3.10.2. Законченные скрытые работы должны быть приняты заказчиком и оформлены актом. 3.10.3. Отклонения от проекта, допущенные в процессе выполнения электромонтажных работ, должны фиксироваться в специальной ведомости, которая передается заказчику при приемке устройств грозозащиты и светоограждения; эти отклонения должны быть внесены в чертежи, принципиальные схемы и в кабельные журналы. 3.10.4. При приемке в эксплуатацию средств грозозащиты и светоограждения градирни должны проверяться: соответствие выполненных работ проекту и требованиям соответствующих правил; качество выполненных работ, а также исправность смонтированных устройств; техническая документация, составленная в процессе выполнения монтажа. 3.10.5. К акту сдачи работ должны быть приложены: ведомость технических документов; ведомость изменений и отступлений от проекта и исправленные чертежи; ведомость электромонтажных недоделок, не препятствующих нормальной эксплуатации, с указанием сроков их устранения; справка об устранении недоделок; протокол измерения сопротивления изоляции электропроводки и кабелей; акт осмотра заземлителей перед закрытием (акт на скрытые работы); акт измерения сопротивления заземлителей; акт проверки наличия цепи между заземлителями и заземляющими элементами. 4. ПРОБНЫЙ ПУСК ГРАДИРНИ4.1. Пробный пуск градирни осуществляется после окончания всех строительно-монтажных работ и устранения дефектов и недоделок, определенных комиссией. 4.2. До пробного пуска градирни должны быть выполнены следующие мероприятия: переключательные колодцы должны быть оборудованы скобками для спуска обслуживающего персонала и иметь плотно закрывающиеся люки, выполненные из дерева или листовой стали; стенки колодца должны быть оштукатурены и не иметь оголенной арматуры, трещин и поврежденной штукатурки; колодцы должны быть очищены от мусора и посторонних предметов, в них не должно быть воды. 4.3. Изоляция электрокабелей к приводам задвижек не должна иметь повреждений, соединения кабелей должны быть надежно изолированы. 4.4. Стальные трубопроводы подлежат проверке для выявления их гидравлической плотности независимо от предъявленных актов на их опробование под давлением. 4.5. Фланцевые соединения трубопроводов должны быть герметичны, а задвижки, установленные на трубопроводах, должны обеспечивать плотность. 4.6. Механизм ручного привода задвижек должен быть хорошо подогнан, скольжение клиньев задвижки должно обеспечивать легкость открывания и закрывания. При наличии электропривода задвижки должны свободно открываться и закрываться как с помощью электропривода, так и вручную. 4.7. Места прохода трубопроводов через стенки колодца и резервуара градирни должны быть уплотнены во избежание фильтрации. 4.8. Переключательные колодцы у градирни должны быть оборудованы скобами для спуска обслуживающего персонала. Они должны иметь плотно закрывающиеся люки, выполненные из дерева или листовой стали. Стенки колодца должны быть оштукатурены и не иметь оголенной арматуры, трещин и поврежденной штукатурки. Колодцы должны быть очищены от мусора и посторонних предметов, в них не должно быть воды. 4.9. Изоляция электрокабелей к приводам задвижек не должна иметь повреждений, соединения кабелей должны быть надежно изолированы. 4.10. Магистральные и напорные трубопроводы водораспределения должны быть очищены, не должны иметь неплотностей, создающих течи. Наиболее тщательно следует осматривать места соединения напорных трубопроводов с водораспределительными стояками. 4.11. Количество и диаметр установленных сопл должно строго соответствовать проекту. Выходные отверстия сопл должны быть направлены вверх, а сопла - очищены от посторонних предметов. 4.12. При осмотре оросительного устройства необходимо обращать особое внимание на установку блоков в соответствии с проектом. 4.13. В случае образования щелей между блоками оросителя, а также на участках их примыкания к водораздаточным стоякам и обшивке в этих местах должны быть дополнительно уложены и закреплены доски, препятствующие неорганизованному проходу воздуха и образованию завихрений внутри оболочки. 4.14. При пробном пуске особенно тщательно должна быть проверена водонепроницаемость водосборного резервуара путем заполнения его водой до проектной отметки и наблюдения за падением уровня воды в нем. Целостность и достаточная герметизация бассейна градирни проверяется осмотром и испытанием на утечку воды. 4.15. При приемке градирни в зимний период заполненный водой бассейн опорожнять не следует, а образующийся на поверхности воды лед следует скалывать у бортов водосборного бассейна градирни, не допуская промораживания воды на глубину более 50 мм. 4.16. При разделении резервуара на отдельные отсеки необходимо проверять наличие между отсеками перепускной трубы с задвижкой и качество их монтажа. Сопряжение перепускного трубопровода со стенкой резервуара должно быть плотным, задвижка перепускного трубопровода должна быть исправной и свободно закрываться и открываться. 4.17. Необходимо проверять работу и соответствие проекту переливных трубопроводов, трубопроводов опорожнения бассейна, а также запорную арматуру. 4.18. Особое внимание должно быть уделено: плотности и герметизации швов бетонирования железобетонной оболочки; плотности и герметизации сопряжения стыков при устройстве обшивной оболочки. 4.19. Металлические каркасы башен обшивной градирни, лестницы и площадки должны быть тщательно покрыты антикоррозионной изоляцией в соответствии с проектом. 4.20. Двери для входа в градирню должны быть плотными и хорошо пригнанными. 5. ПРИЕМОЧНЫЕ ИСПЫТАНИЯ ГРАДИРНИ5.1. Для окончательной приемки рабочей комиссией в эксплуатацию градирни необходимо провести ее комплексное опробование. 5.2. Приемочные испытания градирни проводятся с целью выявления фактического охлаждающего эффекта и сравнения его с проектным. 5.3. Если в результате приемочных испытаний будет установлено, что фактический охлаждающий эффект градирни ниже проектного, необходимо выявить причины, приведшие к ухудшению охлаждающего эффекта для последующего их устранения. 5.4. Работу градирни следует считать удовлетворительной, если фактический охлаждающий эффект будет отличаться от проектного не более чем на 0,5 °С. 5.5. По результатам испытания составляется акт, в котором указывается значение отклонения фактического охлаждающего эффекта от проектного. Акт хранится вместе с другими документами о приемке градирни в эксплуатацию. 5.6. Запрещается прием градирни в эксплуатацию, если ее охлаждающий эффект не соответствует проектному. 5.7. Приемочные испытания градирни проводятся специализированными организациями в соответствии с разд. Б «Эксплуатация градирен» настоящей Инструкции. Б. ЭКСПЛУАТАЦИЯ ГРАДИРЕН6. ПОДГОТОВКА ГРАДИРНИ К ПУСКУ6.1. После кратковременного останова градирни перед ее пуском необходимо: 6.1.1. Осмотреть водораспределительное и оросительное устройство. Об обнаруженных дефектах сделать запись в вахтенном журнале для последующего их устранения. 6.1.3. Очистить сороудерживающие решетки и сетки от мусора в водосливных колодцах градирни и установить их в прежнее положение: по ходу воды из градирни устанавливаются сначала грубые решетки, а затем сетки с мелкой ячейкой полотна (10´10 мм). 6.1.4. Проверить положение поворотных щитов противообледенительного тамбура: в летнее время щиты должны быть установлены строго в горизонтальном положении, в зимнее - в вертикальном. 6.1.5. Проверить исправность автоматического регулятора уровня воды в водосборном бассейне или поплавкового указателя уровня. 6.1.7. Подготовить к пуску циркуляционные насосы подачи воды на градирню согласно инструкции по их эксплуатации. 6.2. После ремонта или реконструкции градирни необходимо: 6.2.1. Подготовить градирню к пуску заблаговременно, исходя из потребного времени для устранения возможных строительно-монтажных недоделок и дефектов. 6.2.3. Выполнить операции по пп. 6.1.2 - 6.1.6. 6.2.4. Проверить состояние внутренней гидроизоляции водосборного бассейна. 6.2.5. Опробовать механизмы поворота противообледенительных щитов тамбура и проверить возможность плотного перекрытия щитами воздуховходных окон для предотвращения обледенения оросителя, а также возможность фиксации щитов в горизонтальном положении. 6.2.6. Проверить наличие и состояние механизмов для подъема сороудерживающих решеток, сеток и шандор водосливных колодцев водосборного бассейна градирни. В случае отсутствия такие механизмы следует изготовить (рис. 1). Рис. 1. Ручной поворотный кран: 1 - поворотная стрела крана из трубы диаметром 159´6 мм; 2 - ручная настенная лебедка ПЛ-90 грузоподъемностью 500 кг; 3 - трос ЛК-Р6´19 с крюком; 4 - блок диаметром 150 мм; 5 - фланец диаметром 150 мм; 6 - закладная труба диаметром 219´6 мм; 7 - разделительная стенка водосливных колодцев; 8 - поворотный кран в плане (с указанием зоны обслуживания); 9 - сетка с мелкой ячейкой полотна; 10 - шандора или грубая решетка; 11 - борт водосборного бассейна градирни 6.2.7. Проверить наличие и состояние перекрытия колодцев переключения арматуры и колодцев промливневой канализации у градирни. 6.2.8. Проверить состояние грозозащитного устройства и надежность заземления молниеотводов, а также состояние электросветового ограждения башни, которое должно соответствовать действующим Правилам дневной маркировки, светового ограждения и радиомаркировки препятствий, находящихся на приаэродромных территориях и воздушных трассах. 6.2.9. Осмотреть градирню с внутренней стороны и убедиться, что: обшивка (оболочка) вытяжной башни не имеет щелей; водоуловительные решетки установлены в строгом соответствии с проектом и не вызывают дополнительного увеличения сопротивления проходу охлаждающего воздуха; обслуживающие площадки и переходные мостики оросителя смонтированы и удобны для обслуживания водораспределительной системы и осмотра оросителя. 6.2.10. Осмотреть стыки магистральных и распределительных водоводов и убедиться в отсутствии видимых неплотностей. Особое внимание следует обратить на плотность присоединения магистральных трубопроводов к центральному железобетонному стояку. 6.2.11. Проверить соответствие проекту количества и выборочно диаметров установленных разбрызгивающих устройств. Отклонение диаметра выходного сечения сопла или насадка от значения, предусмотренного в проекте, не должно превышать ± 1 мм. 6.2.12. Проверить, направлены ли вверх выходные отверстия всех разбрызгивающих сопл. 6.2.13. При наличии проемов в оросителе перекрыть их снизу дощатыми щитами или асбоцементными листами для предотвращения прохода наружного воздуха внутрь вытяжной башни помимо оросителя. 6.2.14. Осмотреть металлические конструкции вытяжной башни, лестниц, светофорных площадок, противообледенительных устройств, наружные поверхности трубопроводов, закладные детали водосливных колодцев, сороудерживающие решетки, сетки и другие металлические детали и конструкции и убедиться, что все они имеют антикоррозионную защиту. 6.2.15. Проверить, все ли наряды, по которым производились работы на градирне или связанных с ней оборудовании и сооружениях, закрыты, механизмы и люди выведены из зоны предполагаемой циркуляции воды. 6.3. После зимней консервации подготовку градирни к пуску необходимо производить заблаговременно с целью устранения дефектов, которые были выявлены сразу же после останова градирни на консервацию. После этого следует выполнить операции, указанные в пп. 6.2.2 - 6.2.16. 7. ПУСК ГРАДИРНИ7.1. Подготовить циркуляционные водоводы, трубопроводы и арматуру по всей трассе циркуляции охлаждающей воды и включить циркуляционные насосы, подающие воду на градирню, согласно местной инструкции по обслуживанию сооружений и оборудования системы технического водоснабжения. 7.2. Пуск градирни зимой производится в следующем порядке: закрыть воздуховходные окна поворотными или навесными съемными щитами; если в системе только одна градирня и она эксплуатируется по блочной схеме, необходимо смонтировать трубопроводы холостого сброса с запорной арматурой для возможности кратковременного выпуска всего расхода охлаждаемой воды из подводящих водоводов в бассейн градирни помимо оросителя; заполнить водой от постороннего источника каналы, водоприемник насосной станции подачи воды на градирню, а также водосборный бассейн до появления перелива воды через переливные воронки; открыть арматуру на линиях холостого сброса воды, выполнить все остальные необходимые операции по трассе циркуляции воды в соответствии с оперативной схемой, включить циркуляционные насосы и осуществлять циркуляцию охлаждающей воды в системе через холостые сбросы до повышения температуры охлаждающей воды на входе в конденсатор до 20 - 25 °С в соответствии с типовой энергетической характеристикой для конкретной турбины; закрыть арматуру на трубопроводах холостого сброса и направить весь расход воды на ороситель; открыть часть воздуховходных окон градирни снизу и следить за изменением температуры воды на выходе из градирни, не допуская ее снижения ниже плюс 10 °С во избежание обледенения оросителя. В дальнейшем температуру охлажденной воды на выходе из градирни регулировать по мере необходимости степенью открытия воздуховходных окон. Если градирня эксплуатируется по двухподъемной схеме циркуляции (последовательная работа двух градирен) либо параллельно с другими градирнями, отпадает необходимость в устройстве холостых сбросов воды. 7.3. После пуска градирни, находившейся в ремонте, реконструкции или зимней консервации, необходимо: осмотреть водораспределительную систему и убедиться, что разбрызгивание охлаждаемой воды происходит равномерно по всей площади оросителя; проверить напоры перед разбрызгивающими соплами в периферийной и центральной зонах оросителя (напоры не должны отличаться более чем на 0,3 м вод. ст.); осмотреть фланцевые соединения трубопроводов, а также узлы присоединения магистральных трубопроводов к центральному стояку и убедиться в отсутствии неорганизованных течей воды. 8. ОБСЛУЖИВАНИЕ ГРАДИРНИ8.1. Общие сведения8.1.1. Основной задачей при эксплуатации градирни является обеспечение надежности ее работы и поддержание охлаждающего эффекта на уровне проектных показателей. С этой целью необходимо ежедневно не реже одного раза в смену осуществлять надзор за состоянием элементов градирни. В дневное время суток надзор осуществляется специально назначенным для этого персоналом, а в ночное ответственность по надзору за состоянием градирни возлагается на начальника смены цеха, в ведении которого находится градирня. 8.1.2. Детальный осмотр элементов водораспределительного и оросительного устройства градирни с отключением отдельных зон орошения должен производиться не реже двух раз в год: перед летней и зимней эксплуатацией, детальное обследование металлических каркасов вытяжных башен обшивных градирен - не реже одного раза в 10 лет, железобетонных оболочек - не реже одного раза в 5 лет. На основании детального осмотра градирни составляется ведомость дефектов с указанием способов и сроков их устранения. 8.2. Водосборный бассейн8.2.1. Водосборный бассейн не должен иметь течей. Проверка его гидравлической плотности должна производиться в первые два года эксплуатации ежегодно, а в дальнейшем - не реже одного раза в три года. Проверка осуществляется путем наблюдения за уровнем воды в резервуаре в течение двух-трех суток при отключенной от других охладителей градирне и плотно закрытых задвижках на водоотводящих трубах. При наличии фильтраций, превышающей 3 л на 1 м2 смачиваемой поверхности, водосборный бассейн следует опорожнить, тщательно проверить состояние его покрытия и устранить обнаруженные дефекты - подтеки и повышенная влажность указывают на пористость и неплотность бетона. 8.2.2. Для ремонта поврежденных участков водосборного бассейна следует применять раствор, приготовленный на сульфатостойком портландцементе марки 500 (ГОСТ 22266-76) с содержанием активных минеральных добавок в количестве 5 - 10 % и песка модулем крупности не ниже 1,5. Перед ремонтом поврежденное место необходимо тщательно расчистить и промыть струей воды под давлением. После схватывания раствора на него следует нанести гидроизоляционное покрытие торкретом толщиной 30 мм либо битумом. Для приготовления торкрета используется тот же вид цемента, что и для бетонирования бассейна. 8.2.3. Воронки для предотвращения переполнения водосборного бассейна должны быть оборудованы грубыми сороудерживающими решетками. Запорная арматура на сливных линиях водосборного бассейна должна быть исправной, а сам бассейн должен очищаться от ила и мусора механизированным способом по мере необходимости, но не реже одного раза в три года. Толщина слоя иловых отложений в бассейне не должна превышать 0,3 м. 8.2.4. Очистку водосборного бассейна от иловых отложений можно производить без предварительного его опорожнения специальным гидроэлеватором, установленным на понтоне (рис. 2). На стороне всасывания эжектора устанавливается рыхлитель, подсоединенный к всасывающему трубопроводу гидроэлеватора гибким шлангом. Понтон рассчитан из условия нахождения на нем двух человек, которые перемещают его таким образом, чтобы рыхлитель постоянно находился в соприкосновении с отсасываемым грунтом. 8.2.5. Гидроэлеватор (рис. 3) может быть изготовлен силами электростанции на производительность по грунту 10 м3/ч при условии содержания в пульпе около 10 % грунта; объем всасываемой пульпы - 100 м3/ч, производительность гидроэлеватора - 170 м3/ч. Для перекачки рабочей жидкости, создания эжекции и необходимой скорости подсасывания пульпы используется центробежный насос подачей около 100 м3/ч при напоре 90 м вод. ст. Гидроэлеватор рассчитан из условия удаления пульпы за пределы водосборного бассейна на расстояние до 30 м. 8.2.6. Очистку водосборного бассейна целесообразно производить при отключенном водораспределительном устройстве. При работе гидроэлеватора уровень воды в водосборном бассейне следует поддерживать на 0,8 - 1,0 м выше слоя иловых отложений подачей циркуляционной воды в водосборный резервуар из напорных водоводов градирни. 8.2.7. При получении разрешения санитарно-эпидемиологической станции сброс пульпы из водосборного бассейна градирни можно производить в ближайший колодец промливневой канализации. По окончании очистки водосборного бассейна от иловых отложений мутную воду удаляют в промливневую канализацию через трубопроводы опорожнения бассейна с последующей промывкой днища. При отсутствии соответствующего разрешения от санитарно-эпидемиологической станции на сброс пульпы в канализацию пульпу можно подавать в отстойники с последующим удалением ила механическим способом. В качестве таких отстойников могут быть использованы демонтированные градирни или брызгальные бассейны. 8.2.8. Запорная арматура подводящих и сбросных трубопроводов градирни, а также трубопроводы обогрева водосборного бассейна должны поддерживаться в исправном состоянии. 8.2.9. Сороудерживающие решетки и сетки в водосливных колодцах водопереливных воронок водосборного бассейна градирни необходимо содержать в чистоте, не допуская перепада уровней воды в сетках, превышающего 10 см, во избежание разрыва полотна.
Рис. 2. Установка для очистки водосборного бассейна: 1 - гидроэлеватор; 2 - понтон из стальной трубы; 3 - рыхлитель; 4, 5 - гибкие гофрированные шпонки диаметром 100 мм; 6 - гибкий гофрированный шланг диаметром 150 мм; 7 - швеллер № 10; 8 - штанга из газовых труб диаметром 19 мм для перемещения рыхлителя; 9 - опора гидроэлеватора Рис. 3. Конструкция гидроэлеватора: 1 - сопло; 2 - камера всасывания из трубы диаметром 108´4 мм; 3 - переход; 4 - камера смещения; 5 - диффузор; 6 - патрубок для подключения сбросного шланга; 7 - патрубок всасывания; 8 - патрубок для подключения насоса; 9 - соплодержатель; 10 - плоский фланец диаметром 100 мм; 11 - болты М16´130; 12 - гайка М16; 13, 14 - опоры для крепления гидроэлеватора к понтону; 15 - резиновая прокладка 8.2.10. Механизмы поворотных щитов тамбура и механизмы подъема сороудерживающих решеток и сеток водосливных колодцев водосборного бассейна градирни необходимо постоянно поддерживать в исправном состоянии. 8.3. Водораспределительное устройство8.3.1. Неправильное распределение воды по площади оросителя является одной из наиболее распространенных причин неудовлетворительной работы градирен. Это происходит большей частью: при лотковом водораспределении - из-за перекоса лотков и неравномерного их заполнения водой; неудовлетворительной центровки разбрызгивающих тарелочек относительно сливных насадок; засорения насадков и лотков; при напорном водораспределении - из-за несовершенной конструкции разбрызгивающих сопл, их загрязнения, поломки либо отсутствия, несоответствия фактического напора воды у сопла расчетному, а также из-за неправильного расположения сопл по площади градирни. 8.3.2. Для обеспечения нормального распределения воды в градирнях с лотковым водораспределением установку разбрызгивающих тарелочек относительно сливных насадков производить с помощью отвеса таким образом, чтобы центр насадки совпадал строго по отвесу с центром разбрызгивающей тарелочки. Окончательная центровка производится по вытекающей струе из сливного насадка при глубине воды в распределительном лотке не менее 120 мм. 8.3.3. Уровни воды в лотках центральной и периферийной зон не должны отличаться более чем на ± 15 %. Если при установленных сливных насадках глубина воды в рабочих лотках меньше 120 мм, следует заменить установленные насадки новыми с меньшим диаметром. Подбор необходимого насадка производится по формуле
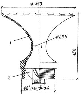
где q - расход воды через насадок, м3/ч; μ- коэффициент расхода, принимаемый для цилиндрического насадка равным 0,82, а для конусоидального - 0,96; Н - высота слоя воды над нижним срезом насадка (рис. 4). Рис. 4. Установка сливных насадков в рабочих лотках: 1 - лоток; 2 - насадок; Н - расчетный напор воды перед насадком, м вод. ст. В качестве временного решения для повышения уровня воды в рабочих лотках можно использовать установку деревянных клиньев в сливных насадках (рис. 5). В этом случае необходимо обращать внимание на правильность положения клиньев в насадках. Перекос клиньев может привести к ухудшению распределения воды в результате нарушения водяных струй и отключения их от разбрызгивающих тарелочек. Необходимо иметь в виду, что установка клиньев приводит к резкому уменьшению проходного сечения насадков, что связано с возможностью их быстрого заиления. Поэтому не следует допускать длительную эксплуатацию градирни с установленными в сливных насадках клиньями. Необходимо не реже двух раз в год, целесообразно весной и осенью, производить очистку котлов. Образовавшиеся отложения (иловые, шлам, накипь и др.) на фарфоровых и стеклянных насадках и разбрызгивающих тарелочках следует удалять погружением их в 10 - 15 %-ный раствор соляной или серной кислоты с последующей промывкой чистой водой. При снятии сливных насадков и тарелочек для очистки от накипи следует сразу же установить на их место новые. Рис. 5. Клин для изменения расхода воды через насадок диаметром 25 мм: а - конструкция клина; б - установка клина в насадке; 1 - деревянный клин; 2 - сливной насадок 8.3.4. Для обеспечения постоянства охлаждающего эффекта и его улучшения водораспределительная система градирен должна быть напорной и состоять из металлических либо асбестоцементных труб и разбрызгивающих сопл следующих типов: эвольвентных диаметром выходного отверстия (далее диаметром) 25, 40 и 50 мм; отражательных диаметром 24, 26 и 28 мм; раструбных диаметром раструба 150 мм. Наиболее эффективными являются эвольвентные сопла, изготовленные из металла либо пластмассы, а также пластмассовые сопла отражательного типа. Эвольвентные сопла диаметром 40 мм (рис. 6) следует применять в основном в качестве промывочных для предотвращения засорения основных разбрызгивающих сопл механическими примесями, находящимися в воде (рис. 7). Эвольвентные сопла диаметром 25 и 50 мм (рис. 8) устанавливаются на трубопроводах водораспределительной системы, они обеспечивают оптимальное разбрызгивание воды. Производительность промывочного сопла диаметром 40 мм определяется по формуле
где Q - производительность, м3/ч; Н - напор у сопла, м вод. ст. Рис. 6. Эвольвентное промывочное сопло диаметром 40 мм Рис. 7. Крепление концевого промывочного эвольвентного сопла на трубопроводе: 1 - эвольвентное сопло; 2 - распределительный трубопровод При реконструкции градирни на брызгальный тип, что требует технико-экономического обоснования, для разбрызгивания воды следует применять пластмассовые сопла эвольвентного типа конструкции ВНИИГ им. Веденеева (рис. 9), обеспечивающие оптимальный охлаждающий эффект для данного типа градирен при напоре охлаждаемой воды от 3 до 6 м вод. ст. Рис. 8. Эвольвентное сопло диаметром выходного отверстия 25 и 50 мм (в скобках указаны размеры сопла с диаметром выходного отверстия 50 мм) 8.3.5. При установке отражательных сопл следует использовать сопла с трехстоечным креплением отражателя к корпусу, причем сам отражатель должен быть перфорированным (рис. 10). Данная конструкция сопла обладает рядом преимуществ перед всеми остальными по эффективности разбрызгивания и долговечности. Отражательные сопла других типов, в том числе с двухстоечным креплением отражателя либо с разъемным отражателем, выходят из строя после непродолжительной эксплуатации, поэтому их применять не следует. 8.3.6. Раструбные сопла (рис. 11) целесообразно использовать в брызгальных градирнях для охлаждения загрязненной оборотной воды. Для создания достаточной поверхности контакта воды с воздухом высоту факелов разбрызгивания следует принимать 3 - 4 м. При напоре у сопла до 1,8 м вод. ст., что принимается в испарительных башенных градирнях, эффективность разбрызгивания раструбного сопла недостаточна. 8.3.7. При эксплуатации напорного водораспределения необходимо следить, чтобы разбрызгивающие сопла независимо от их типа были направлены выходным отверстием вверх. Гидравлические характеристики разбрызгивающих сопл приведены на рис. 12. 8.3.8. Если основные разбрызгивающие сопла отражательного типа или эвольвентные сопла водораспределения диаметром 25 мм интенсивно засоряются, несмотря на наличие концевых промывочных сопл на распределительных трубах, следует заменить основные сопла центробежными с диаметром выходного отверстия 40 мм, имеющими рассекатели водяного факела (рис. 13). Для разбрызгивания охлаждаемой воды таким соплом напор у сопла должен быть 1,2 - 1,5 м вод. ст. 8.3.9. Напор воды перед разбрызгивающими соплами водораспределительной системы не следует допускать выше 1,5 м вод. ст. во избежание увеличения механического уноса воды через вытяжную башню градирни. Если в условиях параллельной работы охладителей в системе циркуляционного водоснабжения электростанции напор воды перед разбрызгивающими соплами превышает 1,5 м вод. ст., на градирни должны быть установлены водоуловители. 8.3.10. При напорном водораспределении следует производить промывку распределительных труб и очистку разбрызгивающих сопл, а при лотковом - очистку лотков и сливных насадков. Мусор, попавший после промывки на ороситель, должен быть удален. 8.3.11. Осмотр водораспределительной системы должен производиться в летнее время не реже двух раз в месяц. При этом следует выявлять и устранять неудовлетворительное разбрызгивание охлаждаемой воды по площади оросителя. При толщине отложений накипи более 1 мм следует удалять ее доступными средствами. 8.3.12. При положительных температурах наружного воздуха необходимо обеспечивать фиксацию поворотных щитов противообледенительного тамбура строго в горизонтальном положении. 8.3.13. Не реже одного раза в 2 - 3 года следует производить покраску металлических труб напорной водораспределительной системы лакокрасочными покрытиями с температуростойкостью не ниже 60 °С. Перед покраской трубы следует тщательно очистить от ржавчины металлическими щетками и выполнить их грунтовку. При химически агрессивных циркуляционных водах целесообразно для покраски металлических труб применять химически стойкие лаки. 8.3.14. В схеме водораспределения градирен должна быть предусмотрена возможность независимой подачи поступающей для охлаждения воды на центральную и периферийную зоны. Регулирование количества подаваемой воды осуществляется расположенными вне градирни электрифицированными задвижками. 8.3.15. Расход циркуляционной воды на градирню не должен превышать расчетный, так как при этом ухудшается ее охлаждающий эффект. 8.4. Ороситель8.4.1. Ороситель является основным технологическим элементом градирни, определяющим охлаждающую способность, а также аэродинамическое сопротивление этого сооружения. Конструкция оросителя должна обеспечивать получение достаточной поверхности контакта воды с воздухом, а, следовательно, требуемый охлаждающий эффект. 8.4.2. Оросители изготовляются из антисептированной древесины хвойных пород, прессованных асбестоцементных листов, преимущественно плоских, а также из пластмассы. Рис. 9. Эвольвентное сопло для брызгальных градирен: 1 - расход воды через форсунку Q в зависимости от напора Н; 2 - высота факела разбрызгивания h в зависимости от напора Н; 3 - радиус факела разбрызгивания R в зависимости от напора Н Рис. 10. Отражательное сопло с перфорированным отражателем Рис. 11. Водоразбрызгивающее сопло «Раструбное» для градирен (размеры в мм): 1 - корпус; 2 - завихритель воды Рис. 12. Гидравлическая характеристика разбрызгивающих сопл: а - эвольвентного и отражательного; б - раструбного; 1 - эвольвентное сопло с выходным отверстием диаметром 25 мм; 2 - отражательное сопло с выходным отверстием диаметром 24 мм; Qс - производительность, м3/ч; hф - высота факела разбрызгивания, м; Rф - радиус факела разбрызгивания, м Рис. 13. Центробежное разбрызгивающее сопло с рассекателем водяного факела Срок службы деревянного оросителя не превышает 12 лет, поэтому, несмотря на высокую эффективность охлаждения, после разрушения целесообразна его замена асбестоцементным либо пластмассовым, срок службы которых более 25 лет. 8.4.3. При частичной замене пришедших в негодность отдельных элементов деревянного оросителя, а это в основном доски сечением 100´10 мм, вновь устанавливаемые элементы должны быть сбиты в щиты и сколочены в блоки. 8.4.4. Использование неантисептированной древесины для изготовления либо ремонта оросителя сокращает срок его службы в два раза. Для антисептирования элементов оросителя следует применять маслянистые либо водные антисептики. 8.4.5. При замене деревянного оросителя асбестоцементным увеличивается нагрузка на опорные конструкции каркаса оросителя в 2,5 - 2,7 раза, поэтому возможность замены должна быть подтверждена расчетом несущей способности соответствующих элементов каркаса. При необходимости эти элементы подлежат усилению. 8.4.6. При устройстве асбестоцементного оросителя следует использовать плоские прессованные листы со сборкой их в блоки, с применением оцинкованных стяжных болтов (рис. 14). Фиксация расстояния между асбестоцементными листами производится с помощью керамических втулок. При применении блоков из стандартных листов размером 1570´1200´6 мм и установке их на железобетонные балки количество стяжных болтов должно быть не менее 5 для предотвращения коробления листов в процессе эксплуатации. 8.4.7. При эксплуатации асбестоцементных оросителей особое внимание следует уделить строго вертикальному положению асбестоцементных листов, так как при малейшем наклоне уменьшается их смачиваемая поверхность, что приводит к ухудшению охлаждающего эффекта. 8.4.8. В зимний период не рекомендуется отключение градирен с асбестоцементным оросителем, что может привести к растрескиванию листов и их преждевременному разрушению. Рис. 14. Блок оросителя из асбестоцементных листов: а - асбестоцементный лист; б - керамические прокладки 8.4.9. Пластмассовые оросители применяются при замене пришедших в негодность деревянных и асбестоцементных оросителей, а также при сооружении новых градирен большой производительности. 8.4.10. Целесообразность использования пластмассовых оросителей обусловлена высокой эффективностью охлаждения, незначительной массой - не более 50 кг одного 1 м2 оросителя и сроком службы, превышающим 25 лет. Одним из основных достоинств пластмассового оросителя является отсутствие необходимости усиления, а иногда и восстановления несущей способности опорных конструкций при замене устаревшего деревянного либо асбестоцементного оросителя. 8.4.11. При выборе пластмассового оросителя следует рассматривать его эффективность и степень сгораемости материала, из которого изготовлен; полиэтилен легко возгораем, поэтому при монтаже и эксплуатации оросителей из этого материала требуется соблюдать особые меры противопожарной безопасности. Из полимеров по надежности от возгорания первое место занимает поливинилхлорид (ПВХ). 8.4.12. В качестве оросителей из пластмассы в градирнях используются решетчатые, трубчатые и листовые конструкции. К решетчатым конструкциям относятся оросители, изготовленные по лицензии фирмы «Бальке-Дюрр» (ФРГ), а также длинномерные из призмы ПР-50. Трубчатые оросители изготовляются из пластмассовых тонкостенных труб в основном гофрированных. Ороситель фирмы «Бальке-Дюрр» состоит из плоских и волнистых решеток размером 0,45´0,45 м. Ячейки имеют вид ромба с размерами по осям 25 и 19 мм. Решетки собираются в блок с помощью специальных втулок-держателей (рис. 15). Общая высота блоков при номинальной конденсационной нагрузке принимается из трех ярусов общей высотой 1,35 м. Все элементы этого оросителя изготовляются из полиэтилена литьевых марок. Рис. 15. Пластмассовый блок «Бальке-Дюрр»: а - волнистая решетка; б - плоская решетка; в - втулка Оросители из решетчатых призм ПР-50 состоят из блоков, собранных посредством укладки отдельных элементов - призм (рис. 16) по взаимно перпендикулярным направлениям до требуемой расчетной высоты (рис. 17). Высота блоков, как правило, не превышает 1 м. 8.4.13. Трубчатые оросители состоят из сборных блоков с размерами 700´700´700 мм и 1000´1000´450 мм, собранных из гофрированных труб диаметром соответственно 40´60 мм (рис. 18). Блоки из труб диаметром 700 мм устанавливаются по высоте в два ряда, а диаметром 60 мм - в четыре ряда. 8.4.14. При номинальной конденсационной нагрузке турбин, обслуживаемых градирней, следует применять оросители решетчатой конструкции как наиболее эффективные. Рис. 16. Решетчатая призма ПР-50 Рис. 17. Блок оросителя из решетчатых призм ПР-50: а - решетчатые призмы; б - фиксирующие элементы из круглой стали Рис. 18. Трубчатый ороситель ТГ44: а - блок оросителя; б - фрагмент блока оросителя (план); в - фрагмент блока оросителя (аксонометрия); г - элемент оросителя; 1 - гофрированная трубка; 2 - дистанционная фигурная втулка 8.4.15. Градирни с пластмассовыми оросителями требуют более тщательной эксплуатации, особенно в зимнее время для предупреждения обледенения этих сооружений. Весьма опасны наледи, образующиеся на оросителях, что может привести к деформации полимерных элементов оросителей, к разрушению блоков и их обрушению. Важно при этом, чтобы имеющиеся в конструкциях градирен противообледенительные устройства (тамбуры, обогревающие трубы и др.) находились в исправном состоянии и эксплуатировались должным образом. Однако опыт показывает, что даже при надлежащей эксплуатации этих устройств градирни зимой, как правило, обледеневают по причине части неравномерного распределения воды по оросителю и недостаточной тепловой нагрузки. С учетом фактора обледенения градирен в зимнее время при замене деревянных либо асбестоцементных оросителей пластмассовыми любого типа дополнительно к существующим балкам, на которые были установлены асбестоцементные или деревянные оросители, следует предусматривать промежуточные несущие конструкции из труб, арматурной стали. 8.4.16. При эксплуатации пластмассовых оросителей, изготовленных из полиэтилена, не следует допускать повышения температуры воды выше 50 °С, поскольку это может привести к деформации элементов оросителя. 8.5. Водоуловитель8.5.1. Водоуловитель устанавливается на градирни для снижения потерь воды уносом через вытяжную башню, учитывая, что эти потери в зависимости от напора равны от 0,5 % до 1 % циркуляционного расхода. При установке водоуловителя эти уносы снижаются до 0,05 %. 8.5.2. Водоуловители должны быть установлены на все градирни площадью орошения более 2 тыс. м2 независимо от конструкций и напора воды у сопл, а также до 2 тыс. м2, если напор у сопл превышает 2,5 м вод. ст. Рекомендуется установка водоуловителей на градирни, эксплуатирующиеся в районах с дефицитом воды, для восполнения потерь уносом, а также, если унос воды в зимнее время приводит к обледенению территории и сооружений. 8.5.3. Водоуловители изготавливаются из антисептированных деревянных элементов и пластмассы. Срок службы деревянного водоуловителя - не более 5 лет, пластмассового - 25 лет. 8.5.4. Наиболее простым и доступным является деревянный водоуловитель жалюзийного типа, выполненный из двух рядов антисептированных досок с наклоном 60 - 70°. Высота такого водоуловителя - 200 мм. Учитывая, что при эксплуатации данный тип водоуловителя подвержен деформации, что приводит к выпадению водоулавливающих элементов, необходимо его усиление стягивающими болтами, как показано на рис. 19. Рис. 19. Деревянное водоулавливающее устройство жалюзийного типа: 1 - фиксирующая рейка; 2 - рабочие планки; 3 - стягивающая оцинкованная шпилька 8.5.5. Для изготовления пластмассовых водоуловителей используется полиэтилен низкого давления и стеклопластик. Отдельные элементы водоуловителя в основном уголкового, трапециевидного и волнистого профиля (рис. 20) укладываются непрерывными рядами и собираются в блоки. Для сохранения необходимой дистанции между элементами водоуловителя устанавливаются прокладки. Высота водоуловителя 150 - 250 мм, расстояние между элементами - от 30 до 50 мм. Рис. 20. Профили элементов пластмассовых водоуловителей: 1 - решетчатый четырехслойный элемент ПР-50; 2 - решетчатый трехслойный элемент ПР-50 8.5.6. Блоки водоуловителя следует установить внутри градирни на 0,5 м выше максимальной отметки факела разбрызгивания сопл водораспределительной системы. В любом случае расстояние от разбрызгивающих сопл до водоуловителя не должно быть менее 2,2 м. 8.6. Вытяжная башня8.6.1. Вытяжные башни градирен предназначены для создания тяги и выполняются каркасно-обшивными либо железобетонными. Каркас обшивной башни - металлический, обшивка каркаса - деревянная из асбестоцементных либо алюминиевых гофрированных листов. При эксплуатации градирен необходимо следить, чтобы обшивка была плотной, так как в противном случае наружный воздух проходит внутрь башни, минуя ороситель, что уменьшает силу тяги и приводит к повышению температуры охлажденной воды в градирне. Пришедшие в негодность деревянные щиты, асбестоцементные и алюминиевые листы обшивки необходимо своевременно заменять новыми, щели, обнаруженные в деревянной обшивке, должны устраняться нашивкой деревянных нащельников. При проведении капитального ремонта градирни с необходимостью полной замены деревянной либо асбестоцементной обшивки следует установить новую обшивку из гофрированных алюминиевых листов толщиной 1 мм (ГОСТ 24767-81), изготовленных из алюминиевого сплава марки АМг 21/2 Н. Алюминиевые листы устанавливаются укрупненными марками, обрамленными уголками. Крепление гофрированных листов между собой осуществляется комбинированными заклепками, а крепление к уголкам - болтами диаметром не ниже 8 мм. Марки крепят к существующему металлическому каркасу градирни. 8.6.2. Металлический каркас вытяжной башни, а также все наружные металлоконструкции градирни должны окрашиваться по мере необходимости. Детальное обследование состояния металлоконструкции каркаса вытяжной башни градирни необходимо проводить через 10 лет после ввода ее в эксплуатацию, а в дальнейшем - каждые 5 лет. При обследовании особое внимание следует обращать на степень коррозионного износа конструкций с последующим определением их фактической несущей способности и решением вопроса о необходимости усиления отдельных элементов каркаса. Для выполнения этих работ следует привлекать специализированные организации (АО «Фирма ОРГРЭС» и др.). При этом следует иметь в виду, что если градирня эксплуатируется в районах с расчетной температурой наружного воздуха ниже минус 30 °С и металлический каркас вытяжной башни изготовлен из кипящей стали, несущие элементы должны быть усилены во избежание его обрушения. 8.6.3. При осмотре железобетонной оболочки необходимо обратить внимание на состояние бетона, наличия следов его выщелачивания и обнаженной арматуры. Особенное опасение должны вызывать признаки разрушения наклонной опорной колоннады. В случае обнаружения дефектов, влияющих на прочность конструкции, они должны немедленно устраняться. Не допускается эксплуатация железобетонной оболочки со сквозными разрушениями. 8.6.4. Детальное обследование железобетонной оболочки градирни с определением фактической марки бетона на сжатие следует производить не реже одного раза в 5 лет и при необходимости выполнять ее ремонт. 8.6.5. Для предотвращения обмерзания железобетонных оболочек и обшивных каркасных вытяжных башен градирен, расположенных в районах с температурой наружного воздуха в наиболее холодной пятидневке ниже 25 °С, следует на внутренней стороне вытяжной башни установить экран с устройством естественного вентилируемого зазора между экраном и башней. Экран выполняется из плоских алюминиевых листов толщиной 0,5 - 0,6 мм и устанавливается по всей внутренней поверхности оболочки с переменным зазором от 200 мм внизу до 50 мм в верхней части (рис. 21). Рис. 21. Вытяжная башня градирни с защитным экраном: а - железобетонная башня; б - каркасно-обшивная башня; 1 - защитный экран, 2 - вентилируемый зазор, 3 - деревянный, антисептированный брус, фиксирующий значение вентилируемого зазора Экранная защита градирен исключает образование льда в устье вытяжной башни и необходимость ежегодного восстановления конструкций оросителя и водораспределительного устройства. 8.6.6. Необходимо вести наблюдения за осадкой фундаментов градирни: в первый год эксплуатации - три раза, во второй год - два раза, в дальнейшем до стабилизации осадок фундаментов один раз в год, а после стабилизации осадков (1 мм/год и менее) - один раз в 5 лет. 8.7. Территория8.7.1. Прилегающая к градирне территория не должна использоваться под склады строительных материалов и оборудования, подъезды к градирне должны быть всегда свободными, вблизи градирни или группы градирен с деревянной обшивкой и деревянным либо пластмассовым оросителем должен находиться стенд с противопожарным инвентарем. 8.7.2. Непосредственно вокруг градирни должны быть выполнены асфальтобетонная или бетонная отмостка с обратным уклоном и кюветом в конце для отвода сточных вод и выносимой из градирни воды. 9. ЗИМНИЙ РЕЖИМ РАБОТЫ ГРАДИРНИ9.1. В зимнее время необходим особо тщательный надзор за работой градирни, чтобы не допустить обледенения оросителя и тем самым предотвратить его разрушение и снижение охлаждающего эффекта. 9.2. При подготовке градирни к эксплуатации в зимних условиях следует устранить неорганизованные течи водораспределительной системы, очистить распределительные трубопроводы и сопла, отремонтировать запорную арматуру и водоуловитель, уплотнить обшивку оросителя и водоотбойные щиты над оросителем, проверить исправность поворотных щитов и возможность плотного перекрытия воздуховходных окон. 9.3. Для предотвращения обледенения градирни следует применять комбинированное противообледенительное устройство (рис. 22), тамбур с кольцевым обогревающим трубопроводом, оборудованным эвольвентными разбрызгивающими соплами с выходным отверстием диаметром 25 мм. Расход воды по кольцевому трубопроводу не должен превышать 20 % расхода охлаждаемой воды на градирню во избежание значительного уменьшения плотности орошения. Рис. 22. Комбинированное противообледелительное устройство башенной градирни: а - разрез по оросителю; б - вид со стороны подвода воды на градирню; 1 - тамбур; 2 - поворотный щит; 3 - кольцевой обогревающий трубопровод; 4 - эвольвентное разбрызгивающее сопло; 5 - ось поворота щитов; 6 - ось расположения разбрызгивающих сопл; 7 - обшивка оросителя; 8 - система напорного водораспределения градирни; 9 - оросители градирни; 10 - оцинкованное железо толщиной 1 мм по периметру градирни в пределах оросителя; 11 - напорные подводящие водоводы; 12 - задвижки для отключения кольцевого трубопровода; 13 - вентиль для опорожнения вертикальных стояков 9.4. При выполнении комбинированного противообледенительного устройства необходимо тщательно уплотнить обшивку оросителя, чтобы стекающая с обшивки вода попадала непосредственно на кольцевой обогревающий трубопровод. 9.5. Верхние поворотные щиты тамбура в зимний период необходимо держать постоянно закрытыми, а средними и нижними щитами периодически регулировать подачу воздуха в градирню в таком количестве, чтобы избежать обледенения оросителя. 9.6. Наряду с применением комбинированного противообледенительного устройства необходимо осуществлять перераспределение гидравлической нагрузки на градирню по зонам оросителя; уменьшать расход воды на центральную часть оросителя и увеличивать - на периферийную. Плотность орошения в периферийной зоне градирни с противоточным оросителем рекомендуется поддерживать на уровне не менее 6 м3 / (м2·ч), а в центральной - 4,0 - 4,5 м3 / (м2·ч). Температуру воды на выходе из градирни следует поддерживать на уровне не ниже 10 °С во избежание обледенения оросителя, если схема водораспределения противоточной градирни не обеспечивает плотность орошения по всей площади оросителя не менее 6 м3 / (м2·ч). Оптимальную плотность орошения, а также минимально допустимую температуру охлажденной воды в градирне зимой необходимо устанавливать опытным путем в зависимости от климатических особенностей района расположения градирни. 9.7. При необходимости охлаждения зимой в градирне небольших расходов воды следует предусматривать специальные решения, в частности, секционирование оросителя или надежную схему циркуляции охлаждающей воды через водосборный бассейн градирни, минуя ороситель; при этом необходимо плотно закрыть воздуховходные окна градирни. 9.8. При наличии в схеме оборотного водоснабжения нескольких параллельно работающих градирен и значительном уменьшении общего расхода охлаждающей воды зимой необходимо осуществлять консервацию отдельных градирен с тем, чтобы в оставшихся в эксплуатации плотность орошения была не менее 6 м3 / (м2·ч). В консервацию следует выводить в первую очередь градирни, менее экономичные и имеющие дефекты, в целях их устранения перед очередным вводом градирни в эксплуатацию. При этом предварительно необходимо выполнить следующие основные мероприятия: произвести консервацию градирни (не менее чем за 10 - 15 дней до наступления устойчивых заморозков); после останова градирни закрыть воздуховходные окна навесными или поворотными щитами и уплотнить их; полностью исключить поступление воды на ороситель из напорных водоводов; для предотвращения промерзания основания и разрушения бетона днища водосборного бассейна обеспечить в нем циркуляцию охлаждаемой воды помимо оросителя; исключить возможность образования застойных («мертвых») зон на поверхности водосборного бассейна. С этой целью сброс воды от подводящих водоводов осуществлять в двух-трех местах с противоположной стороны от водозаборных колодцев, поддерживая постоянным уровень воды в водосборном бассейне и равномерный ее обогрев (рис. 23); обеспечить усиленный противопожарный надзор за градирней, имеющей деревянный либо пластмассовый ороситель или обшивку вытяжной башни. Рис. 23. Схема обогрева водосборного бассейна градирни: 1 - подводящий трубопровод охлаждаемой воды; 2 - отводы для сброса охлаждаемой воды в бассейн; 3 - разделительная перегородка бассейна; 4 - забор охлажденной воды из градирни; 5 - подводы охлаждаемой воды на градирню 9.9. Если по условиям эксплуатации невозможно обеспечить циркуляцию воды в водосборном бассейне отключенной на зимний период градирни, следует опорожнить водосборный бассейн и утеплить днище бассейна матами из шлаковаты или другого теплоизоляционного материала. Не допускать зимой периодическое включение и отключение градирни с асбестоцементным или пластмассовым оросителем. 10. ОСТАНОВ ГРАДИРНИ10.1. Если подача охлаждаемой воды осуществляется по блочной схеме, останов градирни производить (после прекращения подачи пара в турбину) путем останова циркуляционных насосов согласно инструкции по их эксплуатации. 10.2. При работе градирни параллельно с другими градирнями останов ее следует производить закрытием арматуры на подводящих напорных водоводах в соответствии с оперативной схемой технического водоснабжения. 10.3. При выводе градирни в капитальный ремонт необходимо после ее останова выполнить следующие операции: убрать грубые решетки и сетки в водосливных колодцах; установить шандоры в пазы решеток и сеток водосливных колодцев; открыть арматуру на линиях слива бассейна и опорожнить его; уплотнить шандоры для предотвращения фильтрации воды через них в бассейн из общей сливной магистрали; сдренировать воду из напорных трубопроводов в пределах градирни; утеплить в зимнее время арматуру на напорных водоводах у градирни во избежание ее промерзания и осуществить обогрев закрытой арматуры, обеспечив циркуляцию небольшого количества воды через тупиковые участки напорных водоводов со сбросом ее в водосборный бассейн соседней градирни или в промышленную канализацию. 10.4. При останове градирни с деревянными оросителями или деревянной обшивкой башни воздуховходные окна закрыть, а за градирней установить усиленный противопожарный надзор. 10.5. Порядок доступа к остановленной градирне устанавливается начальником цеха, в ведении которого она находится. 11. ТЕХНИКА БЕЗОПАСНОСТИ ПРИ ЭКСПЛУАТАЦИИ ГРАДИРНИ11.1. Персонал, эксплуатирующий градирню, должен руководствоваться требованиями действующих Правил техники безопасности при эксплуатации теплосилового оборудования электростанций и Правил техники безопасности при эксплуатации водного хозяйства, гидротехнических сооружений и гидромеханического оборудования электростанций, а также местных инструкций по технике безопасности. 11.2. Все площадки обслуживания и лестницы, а также проходы на градирню на всех уровнях должны быть ограждены перилами высотой не менее 1 м с выполнением снизу сплошной обшивки ограждения высотой не менее 10 см. 11.3. Все металлические площадки обслуживания и мостики, а также ступеньки металлических лестниц должны быть выполнены из рифленой стали или из гладкого стального листа со специальной насечкой или наплавкой металла. 11.4. Внутренний осмотр водораспределительной системы или оросителя градирни должен производиться не менее чем двумя рабочими. 11.5. По периметру градирни с деревянной обшивкой башни или деревянным тамбуром должно быть вывешено не менее трех знаков, запрещающих пользование огнем (сварочные работы, курение и т.п.) вблизи градирни, а также использование водосборного бассейна или водораспределительной системы для купания. 11.6. Сварочные работы на градирне или вблизи нее производятся только с разрешения пожарно-технической комиссии. 11.7. Осмотр конструкций вытяжной башни градирни и обслуживание грозозащитных устройств и светоограждения разрешается персоналу, имеющему допуск к работам на высоте. 11.8. При входе внутрь градирни, имеющей вытяжную башню с асбестоцементной обшивкой, а также при очистке водосборного бассейна эксплуатационный персонал должен пользоваться защитными касками. 11.9. Чистка разбрызгивающих сопл напорного водораспределения должна производиться с переносного деревянного настила толщиной не менее 40 мм. 11.10. Грубые сороудерживающие решетки и сетки в водосливных колодцах градирни должны поддерживаться в исправном состоянии. Очистка их с извлечением из пазов колодцев должна производиться двумя рабочими. 11.11. Колодцы для задвижек у водосборного бассейна градирни должны иметь надежное плотное перекрытие, а приямки промливневой канализации должны быть перекрыты грубыми сороудерживающими решетками. 11.12. При выводе в ремонт или кратковременном отключении по технологическим условиям градирни с деревянным оросителем необходимо осуществлять за ней усиленный противопожарный надзор на все время останова. 11.13. В помещении, где хранятся и готовятся лакокрасочные материалы, а также в местах производства работ по восстановлению антикоррозионной защиты металлических конструкций градирни категорически запрещается курить и производить сварочные работы. При работе с лакокрасочными материалами необходимо соблюдать меры индивидуальной защиты. 11.14. К работе по хлорированию циркуляционной воды допускаются специально обученные и проинструктированные лица. При работе с хлором должны соблюдаться особые меры индивидуальной защиты. 12. КОНТРОЛЬ ЗА РАБОТОЙ ГРАДИРНИ12.1. Контроль за работой градирни осуществляется путем проведения ее испытаний. В зависимости от поставленной цели следует различать три вида испытаний градирни: приемочные, балансовые и эксплуатационные. Приемочные испытания градирни проводятся после ввода ее в эксплуатацию с целью выявления соответствия фактического охлаждающего эффекта расчетному. При отсутствии такого соответствия выясняют причины этого с последующим их устранением. Балансовые испытания проводятся в случае, если в эксплуатацию вводится головной образец градирни либо в случае модернизации устаревшего типа градирни, когда в проекте модернизации заложены новые конструктивные решения отдельных элементов или градирни в целом. На основании результатов балансовых испытаний устанавливается целесообразность широкого применения тех или иных конструктивных решений в градирнях аналогичного типа. Эксплуатационные испытания проводятся для контроля за работой градирни с целью поддержания ее охлаждающего эффекта на уровне проектных данных. Все виды испытаний градирен проводятся эксплуатационным персоналом электростанций с привлечением при необходимости специализированных организаций (АО «Фирма ОРГРЭС» и др.). 12.2. Эксплуатационные испытания градирни следует производить один раз в год. Они заключаются в определении расчетной температуры охлажденной воды, которая должна быть на выходе из градирни, и в сопоставлении с фактическим ее значением. Если фактическое значение температуры охлажденной воды в градирне не отличается более чем на ± 0,5 °С от расчетного ее значения по тепловой характеристике, то работу такой градирни можно считать удовлетворительной. В противном случае выясняют причины ухудшения охлаждающего эффекта градирни и намечают мероприятия по их устранению. Часто причинами неудовлетворительной работы градирни являются нарушение работы водораспределительной системы, а также наличие неплотностей в обшивке вытяжной башни и оросителя. 12.3. Для проведения эксплуатационных испытаний градирни необходимы измерительные приборы, позволяющие определить: расход воды на градирню, температуру воды до и после охлаждения, температуру наружного воздуха по сухому и смоченному термометрам, расход и температуру добавочной воды (если она поступает непосредственно в водосборный бассейн градирни), скорость ветра, барометрическое давление. Записи перечисленных характеризующих параметров производят через 30 мин на протяжении 6 - 7 ч дневного времени суток. (Определение расхода охлаждающей воды различными способами, измерение температуры воды, поступающей на градирню, а также определение метеорологических факторов). Гидравлическая и тепловая нагрузки на градирню в течение опыта должны быть постоянными; отклонение гидравлической нагрузки не должно превышать ± 3 % и тепловой - не более 10 % средней. 12.4. Измерения характеризующих параметров производить не менее чем при двух гидравлических и тепловых нагрузках. Первая серия опытов проводится при гидравлической нагрузке, близкой к расчетной; вторая - при гидравлической нагрузке, составляющей 70 - 80 % расчетной. Ширина зоны охлаждения (перепад температур воды) в градирне должна быть в пределах 7 ÷ 10 °С. Количество опытов при каждой тепловой и гидравлической нагрузках должно составлять не менее трех. Полученные результаты измерений за каждый опыт (6 - 7 ч) осредняют и заносят в табличной форме в журнал. При выпадении атмосферных осадков, а также скорости ветра более 3 м/с контрольные испытания проводить не следует. 12.5. Контрольная проверка работы градирни должна производиться в летнее время. Перед проведением опытов необходимо произвести детальный осмотр градирни и устранить обнаруженные при осмотре дефекты. 12.6. При сравнении расчетного значения температуры охлажденной воды с фактическим значением расчетную температуру определяют по контрольным номограммам. Для определения расчетного значения температуры охлажденной воды необходимо иметь численные значения следующих характеризующих параметров: плотности орошения (g м3 / (м2·ч), перепада температур воды (Dt °С), температуры воздуха (θ °С) и его относительной влажности (j %), скорости ветра (W м/с) и барометрического давления (Pб мм рт. ст.). Плотность орошения определяется по формуле
где Q - расход воды, поступающей на градирню, м3/ч; F - площадь орошения, м2. Перепад температур охлаждающей воды составит Dt = t2 - t1 °С, где t1 - температура воды на входе в градирню, °С; t2 - температура воды на выходе из градирни, °С. Расчетное значение температуры охлажденной воды по номограммам определяется как сумма t2расч = t2 + t2о + t2в °С, где t2расч - расчетное значение температуры по нормативным характеристикам башенных градирен площадью орошения 500 - 4200 м2 с учетом поправки на ветер (приложение 4); t2о - поправка на температуру и влажность воздуха, °С; t2в - поправка на влияние скорости ветра, °С. 12.7. Номограммы дают удовлетворительную точность расчетного значения температуры охлажденной воды в диапазоне температур наружного воздуха 15 ÷ 25 °С. При отклонении температуры воздуха от указанных значений возрастает погрешность в определении расчетного значения температуры охлажденной воды, поэтому оценку охлаждающего эффекта градирни целесообразно производить в диапазоне указанных значений температур наружного воздуха. 12.8. Подсчет экономии условного топлива от улучшения охлаждения воды в градирне производится при одинаковых эксплуатационных параметрах работы основного оборудования до и после улучшения охлаждения воды в градирне. Охлаждающий эффект градирни устанавливается на основании результатов ее контрольных испытаний при одинаковых (или близких) тепловых и гидравлических нагрузках и метеорологических факторах. 12.9. Оптимальное распределение тепловых и гидравлических нагрузок между градирнями должно производиться на основании результатов их испытаний, исходя из наивыгоднейшего вакуума в конденсаторах турбин. Приложение 1
Приложение 2ФОРМА
| ||||||||||||||||||||||||||||||||||||||||||||||||||||||||||||||||||||||||||||||||||||||||||||||||||||||||||||||||||||||||||||||||||||||||||||||||||||||||||||||||||||||||||||||||||||||||||||||||||||||||||||||||||||||||||||||||||||||||||||||||||||||||||||||||||||||||||||||||||||||||||||||||||||||||||||||||||||||||||||||||||||||||||||||||||||||||||||||||
|
1. Электростанция ________________________________________________________ _________________________________________________________________________ 2. Проектная организация __________________________________________________ _________________________________________________________________________ 3. Строительная организация _______________________________________________ _________________________________________________________________________ 4. Монтажная организация _________________________________________________ _________________________________________________________________________ 5. Наладочная организация _________________________________________________ _________________________________________________________________________ 6. Субподрядные организации ______________________________________________ _________________________________________________________________________ 7. Дата сдачи в эксплуатацию _______________________________________________ 8. Сметная стоимость, руб. _________________________________________________ 9. Фактическая стоимость, руб. _____________________________________________ 10. Дата составления паспорта ______________________________________________ Главный инженер электростанции ___________________________ (подпись) Начальник турбинного или котлотурбинного цеха ___________________________ (подпись) Начальник ОКС ___________________________ (подпись) Начальник строительства ___________________________ (подпись) I. Техническая характеристика градирни 1. Тип градирни __________________________________________________________ 2. Площадь орошения, м2 ___________________________________________________ 3. Расчетная производительность, м3/ч _______________________________________ 4. Расчетный перепад температур циркуляционной воды, °С _____________________ 5. Фактическая производительность, м3/ч _____________________________________ 6. Фактический перепад температур циркуляционной воды, °С __________________ 7. Фактическое недоохлаждение, °С _________________________________________ 8. Количество добавочной воды, м3/ч ________________________________________ 9. Способ очистки добавочной воды _________________________________________ 10. Количество реагента для очистки воды, мг/л _______________________________ 11. Результат контроля качества охлаждающей и добавочной воды _______________ 12. Тип противообмерзающего устройства ____________________________________ II. Грунт под градирней 1. Характеристика грунта __________________________________________________ _________________________________________________________________________ 2. Модуль сжимаемости Е, кгс/см2 ___________________________________________ 3. Коэффициент внутреннего трения _________________________________________ 4. Коэффициент сцепления С _______________________________________________ 5. Верхний и нижний уровни грунтовых вод от поверхности земли (от отметки ± 0,00), м ____________________________________________________________________ 6. Организация, производившая обследование грунта ___________________________ _________________________________________________________________________ 7. Давление на грунт, кгс/см2: допустимое (нормативное) _________________________________________________ расчетное - максимальное __________________________________________________ расчетное минимальное ___________________________________________________ 8. Деформация основания, мм: а) крен по проекту _______________________________________________________________ фактический _____________________________________________________________ б) средняя осадка по проекту _______________________________________________________________ фактическая _____________________________________________________________ Примечание. При свайном основании дается характеристика свай, свайного основания и давления на грунт в острие свай. III. Фундаменты 1. Глубина заложения фундаментов от отметки ± 0,00, м ________________________ 2. Тип фундаментов _______________________________________________________ 3. Арматура: по проекту _______________________________________________________________ фактически использованная ________________________________________________ 4. Количество арматуры, кг/м3 ______________________________________________ 5. Прочность бетона, кгс/см2: по проекту _______________________________________________________________ по результатам испытания образцов _________________________________________ 6. Вид, марка и завод-изготовитель примененного цемента ______________________ _________________________________________________________________________ 7. Характеристика щебня (карьер, крупность, порода, наличие глинистых частиц и др.) _______________________________________________________________________ ________________________________________________________________________ 8. Характеристика песка (карьер, крупность, наличие глинистых частиц и др.) _________________________________________________________________________ _________________________________________________________________________ 9. Вид гидроизоляции _____________________________________________________ 10. Завод-изготовитель (для фундаментов из сборного железобетона) _____________ _________________________________________________________________________ _________________________________________________________________________ IV. Водосборный бассейн 1. Глубина бассейна от отметки ± 0,00, м: проектная _______________________________________________________________ фактическая _____________________________________________________________ 2. Способ гидроизоляции: по проекту ______________________________________________________________ фактический ____________________________________________________________ 3. Дата испытания бассейна на утечку воды __________________________________ 4. Результаты испытания бассейна на утечку воды _____________________________ ________________________________________________________________________ 5. Дата испытания бассейна на скорость опорожнения _________________________ 6. Результаты испытания бассейна на скорость опорожнения ____________________ _________________________________________________________________________ 7. Количество запорной арматуры ___________________________________________ 8. Результаты испытания запорной арматуры _________________________________ 9. Отступления от проекта _________________________________________________ V. Несущая опорная колоннада и кольцо железобетонной оболочки 1. Арматура: по проекту _______________________________________________________________ фактически использованная ________________________________________________ 2. Количество арматуры, кг/м3 ______________________________________________ 3. Прочность бетона, кгс/см2: по проекту _______________________________________________________________ по результатам испытания образцов _________________________________________ 4. Марка бетона по морозостойкости: по проекту _______________________________________________________________ фактическая _____________________________________________________________ 5. Марка бетона по водонепроницаемости: по проекту _______________________________________________________________ фактическая _____________________________________________________________ 6. Вид, марка и завод-изготовитель примененного цемента ______________________ _________________________________________________________________________ _________________________________________________________________________ 7. Характеристика щебня (карьер, крупность, порода, наличие глинистых частиц и др.) _______________________________________________________________________ 8. Характеристика песка (карьер, крупность, порода, наличие глинистых частиц и пр). _______________________________________________________________________ 9. Вид гидроизоляции _____________________________________________________ 10. Завод-изготовитель (для сборных конструкций) ____________________________ ________________________________________________________________________ 11. Отступления от проекта ________________________________________________ ________________________________________________________________________ VI. Металлический каркас обшивной оболочки 1. Марка стального проката ________________________________________________ 2. Завод-изготовитель монтажных марок _____________________________________ ________________________________________________________________________ 3. Марка электродов ______________________________________________________ 4. Марка сварочной проволоки _____________________________________________ 5. Результаты проверки швов _______________________________________________ 6. Отступления от проектных габаритных размеров ____________________________ ________________________________________________________________________ 7. Вид антикоррозионного покрытия ________________________________________ 8. Качество антикоррозионного покрытия ____________________________________ 9. Отступления от проекта _________________________________________________ ________________________________________________________________________ VII. Вытяжная оболочка железобетонная 1. Отметка устья оболочки, м: проектная _______________________________________________________________ фактическая _____________________________________________________________ 2. Диаметр оболочки, мм: у опорного кольца ________________________________________________________ у устья __________________________________________________________________ 3. Толщина оболочки, мм: максимальная ____________________________________________________________ минимальная _____________________________________________________________ 4. Вид армирования (однородное или двухрядное) _____________________________ 5. Толщина защитного слоя бетона, мм _______________________________________ 6. Дата начала работ по возведению оболочки _________________________________ 7. Дата окончания работ по возведению оболочки _____________________________ 8. Арматура: по проекту _______________________________________________________________ фактически использованная ________________________________________________ 9. Количество арматуры, кг/м3 ______________________________________________ 10. Прочность бетона, кгс/см2: по проекту _______________________________________________________________ по результатам испытания образцов _________________________________________ 11. Марка бетона по морозостойкости: проектная _______________________________________________________________ фактическая _____________________________________________________________ 12. Марка бетона по водонепроницаемости. проектная _______________________________________________________________ фактическая _____________________________________________________________ 13. Вид, марка и завод-изготовитель примененного цемента _____________________ 14. Вид и количество гидравлических добавок _________________________________ _________________________________________________________________________ 15. Вид и количество органических добавок ___________________________________ 16. Характеристика щебня (карьер, крупность, порода, наличие глинистых частиц и др.) _______________________________________________________________________ 17. Характеристика песка (карьер, крупность, порода, наличие глинистых частиц и др.) _______________________________________________________________________ 18. Наличие раковин, трещин и прочих дефектов, их описание ___________________ _________________________________________________________________________ 19. Толщина защитного слоя бетона, мм: максимальная ____________________________________________________________ минимальная _____________________________________________________________ 20. Описание отступлений от проектной геометрической формы _________________ _________________________________________________________________________ _________________________________________________________________________ 21. Вид и состав гидроизоляции внутренней поверхности _______________________ _________________________________________________________________________ 22. Способ нанесения гидроизоляции внутренней поверхности __________________ _________________________________________________________________________ 23. Толщина слоя гидроизоляции внутренней поверхности ______________________ _________________________________________________________________________ VIII. Вытяжная оболочка обшивная 1. Отметка устья оболочки, м: проектная _______________________________________________________________ фактическая _____________________________________________________________ 2. Форма оболочки в плане _________________________________________________ 3. Длина стороны оболочки, мм _____________________________________________ 4. Материал оболочки _____________________________________________________ 5. Завод-изготовитель элементов обшивки ____________________________________ 6. Вид крепления элементов обшивки _______________________________________ 7. Вид гидроизоляции _____________________________________________________ 8. Способ антисептирования обшивки ________________________________________ 9. Технические условия на элементы обшивки _________________________________ 10. Вид и материал уплотнения обшивки _____________________________________ ________________________________________________________________________ 11. Наличие неплотностей в обшивке, их описание, место расположения __________ ________________________________________________________________________ 12. Наличие неоцинкованных деталей крепления обшивки, их описание, место расположения ______________________________________________________________ _________________________________________________________________________ IX. Каркас оросительного устройства 1. Тип фундаментов _______________________________________________________ 2. Материал фундаментов __________________________________________________ 3. Габаритные размеры фундаментов, мм _____________________________________ 4. Вид и толщина, мм, слоя подливки под фундаменты _________________________ ________________________________________________________________________ 5. Сечение стоек, мм______________________________________________________ 6. Деревянные стойки и балки: а) вид и сорт древесины ____________________________________________________ б) характер дефектов древесины _____________________________________________ в) вид антисептика ________________________________________________________ г) завод-изготовитель ______________________________________________________ д) максимальное отклонение стоек от вертикального положения, мм, места расположения этих стоек _____________________________________________________ 7. Железобетонные стойки и балки: а) прочность бетона, кгс/см2: проектная _______________________________________________________________ фактическая _____________________________________________________________ б) марка бетона на водонепроницаемости: проектная _______________________________________________________________ фактическая______________________________________________________________ в) марка бетона по морозостойкости: проектная _______________________________________________________________ фактическая _____________________________________________________________ г) толщина защитного слоя, мм _____________________________________________ д) количество арматуры, кг/м3 ______________________________________________ е) вид, марка и завод-изготовитель примененного цемента ______________________ _________________________________________________________________________ ж) характеристика щебня (карьер, крупность, порода, загрязненность) ____________ _________________________________________________________________________ з) характеристика песка (карьер, крупность, порода, загрязненность) _____________ _________________________________________________________________________ и) описание раковин, трещин и прочих дефектов ______________________________ _________________________________________________________________________ к) описание отступлений от проектной геометрической формы __________________ _________________________________________________________________________ л) отступления от проектной разбивки в плане, мм _____________________________ _________________________________________________________________________ м) максимальное отклонение стоек от вертикального положения, мм, места расположения этих стоек _____________________________________________________ _________________________________________________________________________ н) завод-изготовитель сборных конструкций __________________________________ _________________________________________________________________________ о) вид и метод гидроизоляции закладных частей _______________________________ _________________________________________________________________________ п) отступления от проектных данных ________________________________________ _________________________________________________________________________ X. Лотки водораспределения 1. Сечение магистральных лотков, мм ________________________________________ 2. Сечение рабочих лотков, мм ______________________________________________ 3. Количество, шт., и диаметр, мм, сливных насадок: по проекту _______________________________________________________________ фактически установленных ________________________________________________ 4. Количество разбрызгивающих розеток, шт.: по проекту _______________________________________________________________ фактическое _____________________________________________________________ 5. Максимальное отклонение лотков от проектной разбивки, мм _________________ ________________________________________________________________________ 6. Максимальное отклонение лотков от проектной отметки, мм, места расположения этих лотков ___________________________________________________ 7. Место расположения щелей в узлах сопряжения лотков ______________________ ________________________________________________________________________ 8. Завод-изготовитель деталей и узлов деревянных лотков ______________________ ________________________________________________________________________ 9. Вид антисептика и способ антисептирования лотков (деревянных) _____________ ________________________________________________________________________ 10. Завод-изготовитель сборных железобетонных лотков _______________________ ________________________________________________________________________ 11. Вид и способ антикоррозионной защиты узлов сопряжения железобетонных лотков ____________________________________________________________________ 12. Отступления от проекта ________________________________________________ ________________________________________________________________________ XI. Трубопроводы водораспределения 1. Марка стали трубопроводов ______________________________________________ 2. Диаметры магистральных трубопроводов, мм: по проекту _______________________________________________________________ фактические _____________________________________________________________ 3. Диаметры рабочих трубопроводов, мм: по проекту _______________________________________________________________ фактические _____________________________________________________________ 4. Максимальные отступления разбивки трубопроводов от проектной отметки, мм _________________________________________________________________________ 5. Тип и материал разбрызгивающих сопл: по проекту ______________________________________________________________ фактически использованных _______________________________________________ 6. Максимальные отступления от проектной разбивки трубопроводов в плане, мм __ ________________________________________________________________________ 7. Количество, шт., и диаметр, мм, разбрызгивающих сопл: по проекту _______________________________________________________________ фактически использованных _______________________________________________ 8. Вид антикоррозионной защиты трубопроводов: по проекту _______________________________________________________________ фактически использованной _______________________________________________ 9. Наименование и тип проектной запорной арматуры на трубопроводах: по проекту _______________________________________________________________ фактически использованной ________________________________________________ 10. Отступления от проекта ________________________________________________ XII. Оросительное устройство 1. Тип оросительного устройства (капельное, пленочное или капельно-пленочное) _ _________________________________________________________________________ 2. Материал ______________________________________________________________ 3. Технические условия на элементы оросительного устройства _________________ _________________________________________________________________________ 4. Способ сборки (блочный, отдельными листами) _____________________________ _________________________________________________________________________ 5. Сечение пленок или реек (при деревянном оросителе), мм ____________________ 6. Профиль и толщина листов (при асбестоцементном или пластмассовом оросителе), мм ______________________________________________________________ _________________________________________________________________________ 7. Количество ярусов оросителя _____________________________________________ 8. Общая высота оросителя, мм _____________________________________________ 9. Общее количество сборных блоков (для блочного оросителя) __________________ 10. Количество неоцинкованных деталей в оросителе, их описание, место расположения ______________________________________________________________ 11. Максимальное отклонение расстояний между пленками или щитами от проектных данных, мм _______________________________________________________ 12. Максимальное отклонение от вертикали установленных пленок или щитов, мм _________________________________________________________________________ 13. Вид и способ антисептирования элементов оросителя _______________________ _________________________________________________________________________ _________________________________________________________________________ 14. Отступления от проекта ________________________________________________ _________________________________________________________________________ _________________________________________________________________________ XIII. Водораздаточный стояк 1. Количество водораздаточных стояков, шт. __________________________________ 2. Материал ______________________________________________________________ 3. Сечение или диаметр, мм ________________________________________________ 4. Количество и тип водозапорных устройств _________________________________ ________________________________________________________________________ 5. Тип перегородки _______________________________________________________ 6. Отметка устья стояка, м: по проекту _______________________________________________________________ фактическая _____________________________________________________________ 7. Конструкция стояка (напорный или открытый) ______________________________ _________________________________________________________________________ 8. Обслуживаемая зона градирни каждого из стояков ___________________________ _________________________________________________________________________ 9. Тип антикоррозионного покрытия _________________________________________ _________________________________________________________________________ 10. Отступления от проекта ________________________________________________ _________________________________________________________________________ XIV. Лестницы и площадки 1. Соответствие количества и мест установки лестниц и площадок проекту ________ ______________________________________________________________________ 2. Материал ______________________________________________________________ 3. Тип антикоррозионного покрытия _________________________________________ 4. Отступления от проекта _________________________________________________ XV. Грозозащита и светоограждение 1. Количество молниеприемников, молниеотводов и электродов заземляющего контура ____________________________________________________________________ 2. Отметка светоограждения, тип и количество приборов _______________________ _________________________________________________________________________ XVI. Подводящие и отводящие трубопроводы и каналы 1. Диаметр или сечение трубопроводов и каналов, мм: подводящих ______________________________________________________________ отводящих _______________________________________________________________ 2. Тип и количество запорной арматуры на трубопроводах или каналах: подводящих ______________________________________________________________ отводящих _______________________________________________________________ 3. Тип и количество сооружений на каналах (шандорные колодцы, камеры переключения и др.) _________________________________________________________ 4. Тип и количество сероулавливающих решеток и сеток в колодцах, размер ячеек, мм ________________________________________________________________________ 5. Отступления от проекта _________________________________________________ ________________________________________________________________________ XVII. Прочие сведения ________________________________________________________________________ ________________________________________________________________________ ________________________________________________________________________ ________________________________________________________________________ ________________________________________________________________________ ________________________________________________________________________ ________________________________________________________________________ |
XVIII. Журнал осмотра градирни № ______
|
Дата осмотра |
Установленные дефекты |
Принятые меры |
Подписи начальника цеха и лица, осуществляющего наблюдения |
|
|
|
|
|
XIX. Журнал учета аварий или крупных повреждений на градирне №________
|
Дата аварии |
Описание аварии (повреждения) |
Принятые меры |
Подписи начальника цеха и лица, осуществляющего наблюдения |
|
|
|
|
|
XX. Журнал ремонта градирни № ________
|
Дата начала ремонта |
Характеристика ремонта |
Кем произведен ремонт |
Дата окончания ремонта |
Продолжительность ремонта |
Подписи начальника цеха и лица, принявшего работы |
|
|
|
|
|
|
|
XXI. Журнал проверки фактического охлаждающего эффекта оросителя
|
Дата начала и окончания работ |
Характеристика проверки |
Результат испытаний |
Ответственный за испытание (фамилия, имя, отчество) |
Подписи начальника цеха и лица, осуществляющего контроль |
|
|
|
|
|
|
Журнал производства работ
1. Журнал производства работ должен вестись с начала работ по сооружению градирни.
2. Журнал ведется по каждой строящейся или реконструируемой градирне.
3. За правильное и своевременное ведение журнала, а также за его оформление отвечает производитель работ данного объекта.
4. На титульном листе журнала должны быть указаны основные характеристики градирни.
5. В журнале производства работ в процессе строительства должны записываться следующие данные:
а) метеорологические условия во время производства работ;
б) отступления от проекта и технических условий, допущенные в процессе работ, с указанием причин этих отступлений и документа;
в) виды и объемы выполненных работ;
г) данные о примененных материалах;
д) даты промежуточных приемок законченных элементов градирни;
е) переделки и исправления выполненных работ с указанием причин этих переделок и документа.
Акты на скрытые работы
В процессе сооружения градирни должна осуществляться промежуточная приемка выполненных работ с составлением акта на скрытые работы. Такие акты составляются на:
а) соответствие основания и фундаментов градирни проекту;
б) правильность установки арматуры;
в) качество выполнения стыков сборных элементов;
г) правильность установки закладных деталей: фундамента, каналов и водосборного бассейна;
д) соответствие гидроизоляции водосборного бассейна и фундаментов проекту;
е) состояние бетонной поверхности оболочки перед торкретированием.
Акты на установку арматуры и закладных деталей в процессе бетонирования должны составляться по каждому поясу железобетонной оболочки градирни. В связи с этим для постоянного контроля правильности установки арматуры и закладных частей должны быть выделены работники технического надзора заказчика.
В актах на установленную арматуру и закладные части должны быть указаны марки стали и сечение арматуры. Не допускаются общие замечания о том, что арматура установлена в соответствии с проектом.
Замена арматуры другой с изменением шага обязательно отмечается в акте.
Во всех актах на скрытые работы должно быть разрешение заказчика на производство последующих строительно-монтажных работ.
Бетонные поверхности, которые покрываются гидроизоляцией, а затем будут закрываться, должны быть заактированы до закрытия.
В случае обнаружения в обработанной поверхности дефектов, требующих устранения, эти дефекты должны быть отмечены в акте на скрытые работы с указанием способа их устранений.
Температурные листы
Температурные листы составляются для определения времени набора бетоном требуемой прочности.
Исполнительные схемы
Исполнительные схемы составляются на:
а) установку и центровку опалубки оболочек градирен каждого нового подъема;
б) смонтированные сборные железобетонные элементы несущей колоннады оболочки и каркаса оросителя (до замоноличивания);
в) проемы для каналов в водосборном бассейне;
г) фундаменты несущих каркасов обшивной градирни;
д) место расположения закладных частей.
Исполнительные схемы должны быть переданы на утверждение заказчику.
Паспорта и сертификаты
Паспорт и сертификаты на материалы и изделия должны регистрироваться и иметь отметку отк.
В исполнительных схемах должны быть указаны номера паспортов и сертификатов на изделия и материалы.
ЖУРНАЛ РАБОТ ПО БЕТОНИРОВАНИЮ
Наименование организации, выполняющей работы _____________________________
Наименование ТЭС _________________________ Градирня № ___________________
|
Дата бетонирования |
Наименование стыков |
Заданные марки бетона и рабочий состав бетонной смеси |
Температура, °С |
Результаты испытания контрольных образцов |
Дата распалубки |
Фамилия, имя, отчество исполнителя, его подпись |
Замечания производителя работ |
||
|
наружного воздуха |
предварительного нагрева элементов в узлах |
бетона |
|||||||
|
|
|
|
|
|
|
|
|
|
|
ЖУРНАЛ СВАРОЧНЫХ РАБОТ
Наименование организации, выполняющей работы ____________________________
Наименование ТЭС _________________________ Градирня № ___________________
|
Дата начала работ |
Наименование соединяемых элементов |
Место или номер (по чертежу или схеме) стыкуемого элемента |
Род тока, номер сертификата и марка примененных электродов |
Температура окружающего воздуха при сварке, °С |
Фамилия, имя, отчество сварщика, номер удостоверения и клейма |
Фамилия, имя, отчество приемщика работ (мастера) |
Обнаруженные дефекты, сведения об исправлении сварных соединений |
Подпись сварщиков, сваривавших соединения |
Подпись принявшего сварные соединения |
Замечания по контрольной проверке сварных соединений |
Фамилия, имя, отчество лица, производившего контроль |
|
|
|
|
|
|
|
|
|
|
|
|
|
АКТ
ИСПЫТАНИЯ АРМАТУРЫ ТЕХНОЛОГИЧЕСКИХ ТРУБОПРОВОДОВ
ВОДОРАСПРЕДЕЛЕНИЯ ГРАДИРНИ №_
_____
|
Наименование ТЭС _______________________________ "___" ________ 199 ___ г. Мы, нижеподписавшиеся, представители монтажных организаций ______________ ________________________________________________________________________ (наименование организации) ________________________________________________________________________ в лице __________________________________________________________________ и представитель технадзора заказчика в лице _________________________________ ________________________________________________________________________ составили настоящий акт в том, что произведен наружный осмотр и испытание арматуры, изготовленной (поставленной) заводом-поставщиком ___________________ ________________________________________________________________________ Характеристика и условия испытания арматуры
При осмотре и испытании арматуры дефектов не обнаружено. Арматура считается выдержавшей испытание на прочность и плотность и пригодной для монтажа. Представители: монтажной организации _________________________________ (подпись) технадзора заказчика _________________________________ (подпись) |
||||||||||||||
АКТ
ПРОВЕРКИ ВНУТРЕННЕЙ ОЧИСТКИ ТРУБОПРОВОДОВ ВОДОРАСПРЕДЕЛЕНИЯ ГРАДИРНИ № ______
|
Наименование ТЭС ____________________________ "____"____________ 199 ___ г. Мы, нижеподписавшиеся, представители монтажной организации _______________ _________________________________________________________________________ (наименование организации) в лице ___________________________________________________________________ и представителя технадзора заказчика в лице _________________________________ _________________________________________________________________________ составили настоящий акт в том, что произведены осмотр и проверка внутренней очистки узлов и секций трубопроводов перед монтажом. Проверены: ______________________________________________________________ _________________________________________________________________________ _________________________________________________________________________ Результаты проверки: ______________________________________________________ _________________________________________________________________________ _________________________________________________________________________ Разрешается производить монтаж указанных в настоящем акте узлов и секций трубопроводов ______________________________________________________________ _________________________________________________________________________ _________________________________________________________________________ Представители: монтажной организации ____________________________ (подпись) технадзора заказчика ____________________________ (подпись) |
АКТ
ИСПЫТАНИЯ ТРУБОПРОВОДОВ ВОДОРАСПРЕДЕЛЕНИЯ
НА ПРОЧНОСТЬ И ПЛОТНОСТЬ ГРАДИРНИ № _______
|
Наименование ТЭС _______________________ "___" ______________ 199 ____ г. Мы, нижеподписавшиеся, представитель заказчика ____________________________ ________________________________________________________________________ председатель генерального подрядчика ______________________________________ ________________________________________________________________________ и председатель монтажной организации _____________________________________ ________________________________________________________________________ составили настоящий акт в том, что произведено испытание трубопроводов: ______ ________________________________________________________________________ ________________________________________________________________________ Расчетное давление трубопроводов ___________________________ кгс/см2. Испытание произведено в соответствии со СНиП избыточным давлением: на прочность _______________________________ кгс/см2; на плотность _______________________________ кгс/см2. Во время испытания никаких дефектов или течи не обнаружено. Трубопроводы, перечисленные в настоящем акте, считать выдержавшими испытания. Представители: Заказчика _____________________________ (подпись) генерального подрядчика _____________________________ (подпись) монтажной организации _____________________________ (подпись) |
ЖУРНАЛ ПРОИЗВОДСТВА АНТИКОРРОЗИОННЫХ РАБОТ
|
Дата (год, месяц, число), смена |
Наименование работ |
Объем работ, м2 |
Температура окружающего воздуха во время производства работ, °С |
Номер ГОСТ на материалы |
Номер паспорта на материалы |
Температура смеси, °С |
Количество нанесенных слоев, их толщина, мм |
Температура, °С, и продолжительность сушки, ч |
Фамилия бригадира (мастера), производившего работы |
Дата и номер акта приемки работ |
|
|
|
|
|
|
|
|
|
|
|
|
ЖУРНАЛ
|
приемочных испытаний ___________________________________________________ (тип градирни, ее размеры) ____________________________ градирни станционный № _____________________ ________________________________________________________________________ (наименование электростанции) «_____» ______________ 199 ____ г. Испытания проводились при расходе воды, подаваемой на градирню, в количестве _________ м3/ч, что обеспечивало плотность орошения _____________ м3 / (м2·ч). Наблюдения: начаты _______________________________________________________________ окончены _____________________________________________________________
Руководитель работ __________________________ (подпись) Приемщик (мастер) __________________________ (подпись) Выполняющий наблюдения __________________________ (подпись) |
|||||||||||||||||||||||||
Рис. П4.1. Нормативная характеристика башенной градирни
площадью орошения 4200 м2 с двухъярусным оросителем высотой 2,85 м и расстоянием в свету между асбестоцементными листами 25 мм. Высота вытяжной башни - 100 м, воздуховходного окна - 5,5 м, градирня с водоуловителем

Рис. П4.2. Нормативная характеристика башенной градирни
площадью орошения 4000 м2 с двухъярусным оросителем высотой 2,85 м и расстоянием в свету между асбестоцементными листами 25 мм. Высота вытяжной башни - 90 м, воздуховходного окна - 5,5 м, градирня с водоуловителем

Рис. П4.3. Нормативная характеристика башенной градирни
площадью орошения 4000 м2 с двухъярусным оросителем высотой 2,52 м и расстоянием в свету между асбестоцементными листами 19 мм.
Высота вытяжной башни - 90 м, воздуховходного окна - 5,0 м, градирня без водоуловителя

Рис. П4.4. Нормативная характеристика башенной градирни:
площадью орошения 3200 м2 с двухъярусным оросителем высотой 2,65 м и расстоянием в свету между асбестоцементными листами 24 мм. Высота вытяжной башни - 82 м, воздуховходного окна - 5,0 м, градирня с водоуловителем; площадью орошения 1600 м2 без водоуловителя при расстоянии в свету между асбестоцементными листами 32 мм и высоте оросителя 2,4 м. Высота вытяжной башни - 54,10 м, воздуховходного окна - 3,55 м

Рис. П4.5. Нормативная характеристика башенной градирни:
площадью орошения 2100 м2 с двухъярусным оросителем высотой 2,85 м и расстоянием в свету между асбестоцементными листами 25 мм. Высота вытяжной башни - 64,8 м, воздуховходного окна - 3,80 м, градирня с водоуловителем; площадью орошения 2600 м2 с двухъярусным оросителем высотой 2,85 м и расстоянием в свету между асбестоцементными листами 25 мм. Высота вытяжной башни - 71,0 м, воздуховходного окна - 4,30 м, градирня с водоуловителем

Рис. П4.6. Нормативная характеристика башенной градирни:
площадью орошения 1600 м2 без водоуловителя, с двухъярусным оросителем высотой 3,20 м и расстоянием в свету между асбестоцементными листами 25 мм.
Высота вытяжной башни - 54,1 м, воздуховходного окна - 3,55 м; площадью орошения 1600 м2 без водоуловителя, с двухъярусным оросителем высотой 2,55 м из деревянных ячеистых блоков типа ПЯ-30 с ячейками 30´30 мм. Высота вытяжной башни - 50,2 м, воздуховходного окна - 3,3 м; площадью орошения 800 м2 без водоуловителя, с двухъярусным оросителем высотой 2,4 м из деревянных блоков типа КПШ-48-200 с расстоянием в свету между горизонтальными рейками 48 мм. Высота вытяжной башни - 45 м, воздуховходного окна - 3,3 м; площадью орошения 630 м2 без водоуловителя, с одноярусным оросителем высотой 2,9 м из деревянных блоков, собранных из досок сечением 10´80 мм. Высота вытяжной башни - 40 м, воздуховходных окон - 2,1 м; площадью орошения 500 м2 без водоуловителя, с двухъярусным оросителем высотой 2,14 м из деревянных ячеистых блоков типа ПЯ-30 с ячейками 30´30 мм. Высота вытяжной башни - 40 м, воздуховходных окон - 2,5 м

Рис. П4.7. Нормативная характеристика башенной градирни:
площадью орошения 1600 м2 без водоуловителя с двухъярусным оросителем высотой 2,45 м и расстоянием в свету между асбестоцементными листами 40 мм.
Высота вытяжной башни - 54,1 м, воздуховходных окон - 3,55 м; площадью орошения 1200 м2 без водоуловителя с двухъярусным оросителем высотой 2,86 м, из деревянных ячеистых блоков типа ПЯ-50 с ячейками 50´50 мм. Высота вытяжной башни - 48,4 м, воздуховходных окон - 3,3 м

Рис. П4.8. Нормативная характеристика башенной градирни:
площадью орошения 1600 м2 без водоуловителя с лотковым водораспределением, с двухъярусным оросителем высотой 2,65 м и расстоянием в свету между асбестоцементными листами 20 мм.
Высота вытяжной башни - 54,1 м, воздуховходных окон - 3,55 м; площадью орошения 1600 м2 без водоуловителя, с одноярусным оросителем высотой 2,44 м из деревянных блоков типа КП-90-160. Высота вытяжной башни - 53,76 м, воздуховходных окон - 3,3 м; площадью орошения 1200 м2 без водоуловителя, с лотковым водораспределением, двухъярусным оросителем высотой 3,2 м и расстоянием в свету между асбестоцементными листами 25 мм. Высота вытяжной башни - 49,5 м, воздуховходных окон - 3,55 м; площадью орошения 1200 м2 без водоуловителя, с одноярусным, оросителем высотой 2,65 м из деревянных блоков типа КПШ-48-200. Высота вытяжной башни - 48,4 м, воздуховходных окон - 3,3 м; площадью орошения 800 м2 без водоуловителя, с одноярусным оросителем высотой 2,46 м из деревянных блоков типа КП 90-115.
Высота вытяжной башни - 45 м, воздуховходных окон - 3,3 м

Рис. П4.9. Нормативная характеристика башенной градирни
площадью орошения 1200 м2 без водоуловителя, с лотковым водораспределением, с двухъярусным оросителем высотой 3,2 м и расстоянием в свету между асбестоцементными листами 25 мм. Высота вытяжной башни - 49,5 м, воздуховходных окон - 3,55 м

Рис. П4.10. Нормативная характеристика башенной градирни:
площадью орошения 2100, 2600, 3200 и 4000 м2 с водоуловителем, напорным водораспределением, одноярусным оросителем высотой 2,85 м из деревянных блоков типа КП-100-160, с расстоянием в свету между щитами 25 мм. Высота вытяжной башни соответственно 64,8 м, 71,0 м, 81,0 м и 90,0 м, высота воздуховходных окон соответственно 3,8 м, 4,3 м, 5,0 м, 5,5 м; площадью орошения 1500 м2 с напорным водораспределением, двухъярусным оросителем высотой 3,0 м из деревянных блоков типа КПЯ-50´32 с ячейками 50´32 мм, а также высотой 2,6 м из деревянных блоков типа КПЯ-45´29 с ячейками 45´29 мм, железобетонной гиперболической башней высотой 55,3 м, воздуховходных окон - 3,4 м; площадью орошения 500 м2 без водоуловителя, с одноярусным оросителем высотой 1,6 м из деревянных блоков типа ШЯ-48 с ячейками 48´48 мм. Высота вытяжной башни - 40,0 м, воздуховходных окон - 2,5 м
Рис. П4.11. Нормативная характеристика башенной градирни:
площадью орошения 2600 м2 брызгального типа с соплами Б-10 диаметром выходного сечения 26 мм, высотой факела разбрызгивания 4,6 м. Высота вытяжной башни - 50,2 м, воздуховходных окон - 3,25 м; площадью орошения 2400 м2 брызгального типа с соплами С-6 диаметром выходного сечения 40 мм, высотой факела разбрызгивания 4,9 м. Высота вытяжной башни - 47,2 м, воздуховходных окон - 3,0 м

Рис. П4.12. Кривые поправок на ветер к портативным характеристикам рис. П4.1 - П4.11 для градирен площадью орошения:
1 - 4000-4200 м2 и брызгальных 2400 - 2600 м2; 2 - 1520 - 3200 м2; 3 - менее 1520 м2
СОДЕРЖАНИЕ
|
|
|
|