//
ТехЛит.ру
- крупнейшая бесплатная электронная интернет библиотека для "технически умных" людей.
WWW.TEHLIT.RU - ТЕХНИЧЕСКАЯ ЛИТЕРАТУРА

:: Алготрейдинг::


АЛГОТРЕЙДИНГ
шаг за шагом
с нуля по урокам!

Торговые роботы на PYTHON, BackTrader,
Pandas, Pine Script для TradingView. Связка с брокерами, телеграм и легкими приложениями.


ГОСТ Р 52028-2003

ГОСУДАРСТВЕННЫЙ СТАНДАРТ РОССИЙСКОЙ ФЕДЕРАЦИИ

КОНТРОЛЬ НЕРАЗРУШАЮЩИЙ

Измерение износа и коррозии методом
поверхностной активации

ГОССТАНДАРТ РОССИИ

Москва

Предисловие

1 РАЗРАБОТАН Государственным научным центром Российской Федерации «Физико-энергетический институт имени академика А.И. Лейпунского»

ВНЕСЕН Техническим комитетом по стандартизации ТК 371 «Неразрушающий контроль»

2 ПРИНЯТ И ВВЕДЕН В ДЕЙСТВИЕ Постановлением Госстандарта России от 20 марта 2003 г. № 89-ст

3 ВВЕДЕН ВПЕРВЫЕ

СОДЕРЖАНИЕ

1 Область применения. 2

2 Приборы и материалы.. 2

3 Подготовка к измерениям.. 3

4 Проведение измерений. 5

5 Обработка результатов. 6

6 Метрологические характеристики метода. 6

7 Требования безопасности и охраны окружающей среды.. 7

Приложение А. Схема режимов облучения. 8

Приложение Б. Схемы вариантов оснастки. 8

Приложение в. Рекомендации по выбору режимов облучения основных химических элементов и конструкционных материалов, изготовленных на их основе. 10

Приложение г. Виды градуировочных кривых. 11

Приложение д. Формулы пересчета полной активности метки от толщины слоя износа. 11

Приложение е. Гамма-спектры 56Со, измеренные Gе (Li) и naj (Tl)-детекторами. 12

Приложение ж. Методы поверхностной активации. 12

Приложение и. Схема установки и измерения радиоизотопного индикатора коррозии. 13

Приложение к. Схема измерения характеристик локальных повреждений поверхности. 14

Приложение л. Библиография. 16

ГОСТ Р 52028-2003

ГОСУДАРСТВЕННЫЙ СТАНДАРТ РОССИЙСКОЙ ФЕДЕРАЦИИ

КОНТРОЛЬ НЕРАЗРУШАЮЩИЙ

Измерение износа и коррозии методом поверхностной активации

Nondestructive testing.
Measurement of rupture and corrosion by a superficial activation method

Дата введения 2003-07-01

1 Область применения

Настоящий стандарт устанавливает методы поверхностной активации для измерения износа и коррозии деталей машин, механизмов и оборудования, изготовленных из любых материалов (металлов, сплавов, керамики и др.), за исключением органических, активация которых невозможна или затруднительна.

Сущность метода состоит в непрерывном или периодическом измерении в процессе испытаний и эксплуатации местного или интегрального уноса массы или толщины по уменьшению интенсивности гамма-излучения предварительно активированного участка контролируемой поверхности объекта (далее - метки).

Стандарт не распространяется на контроль тех видов разрушения поверхности изделий, которые не связаны с отделением и уносом продуктов разрушения (пластическая деформация, изменение химического состава или структуры материала и т.п.).

2 Приборы и материалы

2.1 Приборы и материалы, необходимые для метода поверхностной активации, используют в зависимости от этапов и условий испытания.

2.2 На этапе создания радиоактивной метки необходима специальная активационная оснастка, обеспечивающая воспроизводство геометрии облучаемого участка с погрешностью не более 1°, охлаждение детали, возможность измерения тока облучения. В зависимости от решаемой задачи создаваемая оснастка может быть универсальной или индивидуальной для каждого изделия и основана на комбинации режимов облучения. Схема режимов облучения приведена в приложении А, схемы вариантов оснастки - в приложении Б (рисунки 1, 2).

2.3. Для измерения интенсивности излучения метки используют следующую аппаратуру:

а) при проведении измерений в условиях ядерно-физической лаборатории - полупроводниковый Gе(Li)-детектор и многоканальный амплитудный анализатор со следующими параметрами:

- ширина дисплейного окна не менее 512 каналов;

- энергетическая разрешающая способность не менее 300 эВ на канал [1];

б) при проведении измерения абсолютной активности полученных источников должен быть использован набор эталонных γ-источников типа ОСГИ;

в) при проведении измерений в производственных условиях (завод, нефтегазопромысел и т.п.), где получение жидкого азота проблематично - сцинтилляционный детектор NaJ (Tl) с размерами 1,5"×1,5", например типа БДЭГ, и одноканальный спектрометр - радиометр со следующими характеристиками:

- диапазон измерения гамма-излучения от 0 до 5 · 103 (гамма-кВ)/с,

- диапазон энергии при определении спектра гамма-излучения от 20 кэВ до 1,5 МэВ,

- разрешающая способность по изотопу Cs137 не менее 20 %,

- основная погрешность прибора при нормальных внешних условиях не должна превышать по гамма-излучению ±10 % (относительно максимального значения шкалы соответствующего диапазона).

2.4 Для получения градуировочной кривой используют:

- шкурку микронную (предпочтительно водостойкую);

- набор шлифовальных паст - для снятия слоев шлифованием;

- набор кислот - для снятия слоев травлением или электрополированием;

- микровесы с набором разновесов;

- оптикаторы - для определения толщины снятого слоя.

3 Подготовка к измерениям

3.1 Подготовка к измерениям включает в себя четыре этапа:

выбор контролируемого участка поверхности, изготовление и настройка активационной оснастки;

выбор режима облучения и создание метки;

проверка активности и γ-спектра полученной метки;

получение градуировочной кривой.

3.2 Выбор контролируемого участка поверхности, его положение и размеры, включая толщину метки, зависят от кривизны поверхности, области разрушения, глубины предполагаемого разрушения, геометрии измерения, которая определяется толщиной защиты между меткой и детектором. Коэффициент ослабления по гамма-излучению не должен превышать 20.

3.3 Оснастка должна обеспечивать:

- геометрию облучения с погрешностью угла облучения не более 1°;

- охлаждение облучаемой детали не выше температуры плавления детали;

- защиту от накопления электрического заряда (с помощью заземления металлических деталей, а для диэлектриков - с помощью металлической фольги).

3.4 Основным источником информации о разрушении поверхности в результате износа или коррозии является локальная радиоактивная метка. К характеристикам метки, определяемым поставленной задачей, относят толщину, активность, радионуклидный состав и распределение радионуклидов по глубине. Режим облучения выбирают исходя из следующих требований:

- толщина метки или глубина активации должна на 20 - 30 % превышать ожидаемую величину разрушения;

- полная или удельная активность каждой детали не должна превышать значение, указанное в [3];

- радионуклидный состав метки на момент поставки заказчику должен содержать только долгоживущие радионуклиды по сравнению с временем измерения. Измерения проводят по одному радионуклиду. При невозможности выполнения указанного требования время измерений выбирают исходя из минимального периода полураспада радионуклидов в метке [3].

3.5 Режим активации включает тип и энергию ускоренных частиц, ток пучка и угол падения его на поверхность детали.

3.5.1 Тип ускоренных ионов связан с выбором ядерной реакции, приводящей к оптимальной радионуклидной смеси в метке. Предпочтительно образование одного долгоживущего радионуклида с жестким γ-излучением и минимальным количеством радиоактивных примесей.

3.5.2 Энергия ускоренных ионов определяется необходимой толщиной метки и характеристиками выбранной ядерной реакции - ее порогом и кулоновским барьером.

Для уменьшения длительности облучения при оптимальном токе пучка возможно увеличение энергии частиц и облучение под углом (для сохранения заданной толщины метки) [3].

3.5.3 Ток пучка ускоренных ионов не должен вызывать термических или структурных изменений в исходном материале (с учетом возможного охлаждения облучаемого изделия); однако следует учитывать, что значение тока облучения связано с его длительностью, т.е. с экономическими факторами работы.

3.5.4 Оптимальные рекомендации по выбору режимов облучения основных химических элементов и конструкционных материалов, изготовленных на их основе, приведены в приложении В.

3.6 Реализацией выбранного режима является сам процесс активации деталей и образцов, предназначенных для получения градуировочной кривой.

3.7 Облученные изделия перед отправкой заказчику необходимо проверить на соответствие активности основного измеряемого радионуклида, а также оценить реальное время выдержки для распада короткоживущих примесей.

3.8 Получение градуировочных кривых

3.8.1 Облучение материала ускоренными ионами приводит к его активации, т.е. к образованию на поверхности изделия или образца тонкого слоя с радионуклидом, неравномерно распределенным по глубине. Для оценки характеристик разрушения поверхности по изменению радиоактивности метки необходимо знать это распределение, причем точность результатов измерения включает в себя как точность измерения активности, так и точность используемой градуировочной кривой, описывающей профиль распределения активности по глубине. При этом предполагается, что контролируемый процесс не искажает форму этого распределения, например, за счет диффузии или селективного уноса какой-либо компоненты материала.

Градуировочная кривая представляет собой зависимость полной активности метки Ai от толщины снятого слоя А = F(х) или связь толщины снятого слоя х = f(а) с его относительной активностью аi:

                                                        (1)

и

                                          (2)

где N0 и Nф - начальные значения интенсивности излучения метки и фона;

t - интервал времени между i-м и нулевым измерениями;

λ - постоянная распада измеряемого радионуклида.

Виды градуировочных кривых приведены в приложении Г.

3.8.2 Если любое локальное разрушение снимает на своем участке весь тонкий радиоактивный слой, градуировочную кривую не строят, а определяют долю разрушенной поверхности изделия.

3.8.3 Наиболее удобной формой градуировочной кривой является прямая линия х = b1а (см. 5.1 и 6.1). Такое линейное приближение градуировочной зависимости справедливо для a £ 0,1 - 0,5 при активации большинства конструкционных материалов протонами с энергией 7 - 12 МэВ.

3.8.4 Точные градуировочные кривые определяют экспериментальным путем - методом эталонирования или методом стопки фольги.

3.8.5 Эталонирование применяют, в основном, для непластичных материалов и малых толщин активного слоя. Оно заключается в радиометрии образца-эталона из того же материала, что и изделие, активированного идентичным образом, при последовательном снятии слоев с его поверхности. Эта последняя операция может осуществляться как путем истирания (в том числе с использованием специальных устройств), так и с помощью химического травления и электрополирования. Величину снятого слоя измеряют взвешиванием, оптическими или электрическими методами.

3.8.6 Если контролируемый материал содержит один основной элемент (например стали, бронзы, силумин и др.), достаточно пластичный для изготовления фольги, градуировку выполняют, облучая в идентичном режиме стопку фольги и строя кривую зависимости интенсивности излучения при последовательном снятии верхней по ходу пучка фольги.

3.8.7 Для измерения снятой или оставшейся активности используют аппаратуру, предназначенную для проведения измерений в условиях испытаний или эксплуатации и в том же режиме.

3.8.8 Активация кривых поверхностей должна, как правило, сохранять градуировочную кривую для всех точек облученного участка поверхности. Это достигается обычно либо каким-нибудь взаимным перемещением пучка ионов и изделия, предусмотренным в конструкции активационной оснастки, либо аналитически. Формулы для пересчета полной активности метки от толщины слоя износа приведены в приложении Д.

В большинстве случаев, когда исследуется износ участка сложной поверхности, необходимо идти по пути уменьшения зоны облучения.

3.8.9 Погрешность градуировочной кривой складывается из ряда факторов, основным из которых является хорошее воспроизводство условий активации.

Разброс химического состава стандартных конструкционных материалов дает ошибку не более 1 %. Измерения относительной активности могут быть выполнены с высокой точностью (< 1 %); нестабильность энергии частиц также мала и основная ошибка связана с неопределенностью угла падения пучка на облучаемую поверхность. Она может составлять несколько градусов, минимальна при углах облучения, близких к 90°, но при облучении под углом 5° градуировочная кривая может иметь погрешность 50 - 100 %. В связи с этим без специальных мер по точной юстировке облучение под углом менее 30° не рекомендуется.

4 Проведение измерений

4.1 Активированную деталь устанавливает на рабочее место в стенде, в реальную машину или действующее оборудование оперативный персонал или специальный представитель предприятия-заказчика.

4.2 Детектор излучения устанавливают в непосредственной близости от контролируемого участка. При этом необходимо соблюдать:

- правила и условия эксплуатации детектора в соответствии с изложенными в паспорте. Особое внимание следует обратить на его температурный режим и развязку от возможных вибраций [1];

- постоянство геометрии метка - детектор в течение всего цикла измерений. Движение метки не сказывается на конечном результате при условии его равномерности или большой статистики перемещений в течение каждого измерения.

4.3 Интенсивность излучения измеряют по одному, наиболее долгоживущему, интенсивному и жесткому в γ-спектре радионуклиду, который определяют выдержкой во времени и установкой определенного порога регистрации [3].

4.3.1 Измерения полупроводниковым Ge (Li)-детектором с использованием многоканального анализатора благодаря высокому энергетическому разрешению детектора и заложенной в анализаторе программе обработки спектра позволяют получать текущие значения интенсивности счета Ni в фотопике измеряемого радионуклида.

4.3.2 Измерения сцинтилляционным детектором с существенно худшим энергетическим разрешением требуют получения в спектре максимально чистого от радиоактивных примесей измеряемого радионуклида [3].

В приложении Е приведены гамма-спектры 56Со, измеренные детекторами обоих типов.

4.4 Перед каждым измерением, особенно при измерениях в производственных или полевых условиях, необходимо проводить калибровку детектора по долгоживущим эталонам (22Na, 54Mn, 137Cs и др.) для воспроизводства режима измерений от одного измерения к последующим.

4.5 Нулевое измерение выполняют как можно ближе по времени к началу эксплуатации или испытания изделия.

4.6 Наряду с измерением интенсивности счета от активированного изделия в том же режиме измеряют уровень фона Nф на расстоянии не менее 2 - 3 м от источника излучения [4].

4.7 Определяют продолжительность единичного измерения в импульсах на менее 10Nф и принимают ее одинаковой для всех последующих измерений.

5 Обработка результатов

5.1 При снятии градуировочной кривой, получив набор экспериментальных точек {хi, аi}, строят градуировочную кривую x = f(a) в виде полинома , где параметры bk определяют методом наименьших квадратов.

5.2 Программа измерений включает в себя определение начальной интенсивности излучения N0 и фона Nф и проведение периодических измерений по заданной временной программе.

Полученные данные усредняются по 5 - 10 измерениям.

5.3 Усредненные данные исправляются на распад и по формулам (1) или (2) переводят в относительные единицы для последующего перевода по одной из градуировочных кривых в величину снятого слоя в процессе износа или коррозии.

5.4 При использовании спектрометра, совмещенного с компьютером, все эти операции могут выполняться on-line с возможностью оперативно вмешаться в контролируемый процесс.

6 Метрологические характеристики метода

6.1 Основной характеристикой метода поверхностной активации является градуировочная кривая х = f(a) или А = F(х).

Во многих случаях она может быть описана полиномом , где bk и k рассчитывают методом наименьших квадратов.

Например, распределение активности 56Со в Fe, облученном протонами с энергией 11 МэВ под углом 90°, может быть описано полиномом f(а) = 106а + 34a5.

6.2 Чувствительность метода характеризуется долей полной активности в первом элементарном слое: S = b-l. При малых значениях ат = 1 и х = b1а.

Линейное описание градуировочной кривой справедливо в диапазоне 0,1 < а < 0,5 при облучении большинства конструкционных материалов протонами с энергией 7 - 12 МэВ.

Для повышения чувствительности мониторинга необходимо уменьшить глубину активации путем уменьшения энергии частиц Ер или угла падения пучка θ.

Понятие чувствительности позволяет сравнивать разные методы измерений.

6.3 Погрешность или среднеквадратичное отклонение при определении снятого слоя рассчитывают по формуле

                                              (3)

где  - первый член описывает вклад за счет неточного определения а;

 - второй связан с несовпадением химического состава и условий активации эталона и изделия;

 - третий возникает из-за неточности аппроксимации градуировочной кривой соответствующим полиномом.

6.4 Предел обнаружения ха есть минимально снятый слой, который может быть обнаружен с надежностью, не превышающей заданную:

ха = b1amin = b1αsa                                                                                                 (4)

где sa - дисперсия величины а;

α - доверительный интервал (в единицах σ) при нормальном распределении значений а.

Примером использования предела обнаружения в методе поверхностной активации может быть факт обнаружения коррозии конструкционного материала в агрессивной среде, когда значимое отклонение величины а от нуля используют для управления введением ингибитора.

6.5 Предел определения хb есть минимально снятый слой, который может быть определен с заданной надежностью Ра

                                                   (5)

где sb - погрешность градуировки, которая не учитывается величиной предела обнаружения.

В обычных условиях контроля (d < 50 мкм, 0,1 < а < 0,7) хb лежит в пределах 2 % глубины активации.

6.6 Разрешающая способность хр - минимальное приращение толщины снятого слоя, которое может быть зафиксировано с заданной надежностью.

При х = 0 хр = xb. Эта зависимость позволяет оценить изменение предела определения в процессе изнашивания или коррозии, а также возможности метода не только на начальном, но и на всех последующих этапах исследования.

6.7 Введенные метрологические характеристики поверхностной активации позволяют правильно выбрать условия активации и способ градуировки для различных конкретных задач (материал изделия, интервал контролируемых значений снятого слоя, шаг и точность контроля, геометрия измерения).

6.8 Рассмотрение этих характеристик позволяет также оценить корректность требований к точности получаемых результатов. Учет исходной шероховатости поверхности (Ra, Rz), а также погрешности тех эксплуатационных параметров, в зависимости от которых измеряют износ или коррозию (нагрузки, свойства сред и т.д.), позволяют снизить требования к точности проведения облучения и измерения, что повлияет на экономические факторы проведения работы.

6.9 Варианты метода поверхностной активации приведены в приложении Ж.

7 Требования безопасности и охраны окружающей среды

7.1 Меры безопасности и регламентирующая их документация различны для разных этапов применения метода.

7.2 Активность каждой поставляемой детали не должна превышать минимально значимую активность (МЗА) либо ее удельная активность не должна превышать минимально значимую удельную активность (МЗУА), указанную в [3].

7.3 На этапе создания метки все операции на ускорителе проводятся специально подготовленным персоналом, проходящим обучение и медицинское освидетельствование. На рабочих местах должны быть инструкции, разработанные на основе действующих нормативных актов по охране труда:

- стандартов «Системы стандартов безопасности труда» (ССБТ);

- государственных стандартов, отраслевых стандартов, стандартов предприятия (СТП);

- [1], [2], [3], [4].

7.4 После облучения деталь должна быть выдержана определенное время для распада короткоживущих радионуклидов (см. приложение В).

7.5 Этапы транспортирования облученных изделий к заказчику и организация их хранения регламентированы [1], [2] и специальными инструкциями, предусматривающими выделение ответственного лица и помещения для хранения как вновь полученных, так и уже использованных, но имеющих остаточную активность изделий.

7.6 Использование облученных деталей по их назначению, т.е. установка их в механизм или оборудование и проведение измерений интенсивности их излучения по заданной временной программе регламентируются [2], [3].

7.7 Все работы по использованию метода поверхностной активации для измерения износа деталей машин и механизмов и коррозии оборудования регламентируются специальными санитарными правилами [4].

ПРИЛОЖЕНИЕ А

(рекомендуемое)

Схема режимов облучения

ПРИЛОЖЕНИЕ Б

(рекомендуемое)

Схемы вариантов оснастки

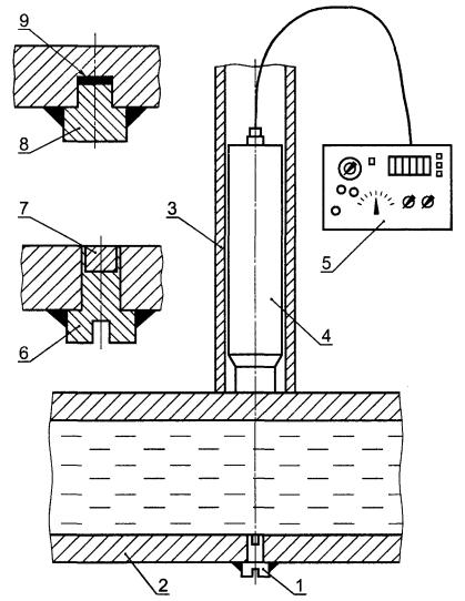
a - вертикальный вариант; б - горизонтальный вариант; 1 - конец ионопровода; 2 - стол; 3 - подставка; 4 - электродвигатель; 5 - облучаемая стопка поршневых колец

Рисунок Б.1 - Устройство для активации поршневых колец

1, 2, 3, 5 - фланцы; 4 - трубка; 6 - шпильки; 7 - уплотнения гильзы; 8 - направляющие

Рисунок Б.2 - Устройство для активации гильз цилиндра двигателей внутреннего сгорания

ПРИЛОЖЕНИЕ В

(рекомендуемое)

Рекомендации по выбору режимов облучения основных химических элементов и конструкционных материалов, изготовленных на их основе

Таблица В.1

Элемент

Тип ускоренных частиц

Регистрируемый радионуклид (Т1/2)

Энергия, МэВ

Выход, 37 кБк/мкА · ч

Радиоактивные примеси

Регистрируемый участок, МэВ

Время выдержки после облучения

Длительность контроля

Be

p

7Be (53,3 cyт)

22,4

11

-

Фотопик 0,478

~3 сут

5 - 6 мес

с

3He

7Be (53,3 cyт)

32,1

17

-

Фотопик 0,478

~3 сут

5 - 6 мес

Mg

d

22Na (2,62 г)

22,8

3,8

24Na

Фотопик 1,28

10 сут

Несколько лет

Аl

α

22Na (2,62 г)

42,7

0,16

24Na, 28Mg

Фотопик 1,28

10 сут

Несколько лет

Ti

p

48V (16,0 cyт)

22,5

510

46Sc, 47Sc, 49V

Фотопик 1,31

20 сут

2 мес

V

d

51Cr (27,7 cyт)

21,6

460

-

Фотопик 0,32

~3 сут

3 мес

Cr

p

52Mn (5,7 cyт)

11,0

110

51Cr, 54Mn, 55Fe

Св. 1,0

~3 сут

20 сут

α

54Mn(312,3 cyт)

45,0

6,5

Фотопик 0,84

40 сут

Св. 1 г

Mn

p

54Mn (312,3 cyт)

22,5

17

51Cr, 55Fe

Фотопик 0,84

~3 сут

Св. 1 г

Fe

p

56Co (78,5 cyт)

11,0

12

57Co

Не более 0,65

~1 нед

7 - 8 мес

α

58Со + 58Co

45,0

30 + 1,6

57Co, 55Fe

Фотопик 0,81

~1 нед

7 - 8 мес

Co

p

58Co (70,8 cyт)

22,7

110

-

Фотопик 0,81

~1 нед

7 - 8 мес

Ni

d

58Co + 56Co

22,5

5,3 + 133

55Fe, 57Co, 60Co

Фотопик 0,81

~1 нед

7 - 8 мес

Cu

p

65Zn (244,1 cyт)

11,0

6,8

-

Фотопик 1,12

~1 нед

Св. 1 г

Zn

d

65Zn (244,1 cyт)

20,5

12,7

67Ga

Фотопик 1,12

~3 сут

Св. 1 г

Nb

р

92Nb (10,1 cyт)

22,5

110

89Zr, 93mMo

Не более 0,65

~1 нед

1 мес

 

α

95Tc (61 cyт)

45,0

3

92mNb, 96Tc

Не более 0,5

1,5 мес

6 - 7 мес

Mo

р

95Tc (61 cyт)

22,4

14

120mSb, 122Sb

Не более 0,65

1 мес

6 - 7 мес

Sn

d

124Sb (60,2 cyт)

22,3

9

113Sn

Не более 1,3

20 сут

6 мес

W

р

184Re (38 cyт)

22,0

70

183Re

Не более 0,65

~1 нед

4 мес

ПРИЛОЖЕНИЕ Г

(рекомендуемое)

Виды градуировочных кривых

1 - кривая А = F(х); 2 - кривая x = f(a)

ПРИЛОЖЕНИЕ Д

(рекомендуемое)

Формулы пересчета полной активности метки от толщины слоя износа

Д.1 Распределение активности по глубине при облучении равномерно вращающейся цилиндрической поверхности Ац(х) связано с распределением для плоского случая Апл(х) = fпл(х) следующим соотношением:

                                           (Д.1)

где l - глубина активации в направлении пучка. В случае непостоянной плотности пучка частиц в подынтегральное выражение должна быть включена также функция плотности ρ(θ).

Д.2 При наличии экрана, перекрывающего малые углы (θ), что уменьшает глубину активации и повышает чувствительность контроля износа, формула (Д.1) приобретает вид

                                 (Д.2)

Д.3 Для случая наклонного под углом φ к нормали падения пучка на образующую цилиндра формула (Д.1) имеет вид

                                       (Д.3)

Эта же формула пересчета справедлива и для перпендикулярного к оси вращения облучения конического тела с углом 2α при вершине.

Д.4 Для хаотично вращающейся в пучке сферы формула пересчета градуировочной кривой с плоского случая почти аналогична (Д.1)

                                     (Д.4)

ПРИЛОЖЕНИЕ Е

(рекомендуемое)

Гамма-спектры 56Со, измеренные Gе (Li) и NaJ (Tl)-детекторами

ПРИЛОЖЕНИЕ Ж

(рекомендуемое)

Методы поверхностной активации

Ж.1 Метод поверхностной активации вариабелен не только с точки зрения выбора измеряемого радионуклида и тем самым использования разных источников облучения, но и с точки зрения круга решаемых с его помощью задач.

Ж.2 Радионуклидные метки устанавливают на крупное оборудование (судовые гильзы цилиндров и винты, подшипники карьерных экскаваторов, нефтегазовые трубы и др.) с использованием запрессованных или наклеенных вставок, активированных на ускорителях или (в некоторых случаях) в ядерных реакторах. На рисунке И.1 приложения И приведена схема одной из таких работ.

Ж.3 Для контроля больших скоростей разрушения верхний предел толщины радиоактивного слоя может быть увеличен путем установки метки любой длины и формы на поверхности, расположенной под углом контролируемой и сопряженной с ней. При невозможности поставить метку на само изделие используют активированную вставку из того же материала с меткой, нанесенной по образующей.

Ж.4 Уменьшение предела определения толщины снятого слоя возможно снижением энергии частиц и особенно уменьшением угла облучения тем или иным конструктивным образом вплоть до хb0,1 - 0,2 мкм (см. 6.5). Эти значения уже близки к параметрам шероховатости поверхности.

Ж.5 Проблема контроля нескольких точек в одном механизме или на одной поверхности и, как ее предельный случай, изучение эпюры износа являются отдельной задачей со своими оптимальными решениями и критериями. Пространственно разделенные участки измеряют отдельно коллимированными детекторами, при этом разрешение по площади зависит от энергии γ-излучения радионуклида и геометрии измерения. Совмещенные источники должны содержать разные радионуклиды - это несложно для различных материалов и ограничено для одинаковых или близких.

Ж.6 Использование обычного варианта метода не позволяет решать одновременно несколько задач на одном изделии, например, определять со сравнительной точностью большие и малые величины износа, многократно использовать одну метку или определять неравномерный унос вещества. Решение этих задач лежит в управлении формой распределения активности по глубине, что можно реализовать наложением разных профилей в результате сочетания разных режимов активации как порознь, так и одновременно путем создания в пучке частиц нужного спектра энергии. В результате можно резко увеличить крутизну градуировочной кривой на ее начальном участке, сделать эту зависимость линейной на большей части глубины активации или имеющей несколько перепадов.

Ж.7 Локальные разрушения поверхности, такие как задиры, выкрашивания, эрозия, питтинг, кавитация и другие также можно дистанционно исследовать с применением метода поверхностной активации. Простейшая схема измерения характеристик локальных повреждений поверхности приведена в приложении К.

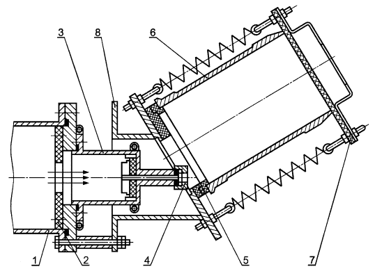
ПРИЛОЖЕНИЕ И

(рекомендуемое)

Схема установки и измерения радиоизотопного индикатора коррозии

1 - индикатор; 2 - трубопровод; 3 - колодец; 4 - детектор излучения; 5 - радиометр; 6 - болт; 7 - радиоактивная вставка; 8 - пробка; 9 - тонкий радиоактивный слой

Рисунок - И.1

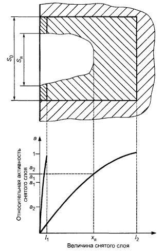
ПРИЛОЖЕНИЕ К

(рекомендуемое)

Схема измерения характеристик локальных повреждений поверхности

Рисунок К.1

Вводят следующие характеристики локального разрушения: Sя/S0 - доля разрушенной площади и хя - средняя глубина язв.

Вводят два параметра, для чего создают в метке два радионуклида, различным и известным образом распределенных по глубине l1 и l2 соответственно. Предполагая, что один из радионуклидов наведен в очень тонком слое и любое локальное повреждение приводит на своем участке к полному его уносу, находят указанные характеристики разрушения из системы уравнений:

                                                            (К.1)

и

                                                      (К.2)

где  - градуировочная кривая для второго радионуклида.

Более общий случай, когда наряду с локальными повреждениями происходит и равномерное снятие слоя, требует уже трех радионуклидов в метке. Сочетанием многослойной метки и равномерного по объему распределения плотности наиболее глубоко расположенного радионуклида определяют массовую или объемную убыль вещества и качественно оценивают среднюю форму локальных повреждений.

ПРИЛОЖЕНИЕ Л

Библиография

[1] Основные санитарные правила обеспечения радиационной безопасности ОСПОРБ-99, Минздрав России, М., 2000

[2] Правила безопасности при транспортировании радиоактивных веществ ПБТРВ-73, Атомиздат, М., 1974

[3] Нормы радиационной безопасности НРБ-99 СП 2.6.1758-99

[4] Государственные санитарно-эпидемиологические правила и нормативы 2.6.1

Ключевые слова: измерение износа, коррозии механизмов, деталей машин, поверхностная активация, радиоактивная метка, Ge (Li)-детектор, эталоны g-источников, выбор режима облучения, геометрия облучения, получение градуировочных кривых




Яндекс цитирования



   Copyright © 2007-2026,  www.tehlit.ru.

[ ѓосты, стандарты, нормативы, инструкции, правила, строительные нормы ]