//
ТехЛит.ру
- крупнейшая бесплатная электронная интернет библиотека для "технически умных" людей.
WWW.TEHLIT.RU - ТЕХНИЧЕСКАЯ ЛИТЕРАТУРА

:: Алготрейдинг::


АЛГОТРЕЙДИНГ
шаг за шагом
с нуля по урокам!

Торговые роботы на PYTHON, BackTrader,
Pandas, Pine Script для TradingView. Связка с брокерами, телеграм и легкими приложениями.


Федеральный горный и промышленный надзор России
(Госгортехна
дзор России)

Серия 03

Нормативные документы
межотраслевого применения по вопросам
промышленной безопасности и охраны недр

Выпуск 39

ИНСТРУКЦИЯ
ПО ВИЗУАЛЬНОМУ И ИЗМЕРИТЕЛЬНОМУ
КОНТРОЛЮ

РД 03-606-03

Москва

Федеральное государственное унитарное предприятие
«Научно-технический центр
по безопасност
и в промышленности
Г
осгортехнадзора России»

2004

Редакционная комиссия:

В.С. Котельников, А.А. Шаталов, Н.А. Мокроусов, Н.А. Хапонен, А. Сорокин, Р.А. Стандрик, Н.Н. Коновалов

Инструкция по визуальному и измерительному контролю (РД 03-606-03). Серия 03. Выпуск 39 / Колл. авт. - М.: Федеральное государственное унитарное предприятие «Научно-технический центр по безопасности в промышленности Госгортехнадзора России», 2004.

Инструкция по визуальному и измерительному контролю разработана Управлением по котлонадзору и надзору за подъемными сооружениями Госгортехнадзора России, Управлением по надзору в нефтяной и газовой промышленности Госгортехнадзора России, Управлением по надзору в химической, нефтехимической и нефтеперерабатывающей промышленности Госгортехнадзора России, Отделом газового надзора Госгортехнадзора России, АНТЦ «Энергомонтаж», ГУП НТЦ «Промышленная безопасность», АО ВНИИСТ с участием НУЦ «Сварка и контроль» при МГТУ им. Н.Э. Баумана.

В разработке настоящей Инструкции принимали участие: В.С. Котельников, И.А. Хапонен, А.А. Шельпяков, С. Морозов, Г.М. Селезнев, А. Нечаев, Е.Н. Кокорев, В. Богод, С.А. Белкин, В.А. Феоктистов, Л.Д. Утенкова, Н.Н. Коновалов, В. Шевченко, М.Ю. Москалев, В.Л. Дума, А.С. Моисеенко, Н.М. Каплан, В.П. Дукин, Г.А. Гиллер, Л.Ю. Могильнер, А.Б. Докутович, Н.Ю. Молодкина.

Инструкция по визуальному и измерительному контролю введена в действие приказом Госгортехнадзора России от 17.07.03156.

СОДЕРЖАНИЕ

I. Область применения. 2

II. Термины и определения. 2

III. Общие положения. 3

IV. Квалификация персонала. 5

V. Требования к средствам визуального и измерительного контроля. 5

VI. Требования к выполнению визуального и измерительного контроля. 6

VII. Оценка результатов контроля. 32

VIII. Регистрация результатов контроля. 33

IX. Требования безопасности. 33

Приложение А. Термины и определения основных понятий. 33

Приложение Б. Требования к содержанию Программы (плана, инструкции) входного контроля. 47

Приложение В. Требования к содержанию Технологической карты визуального и измерительного контроля. 47

Приложение Г. Требования к содержанию Карты операционного контроля. 48

Приложение Д. Примерный перечень средств визуального и измерительного контроля. 49

Приложение Е. Размерные показатели для норм оценки качества по результатам визуального и измерительного контроля. 50

Приложение Ж. формы документов, оформляемых по результатам визуального и измерительного контроля. 51

Утверждена

постановлением Госгортехнадзора

России от 11.06.0392,

зарегистрированным

Министерством юстиции

Российской Федерации 20.06.03 г.,

регистрационный № 4782.

Введена в действие

приказом Госгортехнадзора России

от 17.07.03 156

ИНСТРУКЦИЯ
ПО ВИЗУАЛЬНОМУ
И ИЗМЕРИТЕЛЬНОМУ КОНТРОЛЮ *

* Печатается по «Российской газете» от 21 июня 2003 г., № 120/1.

РД 03-606-03

I. ОБЛАСТЬ ПРИМЕНЕНИЯ

Настоящая Инструкция устанавливает порядок проведения визуального и измерительного контроля основного материала (далее - материал) и сварных соединений (наплавок) при изготовлении, строительстве, монтаже, ремонте, реконструкции, эксплуатации, техническом диагностировании (освидетельствовании) технических устройств и сооружений, применяемых и эксплуатируемых на опасных производственных объектах, подконтрольных Госгортехнадзору России.

Визуальный и измерительный контроль специальных материалов (например, композитных и полимерных) и специальных сварных соединений (например, муфтовой сварки) технических устройств и сооружений проводят в соответствии с требованиями специально разработанной документации.

II. ТЕРМИНЫ И ОПРЕДЕЛЕНИЯ

Настоящая Инструкция базируется на терминах и определениях, приведенных в правилах безопасности, утвержденных Госгортехнадзором России (далее - Правила), а также использует термины и определения, приведенные в приложении А.

III. ОБЩИЕ ПОЛОЖЕНИЯ

3.1. Визуальный и измерительный контроль материала (полуфабрикатов, заготовок, деталей) и сварных соединений проводят на следующих стадиях:

входного контроля;

изготовления деталей, сборочных единиц и изделий;

подготовки деталей и сборочных единиц к сборке;

подготовки деталей и сборочных единиц к сварке;

сборки деталей и сборочных единиц под сварку;

процесса сварки;

контроля готовых сварных соединений и наплавок;

исправления дефектных участков в материале и сварных соединениях (наплавках);

оценки состояния материала и сварных соединений в процессе эксплуатации технических устройств и сооружений, в том числе по истечении установленного срока их эксплуатации.

3.2. Визуальный и измерительный контроль материалов на стадии входного контроля выполняют при поступлении материала (полуфабрикатов, заготовок, деталей) в организацию с целью подтверждения его соответствия требованиям стандартов, технических условий (далее - ТУ), конструкторской документации и Правил.

3.3. Визуальный и измерительный контроль материалов (заготовок, полуфабрикатов, деталей) на стадии входного контроля, изготовления деталей и сборочных единиц и при подготовке их к сборке проводят с целью выявления деформаций, поверхностных трещин, расслоений, закатов, забоин, рисок, раковин и других несплошностей; проверки геометрических размеров заготовок, полуфабрикатов и деталей; проверки допустимости выявленных деформаций и поверхностных несплошностей.

3.4. Визуальный и измерительный контроль на стадии входного контроля материалов (полуфабрикатов, заготовок, деталей) выполняют в соответствии с Программой (планом, инструкцией) входного контроля (приложение Б), которая разрабатывается организацией, выполняющей входной контроль. Программа (план, инструкция) входного контроля разрабатывается в соответствии с требованиями стандартов и отраслевых документов. В Программе (плане, инструкции) входного контроля должны быть указаны объекты контроля (заготовки, полуфабрикаты, детали), виды и объемы контроля, способы контроля, включая схемы выполнения замеров контролируемых параметров, нормативные показатели допустимых отклонений.

3.5. Визуальный и измерительный контроль изготовления деталей и сборочных единиц, подготовки их к сборке и сварке выполняют с целью подтверждения соответствия качества их изготовления и подготовки требованиям рабочих чертежей, технологии изготовления (технологии сборки, гиба) и прочей производственно-технологической документации (далее - ПТД), требованиям нормативной технической документации (далее - НД), ТУ на изготовление и Правил.

3.6. Визуальный и измерительный контроль при сборке свариваемых элементов (заготовок, полуфабрикатов, деталей) проводят с целью выявления и проверки обеспечения допустимых размеров зазоров, смещений кромок, формы и размеров кромок и геометрического положения (излома или перпендикулярности) осей и поверхностей собранных элементов.

3.7. Визуальный и измерительный контроль качества сварных соединений (наплавок) в процессе сварки (наплавки) и готового сварного соединения (наплавки) выполняют с целью подтверждения их соответствия требованиям конструкторской документации, ПТД и (или) НД и Правил.

3.8. Визуальный и измерительный контроль выполненных сварных соединений (конструкций, узлов) проводят с целью выявления деформаций, поверхностных трещин, подрезов, прожогов, наплывов, кратеров, свищей, пор, раковин и других несплошностей и дефектов формы швов; проверки геометрических размеров сварных швов и допустимости выявленных деформаций, поверхностных несплошностей и дефектов формы сварных швов.

3.9. Визуальный и измерительный контроль качества исправления дефектных участков в материале, сварных соединениях и наплавках выполняют с целью подтверждения полноты удаления дефекта, проверки соответствия формы и размеров выборки дефектного участка и качества заварки выборок (в случаях, когда выборка подлежит заварке) требованиям ПТД, НД и Правил.

3.10. Визуальный и измерительный контроль технических устройств и сооружений в процессе эксплуатации проводят с целью выявления изменений их формы, поверхностных дефектов в материале и сварных соединениях (наплавках), образовавшихся в процессе эксплуатации (трещин, коррозионных и эрозионных повреждений, деформаций и пр.).

3.11. Визуальный и измерительный контроль при изготовлении (строительстве, монтаже, ремонте и реконструкции) технических устройств и сооружений выполняют в соответствии с требованиями Технологической карты контроля и (или) Карт (схем) операционного контроля (приложения В, Г).

В указанных картах приводятся контролируемые параметры, последовательность контроля, объемы контроля, средства контроля, схемы выполнения замеров контролируемых параметров и нормы оценки результатов контроля. Технологические карты и карты операционного контроля разрабатываются организацией, выполняющей контроль, либо специализированной организацией, выполняющей проектно-технологическую подготовку производства работ по контролю.

Примечание. Допускается разработку настоящих документов производить в составе ПТД.

3.12. Визуальный и измерительный контроль при оценке состояния материала и сварных соединений в процессе эксплуатации технических устройств и сооружений выполняют в соответствии с требованиями руководящих документов (методических указаний) по оценке (экспертизе) конкретных технических устройств и сооружений. При этом визуальный и измерительный контроль может выполняться в соответствии с Картами (схемами) визуального и измерительного контроля, которые разрабатываются в составе Программы технического диагностирования (освидетельствования). В картах (схемах) указываются места проведения контроля на конкретном техническом устройстве, сооружении, схемы контроля, средства измерения контролируемого параметра, нормы оценки качества, приводятся бланки регистрации результатов контроля.

3.13. Визуальный и измерительный контроль следует проводить всех доступных для этого поверхностей полуфабрикатов, заготовок, деталей, сборочных единиц, изделий.

3.14. Визуальный и измерительный контроль проводят невооруженным глазом и (или) с применением визуально-оптических приборов до 20-кратного увеличения (луп, микроскопов, эндоскопов, зеркал и др.). При контроле материала и сварных соединений (наплавок) при изготовлении (строительстве, монтаже, ремонте и реконструкции) технических устройств и сооружений используют лупы с 2 - 7-кратным увеличением, а при оценке состояния технических устройств и сооружений в процессе их эксплуатации - лупы до 20-кратного увеличения.

3.15. Визуальный и измерительный контроль выполняют до проведения контроля материалов и сварных соединений (наплавок) другими методами неразрушающего контроля, а также после устранения дефектов.

3.16. Поверхности материалов и сварных соединений (наплавок) перед контролем очищаются от влаги, шлака, брызг металла, ржавчины и других загрязнений, препятствующих проведению контроля.

3.17. Измерения проводят после визуального контроля или одновременно с ним. Измерения деталей, подготовленных под сварку, проводятся до их сборки.

3.18. Визуальный и измерительный контроль материалов, сварных соединений (наплавок), подлежащих термической обработке, производят до и после указанной операции. Если контролируемая деталь, конструкция или узел подлежат полной термической обработке (нормализации или закалке с последующим отпуском), контроль проводят после ее выполнения.

3.19. Визуальный и измерительный контроль материалов и сварных соединений, подлежащих механической обработке, в том числе с удалением валика усиления шва, или деформированию, проводят до и после указанных операций.

3.20. При визуальном и измерительном контроле сварных соединений контролируемая зона должна включать в себя поверхность металла шва, а также примыкающие к нему участки материала в обе стороны от шва шириной:

не менее 5 мм - для стыковых соединений, выполненных дуговой и электронно-лучевой сваркой, электроконтактной сваркой оплавлением, сваркой встык нагретым элементом при номинальной толщине сваренных деталей до 5 мм включительно;

не менее номинальной толщины стенки детали - для стыковых соединений, выполненных дуговой и электронно-лучевой сваркой, электроконтактной сваркой оплавлением, сваркой встык нагретым элементом при номинальной толщине сваренных деталей свыше 5 до 20 мм;

не менее 20 мм - для стыковых соединений, выполненных дуговой и электронно-лучевой сваркой, электроконтактной сваркой оплавлением, сваркой встык нагретым элементом при номинальной толщине сваренных деталей свыше 20 мм, а также для стыковых и угловых соединений, выполненных газовой сваркой, независимо от номинальной толщины стенки сваренных деталей и при ремонте дефектных участков в сварных соединениях;

не менее 5 мм (независимо от номинальной толщины сваренных деталей) - для угловых, тавровых, торцовых и нахлесточных сварных соединений и соединений вварки труб в трубные доски, выполненных дуговой и электронно-лучевой сваркой;

не менее 50 мм (независимо от номинальной толщины сваренных деталей) - для сварных соединений, выполненных электрошлаковой сваркой.

3.21. Дефекты, выявленные при визуальном и измерительном контроле, должны быть устранены до выполнения последующей технологической операции или до приемки объекта контроля. Устранение выявленных дефектов должно выполняться в соответствии с требованиями ПТД. Если дефекты, выявленные при визуальном и измерительном контроле, не препятствуют дальнейшему применению других видов (методов) неразрушающего контроля, эти дефекты могут быть устранены после завершения контроля другими видами (методами) контроля.

IV. КВАЛИФИКАЦИЯ ПЕРСОНАЛА

Специалисты, осуществляющие визуальный и измерительный контроль, должны быть аттестованы в соответствии с Правилами аттестации персонала в области неразрушающего контроля (ПБ 03-440-02), утвержденными постановлением Госгортехнадзора России от 23.01.023, зарегистрированным Минюстом России 17.04.02 г., регистрационный № 3378.

V. ТРЕБОВАНИЯ К СРЕДСТВАМ ВИЗУАЛЬНОГО И ИЗМЕРИТЕЛЬНОГО КОНТРОЛЯ *

* Толщиномеры (ультразвуковые, вихретоковые и пр.) относятся к средствам соответствующего вида контроля (ультразвукового, вихретокового и пр.), и использующие их специалисты должны быть аттестованы в соответствии с ПБ 03-440-02 на право выполнения соответствующего вида контроля.

5.1. При визуальном и измерительном контроле применяют:

лупы, в том числе измерительные;

линейки измерительные  металлические;

угольники поверочные 90° лекальные;

штангенциркули, штангенрейсмусы и штангенглубиномеры;

щупы;

угломеры с нониусом;

стенкомеры и толщиномеры индикаторные;

микрометры;

нутромеры микрометрические и индикаторные;

калибры;

эндоскопы;

шаблоны, в том числе специальные и универсальные (например, типа УШС), радиусные, резьбовые и др.;

поверочные плиты;

плоскопараллельные концевые меры длины с набором специальных принадлежностей;

штриховые меры длины (стальные измерительные линейки, рулетки).

Допускается применение других средств визуального и измерительного контроля при условии наличия соответствующих инструкций, методик их применения. Примерный перечень средств визуального и измерительного контроля приведен в приложении Д.

5.2. Для измерения формы и размеров кромок, зазоров, собранных под сварку деталей, а также размеров выполненных сварных соединений разрешается применять шаблоны различных типов.

5.3. Погрешность измерений при измерительном контроле не должна превышать величин, указанных в табл. 1, если в рабочих чертежах не предусмотрены другие требования.

5.4. Для определения шероховатости и волнистости поверхности следует применять профилографы-профилометры, аттестованные образцы шероховатости (сравнения), а также другие средства измерения.

5.5. Измерительные приборы и инструменты должны периодически, а также после ремонта проходить поверку (калибровку) в метрологических службах, аккредитованных Госстандартом России. Срок проведения поверки (калибровки) устанавливается нормативной технической документацией (НД) на соответствующие приборы и инструменты.

Таблица 1

Допустимая погрешность измерений при измерительном контроле

Диапазон измеряемой величины, мм

Погрешность измерений, мм

До 0,5 вкл.

0,1

Свыше 0,5 до 1,0 вкл.

0,2

       »     1,0   »   1,5    »

0,3

       »     1,5   »   2,5    »

0,4

       »     2,5   »   4,0    »

0,5

       »     4,0   »   6,0    »

0,6

       »     6,0   »   10,0  »

0,8

       »     10,0

1,0

VI. ТРЕБОВАНИЯ К ВЫПОЛНЕНИЮ ВИЗУАЛЬНОГО И ИЗМЕРИТЕЛЬНОГО КОНТРОЛЯ

6.1. Подготовка мест производства работ

6.1.1. Визуальный и измерительный контроль рекомендуется выполнять на стационарных участках, которые должны быть оборудованы рабочими столами, стендами, роликоопорами и другими средствами, обеспечивающими удобство выполнения работ.

6.1.2. Визуальный и измерительный контроль при монтаже, строительстве, ремонте, реконструкции, а также в процессе эксплуатации технических устройств и сооружений выполняется на месте производства работ. В этом случае должно быть обеспечено удобство подхода специалистов, выполняющих контроль, к месту производства контрольных работ, созданы условия для безопасного производства работ, в том числе в необходимых случаях должны быть установлены леса, ограждения, подмостки, люльки, передвижные вышки или другие вспомогательные устройства, обеспечивающие оптимальный доступ (удобство работы) специалиста к контролируемой поверхности, а также обеспечена возможность подключения ламп местного освещения напряжением 12 В.

6.1.3. Участки контроля, особенно стационарные, рекомендуется располагать в наиболее освещенных местах цеха, имеющих естественное освещение. Для создания оптимального контраста дефекта с фоном в зоне контроля необходимо применять дополнительный переносной источник света, то есть использовать комбинированное освещение. Освещенность контролируемых поверхностей должна быть достаточной для надежного выявления дефектов, но не менее 500 Лк.

6.1.4. Окраску поверхностей стен, потолков, рабочих столов и стендов на участках визуального и измерительного контроля рекомендуется выполнять в светлых тонах (белый, голубой, желтый, светло-зеленый, светло-серый) для увеличения контрастности контролируемых поверхностей деталей (сборочных единиц, изделий), повышения контрастной чувствительности глаза, снижения общего утомления специалиста, выполняющего контроль.

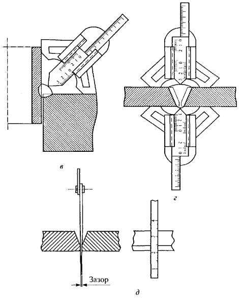
6.1.5. Для выполнения контроля должен быть обеспечен достаточный обзор для глаз специалиста. Подлежащая контролю поверхность должна рассматриваться под углом более 30° к плоскости объекта контроля и с расстояния до 600 мм (рис. 1).

Рис. 1. Условия визуального контроля

6.2. Подготовка к контролю

6.2.1. Подготовка контролируемых поверхностей проводится подразделениями организации, выполняющей работы по визуальному и измерительному контролю, а в процессе эксплуатации технических устройств и сооружений - службами организации, которой принадлежит контролируемый объект.

Подготовка контролируемых поверхностей в обязанности специалиста по контролю не входит.

6.2.2. Визуальный и измерительный контроль при техническом диагностировании (освидетельствовании) оборудования, работающего под давлением, следует проводить после прекращения работы указанного оборудования, сброса давления, охлаждения, дренажа, отключения от другого оборудования, если иное не предусмотрено действующей ПТД. При необходимости внутренние устройства должны быть удалены, изоляционное покрытие и обмуровка, препятствующие контролю технического состояния материала и сварных соединений, частично или полностью сняты в местах, указанных в Программе технического диагностирования (освидетельствования).

6.2.3. Перед проведением визуального и измерительного контроля поверхность объекта в зоне контроля подлежит зачистке до чистого металла от ржавчины, окалины, грязи, краски, масла, влаги, шлака, брызг расплавленного металла, продуктов коррозии и других загрязнений, препятствующих проведению контроля (на контролируемых поверхностях допускается наличие цветов побежалости, в случаях, когда это оговорено в производственно-технической документации (ПТД). Зона зачистки должна определяться НД на вид работ или на изготовление изделия. При отсутствии требований в НД зона зачистки деталей и сварных швов должна составлять:

при зачистке кромок деталей под все виды дуговой, газовой и контактной сварки - не менее 20 мм с наружной стороны и не менее 10 мм с внутренней стороны от кромок разделки детали;

при зачистке кромок деталей под электрошлаковую сварку - не менее 50 мм с каждой стороны сварного соединения;

при зачистке кромок деталей угловых соединений труб [например, вварка штуцера (патрубка) в коллектор, трубу или барабан] зачистке подлежат: поверхность вокруг отверстия в основной трубе (коллекторе, барабане) на расстоянии 15 - 20 мм, поверхность отверстия под ввариваемую деталь - на всю глубину и поверхность привариваемого (патрубка) штуцера - на расстоянии не менее 20 мм от кромки разделки;

при зачистке стального подкладного остающегося кольца (пластины) или расплавляемой проволочной вставки - вся наружная поверхность подкладного кольца (пластины) и все поверхности расплавляемой вставки.

Примечание. При контроле окрашенных объектов краска с поверхности в зоне контроля не удаляется, если это специально не оговорено в НД и поверхность объекта не вызывает подозрения на наличие трещин по результатам визуального контроля.

6.2.4. Очистка контролируемой поверхности производится способом, указанным в соответствующих НД (например, промывка, механическая зачистка, протирка, обдув сжатым воздухом и др.). При этом толщина стенки контролируемого изделия не должна уменьшаться за пределы минусовых допусков и не должны возникать недопустимые, согласно НД, дефекты (риски, царапины и др.).

При необходимости подготовку поверхностей следует проводить искробезопасным инструментом.

6.2.5. Шероховатость зачищенных под контроль поверхностей деталей, сварных соединений, а также поверхность разделки кромок деталей (сборочных единиц, изделий), подготовленных под сварку, должна быть не более Ra 12,5 (Rz 80).

6.2.6. Шероховатость поверхностей изделий и сварных соединений для проведения последующих методов неразрушающего контроля зависит от метода контроля и должна быть не более:

Ra 3,2 (Rz 20) - при капиллярном контроле;

Ra 10 (Rz 63) - при магнитопорошковом контроле;

Ra 6,3 (Rz 40) - при ультразвуковом контроле.

Для других методов неразрушающего контроля шероховатость контролируемых поверхностей изделий не регламентируется и устанавливается ПТД или производственно-конструкторской документацией (ПКД).

6.3. Порядок визуального и измерительного контроля на стадии входного контроля

6.3.1. В настоящем подразделе рассматривается порядок контроля материала на стадии входного контроля при изготовлении деталей и сборочных единиц и подготовке их к сборке, а также сварных труб, выполненных в заводских условиях.

6.3.2. Визуальный контроль материала (полуфабрикатов, заготовок, деталей) проводят с целью выявления участков металла с рисками, выходящими на поверхность трещинами, расслоениями, закатами, забоинами (вмятинами), рванинами, раковинами, пленами, шлаковыми включениями, волосовинами и другими дефектами, недопустимость которых регламентируется действующей НД, а также с целью подтверждения наличия и правильности маркировки.

Измерительный контроль полуфабрикатов, заготовок, деталей и изделий проводят с целью проверки их геометрических размеров и определения размеров поверхностных дефектов, выявленных при визуальном контроле.

6.3.3. При входном визуальном контроле сварных труб с прямолинейным или спиральным швом контролю подлежит не менее 10 % длины каждого шва. Контроль рекомендуется выполнять на участках, равномерно распределенных по длине шва трубы. Задачей контроля является выявление поверхностных трещин, пор, шлаковых и металлических включений, прожогов, свищей, наплывов металла, усадочных раковин, подрезов, грубой чешуйчатости шва, брызг расплавленного металла, непроваров, оплавлений металла в результате зажигания сварочной дуги и прочих дефектов.

Измерительный контроль сварных швов выполняется на участках, проконтролированных визуально. Измерение размеров сварного шва выполняется на каждом участке, проконтролированном визуально, но не менее чем в трех сечениях по длине шва. Измерение размеров поверхностных дефектов выполняется в местах, отмеченных при визуальном контроле.

6.3.4. При входном контроле изделий, в том числе сварных и литых, визуально необходимо контролировать:

поверхности изделий снаружи и изнутри (при наличии доступа);

кромки элементов, подлежащие сварке;

сварные соединения.

Кромки литых деталей, поковок и штамповок, подлежащие сварке, визуально следует контролировать на участке шириной не менее 100 мм по всей длине.

Кромки элементов изделий (деталей), имеющих наплавку, должны подвергаться визуальному контролю по всему периметру. Ширина зоны контроля должна составлять l + 20 мм, где l - ширина наплавки, мм. Контролю подлежит каждая кромка с наплавкой.

Визуальному контролю подлежит не менее 10 % длины сварных соединений, если другие требования не указаны в НД, ПТД или ПКД.

Визуальный контроль материала, кромок свариваемых элементов и сварных швов проводится с целью выявления коррозии на поверхности и поверхностных дефектов (трещин, расслоений, забоин, вмятин, раковин, пор, подрезов, грубой чешуйчатости, западаний между валиками шва, раковин, свищей, шлаковых включений и других несплошностей), вызванных технологией изготовления (условиями хранения) или транспортировкой, подтверждения наличия и правильности клеймения, а также соответствия формы (типа) разделки кромок, подлежащих сварке, требованиям рабочих чертежей и ТУ на изготовление.

Измерительный контроль проводится с целью измерения размеров сварных швов и поверхностных дефектов, выявленных при визуальном контроле, а также подтверждения соответствия основных размеров изделий (деталей, сборочных единиц) требованиям стандартов, ТУ и паспортов изделий. Измерительный контроль сварных швов выполняют через один метр по длине каждого контролируемого шва, но не менее чем в трех сечениях сварного шва.

6.3.5. Контролируемые параметры и требования к визуальному и измерительному контролю полуфабрикатов (труб, листов, поковок, штамповок) приведены в табл. 2. Визуальный и измерительный контроль геометрических размеров кромок деталей, сборочных единиц, а также сварных соединений должен выполняться согласно указаниям, приведенным в подразделах 6.4 и 6.5.

Таблица 2

Контролируемые параметры и требования к визуальному и измерительному контролю полуфабрикатов

Контролируемый параметр

Вид контроля

Требования к контролю

1

2

3

1. Наружный диаметр (Dн), внутренний диаметр (Dв)

Измерительный

Измерение Dн и Dв с обоих концов трубы.

Измерение Dв производится при поставке труб по внутреннему диаметру

2. Толщина листа, стенки трубы (Sн)

То же

Измерение Sн с обоих концов трубы не менее чем в двух сечениях.

Измерение sн листа не менее чем в двух сечениях (по длине, ширине) с каждой стороны листа

3. Овальность трубы (а)

»

Измерение размера а с обоих концов трубы

4. Кривизна трубы (б)

»

Измерение кривизны на участке 1 м в двух сечениях по длине

5. Длина трубы, листа (L)

Измерительный

Измерение не менее 3 труб (листов) из партии

6. Ширина листа (B)

То же

Измерение не менее 3 листов от партии

7. Трещины, плены, рванины, закаты, раковины, расслоения

Визуальный

Осмотр наружной поверхности невооруженным глазом; осмотр внутренней поверхности труб невооруженным глазом (при наличии доступа) и с помощью перископа, эндоскопа и пр. Разрешаются вырезка контрольных образцов длиной 200 мм в количестве не менее 2 шт. и их осмотр после разрезки

Примечания: 1. Контролю по п. 1 - 4 подлежат не менее 50 % труб (листов) от партии.

2. Контролю по п. 7 подлежит не менее 10 % длины каждой трубы (площади поверхности листа).

6.3.6. Визуальный и измерительный контроль качества материала полуфабрикатов, заготовок, деталей и изделий проводится согласно Программе (плану, инструкции) входного контроля (приложение Б). В Программах должны указываться контролируемые параметры и способы их контроля. Объемы контроля контролируемых параметров выбираются согласно требованиям стандартов, ТУ, НД или ПТД, а в случае отсутствия требований к объемам контроля в этих документах объем контроля устанавливается согласно требованиям настоящей Инструкции.

6.4. Порядок выполнения визуального и измерительного контроля подготовки и сборки деталей под сварку

6.4.1. При подготовке деталей под сварку необходимо контролировать:

наличие маркировки и (или) документации, подтверждающей приемку полуфабрикатов, деталей, сборочных единиц и изделий при входном контроле;

наличие маркировки изготовителя материала на деталях, подготовленных под сварку;

наличие удаления механическим путем зоны термического влияния в месте термической (огневой) резки заготовок (необходимость должна быть указана в конструкторской или технологической документации);

геометрическую форму обработанных кромок, в том числе при подготовке деталей с различной номинальной толщиной стенки;

геометрическую форму обработанных внутренних поверхностей кольцевых деталей;

форму подкладных пластин (колец) и расплавляемых вставок;

наличие заварки разъема подкладной пластины (кольца), качество шва заварки подкладной пластины (кольца), а также наличие зачистки шва заварки разъема подкладной пластины (кольца);

чистоту (отсутствие визуально наблюдаемых загрязнений, пыли, продуктов коррозии, влаги, масла и. т.п.) подлежащих сварке (наплавке) кромок и прилегающих к ним поверхностей, а также подлежащих неразрушающему контролю участков материала.

6.4.2. При сборке деталей под сварку визуально необходимо контролировать:

правильность установки подкладных пластин (колец);

правильность установки временных технологических креплений;

правильность сборки и крепления деталей в сборочных приспособлениях;

правильность расположения и количество прихваток и их качество;

правильность установки приспособлений для поддува защитного газа;

правильность нанесения активирующего флюса и защитной флюс-пасты;

наличие защитного покрытия от брызг расплавленного металла на поверхности деталей из аустенитных сталей, свариваемых ручной дуговой и полуавтоматической (автоматической) сваркой плавящимся электродом в среде защитного газа;

чистоту кромок и прилегающих к ним поверхностей деталей.

6.4.3. Измерительный контроль при подготовке деталей под сварку (рис. 2) осуществляется для проверки:

размеров разделки кромок (углы скоса кромок, толщина и ширина притупления кромок разделки);

Примечание. Радиусы скругления размером до 1,0 мм в местах перехода поверхностей разделки, а также размер скоса внутренней кромки, выполняемый для улучшения условий выявления непровара в корне шва при радиографическом контроле, измерению не подлежат.

размеров (диаметр, длина, угол выхода резца) расточки (раздачи) концов труб по внутреннему диаметру;

размеров подкладных пластин (колец) и расплавляемых вставок (ширина, толщина, углы скоса, диаметр);

размеров элементов секторных отводов;

перпендикулярности торцов подготовленных под сварку цилиндрических деталей к их образующим;

минимальной фактической толщины стенки цилиндрической детали после расточки по внутреннему диаметру;

размеров отверстий под штуцер (патрубок) и обработки кромок в трубе (коллекторе, корпусе);

толщины и ширины подкладки в замковом соединении;

ширины зоны механической зачистки наружной и внутренней поверхностей деталей и шероховатости поверхностей кромок и прилегающих поверхностей деталей, в том числе места зачистки шва разъема остающейся подкладной пластины (кольца).

* Размер измерению не подлежит, обеспечивается режущим инструментом и оценивается визуально.

Рис. 2. Размеры, контролируемые измерением при подготовке деталей под сварку:

а - I-образная разделка кромки (без скоса кромки); б - V-образная односторонняя разделка кромки; в - V-образная двухсторонняя разделка кромки; г, д - подготовка к сварке стыкового соединения деталей, значительно отличающихся по толщине; е, ж - подготовка к сварке замкового соединения; з - У-образная разделка кромки; и - V-образная двухскосная разделка кромки; к - отклонение от перпендикулярности торца трубы; л - подготовка кромок штуцера Ду 10-65; м - I-образная разделка с присадочным выступом; н - цилиндрическая расточка (раздача) концов труб по внутреннему диаметру; п - коническая расточка труб по внутреннему диаметру; р - притупление внутренней кромки трубы; с - подкладная остающаяся пластина; т, у - подкладное стальное остающееся кольцо; ф - подкладное стальное остающееся кольцо; х - расплавляемая проволочная вставка; ц - сектор отвода; ч, ш, э - рассверловка отверстия под штуцер (патрубок) в корпусе (трубе, коллекторе); ю - разделка кромок под автоматическую сварку в среде защитных газов

Рис. 3. Размеры, контролируемые при сборке соединения под сварку:

а - стыковое соединение; б - стыковое соединение с остающейся подкладной пластиной (кольцом); в - стыковое замковое соединение; г - тавровое соединение; д - угловое соединение; е - нахлесточное соединение; ж - стыковое соединение с расплавляемой вставкой; и, к - угловые соединения штуцеров; л - соединение с приварными элементами временных креплений; м - соединение с несоосностью осей штуцера и корпуса; н - соединение с несоосностью осей в угловых соединениях труб; п - соединение с переломом осей цилиндрических деталей; р - прихватки соединения; с, т - тройниковое (угловое) соединение

6.4.4. Измерительный контроль соединений, собранных под сварку (рис. 3), включает проверку:

размеров швов приварки временных технологических креплений;

расстояния технологического крепления от кромки разделки и расположения креплений по длине (периметру) соединения (при необходимости, в случае если в технической документации оговорено расстояние между соседними креплениями);

величины зазора в соединении, в том числе между деталью и подкладной пластиной (кольцом);

размера смещения кромок (внутренних и наружных) собранных деталей;

размера перекрытия деталей в нахлесточном соединении;

размеров (длина, высота) прихваток и их расположения по длине (периметру) соединения (при необходимости, в случае если это оговорено в технической документации, также расстояния между соседними прихватками);

размера зазора в замке расплавляемой проволочной вставки;

размера перелома осей цилиндрических деталей трубы и плоскостей плоских деталей (листов);

размера несоосности осей штуцера и отверстия в корпусе (трубе);

размера несовпадения (отклонения) осей в угловых соединениях труб;

размеров ширины зоны нанесения защитного покрытия на поверхностях деталей;

геометрических (линейных) размеров узла, собранного под сварку (в случаях, оговоренных ПКД).

6.4.5. Визуальному и измерительному контролю подготовки и сборки деталей под сварку подлежат не менее 20 % деталей и соединений из числа представленных к приемке.

Объем выборочного контроля качества подготовки и сборки деталей под сварку может быть увеличен или уменьшен в зависимости от требований НД, ПТД и ПКД или по требованию Заказчика.

При выявлении отклонений от требований рабочих чертежей и (или) ПТД, которые могут привести к ухудшению качества сварных соединений, объем выборочного контроля должен быть увеличен вдвое для группы однотипных деталей (соединений). Если при дополнительном контроле вторично будут выявлены отклонения от требований конструкторской документации и (или) ПТД, то объем контроля для группы деталей, подготовленных к приемке, должен быть увеличен до 100 %.

Детали, забракованные при контроле, подлежат исправлению. Собранные под сварку соединения деталей, забракованные при контроле, подлежат разборке с последующей повторной сборкой после устранения причин, вызвавших их первоначальную некачественную сборку.

6.4.6. Визуальный контроль удаления материала, подвергнутого термическому влиянию во время резки термическими способами (газовая, воздушно-дуговая, газофлюсовая, плазменная и др.), проводится на каждой детали, подвергавшейся резке.

На кромках разделки не должно быть следов резки (для деталей из низкоуглеродистых, марганцовистых и кремнемарганцовистых сталей) и следов разметки (кернение), нанесенной на наружной поверхности деталей после резки.

6.4.7. Требования к выполнению измерительного контроля при подготовке деталей под сборку приведены в табл. 3, а при сборке соединений под сварку - в табл. 4.

Таблица 3

Контролируемые параметры и средства измерений при подготовке деталей под сборку

Контролируемый параметр

Условное обозначение параметра

Номер рисунка

Средства измерений.

Требования к измерениям

1

2

3

4

1. Перпендикулярность кромки

φ

2, а

Угломер или шаблон универсальный. Измерение в одном месте

2. Угол скоса кромки

α, β, α1

2, б, в, ж, з, и, л, м, р, ю

Угломер или шаблон универсальный. Измерение в одном месте

3. Притупление кромки

p, p1

2, б, в, ж, з, и, ю

Штангенциркуль. Измерения в двух взаимно перпендикулярных сечениях (4 точки) труб; измерения не менее чем в трех точках по длине в соединениях листов

4. Глубина скоса кромки

M

2, в, г, д

Размер справочный, измерению не подлежит

5. Ширина подкладки в замковом соединении

 

2, е, ж

Штангенциркуль, линейка. Измерения не менее чем в трех точках по длине

6. Толщина подкладки в замковом соединении

B3

2, е, ж

То же

7. Угол скоса поверхности соединяемого элемента

ψ

2, г, д

Угломер или шаблон универсальный. Измерение в одном месте

8. Отклонение торца разделки (трубы) от перпендикуляра к образующей трубы

f

2, к

Угольник и щуп (отвес и линейка или щуп). Измерения не менее чем в трех сечениях в зоне максимального смещения

9. Высота присадочного выступа

hв

2, м

Штангенциркуль. Измерения в двух взаимно перпендикулярных сечениях (4 точки)

10. Длина расточки (раздачи) труб по внутреннему диаметру

lр

2, н

То же

11. Угол выхода резца (калибра)

γ

2, н, п

Шаблон универсальный или угломер, измерение в одном месте

12. Диаметр расточки

Дp

2, н, п

Штангенциркуль. Измерения в двух взаимно перпендикулярных сечениях (4 точки)

13. Номинальная толщина стенки в месте расточки

Sр

2, н, п

Штангенциркуль. Измерения не менее чем в трех точках равномерно по толщине

14. Ширина подкладной пластины

Bп

2, с

Штангенциркуль. Измерения не менее чем в трех точках по длине

15. Толщина подкладной пластины

Sп

2, с

То же

16. Ширина подкладного кольца

Bк

2, т, у, ф

Штангенциркуль. Измерения не менее чем в трех точках по длине (периметру)

17. Толщина подкладного кольца

Sк

2, т, у, ф

Штангенциркуль. Измерения не менее чем в трех точках по длине (периметру)

18. Притупление подкладного кольца

pк

2, т, у, ф

То же

19. Диаметр расплавляемого кольца (вставки)

Dк, Dвс

2, ф, х

Штангенциркуль. Измерения в двух взаимно перпендикулярных сечениях (4 точки)

20. Толщина расплавляемого кольца (вставки)

A

2, х

Штангенциркуль. Измерения не менее чем в трех точках равномерно по периметру

21. Ширина расплавляемого кольца (вставки)

Bвс

2, х

То же

22. Длина сектора отвода (сварного) по наружной образующей

H

2, ц

Линейка. Измерение детали в зоне максимального размера

23. Длина сектора отвода (сварного) по внутренней образующей

P

2, ц

Линейка. Измерение детали в зоне минимального размера

24. Угол наклона кромки сектора отвода (сварного)

α2

2, ц

Линейка и угломер или шаблон универсальный

25. Диаметр отверстия в корпусе (трубе)

d

2, ч, ш, э

Штангенциркуль. Измерения в двух взаимно перпендикулярных сечениях (4 точки)

26. Диаметр расточки в корпусе (трубе)

d1

2, э

То же

27. Шероховатость зачищенных поверхностей

Ra (Rz)

 

Профилограф-профилометр, образцы шероховатости (сравнения), измерительные датчики ДШВ. Контролируют поверхности, указанные в п. 6.2.7

28. Расстояние до точки изменения углов разделки кромок

Bр

2, ю

Штангенциркуль

Примечание. Допускаются другие способы и средства измерений, обеспечивающие требуемую ПТД точность измерения параметров подготовки деталей под сборку к сварке.

Таблица 4

Контролируемые параметры и средства измерений при сборке деталей под сварку

Контролируемый параметр

Условное обозначение параметра

Номер рисунка

Средства измерений. Требования к измерениям

1

2

3

4

1. Зазор в соединении

a

3, а, б, в, г, д, е, ж, и, к, с, т

Щуп, шаблон универсальный.

Измерение - см. п. 6.4.8

2. Специальный зазор

a1

3, и, к

Щуп.

Измерение - см. п. 6.4.8

3. Смещение кромок деталей с внутренней стороны соединения

b

3, а

Линейка и щуп.

Измерение - см. п. 6.4.8

4. Смещение кромок деталей с наружной стороны соединения

F

3, а, б

Линейка и щуп.

Измерение - см. п. 6.4.8

5. Зазор между подкладной пластиной (кольцом) и внутренней поверхностью детали

b1

3, б

Шаблон универсальный или специальный. Измерения не менее чем в трех точках по длине (периметру) соединения

6. Смещение привариваемого элемента в угловом соединении

Z

3, д

Штангенциркуль, линейка. Измерения не менее чем в трех точках по длине

7. Размер перекрытия деталей в нахлесточном соединении

E

3, б, е

Линейка. Измерения не менее чем в двух точках по длине

8. Несимметричность штуцера

δ2

3, м

Линейка. Измерения не менее чем в двух точках по длине

9. Смещение проволочной вставки с внутренней стороны

b2

3, ж

Штангенциркуль, шаблон или щуп. Измерения выполняются после прихватки вставки к кромке разделки одной из деталей

10. Зазор в замке расплавляемого кольца (вставки)

a2

-

Шаблон универсальный или щуп. Измерения выполняются после прихватки вставки к одной из деталей

11. Несимметричность углового соединения труб

δ2

3, н

Контрольный стенд специальный. Измерения согласно п. 6.4.13

12. Расстояние от приваренного элемента крепления до кромки разделки

C

3, л

Линейка. Измерению подлежит каждый элемент крепления

13. Катет шва приварки элемента крепления

K, K1

3, л

Линейка и щуп, штангенциркуль, шаблон. Измерению подлежит каждый шов

14. Перелом осей цилиндрических элементов и угловое смещение поверхностей листов

K

3, п

Линейка (L = 400 мм) и щуп.

Измерения - см. п. 6.4.12

15. Длина прихватки

lп

3, р

Линейка и штангенциркуль. Измерения каждой прихватки

16. Высота прихватки

hп

3, р

Штангенциркуль. Измерения каждой прихватки

17. Расстояние между прихватками

Lп

3, р

Линейка. Измерения расстояния между прихватками соединения выполняются в случаях, когда расстояние между прихватками регламентируется технической документацией

18. Глубина проникновения штуцера во внутреннюю полость

C1

3, с

Шаблон специальный

Примечание. Допускаются другие способы и средства измерений, обеспечивающие требуемую ПТД точность измерения параметров подготовки деталей под сварку.

6.4.8. Измерительный контроль величины зазора в соединении, величины смещения кромок и перелома плоскостей в соединениях следует выполнять не реже чем через один метр по длине шва, но не менее чем в трех сечениях, равномерно расположенных по длине шва, если в НД и ПТД не указаны другие требования. При невозможности (отсутствие доступа) контроля смещения кромок с внутренней стороны соединения оценку возможного смещения следует проводить по смещению наружных кромок деталей - размер Fис. 3, а, б) или по смещению притупления «усов» V-образной разделки - размер P (рис. 2, б, в, ж).

6.4.9. Измерения в первую очередь следует выполнять на тех участках, которые вызывают сомнение по результатам визуального контроля.

6.4.10. Визуальному контролю подлежит каждая прихватка в соединении. Измерительному контролю подвергаются прихватки, размеры которых вызывают сомнения по результатам визуального контроля.

6.4.11. Измерения швов приварки временных технологических креплений и расстояния от приварного элемента крепления до кромки разделки выполняют в одном месте. Контролю подлежит каждое крепление.

6.4.12. Перелом осей, собранных под сварку кольцевых соединений цилиндрических элементов, измеряется в 2 - 3 сечениях (в зоне максимального излома, выявленного при визуальном контроле) на расстоянии 200 мм от центра соединения. При отсутствии прямолинейного участка детали длиной 200 мм разрешается измерение размера проводить на участке меньшей длины с последующим пересчетом к длине 200 мм по формуле

k = 200k1/L,

где k1 и L - размер перелома осей и расстояние от соединения, на котором выполнено измерение (рис. 4). В случае, когда измерения по данной методике не обеспечивают требуемой точности, измерения следует проводить по специальной методике.

Рис 4. Измерение перелома осей цилиндрических элементов

6.4.13. Несимметричность в поперечном сечении штуцера привариваемой трубы в угловом соединении определяется путем выполнения не менее двух измерений в одном сечении. Разрешается выполнять измерительный контроль несимметричности отверстия под штуцер привариваемой трубы в угловом соединении на стадии контроля подготовки деталей под сварку.

6.4.14. Схемы измерения отдельных размеров подготовки деталей под сборку и сборки соединений под сварку с помощью шаблона универсального типа УШС приведены на рис. 5. Допускается применение шаблонов конструкций В. Ушерова-Маршака и А. Красовского (рис. 6 и 7).

Рис. 5. Контроль универсальным шаблоном сварщика УШС:

а - общий вид шаблона УШС; б - измерение угла скоса разделки α; в - измерение размера притупления кромки p; г - измерение зазора в соединении а; д - измерение смещения наружных кромок деталей F

Рис. 6. Контроль шаблоном конструкции В. Ушеровааршака:

а - общий вид шаблона; б - измерение угла скоса разделки α; в - измерение высоты катета углового шва K; г - измерение высоты валика усиления g и выпуклости корня шва g1 стыкового сварного соединения; д - измерение зазора а в соединении при подготовке деталей к сварке

Рис. 7. Контроль шаблоном конструкции А. Красовского:

а - общий вид шаблона; б, в - контроль тавровых и нахлесточных сварных соединений; г - контроль стыковых сварных соединений; д - измерение зазора между кромками

6.5. Порядок выполнения визуального и измерительного контроля сварных соединений (наплавок)

6.5.1. Визуальный и измерительный контроль сварных соединений (наплавок) выполняется при производстве сварочных (наплавочных) работ и на стадии приемосдаточного контроля готовых сварных соединений. В случае если контролируется многослойное сварное соединение, визуальный контроль и регистрация его результатов могут проводиться после выполнения каждого слоя (послойный визуальный контроль в процессе сварки).

Послойный визуальный контроль в процессе сварки выполняется в случае невозможности проведения ультразвукового или радиационного контроля, а также по требованию Заказчика или в соответствии с ПТД.

6.5.2. Послойный визуальный контроль в процессе сварки выполняется с целью выявления недопустимых поверхностных дефектов (трещин, пор, включений, прожогов, свищей, усадочных раковин, несплавлений, грубой чешуйчатости, западаний между валиками, наплывов) в каждом слое (валике) шва. Выявленные при контроле дефекты подлежат исправлению перед началом сварки последующего слоя (валика) шва. По требованию Заказчика или в соответствии с ПТД сварные соединения, выполненные с послойным визуальным контролем, подлежат дополнительно контролю капиллярной или магнитопорошковой дефектоскопией на доступных участках.

6.5.3. В выполненном сварном соединении визуально следует контролировать:

отсутствие (наличие) поверхностных трещин всех видов и направлений;

отсутствие (наличие) на поверхности сварных соединений дефектов (пор, включений, скоплений пор и включений, отслоений, прожогов, свищей, наплывов, усадочных раковин, подрезов, непроваров, брызг расплавленного металла, западаний между валиками, грубой чешуйчатости, а также мест касания сварочной дугой поверхности основного материала);

качество зачистки металла в местах приварки временных технологических креплений, гребенок индуктора и бобышек крепления термоэлектрических преобразователей (термопар), а также отсутствие поверхностных дефектов в местах зачистки;

качество зачистки поверхности сварного соединения изделия (сварного шва и прилегающих участков основного металла) под последующий контроль неразрушающими методами (в случае если такой контроль предусмотрен ПТД);

наличие маркировки (клеймения) шва и правильность ее выполнения.

6.5.4. В выполненном сварном соединении измерениями необходимо контролировать:

размеры поверхностных дефектов (поры, включения и др.), выявленных при визуальном контроле;

высоту и ширину шва, а также вогнутость и выпуклость обратной стороны шва в случае доступности обратной стороны шва для контроля;

высоту (глубину) углублений между валиками (западания межваликовые) и чешуйчатости поверхности шва;

подрезы (глубину и длину) основного металла;

отсутствие непроваров (за исключением конструктивных непроваров) с наружной и внутренней стороны шва;

размеры катета углового шва;

отсутствие переломов осей сваренных цилиндрических элементов.

Измеряемые параметры и требования к выполнению измерительного контроля сварных швов приведены на рис. 8 и в табл. 5.

Рис. 8. Конструктивные элементы и дефекты сварного шва, подлежащие измерительному контролю:

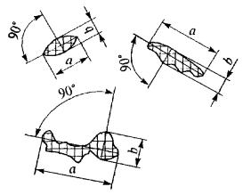
а, б - размеры (ширина, высота) стыкового одностороннего шва с наружной и внутренней стороны; в - то же двухстороннего сварного шва; г - подрез и неполное заполнение разделки кромок; д - чешуйчатость (Δ1) шва и западание между валиками шва (Δ2); е - размеры поверхностных включений (диаметр - dg; длина - lg; ширина - bg включения); ж - размеры катета шва углового (таврового, нахлесточного) соединения

Таблица 5

Требования к измерениям сварных швов

Контролируемый параметр

Условное обозначение (рис. 8)

Номер рисунка

Средства измерений. Требования к измерениям

1. Ширина шва

e, e1

8, а, в

Штангенциркуль или шаблон универсальный.

Измерение - см. п. 6.5.5

2. Высота шва

q, q1

8, а, в

То же

3. Выпуклость обратной стороны шва

q1

8, а, в

Штангенциркуль.

Измерение согласно п. 6.5.5

4. Вогнутость обратной стороны шва

q2

8, б

Штангенциркуль, в том числе модернизированный (рис. 9).

Измерения в 2 - 3 местах в зоне максимальной величины

5. Глубина подреза (неполного заполнения разделки)

b2, b3

8, г

Штангенциркуль, в том числе модернизированный (рис. 9).

Приспособление для измерения глубины подрезов (рис. 10)

6. Катет углового шва

K, K1

8, ж

Штангенциркуль или шаблон.

Измерение согласно п. 6.5.5

7. Чешуйчатость шва

Δ1

8, д

Штангенциркуль, в том числе модернизированный (рис. 9).

Измерения не менее чем в 4 точках по длине шва

8. Глубина западаний между валиками

Δ2

8, д

То же

9. Размеры (диаметр, длина, ширина) одиночных несплошностей

dg, lg, bg

8, е

Лупа измерительная. Измерению подлежит каждая несплошность

6.5.5. Измерительный контроль геометрических размеров сварного соединения (конструктивных элементов сварных швов, геометрического положения осей или поверхностей сваренных деталей, углублений между валиками и чешуйчатости поверхности шва, выпуклости и вогнутости корня односторонних швов и т.д.) следует проводить в местах, указанных в рабочих чертежах, НД, ПТД или ПДК, а также в местах, где допустимость указанных показателей вызывает сомнения по результатам визуального контроля.

При контроле стыковых сварных соединений труб наружным диаметром до 89 мм включительно с числом однотипных соединений более 50 на одном изделии допускается определение размеров шва выполнять на 10 - 20 % соединений в одном - двух сечениях, при условии, что при визуальном контроле, которому подвергают все соединения, нет сомнений в части отклонения размеров (ширина, высота) шва от допуска.

6.5.6. При измерительном контроле наплавленного антикоррозионного покрытия его толщину на цилиндрических поверхностях проводить не менее чем через 0,5 м в осевом направлении и через каждые 60° по окружности при ручной наплавке и 90° при автоматической наплавке.

На плоских и сферических поверхностях проводят не менее одного замера на каждом участке размером до 0,5 ´ 0,5 м при автоматической наплавке.

6.5.7. При контроле угловых швов сварных соединений катеты сварного шва измеряют с помощью специальных шаблонов (рис. 11). Определение размеров высоты, выпуклости и вогнутости углового шва выполняется расчетным путем и только в тех случаях, когда это требование предусмотрено конструкторской документацией. Измерение выпуклости, вогнутости и высоты углового шва проводится с помощью шаблонов, например шаблоном В. Ушерова-Маршака (см. рис. 6).

6.5.8. Измерение глубины западаний между валиками при условии, что высоты валиков отличаются друг от друга, выполняют относительно валика, имеющего меньшую высоту. Аналогично определяют и глубину чешуйчатости валика (по меньшей высоте двух соседних чешуек).

6.5.9. Измерительный контроль сварных соединений и наплавок (высота и ширина сварного шва, толщина наплавки, размеры катетов угловых швов, западания между валиками, чешуйчатость шва, выпуклость и вогнутость корневого шва, величина перелома осей соединяемых цилиндрических элементов, форма и размеры грата и т.д.), указанный в пп. 6.5.5, 6.5.8 и табл. 8, следует выполнять на участках шва, где допустимость этих показателей вызывает сомнение по результатам визуального контроля, если в НД и ПТД не содержится других указаний.

6.5.10. Выпуклость (вогнутость) стыкового шва оценивается по максимальной высоте (глубине) расположения поверхности шва от уровня расположения наружной поверхности деталей. В том случае, когда уровни поверхностей деталей одного типоразмера (диаметр, толщина) отличаются друг от друга, измерения следует проводить относительно уровня поверхности детали, расположенной выше уровня поверхности другой детали (рис. 12).

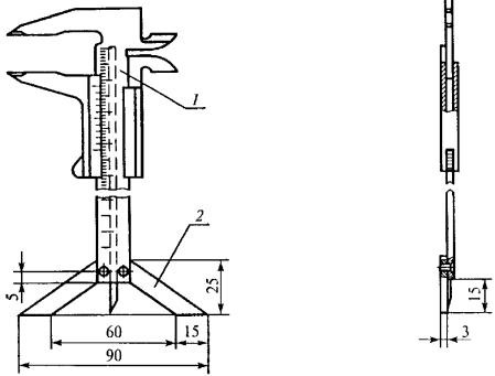
Рис. 9. Штангенциркуль типа ШЦ-1 с опорой:

1 - штангенциркуль; 2 - опора

Рис. 10. Приспособление для измерения глубины подрезов:

1 - индикатор «0-10» с поворотной шкалой; 2 - опорный кронштейн; 3 - измерительная игла

Рис. 11. Специальный шаблон для контроля сварных швов

Рис. 12. Измерение выпуклости (вогнутости) стыкового шва (g) при различном уровне наружных поверхностей деталей, вызванном смещением при сборке соединения под сварку

В том случае, когда выполняется сварка деталей с различной толщиной стенки и уровень поверхности одной детали превышает уровень поверхности второй детали, оценку выпуклости (вогнутости) поверхности шва выполняют относительно линии, соединяющей края поверхности шва в одном сечении (рис. 13).

Рис. 13. Измерение выпуклости (вогнутости) стыкового шва (g) при различном уровне наружных поверхностей деталей, вызванном разницей в толщинах стенок

6.5.11. Выпуклость (вогнутость) углового шва оценивается по максимальной высоте (глубине) расположения поверхности шва от линии, соединяющей края поверхности шва в одном поперечном сечении (рис. 14).

Рис. 14. Измерение выпуклости (g) и вогнутости (g3) наружной поверхности и высоты (h) углового шва

6.5.12. Размеры выпуклости (вогнутости) стыкового (рис. 13) и углового (рис. 14) швов определяются шаблонами, например, конструкции В.Э. Ушерова-Маршака или специально для этой цели предназначенными специализированными шаблонами.

6.5.13. Выпуклость (вогнутость) корня шва оценивается по максимальной высоте (глубине) расположения поверхности корня шва от уровня расположения внутренних поверхностей сваренных деталей.

В том случае, когда уровни внутренних поверхностей разные, измерения выпуклости (вогнутости) корня шва следует проводить согласно рис. 15.

Рис. 15. Измерение выпуклости (g1) и вогнутости (g2) корня шва стыкового одностороннего шва

6.5.14. Измерения отдельных размеров сварного соединения с помощью универсального шаблона типа УШС приведены на рис. 16.

Рис. 16. Измерения с помощью шаблона УШС размеров сварного шва:

а - измерение высоты шва (g) и глубины подреза (hп); б - измерение ширины шва (e); в - измерение западаний между валиками (Δ2)

6.5.15. Измерения чешуйчатости и западаний между валиками шва, глубины и высоты углублений (выпуклостей) в сварном шве и металле разрешается определять по слепку, снятому с контролируемого участка. Для этого применяют пластилин, воск, гипс и другие материалы. Измерения проводят с помощью измерительной лупы или на микроскопе после разрезки слепка механическим путем.

6.5.16. Измерения перелома осей цилиндрических элементов и углового смещения плоскостей деталей, а также несимметричности штуцера (привариваемой трубы в угловом соединении труб) следует выполнять с учетом пп. 6.6.9 и 6.6.10.

6.6. Порядок выполнения визуального и измерительного контроля сварных конструкций (узлов, элементов)

6.6.1. Визуальный контроль сварных конструкций (узлов, элементов) предусматривает проверку:

отклонений по взаимному расположению элементов сварной конструкции;

наличия маркировки сварных соединений;

наличия маркировки сварных конструкций (узлов);

отсутствия поверхностных повреждений материала, вызванных отклонениями в технологии изготовления, транспортировкой и условиями хранения;

отсутствия неудаленных приварных элементов (технологического крепления, выводных планок, гребенок, бобышек и т.п.).

6.6.2. Измерительный контроль гнутых колен труб предусматривает проверку:

отклонения от круглой формы (овальность) в любом сечении гнутых труб (колен);

толщины стенки в растянутой части гнутого участка трубы (рекомендуется проводить толщиномерами);

радиуса гнутого участка трубы (колена);

высоты волнистости (гофры) на внутреннем обводе гнутой трубы (колена);

неровностей (плавных) на внешнем обводе (в случаях, установленных НД);

предельных отклонений габаритных размеров.

6.6.3. Измерительный контроль тройников и коллекторов с вытянутой горловиной предусматривает проверку:

эксцентриситета оси горловины относительно оси корпуса;

радиусов перехода наружной и внутренней поверхностей горловины к корпусу;

размеров местных углублений от инструмента на внутренней поверхности тройника, вызванных применяемым инструментом;

уменьшения диаметра корпуса вследствие утяжки металла при высадке (вытяжке) горловины;

угла конуса на наружной поверхности патрубка;

местного утолщения стенки горловины, овальности прямых участков корпуса тройника по наружному диаметру в месте разъема штампа;

кольцевого шва присоединения переходного кольца.

6.6.4. Измерительный контроль переходов, изготовленных методами подкатки (последовательного обжима), осадки в торец и вальцовкой листовой стали с последующей сваркой предусматривает проверку:

размеров углублений и рисок на внутренней поверхности обжатого конца, носящих характер ужимин;

утолщения стенки на конической части перехода;

формы и размеров шва, отсутствия недопустимых поверхностных дефектов.

6.6.5. Измерительный контроль сварных изделий (деталей) - тройников, фланцевых соединений, секторных отводов, коллекторов, трубных блоков и т.д. предусматривает проверку:

размеров перекосов осей цилиндрических элементов;

прямолинейности образующей изделия;

отклонения штуцера (привариваемой трубы, патрубка) от перпендикулярности относительно корпуса (трубы, листа), в который вваривается штуцер (труба, патрубок);

отклонения осей концевых участков сварных секторных отводов;

кривизны (прогиба) корпуса (трубы) сварных угловых соединений труб (вварка трубы, штуцера);

отклонения размеров, определяющих расположение штуцеров в блоках;

отклонения оси прямых блоков от проектного положения;

отклонения габаритных размеров сварных деталей и блоков.

6.6.6. Контроль геометрических размеров колен и труб гнутых, а также прямых гнутых деталей и блоков должен проводиться методом плазирования (наложением на плаз с контрольным чертежом) с последующим измерением отклонений измерительным инструментом (линейка, щуп, штангенциркуль, шаблон, оптические приборы и др.). Замеры отклонений гнутых труб (колен) проводятся относительно наружной поверхности. Схемы измерений отдельных отклонений приведены на рис. 17.

6.6.7. Величина овальности в любом сечении детали определяется по следующим формулам:

или

или

где Dнmax и Dнmin   - максимальное и минимальное значения наружного диаметра. Измерения Dнmax и Dнmin выполняются в поперечном сечении детали, имеющем наибольшие отклонения;

Dнном  - номинальное значение наружного диаметра.

Рис. 17. Схема измерений отдельных отклонений трубных деталей и блоков:

а - отклонение (перелом) оси тройника сварного (B6); б - отклонение штуцеров от проектного положения (α4) и размеры расположения штуцеров по длине трубы (коллектора) (А и Б); в - отклонение (перелом) оси блока трубопровода (δ7)

6.6.8. Измерение толщины стенки гнутых деталей (элементов), в том числе вытянутой горловины тройников и коллекторов, а также утолщения стенки на конической части перехода, изготовленного методами прокатки и осадки в торец, рекомендуется проводить ультразвуковыми приборами (толщиномерами).

6.6.9. Перелом осей трубных деталей и прямолинейность образующей определяется в 2 - 3 сечениях в зоне максимального перелома (отклонения образующей от прямолинейности), выявленного при визуальном контроле. Измерение выполнять в соответствии с требованиями, приведенными в п. 6.4.12 и рис. 3. В случае, когда измерения по данной методике не обеспечивают требуемой точности, измерения следует проводить по специальной методике.

6.6.10. Отклонение от перпендикулярности наружной поверхности (оси) штуцера к корпусу (трубе) определяется в двух взаимно перпендикулярных сечениях (рис. 18).

6.6.11. Определение диаметра труб при измерении рулеткой проводится по формуле

D(d) = P/π - 2Δt - 0,2,

где P  - длина окружности, измеренная рулеткой, мм;

π = 3,1416;

Δt   - толщина ленты рулетки, мм.

Рис. 18. Измерение отклонения (δδ) от перпендикулярности наружной поверхности штуцера

6.6.12. Измерения следует выполнять на участках, угловые и линейные размеры которых вызывают сомнение по результатам визуального контроля.

6.7. Порядок выполнения визуального и измерительного контроля при устранении дефектов в материале и сварных соединениях (наплавках)

6.7.1. При ремонте дефектных участков визуально необходимо контролировать:

полноту удаления дефекта, выявленного при визуальном контроле и контроле другими методами неразрушающего контроля;

форму выборки дефектного участка; форму обработки кромок выборки; чистоту (отсутствие визуально наблюдаемых загрязнений, пыли, продуктов коррозии, масла и т.п.) поверхности выборки и прилегающих к ней поверхностей;

ширину зоны зачистки механическим путем поверхностей материала, прилегающих к кромкам выборки;

отсутствие (наличие) дефектов (трещин, пор, включений, скоплений пор и включений, свищей, прожогов, наплывов, усадочных раковин, подрезов, непроваров, брызг расплавленного металла, западаний между валиками, грубой чешуйчатости и т.п.) на поверхности шва заварки выборки и на прилегающих к выборке участках материала.

6.7.2. При ремонте дефектных участков в материале и сварных соединениях измерением необходимо контролировать:

размеры выборки дефектного участка;

размеры разделки кромок выборки (угол скоса, радиусы начала и окончания выборки, толщину перемычки металла при исправлении трещин и т.п.);

ширину зоны зачистки механическим путем участков материала, прилегающих к кромкам выборки;

размеры дефектов на поверхности шва заварки выборки и прилегающих к нему участках материала, выявленные при визуальном контроле;

шероховатость поверхностей выборки и прилегающих участков материала в зоне их зачистки (перед заваркой выборки), а также поверхностей материала перед проведением последующих методов неразрушающего контроля.

6.8. Порядок выполнения визуального и измерительного контроля при эксплуатации, техническом диагностировании (освидетельствовании)

6.8.1. Визуальный контроль материала и сварных соединений выполняют с целью выявления поверхностных повреждений (трещин, коррозионных повреждений, деформированных участков, наружного износа элементов и т.д.), образовавшихся в процессе эксплуатации изделий.

Измерительный контроль материала и сварных соединений выполняют с целью определения соответствия геометрических размеров конструкций и допустимости повреждений материала и сварных соединений, выявленных при визуальном контроле, требованиям рабочих чертежей, ТУ, стандартов и паспортов.

6.8.2. При визуальном контроле материала и сварных соединений проверяют:

отсутствие (наличие) механических повреждений поверхностей;

отсутствие (наличие) формоизменения элементов конструкций (деформированные участки, коробление, провисание и другие отклонения от первоначального расположения);

отсутствие (наличие) трещин и других поверхностных дефектов, образовавшихся (получивших развитие) в процессе эксплуатации;

отсутствие коррозионного и механического износа поверхностей.

6.8.3. При измерительном контроле состояния материала и сварных соединений определяют:

размеры механических повреждений материала и сварных соединений;

размеры деформированных участков материала и сварных соединений, в том числе длину, ширину и глубину вмятин, выпучин, отдулин;

овальность цилиндрических элементов, в том числе гибов труб;

прямолинейность (прогиб) образующей конструкции (элемента);

фактическую толщину стенки материала (при возможности проведения прямых измерений);

глубину коррозионных язв и размеры зон коррозионного повреждения, включая их глубину.

6.8.4. Разметку поверхности для измерения толщины стенок рекомендуется проводить термостойкими и хладостойкими маркерами, а при их отсутствии - краской или мелом.

VII. ОЦЕНКА РЕЗУЛЬТАТОВ КОНТРОЛЯ

7.1. Оценку качества материала изготовленных деталей, подготовки кромок деталей, сборки деталей под сварку, выполненного сварного соединения (наплавки) и конструкций в целом, швов заварки дефектных участков по результатам визуального и измерительного контроля проводят по нормам, согласованным с Госгортехнадзором России.

7.2. В приложении Е приведены рекомендуемые размерные показатели для норм оценки качества по результатам визуального и измерительного контроля.

VIII. РЕГИСТРАЦИЯ РЕЗУЛЬТАТОВ КОНТРОЛЯ

Результаты визуального и измерительного контроля на стадиях входного контроля материала и производства работ по изготовлению, монтажу, ремонту [подготовка деталей, сборка деталей под сварку, сварные соединения (наплавки), исправление дефектов] технических устройств и сооружений, а также в процессе эксплуатации технических устройств и сооружений фиксируются в учетной (журнал учета работ по визуальному и измерительному контролю) и отчетной (акты, заключения, протоколы) документации.

Рекомендуемые формы документов, оформляемых по результатам контроля, приведены в приложении Ж.

В случаях, предусмотренных технологической документацией, на поверхности проконтролированных материалов (полуфабрикатов, заготовок, деталей) и готовых сварных соединений (наплавок) контролером по завершении каждого этапа работ по визуальному и измерительному контролю ставится клеймо, подтверждающее положительные результаты контроля.

IX. ТРЕБОВАНИЯ БЕЗОПАСНОСТИ

Перед допуском к проведению контроля все лица, участвующие в его выполнении, должны пройти соответствующий инструктаж по технике безопасности с регистрацией в специальном журнале.

Инструктаж следует проводить периодически в сроки, установленные приказом по организации.

Приложение А

Справочное

Термины и определения основных понятий

Термин

Определение

1

2

ОБЩИЕ ПОНЯТИЯ

Визуальный контроль

Органолептический контроль, осуществляемый органами зрения

Органолептический контроль

Контроль, при котором первичная информация воспринимается органами чувств

Измерительный контроль

Контроль, осуществляемый с применением средств измерений

Дефект

Каждое отдельное несоответствие продукции требованиям, установленным нормативной документацией

Брак

Объект контроля, содержащий недопустимый дефект

СВАРНЫЕ СОЕДИНЕНИЯ И ШВЫ

Сварная конструкция

Металлическая конструкция, изготовленная сваркой отдельных деталей

Сварной узел

Часть конструкции, в которой сварены примыкающие друг к другу элементы

Сборочная единица

Часть свариваемого изделия, содержащая один или несколько сварных соединений

Сварное соединение

Неразъемное соединение деталей, выполненное сваркой и включающее в себя шов и зону термического влияния

Стыковое соединение

Сварное соединение двух элементов, примыкающих друг к другу торцовыми поверхностями, рис. А.1

Угловое соединение

Сварное соединение двух элементов, расположенных под углом и сваренных в месте примыкания их краев, рис. А.2

Нахлесточное соединение

Сварное соединение, в котором сваренные элементы расположены параллельно и частично перекрывают друг друга, рис. А.3

Тавровое соединение

Сварное соединение, в котором торец одного элемента примыкает под углом и приварен к боковой поверхности другого элемента, рис. А.4

Торцовое соединение

Сварное соединение, в котором боковые поверхности сваренных элементов примыкают друг к другу, рис. А.5

Сварной шов

Участок сварного соединения, образовавшийся в результате кристаллизации расплавленного металла или в результате пластической деформации при сварке давлением или сочетания кристаллизации и деформации

Стыковой шов

Сварной шов стыкового соединения

Угловой шов

Сварной шов углового, нахлесточного или таврового соединения

Точечный шов

Сварной шов, в котором связь между сваренными частями осуществляется сварными точками

Непрерывный шов

Сварной шов без промежутков по длине

Прерывистый шов

Сварной шов с промежутками по длине

Цепной прерывистый шов

Двухсторонний прерывистый шов, у которого промежутки расположены по обеим сторонам стенки один против другого, рис. А.6

Шахматный прерывистый шов

Двухсторонний прерывистый шов, у которого промежутки на одной стороне стенки расположены против сваренных участков шва с другой ее стороны, рис. А.7

Многослойный шов

Сварной шов деталей, выполненный в несколько слоев по высоте

Подварочный шов

Меньшая часть двухстороннего шва, выполняемая предварительно для предотвращения прожогов при последующей сварке или выполняемая в последнюю очередь в корне шва после его зачистки (выборки)

Корень шва

Часть сварного шва, наиболее удаленная от его лицевой поверхности, рис. А.8

Валик

Металл сварного шва, наплавленный или переплавленный за один проход

Слой сварного шва

Часть металла сварного шва, которая состоит из одного или нескольких валиков, располагающихся на одном уровне поперечного сечения шва

Прихватка

Короткий сварной шов для фиксации взаимного расположения подлежащих сварке деталей

Выпуклость сварного шва

Расстояние между плоскостью, проходящей через видимые линии границы сварного шва с основным металлом и поверхностью сварного шва, измеренное в любом поперечном сечении по длине шва (определяется по максимальной высоте расположения поверхности шва под плоскостью), рис. А.9

Вогнутость сварного шва

Максимальное расстояние между плоскостью, проходящей через видимые линии границы сварного шва с основным металлом и поверхностью шва, измеренное в любом поперечном сечении по длине шва, рис. А.10

Номинальная толщина сваренных деталей

Указанная в чертеже (без учета допусков) толщина основного металла деталей в зоне, примыкающей к сварному шву

Толщина углового шва

Наибольшее расстояние от поверхности углового шва до точки максимального проплавления основного металла, рис. А.11

Расчетная высота углового шва

Указанный в рисунке размер перпендикуляра, опущенного из точки сопряжения сваренных деталей (точка о) на прямую линию, соединяющую края поверхности шва водном поперечном сечении, или на параллельную указанной линии касательную к поверхности сварного шва (при вогнутом угловом шве), рис. А.12

Катет углового шва

Кратчайшее расстояние от поверхности одной из свариваемых частей до границы углового шва на поверхности второй свариваемой части, рис. А.13

Ширина сварного шва

Расстояние между линиями сплавления на лицевой стороне сварного шва в одном поперечном сечении, рис. А.14

Основной металл

Металл деталей, соединяемых сваркой

Разделка кромки

Придание кромкам деталей, подлежащих сварке, необходимой формы

Скос кромок

Прямолинейный наклонный срез кромки детали, подлежащей сварке, рис. А.15

Притупление кромки

Нескошенная часть торца кромки детали, подлежащей сварке, рис. А.16

Угол скоса кромки

Острый угол между плоскостью скоса кромки и плоскостью торца детали или торцовая поверхность детали после механической обработки до заданных чертежом размеров, рис. А.17

Угол разделки кромок

Угол между скошенными кромками свариваемых деталей, рис. А.18

Смешение кромок

Несовпадение уровней расположения внутренних и наружных поверхностей свариваемых (сваренных) деталей в стыковых сварных соединениях, рис. А.19

Зазор в соединении

Расстояние между собранными под сварку деталями в поперечном сечении их кромок, рис. А.20

Конструктивный непровар (зазор)

Непровар (зазор) в сварном соединении, предусмотренный конструкторской документацией на сварной узел, рис. А.21

Подкладка. Остающаяся подкладная пластина (кольцо)

Стальная пластина или кольцо заданной формы, ширины и толщины, устанавливаемое при сварке плавлением под кромки свариваемых деталей, рис. А.22

Расплавляемая вставка

Стальная проволочная вставка заданной формы, ширины и толщины, устанавливаемая между кромками свариваемых деталей и расплавляемая при сварке, рис. А.23

Провар

Сплошная металлическая связь между поверхностями основного металла, слоями и валиками сварного шва

Зона сплавления при сварке. Зона сплавления

Зона частично оплавившихся зерен на границе основного металла и металла шва

Зона термического влияния при сварке. Зона термического влияния

Участок основного металла от линии сплавления до зоны, в которой происходит изменение структуры и свойств металла в результате нагрева при сварке или наплавке

ДЕФЕКТЫ СВАРНЫХ СОЕДИНЕНИЙ ПРИ ВИЗУАЛЬНОМ И ИЗМЕРИТЕЛЬНОМ КОНТРОЛЕ

Несплошность

Обобщенное наименование трещин, отслоений, прожогов, свищей, пор, непроваров и включений.

Трещина сварного соединения. Трещина

Дефект сварного соединения в виде разрыва металла в сварном шве и (или) прилегающих к нему зонах сварного соединения и основного металла

Продольная трещина сварного соединения. Продольная трещина

Трещина сварного соединения, ориентированная вдоль оси сварного шва, рис. А.24

Поперечная трещина сварного соединения. Поперечная трещина

Трещина сварного соединения, ориентированная поперек оси сварного шва, рис. А.25

Разветвленная трещина сварного соединения. Разветвленная трещина

Трещина сварного соединения, имеющая ответвления в различных направлениях, или группа соединенных трещин, отходящих от одной общей трещины, рис. А.26

Радиальная трещина

Несколько трещин разного направления, исходящих из одной точки (могут располагаться в металле сварного шва, в зоне термического влияния, в основном металле)

Примечание. Маленькие трещины этого типа известны как звездообразные трещины, рис. А.27

Кратерная трещина. Трещина в кратере

Трещина (продольная, поперечная, разветвленная) в кратере валика (слоя) сварного шва, рис. А.28

Включение

Полость в металле, заполненная газом, шлаком или инородным металлом; обобщенное наименование пор, шлаковых и вольфрамовых включений

Шлаковое включение сварного шва. Шлаковое включение

Полость в металле, в том числе сварном шве, заполненная шлаком

Флюсовое включение

Полость в металле сварного шва, заполненная нерасплавившимся флюсом, попавшим в металл шва во время затвердевания

Вольфрамовое включение

Внедрившаяся в металл шва нерасплавленная частица (осколок) неплавящегося вольфрамового электрода

Окисное включение

Окисел металла, попавший в металл шва во время затвердевания

Пора

Заполненная газом полость округлой формы

Отслоение

Дефект в виде нарушения сплошности сплавления наплавленного металла с основным металлом, рис. А.29

Кратер. Усадочная раковина сварного шва

Дефект в виде полости или впадины, образовавшийся при усадке расплавленного металла при затвердевании (располагается, как правило, в местах обрыва дуги или окончания сварки), рис. А.30

Свищ в сварном шве

Дефект в виде воронкообразного или трубчатого углубления в сварном шве, рис. А.31

Примечание. Обычно свищи группируются в скопления и распределяются елочкой

Подрез

Острые конусообразные углубления на границе поверхности сварного шва с основным металлом, рис. А.32

Брызги металла

Дефект в виде затвердевших капель расплавленного металла на поверхности сваренных или наплавленных деталей с образованием или без образования кристаллической связи с основным металлом

Непровар. Неполный провар

Дефект в виде несплавления в сварном соединении вследствие неполного расплавления кромок основного металла или поверхностей ранее выполненных валиков сварного шва, рис. А.33

Углубление (западание) между валиками шва

Продольная впадина между двумя соседними валиками (слоями) шва (оценивается по максимальной глубине), рис. А.34

Чешуйчатость сварного шва

Поперечные или округлые (при автоматической сварке под флюсом - удлиненно-округлые) углубления на поверхности валика, образовавшиеся вследствие неравномерности затвердевания металла сварочной ванны (оценивается по максимальной глубине), рис. А.35

Выпуклость (превышение проплавления) корня шва

Часть одностороннего сварного шва со стороны его корня, выступающая над уровнем расположения поверхностей сваренных деталей (оценивается по максимальной высоте расположения поверхности корня шва над указанным уровнем), рис. А.36

Вогнутость корня шва

Дефект в виде углубления на поверхности обратной стороны сварного одностороннего шва (оценивается по максимальной глубине расположения поверхности корня шва от уровня расположения поверхностей сваренных деталей), рис. А.37

Максимальный размер включения

Наибольшее расстояние а между точками внешнего контура включения, рис. А.38

Максимальная ширина включения

Наибольшее расстояние b между двумя точками внешнего контура включения, измеренное в направлении, перпендикулярном максимальному размеру включения, рис. А.38

Включение одиночное

Включение, минимальное расстояние l от края которого до края любого соседнего включения - не менее максимальной ширины каждого из двух рассматриваемых включений, но не менее трехкратного максимального размера включения с меньшим значением этого показателя (из двух рассматриваемых), рис. А.39

Скопление включений

Два или несколько включений (пор, шлаковых и прочих включений), минимальное расстояние между краями которых менее установленных для одиночных включений, но не менее максимальной ширины каждого из любых двух рассматриваемых соседних включений, рис. А.40

Цепочка пор. Линейная пористость

Группа пор в сварном шве, расположенная в линию, параллельно оси сварного шва, рис. А.41

Превышение усиления сварного шва

Избыток наплавленного металла на лицевой стороне (сторонах) стыкового шва, рис. А.42

Превышение выпуклости

Избыток наплавленного металла на лицевой стороне углового шва, рис. А.43

Местное превышение проплава

Местный избыточный проплав (с внутренней стороны одностороннего шва)

Неправильный профиль сварного шва

Слишком малый угол (а) между поверхностью основного металла и плоскостью касательной к поверхности сварного шва, рис. А.44

Наплыв

Дефект в виде металла, натекшего в процессе сварки (наплавки) на поверхность сваренных (наплавленных) деталей или ранее выполненных валиков и несплавившегося с ними, рис. А.45

Перелом осей деталей. Угловое смешение

Смешение между двумя свариваемыми деталями, при котором их плоские поверхности непараллельны (или не направлены под определенным углом), рис. А.46

Прожог сварного шва

Дефект в виде сквозного отверстия в сварном шве, образовавшийся вследствие вытекания части жидкого металла сварочной ванны в процессе выполнения сварки

Не полностью заполненная разделка кромок

Продольная непрерывная или прерывистая вогнутость на поверхности сварного шва из-за недостаточности присадочного металла, рис. А.47

Асимметрия углового шва

Несоответствие фактического значения катета шва проектному значению, рис. А.48

Неравномерная ширина шва

Чрезмерное колебание ширины шва

Неравномерная поверхность шва

Чрезмерная неровность наружной поверхности шва

Плохое возобновление шва

Местная неровность поверхности в месте возобновления сварки, рис. А.49

ДЕФЕКТЫ ПОВЕРХНОСТИ ОСНОВНОГО МЕТАЛЛА

Случайное оплавление основного металла в результате зажигания или гашения дуги

Местное повреждение поверхности основного металла, примыкающего к сварному шву, возникшее в результате случайного и (или) преднамеренного возбуждения дуги вне разделки соединения

Задир поверхности основного металла

Повреждение поверхности, вызванное удалением путем отрыва временного технологического крепления

Утонение металла

Уменьшение толщины металла вследствие чрезмерного его удаления при обработке абразивным инструментом

Остатки поджога от резки

Темное пятно, отличающееся по травимости от основного металла, или углубление, частично заполненное расплавленным металлом и шлаком, образовавшееся при резке на анодно-механических станках

Дефект рубки металла

Трещины или рваные вязкие изломы

Пузыри в поверхностных слоях металла

Полости, имеющие в поперечном сечении округлую форму, а в продольном сечении - форму капсулы, ориентированной перпендикулярно оси слитка. При выходе пузырей на поверхность слитка имеют вид отверстий округлой формы

Завороты корки

Завернувшиеся корки металла, окислившиеся заливины и брызги, расположенные у поверхности слитков. В деформированном металле дефект представляет собой или разрывы, или частичное отслоение, образовавшееся в результате раскатки завернувшихся корок или брызг

Загрязнения и волосовины

Загрязнения поверхности слитков, прутков и других изделий неметаллическими включениями (шлаком, огнеупорами, утепляющими смесями, оксидами и др.). Имеют вид пристывших или частично залитых металлом кусков или мелких частиц светло-серого, темно-серого или коричневого цвета

Трещины горячие (кристаллизационные)

Извилистый окисленный разрыв металла, более широкий у поверхности и сужающийся вглубь, образовавшийся в период кристаллизации металла вследствие растягивающихся напряжений, превышающих прочность наружных слоев слитка

Дефект от вдавливания в слиток кернов клещей крана

Углубления на блюмах и слябах, образовавшиеся от вдавливания острых кернов клещей крана в горячие слитки при их транспортировке. По виду дефект напоминает единичную чечевицеобразную, широко открытую, сравнительно короткую трещину

Трещина напряжения

Направленный в глубь металла разрыв, часто под прямым углом к поверхности, образовавшийся вследствие объемных изменений, связанных со структурными превращениями или с нагревом и охлаждением металла

Трещина шлифовочная

Сетка паутинообразных разрывов или отдельных произвольно направленных поверхностных разрывов, образовавшихся при шлифовке металла. Очень тонкие, извилистые и проникающие в глубь металла зигзагами или ступеньками с ответвлениями

Трещины травильные

Разрывы, образовавшиеся при травлении металла с внутренними напряжениями, вызванными структурными превращениями или деформацией. Травильные трещины иногда образуют поверхностную сетку, подобную сетке шлифовочных трещин, но значительно более грубую

Рванины

Раскрытые разрывы, расположенные перпендикулярно или под углом к направлению наибольшей вытяжки металла

Прокатные плены

Отслоения металла языкообразной формы, соединенные с основным металлом и образованные вследствие раскатки или расковки рванин

Чешуйчатость

Отслоения или разрывы в виде сетки, образовавшиеся при прокатке из-за перегрева (пережога) или пониженной пластичности металла периферийной зоны

Прижоги

Дефекты, образующиеся при локальном перегреве металла (шлифование, электрохимическое клеймение, спектральный анализ и др.), являющиеся структурными концетраторами напряжений, в зоне которых может возникнуть растрескивание

Ус

Продольный выступ с одной стороны прутка или с двух диаметрально противоположных его сторон

Подрез

Продольное углубление по всей длине прутка или на отдельных участках его поверхности, образовавшееся из-за неправильной настройки валковой арматуры или одностороннего перекрытия калибра. Прокатный подрез может иметь волнистый или зазубренный край

Морщины

Группа чередующихся продольных углублений и выступов

Риска

Прямоугольное продольное углубление с закругленным или плоским дном, образовавшееся из-за царапания поверхности металла наварами и другими выступами

Отпечатки

Углубления или выступы, расположенные по всей поверхности металла или на отдельных его участках

Рябизна

Углубление от вдавленной окалины, образовавшееся при ковке, прокатке или правке металла с толстым слоем окалины

Заусенец

Острый в виде гребня выступ на конце прутка, образовавшийся при резке металла

Остатки окалины

Окалина, не удаленная с отдельных участков прутков

Перетрав

Местное или общее разъедание поверхности металла при травлении

Царапина

Канавка неправильной формы и произвольного направления, образовавшаяся в результате механических повреждений, в том числе при складировании и транспортировке металла

Раковины от вдавленной окалины

Отдельные углубления, иногда частично вытянутые вдоль направления прокатки, образующиеся при выпадании и вытравливании вкатанной окалины

Вкатанный кусок металла

Приварившийся кусок инородного металла к металлу основного материала

Рис. А.1. Стыковое соединение

Рис. А.2. Угловое соединение

Рис. А.3. Нахлесточное соединение

Рис. А.4. Тавровое соединение

Рис. А.5. Торцовое соединение

Рис. А.6. Цепной прерывистый шов

Рис. А.7. Шахматный прерывистый шов

Рис. А.8. Корень шва

Рис. А.9. Выпуклость сварного шва

Рис. А.10. Вогнутость сварного шва

Рис. А.11. Толщина углового шва

Рис. А.12. Расчетная высота углового шва (h)

(расчетная высота двухстороннего углового шва определяется как сумма расчетных высот его частей, выполненных с разных сторон)

Рис. А.13. Катет углового шва

Рис. А.14. Ширина сварного шва

Рис. А.15. Скос кромки

Рис. А.16. Притупление кромки

Рис. А.17. Угол скоса кромки

Рис. А.18. Угол разделки кромок

Рис. А.19. Смещение кромок

Рис. А.20. Зазор в соединении

Рис. А.21. Конструктивный непровар (зазор)

Рис. А.22. Остающаяся подкладная пластина (кольцо)

Рис. А.23. Расплавляемая вставка

Рис. А.24. Продольная трещина сварного соединения

Рис. А.25. Поперечная трещина сварного соединения

Рис. А.26. Разветвленная трещина сварного соединения

Рис. А.27. Радиальная трещина сварного соединения

Рис. А.28. Кратерная трещина сварного соединения

Рис. А.29. Отслоение

Рис. А.30. Кратер

Рис. А.31. Свищ в сварном шве

Рис. А.32. Подрез

Рис. А.33. Непровар

Рис. А.34. Углубления (западания) между валиками шва

Рис. А.35. Чешуйчатость сварного шва

Рис. А.36. Выпуклость корня шва

Рис. А.37. Вогнутость корня шва

Рис. А.38. Максимальные размер и ширина включения

Рис. А.39. Включение одиночное

Рис. А.40. Скопление включений

Рис. А.41. Цепочка пор

Рис. А.42. Превышение усиления сварного шва

Рис. А.43. Превышение выпуклости

Рис. А.44. Неправильный профиль сварного шва

Рис. А.45. Наплыв

Рис. А.46. Перелом осей деталей

Рис. А.47. Не полностью заполненная разделка кромок

Рис. А.48. Асимметрия углового шва

Рис. А.49. Плохое возобновление шва

Приложение Б

Рекомендуемое

Требования к содержанию Программы (плана, инструкции) входного контроля

Настоящие требования распространяются на документацию по контролю основных и сварочных материалов.

Программа (план, инструкция) входного контроля должна содержать следующие сведения:

Наименование организации и службы, выполняющей входной контроль.

Шифр Программы (плана, инструкции).

Наименование материала или изделия.

Наименование организации-поставщика.

Номер партии (плавки).

Количество продукции.

Номер и дату сопроводительного документа.

Объемы контроля.

Способы контроля.

Контролируемые параметры при контроле продукции неразрушающими и разрушающими методами с указанием нормативных показателей.

Приложение В

Рекомендуемое

Требования к содержанию Технологической карты визуального и измерительного контроля

Технологическая карта визуального и измерительного контроля должна содержать следующие сведения:

1. Наименование организации и службы, выполняющей визуальный и измерительный контроль.

2. Шифр карты.

3. Наименование контролируемого изделия (группы однотипных изделий) с указанием стандарта или ТУ на изготовление (монтаж, ремонт).

4. Наименование стадии контроля: входной контроль полуфабрикатов, контроль подготовки деталей под сборку, контроль сборки деталей под сварку, контроль готовых сварных соединений (наплавок), контроль устранения дефектов, контроль при эксплуатации.

5. Требования к установке объекта контроля в требуемое положение (если это возможно) и к введению объекта в режим контроля (освещенность объекта).

6. Порядок подготовки объекта контроля к проведению контроля.

7. Последовательность операций контроля.

8. Перечень контролируемых параметров с указанием нормативных значений при измерительном контроле.

Примечание. При разработке карты следует руководствоваться указаниями настоящей Инструкции, а также требованиями НД, регламентирующей требования к визуальному и измерительному контролю, в том числе нормами оценки качества и конструкторской документации на изделие (сварное соединение или наплавку).

Приложение Г

Рекомендуемое

Требования к содержанию Карты операционного контроля

Карта операционного контроля разрабатывается организацией, выполняющей изготовление (монтаж, ремонт) изделия, либо специализированной проектно-технологической организацией и служит для фиксации результатов контроля работ преимущественно при подготовке и сборке деталей под сварку.

В Карте должны быть отражены следующие сведения:

наименование организации и службы, выполняющей операционный контроль;

наименование оборудования (конструкции, трубопровода), обозначение чертежа или сварочного формуляра;

наличие маркировки и (или) документации, подтверждающей приемку материала (полуфабриката) при входном контроле;

чистота и отсутствие повреждений на кромках и прилегающих к ним поверхностях деталей;

форма и размеры кромок, расточки (раздачи, калибровки) деталей;

наличие и вид специальных приемов подготовки и сборки деталей (наплавка на кромках и внутренних поверхностях, подгибка) 1;

1 При условии подгибки указываются температура металла при выполнении этой технологической операции и угол подгибки, а при условии наплавки - ее размеры, способ сварки и примененные сварочные материалы с указанием номера партии (наплавки) и стандарта, ТУ или паспорта.

соответствие требованиям технической документации материала, формы и размеров подкладных пластин (колец, расплавляемых вставок);

соответствие требованиям технической документации размеров зазоров, смещения кромок (с наружной и внутренней сторон), перелома осей и плоскостей соединяемых деталей в собранном под сварку соединении;

наличие защитного покрытия на поверхностях деталей (в случаях оговоренных технической документацией) и ширина зоны его нанесения;

правильность сборки и крепления деталей, размеры собранного узла (последнее - в случаях, указанных в технологической документации);

дата контроля, фамилия и инициалы лица (лиц), выполнявшего операционный контроль, и его (их) подпись;

заключение о подготовке деталей к сборке под сварку.

Заключение о качестве подготовки деталей и сборки соединения под сварку подписывается специалистом, выполнявшим контроль, и руководителем службы технического контроля.

Приложение Д

Рекомендуемое

Примерный перечень средств визуального и измерительного контроля

Таблица Д1

Типы луп, применяемые при визуальном и измерительном контроле

Тип

Назначение

Конструктивное исполнение

Группа лупы

Оптическая система

Лупа просмотровая (ЛП)

Для просмотра деталей, мелких предметов и т.д.

Складные, с ручкой, штативные, с подсветкой

Малого, среднего, большого увеличения

Простая однолинзовая, многолинзовая корригированная

Лупа измерительная (ЛИ)

Для линейных и угловых измерений

В оправе, имеющей диоптрийную подвижку и измерительную шкалу

Среднего увеличения

Многолинзовая корригированная

Таблица Д2

Приборы и инструменты для измерительного контроля

Тип прибора, инструмента

Марка (рекомендуемая)

1

2

Профилограф-профилометр

Модель 170311

Люксметр

Ю-116

Образцы шероховатости поверхности (сравнения)

 

Угломер с нониусом

М127

УМ4

УМ5

Стенкомер индикаторный

С-2

С-10А

С-10Б

С-25

С-50

Штангенциркуль двусторонний с глубиномером

ШЦ-1-125

Толщиномер индикаторный

ТР 10-60

ТР 25-60

ТР 50-160

ТР 50-250

Щуп

1

№ 2

№ 3

№ 4

Набор радиусных шаблонов

1

№ 2

№ 3

Набор специальных шаблонов

 

Набор резьбовых шаблонов

М60

Д55

Универсальный шаблон сварщика

УШС-3

Линейка измерительная металлическая

150 мм

300 мм

500 мм

1000 мм

Метр складной металлический

 

Рулетка металлическая

 

Угольник поверочный 90° лекальный плоский

УЛП-1-60

УЛП-1-160

Меры длины концевые плоскопараллельные

2-Н7 (2-й класс, набор № 7)

Меры длины концевые плоскопараллельные

2-Н1

Таблица Д3

Приборы и средства измерений отклонений от прямолинейности и плоскостности

Тип прибора, инструмента

Марка (рекомендуемая)

Длины измеряемых поверхностей, мм

Интерферометр

ИЗК-40

Свыше 400 до 6300

Автоколлиматор

АК-

АК-6У

Свыше 400 до 10000

Оптические линейки

ИС-36

ИС-43

ИС-49

До 4000

До 4000

До 4000

Индуктивные линейки

ЛИП-3

УИП-5

До 1000

До 1000

Уровни (рамные, брусковые, индуктивные)

 

Свыше 400 до 10000

Поверочные линейки (прямоугольного и двутаврового сечения, мостики)

ШП,

шд,

ШМ

Свыше 400 до 4000

Оптические струны

ДП-477М

Свыше 400 до 10 000

Визирные трубы

ппс-11

ППС-12

Свыше 400 до 10000

Свыше 400 до 10000

Уровни гидростатические

115-I

115-II

 

Примечание. Допускается применение других средств контроля при условии соответствия диапазонов измеряемых параметров и точности измерений требованиям НД.

Приложение Е

Рекомендуемое

Размерные показатели для норм оценки качества по результатам визуального и измерительного контроля

1. Нормы оценки качества принимают по следующим размерным показателям:

номинальной толщине сваренных деталей - для стыковых соединений деталей одинаковой толщины (при предварительной обработке концов деталей путем расточки, раздачи, калибровки - по номинальной толщине деталей в зоне обработки);

номинальной толщине более тонкой детали (из двух сваренных) - для стыковых сварных соединений деталей различной номинальной толщины (при предварительной обработке конца более тонкой детали - по ее номинальной толщине в зоне обработки);

расчетной высоте углового шва - для угловых, тавровых и нахлесточных сварных соединений (для угловых и тавровых сварных соединений с полным проплавлением за размерный показатель допускается принимать номинальную толщину более тонкой детали);

удвоенной номинальной толщине более тонкой детали (из двух сваренных) - для торцовых сварных соединений (кроме соединений вварки труб в трубные доски).

2. Протяженность (длина, периметр) сварных соединений определяется по наружной поверхности сваренных деталей у краев шва (для соединений штуцеров, а также для угловых и тавровых соединений по наружной поверхности привариваемой детали у края углового шва).

3. Число одиночных включений, выявляемых при визуальном контроле, не должно превышать значений, указанных в НД на любом участке сварного соединения, длина которого регламентируется в НД. Для сварных соединений меньшей протяженности допустимое число одиночных включений уменьшают пропорционально уменьшению протяженности контролируемого соединения. Если при этом получается дробная величина, то она округляется до ближайшего целого числа.

4. Требования к числу одиночных включений для наплавленных поверхностей определяются согласно требованиям НД.

5. В сварных соединениях при визуальном и измерительном контроле не допускаются дефекты, превышающие установленные размеры.

Приложение Ж

Рекомендуемое

формы документов, оформляемых по результатам визуального и измерительного контроля

По результатам визуального и измерительного контроля оформляются:

1. Журнал учета работ и регистрации визуального и измерительного контроля.

2. Акт визуального и (или) измерительного контроля.

3. Акт визуального и (или) измерительного контроля качества сварных швов в процессе сварки соединений.

4. Протокол размеров.

Примечание. Допускается оформление результатов контроля проводить в других документах, формы которых приведены в действующей НД, согласованной или утвержденной Госгортехнадзором России.

____________________________

(организация)

АКТ № ____________ от ______________

визуального и (или) измерительного контроля

1. В соответствии с нарядом-заказом (заявкой) ________________________________

(номер)

выполнен __________________________________________________________________

(указать вид контроля (визуальный, измерительный)

контроль ___________________________________________________________________

(наименование и размеры контролируемого объекта,

___________________________________________________________________________

шифр документации, ТУ, чертежа, плавка (партия), номер объекта контроля)

Контроль выполнен согласно _______________________________________________

(наименование и (или) шифр

___________________________________________________________________________

технической документации)

2. При контроле выявлены следующие дефекты _______________________________

(характеристика

___________________________________________________________________________

дефектов (форма, размеры, расположение и (или) ориентация для конкретных объектов)

3. Заключение по результатам визуального и измерительного контроля ___________

___________________________________________________________________________

___________________________________________________________________________

Контроль выполнил _______________________________________________________

___________________________________________________________________________

(уровень квалификации, № квалификационного удостоверения)

___________________________________________________________________________

(фамилия, инициалы, подпись)

Руководитель работ по визуальному

и измерительному контролю _______________________________________________

(фамилия, инициалы, подпись)

Пояснения к оформлению Акта визуального и (или) измерительного контроля

1. В п. 1 указываются вид контроля - визуальный, измерительный или визуально-измерительный, а также наименование контролируемого объекта: полуфабрикат, заготовка, деталь, конструкция, подготовка кромки детали под сварку, собранное под сварку соединение, готовое сварное соединение, выборка дефектного участка в материале и (или) сварном соединении, изделие, а также наименование и (или) шифры производственно-контрольного документа (Программа входного контроля, Карта или схема контроля, Технологическая карта контроля, Карта или схема операционного контроля) и нормативного документа, регламентирующего требования к оценке качества контролируемого объекта при визуальном и измерительном контроле.

При контроле материалов (полуфабрикатов, заготовок, поковок) в п. 1 указываются марка материала, размеры (диаметр, толщина) и номер партии.

При контроле деталей и сборочных единиц в п. 1 указываются номер чертежа, размеры, марка материала (только для деталей), ее шифр согласно чертежу (стандарту).

При контроле подготовки кромок деталей, сборки соединения под сварку и готовых сварных соединений в п. 1 указываются номера соединений согласно сварочному формуляру или схемы расположения сварных соединений, а также размеры деталей соединения (диаметр, толщина), марка материала и способ сварки (для готовых сварных соединений).

При контроле выборок дефектных мест указываются наименование, марка материала и размеры объекта (диаметр, толщина), а также расположение выборки.

2. При заполнении п. 2 Акта в нем указываются все отступления от норм НД, выявленные при контроле конкретных объектов частков, соединений и пр.) в привязке к их номерам согласно сварочному формуляру, схемы расположения или схемы контроля.

В тех случаях, когда объект контроля соответствует требованиям НД, в акте делается отметка - «дефекты отсутствуют». При этом указывают номера конкретных объектов в соответствии с документами, приведенными выше.

Примечание. Допускается оформление одного Акта на партию однотипных полуфабрикатов, заготовок, деталей, конструкций.

_______________________________

(организация)

АКТ _________ от _________
визуального и (или) измерительного контроля качества сварных швов в процессе сварки соединения

___________________________________________________________________________

(наименование изделия и номер соединения)

1. Настоящим актом удостоверяется факт выполнения сварщиком ________________

(Ф. И.О., клеймо)

_______________________________ соединения _________________________________

(тип (типы) соединений)

(см. сварочный формуляр), выполненного _______________________________________

___________________________________________________________________________

(указать способ сварки и положение)

в соответствии с требованиями технологии сварки _______________________________

(указать шифр технологии)

и недоступного для контроля _________________________________________________

казать способ контроля,

___________________________________________________________________________

предписанный конструкторской документацией)

2. При послойном визуальном и измерительном контроле с оценкой качества по нормам ____________________________________________________________________

для категории _______________________________________________________________

(шифр или наименование НД)

установлено, что сварное соединение признано годным и соответствует требованиям _

___________________________________________________________________________

(указать НД или конструкторскую документацию)

Контроль выполнил: ______________________________________________________

___________________________________________________________________________

(уровень квалификации, № квалификационного удостоверения)

___________________________________________________________________________

(фамилия, инициалы, подпись)

Руководитель работ по

визуальному и измерительному

контролю ________________________________________________________________

(фамилия, инициалы, подпись)

Примечание. Акт составляется на каждую сварную конструкцию (соединение или группу соединений), подвергнутую контролю в процессе сварки.

Требования к оформлению Протокола размеров ______________

(изделие)

Протокол размеров оформляется только в том случае, когда это указано в НД или ПКД на контролируемое изделие.

Протокол размеров изделия (таблица) должен содержать фактические размеры изделия, выполненные в определенных сечениях, которые задаются Схемой измерений ______________________.

(изделие)

Форма Протокола размеров определяется при проектно-технологической подготовке контрольных работ. Протокол подписывается липами, выполнявшими измерения, и руководителем работ по визуальному и измерительному контролю с указанием фамилии и инициалов.

Требования к содержанию Журнала учета работ и регистрации результатов визуального и измерительного контроля

Результаты контроля продукции, изделий и объектов фиксируются в Журнале учета работ и регистрации результатов визуального и измерительного контроля, в котором указывают:

1) наименование и вид (тип) контролируемого объекта, его номер или шифр;

2) расположение и при необходимости размеры контролируемых участков на объекте контроля;

3) условия проведения контроля;

4) производственно-контрольный документ, его номер;

5) способ измерительного контроля и примененные приборы (инструменты);

6) марку и номер партии материала объекта контроля, а также обозначение стандарта или технических условий на материал и номер чертежа объекта (последнее только для деталей и сборочных единиц);

7) основные характеристики дефектов, выявленных при контроле (форма, размеры, расположение или ориентация относительно базовых осей или поверхностей объекта контроля);

8) наименование или шифр НД, согласно которой выполнена оценка качества;

9) оценку результатов контроля;

10) дату контроля.

Примечание. Допускается применение взамен приведенных других форм документов, разрабатываемых организацией в соответствии с требованиями действующей нормативно-технической документации, которые обеспечивают идентификацию и прослеживаемость деталей, узлов, изделий в процессе изготовления (монтажа, ремонта), фиксацию контролируемых параметров, объемов и методов контроля, оформление отчетной и учетной документации по визуальному и измерительному контролю.




Яндекс цитирования



   Copyright © 2007-2026,  www.tehlit.ru.

[ ѓосты, стандарты, нормативы, инструкции, правила, строительные нормы ]