|
Термин
|
Определение
|
Схема
|
|
|
ОСНОВНЫЕ
ПОНЯТИЯ
|
|
|
1. Дробление
D. Zerkleinerung
Е. Crushing
F. Concassage
|
Разрушение твердого кускового
материала на мелкие куски
|
-
|
|
2. Дробилка
D. Brecher
Е. Crusher
F. Concasseur
|
Машина для дробления
|
-
|
|
|
ВИДЫ
ДРОБИЛОК
|
|
|
3. Щековая дробилка
D. Backenbrecher
Е. Jaw crusher
F. Concasseur a machoires
|
Дробилка, дробление в которой
осуществляется сжатием материала между щеками
|

|
|
4. Конусная дробилка
D. Kegelbrecher
Е. Gyratory crusher
F. Concasseur a cone
|
Дробилка, дробление в которой
осуществляется сжатием материала между конусами, расположенными один внутри
другого
|

|
|
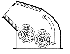
5. Валковая дробилка
D. Walzenbrecher
Е. Roll crusher
F. Concasseur a cylindres
|
Дробилка, дробление в которой
осуществляется сжатием материала между вращающимися валками или валком и
неподвижной плитой.
Примечание. В соответствии с числом валков
дробилке присваивают наименования: «Одновалковая», «Двухвалковая»,
«Трехвалковая» и т.д.
|

|
|
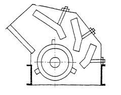
6. Роторная дробилка
D. Prallbrecher
Е. Impactor
F. Concasseur a percussion
|
Дробилка, дробление в которой
осуществляется ударами бил, жестко закрепленных на вращающемся вокруг
горизонтальной оси роторе.
Примечание. В соответствии с числом роторов
дробилке присваивают наименования: «Однороторная», «Двухроторная»,
«Трехроторная» и т.д.
|

|
|
7. Молотковая дробилка
D. Haminerbrecher
Е. Hammermill
F. Concasseur a marteaux articules
|
Дробилка, дробление в которой
осуществляется ударами молотков, шарнирно закрепленных на вращающемся роторе.
Примечание. В соответствии с числом роторов
дробилке присваивают наименования: «Однороторная молотковая дробилка»,
«Двухроторная молотковая дробилка», «Трехроторная молотковая дробилка» и т.д.
|

|
|
|
ОСНОВНЫЕ
ИСПОЛНЕНИЯ ДРОБИЛОК
|
|
|
8. Одноступенчатая дробилка
D. Einstufenbrecher
Е. Single-stage crusher
F. Concasseur a stade unique
|
Дробилка, в которой загружаемый
материал поступает одновременно на все основные рабочие органы.
Примечание. Основным рабочим органом дробилки
является сборочная единица или среда, передающая энергию кускам дробимого
материала при непосредственном с ним контакте
|

|
|
9. Многоступенчатая дробилка
|
Дробилка, в которой загружаемый
материал последовательно поступает от одного основного рабочего органа или
группы рабочих органов к другому основному рабочему органу или группе
основных рабочих органов.
Примечание. В соответствии с числом ступеней
дробления дробилке присваивают наименования: «Двухступенчатая»,
«Трехступенчатая» и т.д.
|

|
|
10. Комбинированная дробилка
|
Многоступенчатая дробилка с основными
рабочими органами, характерными для дробилок разных видов
|

|
|
11. Щековая дробилка с простым движением щеки
|
Щековая дробилка, точки подвижной
щеки которой движутся по прямым или дугам окружности, близким к прямым
|

|
|
12. Щековая дробилка со сложным движением щеки
|
Щековая дробилка, точки подвижной
щеки которой движутся по замкнутым кривым
|

|
|
13. Реверсивная роторная дробилка
D. Reversieverprallbrecher
Е. Reversible impactor
F. Concasseur a percussion a
fonctionnement reversible
|
Роторная дробилка с реверсивным
вращением ротора (ов)
|

|
|
14. Реверсивная молотковая дробилка
D. Reversieverhammerbrecher
Е. Reversible hammermill
F. Concasseur a marteaux articules
a fonctionnement reversible
|
Молотковая дробилка с реверсивным
вращением ротора (ов)
|

|
|
15. Вертикальная
молотковая дробилка
D. Vertikalhammerbrecher
Е.
Vertical hammermill
F. Concasseur a marteaux articules
au rotor verticale
|
Молотковая дробилка с вертикальной
осью вращения ротора
|

|
|
|
ОБЩИЕ
КОНСТРУКТИВНЫЕ ЭЛЕМЕНТЫ ДРОБИЛОК
|
|
|
16. Корпус
дробилки
Корпус
Ндп.
Рама
D. Brechergehuse
Е. Crusher housing
F. Corps de concasseur
|
Опорная конструкция для крепления
элементов дробилки
|

|
|
17. Станина
дробилки
Станина
D. Brecherbett
Е.
Crusher frame
F. Bati de concasseur
|
Часть корпуса дробилки,
устанавливаемая на фундамент
|

|
|
18. Камера дробления
D. Brechraum
Е. Crushing chamber
F. Chambre de concassage
|
Пространство между рабочими органами
дробилки, в котором происходит дробление и перемещение материала
|
-
|
|
19. Предохранительное
устройство дробилки
Предохранительное
устройство
D. Brechschutzvorrichtung
Е. Crusher safety release
F. Dispositif de securite de
concasseur
|
Устройство для предохранения
элементов дробилки от поломок при перегрузках
|
-
|