//
ТехЛит.ру
- крупнейшая бесплатная электронная интернет библиотека для "технически умных" людей.
WWW.TEHLIT.RU - ТЕХНИЧЕСКАЯ ЛИТЕРАТУРА

:: Алготрейдинг::


АЛГОТРЕЙДИНГ
шаг за шагом
с нуля по урокам!

Торговые роботы на PYTHON, BackTrader,
Pandas, Pine Script для TradingView. Связка с брокерами, телеграм и легкими приложениями.


ГОСУДАРСТВЕННЫЙ СТАНДАРТ СОЮЗА ССР

ТРУБОПРОВОДЫ СТАЛЬНЫЕ МАГИСТРАЛЬНЫЕ

ОБЩИЕ ТРЕБОВАНИЯ К ЗАЩИТЕ ОТ КОРРОЗИИ

ГОСТ 25812-83

(СТ СЭВ 5291-85)

ГОСУДАРСТВЕННЫЙ КОМИТЕТ СССР ПО СТАНДАРТАМ

РАЗРАБОТАН Министерством строительства предприятий нефтяной и газовой промышленности

ИСПОЛНИТЕЛИ

А.М. Зинкевич, канд. техн. наук (руководитель темы); Н.П. Глазов, канд. техн. наук; В.В. Притула, канд. техн. наук; В.Ф. Храмихина, канд. техн. наук; Р.В. Кудинова; Э.Д. Стрельцова; А.Д. Крупнов; Л.Н. Кондратова

ВНЕСЕН Министерством строительства предприятий нефтяной и газо­вой промышленности

Член Коллегии О.М. Иванцов

УТВЕРЖДЕН И ВВЕДЕН В ДЕЙСТВИЕ Постановлением Государствен­ного комитета СССР по стандартам от 27 мая 1983 г. № 2387

ГОСУДАРСТВЕННЫЙ СТАНДАРТ СОЮЗА ССР

ТРУБОПРОВОДЫ СТАЛЬНЫЕ МАГИСТРАЛЬНЫЕ

 Общие требования к защите от коррозии       ГОСТ

Steel pipe mains.                                   25812¾83            

General requirements for corrosion protection

Постановлением Государственного комитета СССР по стандартам от 27 мая 1983 г. № 2387 срок действия установлен

с 01.01.84

Несоблюдение стандарта преследуется о закону

Настоящий стандарт устанавливает общие требования к защите соору­жений от подземной и атмосферной коррозии магистральных нефте-, га­зо- и продуктопроводов и отводов от них (далее в тексте - магистральные трубопроводы); трубопроводов компрессорных, газораспределительных, перекачивающих и насосных станций и головных сооружений промыслов (далее в тексте - сети коммуникаций); обсадных колонн скважин и трубо­проводов нефтегазопромыслов, подземных хранилищ газа и установок ко­мплексной подготовки газа и нефти (далее в тексте - промысловые объек­ты) и все вместе именуемые далее в тексте - сооружения при их подзем­ной, подводной (с заглублением в дно), наземной (с засыпкой) и надзем­ной прокладках.

Стандарт не распространяется на теплопроводы, стальные водопрово­ды, и сооружения, проложенные в населенных пунктах, многолетнемерз­лых грунтах и в водоемах без заглубления в дно.

Стандарт содержит все требования СТ СЭВ 5291-85.

В стандарт дополнительно включены требования к электрохимической защите сооружений, методы контроля состояния защиты от коррозии и требования безопасности при проведении работ по защите сооружений от коррозии (см. справочное приложение 7 о соответствии требований настоящего стандарта требованиям стандарта СЭВ).

1. ОБЩИЕ ПОЛОЖЕНИЯ

1.1. Требования настоящего стандарта следует соблюдать при проекти­ровании, строительстве, монтаже, реконструкции, эксплуатации и ремон­те сооружений и разработке нормативно-технической документации (в дальнейшем НТД) на защиту конкретных видов сооружений.

1.2. При обеспечении комплексной защиты сооружений от коррозии следует руководствоваться также действующей НТД, требования которой соответствуют настоящему стандарту.

1.3. Противокоррозионная защита сооружений независимо от способа прокладки должна обеспечить их безаварийную (по причине коррозии) работу на весь планируемый период эксплуатации.

1.4. При всех способах прокладки, кроме надземной, сооружения под­лежат комплексной защите от коррозии защитными покрытиями и средс­твами электрохимической защиты независимо от коррозионной агрессив­ности грунта.

Допускается обсадные колонны скважин защищать от коррозии толь­ко средствами электрохимической защиты.

Для нефтепромысловых объектов допускается не применять электрохимическую защиту и (или) защитные покрытия при условии технико-экономического обоснования с учетом коррозионной агрессивности грунтов и других условий эксплуатации при обеспечении проектного срока службы каждого объекта.

1.5. Сооружения при надземной прокладке подлежат защите от атмос­ферной коррозии металлическими или неметаллическими защитными по­крытиями.

1.6. Вид и конструкцию защитного покрытия и средств электрохимиче­ской защиты сооружений от коррозии определяют в проекте защиты, ко­торый для вновь строящихся сооружений должен быть разработан однов­ременно с проектом самого сооружения в соответствии с требованиями настоящего стандарта.

В проекте должны учитываться возможные изменения коррозионных условий окружающей среды во времени.

1.7. Электрохимическую защиту сооружений от коррозии следует осу­ществлять системно, оптимизируя для всего сооружения в целом ее пара­метры:

диапазон рабочего тока и напряжений, а также начальных и конечных значений длины защитной зоны каждой единичной установки электрохи­мической защиты;

диапазон начальных  и конечных значений защитных потенциалов в точке подключения каждой единичной установки электрохимической за­щиты;

диапазон начальных  и конечных значений электрических характерис­тик защищаемых участков сооружения.

1.8. Средства электрохимической защиты трубопроводов, предусмот­ренные проектом, следует включать в работу: в зонах блуждающего тока - в течение не более месяца после укладки участка трубопровода, а в оста­льных случаях - до начала работы рабочих приемочных комиссий.

1.9. Система электрохимической защиты от коррозии всего объекта в целом должна быть построена и включена в работу до сдачи сооружений в эксплуатацию. Городские коммуникации допускается подключать к ма­гистральным трубопроводам при условии, что защитные потенциалы на них в местах подключения должны быть не менее (по абсолютной величи­не) чем на магистральных трубопроводах.

1.10. Электрохимическую защиту от коррозии вновь строящихся соо­ружений проектируют с учетом действующей электрохимической защи­ты эксплуатируемых соседних сооружений.

1.11. Проектное решение, строительство и эксплуатация комплексной защиты сооружений от коррозии не должны оказывать вредного влияния на окружающую среду.

2. ТРЕБОВАНИЯ К ЗАЩИТНЫМ ПОКРЫТИЯМ СООРУЖЕНИЙ

2.1. Требования к защитным покрытиям сооружений при их подзем­ной, подводной (с заглублением в дно) и наземной (с засыпкой) проклад­ках в зависимости от типа, вида и конструкции и условий нанесения пок­рытий приведены в табл. 1. Сплошность защитных покрытий определяют согласно рекомендуемому приложению 1. Оценку грибостойкости мате­риалов защитных покрытий сооружений производят в соответствии с при­ложением 6 ГОСТ 9.048-75 (балл 2; по согласованию с заказчиком и пот­ребителем допускается балл 3).


Таблица 1

Требования к защитным покрытиям при строительстве сооружений

Тип

Условия

Вид и конструкция

Показатели свойств защитных покрытий

защитного покрытия

нанесения защитного

(структура защитного покрытия)

Толщина,

мм,

Адгезия к стальной

поверхности 1, не менее

Прочность при ударе

Переходное сопротивление, Ом×м2, не менее

Максимальная температура

 

покрытия

 

не менее

Н/см

(кгс/см)

МПа

(кгс/см2)

Дж (кгс×см)

не менее

после нанесения защитных покрытий

на законченных строительством и засыпанных участках сооружений 5

эксплуатации (температура транспортиру­емого продук­та), К (0С)

Усиленный

Заводские или базовые 6

Полиэтилен экструди­рованный или напы­ленный по ГОСТ 16337-77 или ГОСТ 16338-85 для труб диаметром:

 

 

 

 

 

 

 

 

 

до 1020 мм

2,510

35,00 (3,50)

-

12,5 (125,0)

1×108

1×105

333 (60)

 

 

1020 мм и выше

3,010

35,00 (3,50)

-

15,0 (150,0)

1×108

1×105

333 (60)

Усиленный

Заводские или базовые 6

Краска эпоксидная порошковая типа ПЭП-534

0,35 (но не более 0,50)

 

-

7,5 (75,0)

1×108

1×105

353 (80)

Нормальный

Трассовые или базовые 6

Грунтовка полимерная типа ГТП-820 или би­тумно-полимерная ти­па ГТ-754ИН с расхо­дом не менее 0,1 кг/м2

-

-

-

-

-

-

-

 

 

лента поливинилхло­ридная изоляционная липкая по требованиям табл. 2

0,40

-

-

-

-

-

-

 

 

обертка защитная типа ПЭКОМ

0,60

10,00 (1,00)

-

-

5×106

1×105

323 (50)

Усиленный

Трассовые или базовые 6

Грунтовка полимерная типа ГТП-820 или би­тумно-полимерная ти­па ГТ-754ИН с расхо­дом не менее 0,1 кг/м2

-

-

-

-

-

-

-

 

 

лента поливинилхло­ридная изоляционная липкая по требованиям табл. 2

0,807

-

-

-

-

-

-

 

 

обертка защитная типа ПЭКОМ

1,20

10,00 (1,00)

-

-

1×108

1×105

323 (50)

Усиленный

Трассовые или базовые 6

Грунтовка полимерная типа ГТП-820 или би­тумно-полимерная ти­па ГТ-754ИН с расхо­дом не менее 0,1 кг/м2

-

 

 

 

 

 

 

 

 

лента полиэтиленовая изоляционная дубли­рованная по требова­ниям табл. 3

0,607

-

-

-

-

-

-

 

 

обертка защитная по требованиям таблицы 4

0,607

15,00 (1,50)

-

-

1×108

1×105

333 (60)

Нормальный

Трассовые или базовые 6

Грунтовка полимерная типа ГТП-820 или би­тумно-полимерная ти­па ГТ-754ИН с расхо­дом не менее 0,1 кг/м2

 

 

 

 

 

 

 

 

 

лента поливинилхло­ридная изоляционная липкая типа ПВХ-БК

0,80

-

-

-

-

-

-

 

 

обертка защитная типа ленты полимерной на основе поливинилхло­рида

0,50

5,00 (0,50)8

-

-

5×106

1×105

303 (30)

Усиленный

Трассовые или базовые 6

Грунтовка полимерная типа ГТП-820 или би­тумно-полимерная ти­па ГТ-754ИН с расхо­дом не менее 0,1 кг/м2

-

-

-

-

-

-

-

 

 

лента поливинилхло­ридная изоляционная липкая типа ПВХ-БК

0,807

-

-

-

-

-

-

 

 

обертка защитная типа ленты полимерной на основе поливинилхло­рида

1,00

5,00 (0,50)8

-

-

1×108

1×105

313 (40)

Усиленный

Трассовые

Покрытие типа Пластобит-2М2:

 

 

 

 

 

 

 

 

 

грунтовка с расходом не менее 0,15 кг/м2

-

-

-

-

-

-

-

 

 

мастика изоляционная на основе пластифици­рованного битума

3,00

-

-

-

-

-

-

 

 

лента поливинилхло­ридная изоляционная без подклеивающего слоя

0,35

 

 

 

 

 

 

 

 

обертка защитная

0,50

-

0,20 (2,00)

-

1×107

5×105

308 (35)

Нормальный

Трассовые

Грунтовка битумно-полимерная типа ГТ-754ИН с расходом не менее 0,1 кг/м2

-

-

-

-

-

-

-

 

 

мастика изоляционная по ГОСТ 15836-79 на основе битумов или мастика изоляционная битумно-полимерная типа Изобитеп со сло­ем стеклохолста типа ВВ-К или ВВ-Г арми­рованного

4,00

 

 

 

 

 

 

 

 

обертка защитная типа Бикарул

0,50

-

0,20 (2,00)

-

5×106

1×105

313 (40)9

Усиленный

Трассовые

Грунтовка битумно-полимерная типа ГТ-754ИН с расходом не менее 0,1 кг/м2

-

-

-

-

-

-

-

 

 

мастика изоляционная по ГОСТ 15836-79 на основе битумов или мастика изоляционная битумно-полимерная типа Изобитеп со сло­ем стеклохолста типа ВВ-К или ВВ-Г арми­рованного

5,50

 

 

 

 

 

 

 

 

обертка защитная типа Бикарул

0,50

-

0,20 (2,00)

-

1×107

5×105

313 (40)9

Усиленный

Трассовые или базовые 6

Грунтовка битумно-полимерная типа ГТ-754ИН с расходом не менее 0,1 кг/м2

-

-

-

-

-

-

-

 

 

мастика изоляционная по ГОСТ 15836-79 на основе битумов или мастика изоляционная битумно-полимерная типа Изобитеп со сло­ем стеклохолста типа ВВ-К или ВВ-Г арми­рованного

3,00

-

-

-

-

-

-

 

 

мастика изоляционная по ГОСТ 15836-79 на основе битумов или мастика изоляционная битумно-полимерная типа Изобитеп со сло­ем стеклохолста типа ВВ-К или ВВ-Г арми­рованного

2,50

 

 

 

 

 

 

 

 

обертка защитная типа Бикарул

0,50

-

0,20 (2,00)

-

1×107

5×105

313 (40)9


1 При несоответствии температуры покрытия (293 + 5) К (20 + 5) °С контроль данного показателя производить по п. 4.10.1.

2 Данная конструкция - Пластобит-2М допускается к применению на нефтепро­водах диаметром не более 1020 мм.

3 Показатель отслаивания эпоксидной порошковой краски должен быть не выше 1,5 см2 по соответствующей НТД.

4 Исключена (Изменение № 2).

5 Переходное сопротивление «труба-земля» в процессе эксплуатации должно быть не менее 2×103 Ом×м2 через 10 лет и не менее 1×103 Ом×м2 через 30 лет.

6 Для сохранности покрытия заводского и базового нанесения в период транспо­ртировки, погрузочно-разгрузочных работ, складирования предусмотреть специаль­ные меры в соответствии с НТД, исключающие механические повреждения.

7 На переходах под автомобильными и железными дорогами и подводных перехо­дах толщину слоя следует принимать не менее 1,2 мм.

8 Исключена (Изменение № 2).

9 При разработке более термостойкой рецептуры изоляционной мастики допус­кается повышать максимальную температуру эксплуатации в соответствии с п. 2.3.

10 Толщина покрытия над усилением сварного шва должна быть не менее 2,0 мм для труб диаметром до 1020 мм и не менее 2,5 мм - для труб диаметром 1020 мм и выше.

Таблица 2

Требования к физико-механическим и защитным свойствам полимерных липких лент на основе полиэтилена

Наименование показателя*

Норма

Толщина ленты, мм

0,40

Толщина основы ленты, мм, не менее

0,30

Толщина слоя клея, мм, не менее

0,10

Сопротивление разрыву по ГОСТ 270-75, Н/см (кгс/см), не менее

30,00 (3,0)

Относительное удлинение при разрыве по ГОСТ 270-75, %, не менее

100,00

Удельное электрическое сопротивление по ГОСТ 6433.2-71, Ом×см, не менее

1×1012

Адгезия в нахлесте по методике справочного приложения 4, Н/см (кгс/см), не менее

3,00 (0,30)

Морозостойкость по ГОСТ 16783-71, К (минус 0С), не ме­нее

233 (40)

* Физико-механические и защитные характеристики замеряют при температуре 293 К (20 0С).

Таблица 3

Требования к физико-механическим и защитным свойствам полимерных дублированных лент на основе полиэтилена

Наименование показателя*

Норма

Толщина ленты, мм

0,60

Толщина основы ленты, мм, не менее

0,30

Толщина слоя клея, мм, не менее

0,30

Сопротивление разрыву по ГОСТ 270-75, Н/см (кгс/см), не менее

50,00 (5,0)

Относительное удлинение при разрыве по ГОСТ 270-75, %, не менее

100,00

Удельное электрическое сопротивление по ГОСТ 6433.2-71, Ом×см, не менее

1×1012

Адгезия в нахлесте по методике справочного приложения 4, Н/см (кгс/см), не менее

3,00 (0,30)

Морозостойкость по ГОСТ 16783-71, К (минус 0С), не ме­нее

213 (60)

* Физико-механические и защитные характеристики замеряют при температуре 293 К (20 0С).

Таблица 4

Требования к физико-механическим свойствам полимерных

липких оберток на основе полиэтилена

Наименование показателя*

Норма

Толщина обертки, мм

0,60

Толщина основы обертки, мм, не менее

0,50

Толщина слоя клея, мм, не менее

0,10

Сопротивление разрыву по ГОСТ 270-75, Н/см (кгс/см), не менее

80,00 (8,0)

Относительное удлинение при разрыве по ГОСТ 270-75, %, не менее

100,00

Адгезия в нахлесте по методике справочного приложения 4, Н/см (кгс/см), не менее

3,00 (0,30)

* Физико-механические и защитные характеристики замеряют при температуре 293 К (20 0С).

2.2. В зависимости от конкретных условий эксплуатации на сооруже­ниях применяют два типа защитных покрытий: усиленный и нормальный.

Усиленный тип защитных покрытий следует применять на трубопро­водах диаметром 1020 мм и более независимо от условий прокладки, а та­кже на всех трубопроводах любого диаметра, прокладываемых:

южнее 500 северной широты;

в засоленных почвах любого района страны (солончаковых, солонцах, солодях, такырах, сорах и др.);

в болотистых, заболоченных, черноземных и поливных почвах, а также на участках перспективного обводнения;

на подводных переходах и в поймах рек, а также на переходах через же­лезные и автомобильные дороги, в том числе на защитных кожухах по НТД и на расстояниях в обе стороны от переходов - по соответствующей НТД;

на территориях компрессорных, газораспределительных и насосных станций, а также установок комплексной подготовки газа и нефти и на расстояниях в обе стороны от них - по соответствующей НТД;

на пересечениях с различными трубопроводами, включая по 20 м в обе стороны от места пересечения;

на участках промышленных и бытовых стоков, свалок мусора и шлака;

на участках блуждающих токов;

на участках трубопроводов с температурой транспортируемого про­дукта 313 К (40 0С) и выше;

на участках нефтепроводов, нефтепродуктопроводов, прокладывае­мых на расстояниях, выбираемых по НТД Госстроя СССР, от рек, каналов, озер, водохранилищ, а также от границ населенных пунктов и промыш­ленных предприятий;

для транспортировки сжиженных углеводородов и аммиака.

Во всех остальных случаях применяются защитные покрытия нормаль­ного типа.

2.3. Защиту сооружений осуществляют покрытиями: полимерными (экструдированными из расплава и порошковыми, оплавляемыми на тру­бах; липкими изоляционными лентами) и на основе битумных изоляцион­ных мастик, наносимыми в заводских, базовых и трассовых условиях по соответствующей НТД.

Допускается применять другие конструкции покрытий, грунтовочные, защитные и оберточные материалы, не установленные в настоящем стан­дарте, но обеспечивающие его требования, в соответствии с НТД, утверж­денной в установленном порядке.

2.4. Покрытия полимерные экструдированные из расплава и порош­ковые, оплавляемые в трубах, следует применять на трубопроводах лю­бого диаметра; покрытия полимерные из изоляционных лент - на трубо­проводах диаметром не выше 820 мм с допуском к применению на тру­бопроводах диаметром не выше 1020 мм при температуре воздуха в пе­риод строительства не выше 298 К (25 0С); покрытия с двумя армирующи­ми слоями стеклохолста и защитной оберткой, наносимого в базовых ус­ловиях.

2.5. Защиту сварных стыков, участков с поврежденным покрытием, мест подключения катодных, дренажных, протекторных установок и конт­рольно-измерительных пунктов, а также узлов запорной арматуры, пере­мычек и других деталей сооружения проводят по НТД с обеспечением требований настоящего стандарта для покрытия основного сооружения.

2.6. Сооружения при надземной прокладке защищают алюминиевыми, цинковыми, лакокрасочными, стеклоэмалевыми покрытиями или консис­тентными смазками.

2.7. Выбор и нанесение металлических или неметаллических покрытий и консистентных смазок проводят по НТД в зависимости от условий прок­ладки и эксплуатации сооружения.

2.8. Толщина покрытий из алюминия (ГОСТ 6132-79 и ГОСТ 7871-75) и цинка (ГОСТ 13073-77) должна быть не менее 0,25 мм.

2.9. Места перехода магистрального трубопровода от подземной прок­ладки к наземной должны быть дополнительно защищены в обе стороны на длину 6 м двумя слоями липкой ленты; при температуре транспорти­руемого продукта до 333 К (60 0С) - на основе полиэтилена, выше 333 К (60 0С) - на основе кремнеорганических соединений типа ЛЭТСАР-ЛПТ.

2.10. Для защиты покрытий от возможных механических повреждений следует применять обертки из полимерных лент с клеевым слоем или би­тумно-полимерных материалов при толщине основы не менее 0,5 мм. При этом адгезия покрытия к трубе должна быть больше, чем адгезия обе­рточного слоя к покрытию.

Допускается по согласованию с заказчиком применять полимерные оберточные материалы без клеевого слоя.

2.11. На трубопроводах с любым видом покрытия, прокладываемых под автомобильными или железными дорогами, на подводных переходах, а также в скальных грунтах, помимо защитной обертки следует применять жесткую футеровку, обетонирование или другие способы защиты покры­тий от механических повреждений в соответствии с НТД.

3. ТРЕБОВАНИЯ К ЭЛЕКТРОХИМИЧЕСКОЙ ЗАЩИТЕ СООРУЖЕНИЙ

3.1. Исключен (Изменение № 2).

3.2. Подземные сооружения необходимо защищать по технологичес­кой системе электрохимической защиты (катодной, протекторной и дре­нажной) непрерывной катодной поляризацией всей поверхности. Элемен­ты технологической системы электрохимической защиты должны состо­ять из восстанавливаемых изделий с эксплуатационным сроком службы не менее 10 лет.

3.3. Системы катодной и протекторной защиты в течении 10 лет, дре­нажной - в течении 5 лет с начала их эксплуатации должны поддерживать защитные потенциалы на всем протяжении защищаемых сооружений, не требуя дополнительной реконструкции. Для сооружений с температурой транспортируемого продукта не более 293 К (20 0С), проложенных в грун­тах с удельным электрическим сопротивлением не менее 10 Ом×м или с содержанием водорастворимых солей не более 1 г на 1 кг грунта, минима­льный поляризационный защитный потенциал «сооружение-земля» отно­сительно медносульфатного электрода сравнения должен быть ранен ми­нус 0,85 В (с омической составляющей - минус 0,90 В). Для сооружений с температурой транспортируемого продукта не более 333 К (60 ОС), непос­редственно контактирующих с водной средой не менее 6 мес. в году и в грунтах с удельным электрическим сопротивлением менее 10 Ом×м, мак­симальный допустимый поляризационный защитный потенциал «соору­жение-земля» относительно медносульфатного электрода сравнения дол­жен быть равен минус 1,10 В (с омической составляющей - минус 1,20 В). При всех других условиях защитные потенциалы устанавливают по реко­мендуемому приложению 2.

3.4. Оценку коррозионного влияния полей блуждающих токов от исто­чников постоянного тока на подземные сооружения и меры защиты от этого влияния осуществляют в соответствии с требованиями ГОСТ 9.015-74.

3.5. Участки сооружений с электрохимической защитой при надзем­ной прокладке должны быть электрически изолированы от опор. Общее сопротивление этой изоляции должны быть не менее 100 кОм на одной опоре.

3.6. Расчет электрохимической защиты участков трубопроводов, вклю­чающих непрерывную надземную прокладку не более 3 км, следует осу­ществлять, исходя из условия электрической непрерывности трубопрово­дов на всем протяжении этих участков.

3.7. При наличии анодных и знакопеременных зон потенциалов, соз­данных постоянными блуждающими токами на подземных сооружениях, последние необходимо постоянно защищать в течение всего срока служ­бы сооружения, непрерывно поддерживая на них защитный потенциал в соответствии с п. 3.3 независимо от характера изменения блуждающих то­ков и режимов работы их источников.

3.8. На сооружениях измерения потенциалов при защите от коррозии блуждающими токами осуществляют в соответствии с требованиями ме­тодик ГОСТ 9.015-74.

3.9. Допускается применение автоматических катодных и протектор­ных установок для защиты сооружений от коррозии блуждающими тока­ми при технико-экономическом обосновании и соблюдении требований ГОСТ 16149-70.

3.10. Перерыв в действии каждой установки систем электрохимичес­кой защиты допускается при необходимости проведения регламентных и ремонтных работ не более одного раза в квартал до 80 ч. При необходи­мости проведения опытно-исследовательских работ и электрометрических обследований допускается отключение электрохимической защиты по со­гласованию с эксплуатирующей организацией на срок не более 10 сут. в год.

3.11. Все соседние трубопроводы одного назначения должны быть включены в единую технологическую систему совместной электрохими­ческой защиты. Допускается включение в такую систему соседних соору­жений различного назначения, а также применение на них самостоятель­ных технологических систем электрохимической защиты при технико-эко­номическом обосновании. В случае невозможности создания единой сис­темы совместной электрохимической защиты всех сооружений необходи­мо исключить вредное влияние раздельной защиты соседних сооружений друг на друга путем изменения мет расположения и конструкций анод­ных заземлений и точек подключения защитных установок. Эксплуатация катодной защиты соседних сооружений с любой разностью потенциалов между ними допустима при защитных потенциалах на каждом из них в пределах требований п. 3.3.

3.12. Требования к катодной защите сооружений

3.12.1. Технологическая система катодной защиты включает установки катодной защиты, состоящие не менее чем из одной катодной станции, обеспечивающей вероятность безотказной работы на наработку 4000 ч не менее 0,9 (при доверительной вероятности 0,8), анодного заземления и соединительных проводов (кабелей), а также контрольно-измерительные пункты.

3.12.2. Величина защитной зоны одной установки катодной защиты на начало эксплуатации должна составлять не менее 20 км для нормальной изоляции и 30 км для усиленной изоляции.

3.12.3. При катодной защите обсадных колонн скважин и промысловых сооружений допускается минимальный поляризационный защитный по­тенциал менее отрицательный чем минус 0,85 В (с омической составляю­щей - минус 0,90 В) или рекомендуемый приложением 2 при условии обеспечения проектного срока их службы.

3.12.4. В случае необходимости подключения новых сооружений к дей­ствующей технологической системе катодной защиты или ускоренного старения защитного покрытия допускается ее реконструкция ранее срока (п. 3.3).

3.12.5. В установках катодной защиты могут быть использованы катод­ные станции или другие внешние источники защитного тока, имеющие встроенные приборы для контроля выходного напряжения, силы тока, оценки суммарного времени работы под нагрузкой и отвечающие требо­ваниям обязательного приложения 3.

3.13. Требования к протекторной защите

3.13.1. Технологическая система протекторной защиты включает уста­новки протекторной защиты, состоящие из одного или группы протекто­ров и соединительных проводов (кабелей), а также контрольно-измерите­льных пунктов.

В установках протекторной защиты используют литые протекторные электроды длиной до 1,5 м или протяженные протекторы с технологичес­кой длиной более 10 м.

3.13.2. Литые протекторы следует использовать в грунтах с удельным сопротивлением не более 50 Ом×м устанавливая их на глубине не 1 м ни­же границы зоны промерзания грунта.

3.13.3. Протяженные протекторы следует использовать в грунтах с уде­льным сопротивлением не более 500 Ом×м.

3.13.4. Групповые протекторные установки, единичные протекторы с интервалом размещения не менее 500 м и протяженные протекторы дол­жны быть подключены к защищаемому сооружению через контрольно-измерительные пункты.

3.13.5. Допустимо подключение новых сооружений к действующей те­хнологической системе протекторной защиты с последующей ее реконст­рукцией, в том числе и ранее срока (п. 3.3).

3.14. Требования к дренажной защите сооружений

3.14.1. Технологическая система дренажной защиты установки дренаж­ной защиты, состоящие не менее чем из одного электрического дренажа, обеспечивающего вероятность безотказной работы за наработку 4000 ч не менее 0,9 (при доверительной вероятности 0,8), соединительных прово­дов (кабелей) и, в случае необходимости, электрических перемычек и дроссель-трансформаторов, а также контрольно-измерительных пунктов.

3.14.2. При дренажной защите выполнение требований п. 3.11 осущест­вляют:

изменением мест подключения дренажного кабеля к защищаемым со­оружениям;

совместной защитой нескольких сооружений общими дренажными установками;

соединением соседних сооружений поляризованными электрически­ми перемычками;

подключением к сооружениям в анодных зонах, вызванных вредным влиянием протекторных установок (п. 3.13).

3.14.4. Среднечасовой ток всех установок технологической системы дренажной защиты, подключенных к одной тяговой подстанции электри­фицированной железной дороги, не должен превышать 20 % от общей среднечасовой токовой нагрузки этой подстанции.

3.14.5. Сети коммуникаций должны иметь совместную защиту от кор­розии блуждающими токами с помощью электрических перемычек по те­хнологической системе дренажной защиты.

3.14.6. При использовании автоматических катодных или протекторных установок для защиты подземных сооружений от коррозии блуждающи­ми токами необходимо выполнять требования пп. 3.12.1 и 3.13.1. В случае необходимости допустима их реконструкция ранее срока, установленно­го пп. 3.3 и 3.7.

3.14.7. В случае непредусмотренного изменения режима работы исто­чников блуждающих токов допустима реконструкция систем электрохи­мической защиты сооружений от их коррозионного влияния ранее сро­ков, установленных п. 3.3.

4. КОНТРОЛЬ СОСТОЯНИЯ ЗАЩИТЫ ОТ КОРРОЗИИ

4.1. Для контроля состояния комплексной защиты на сооружениях дол­жны быть оборудованы контрольно-измерительные пункты , на которых указывается привязка точки присоединения контрольного провода к соо­ружению.

4.1.1. Контрольно-измерительные пункты устанавливают над сооруже­нием не далее 3 м от точки подключения к сооружению контрольного провода.

В случае расположения сооружения на участке, где эксплуатация кон­трольно-измерительных пунктов затруднена, последние могут быть уста­новлены в ближайших удобных для эксплуатации местах, но не далее 50 м от точки подключения контрольного провода к сооружению. Эти контро­льно-измерительные пункты должны иметь особую маркировку.

4.1.2. На магистральных трубопроводах провода контрольно-измерите­льных пунктов подключают:

на каждом километре;

на расстоянии трех диаметров трубопровода от точек дренажа устано­вок электрохимической защиты (за исключением одиночных протекто­ров) и от электрических перемычек;

у крановых площадок;

у водных и транспортных переходов;

у пересечения трубопроводов с другими металлическими сооружени­ями;

в культурной и осваиваемой зонах - у дорог, арыков, коллекторов и других естественных и искусственных образований.

При многониточной системе магистральных трубопроводов провода контрольно-измерительных пунктов подключают к каждой нитке и выво­дят на один общий контрольно-измерительный пункт. При строительстве новых линий провода контрольно-измерительных пунктов подключают в сопряженных с построенными нитками местах.

4.1.3. При выявлении защитной зоны установок катодной защиты ме­нее 3 км необходимо на этом участке произвести дополнительные изме­рения защитных потенциалов, вынося электрод сравнения над сооруже­нием между контрольно-измерительными пунктами (методом выносимо­го электрода сравнения) и при возможности подключить дополнительно провода контрольно-измерительных пунктов к сооружению через каждые 500 м.

4.1.4. На сетях коммуникаций провода контрольно-измерительных пу­нктов подключают:

к коммуникациям длиной более 50 м посредине с интервалом не бо­лее 50 м;

на расстояние не менее трех диаметров трубопровода от точек дрена­жа установок катодной защиты;

в местах пересечения коммуникаций;

в местах изменения направления при длине участка коммуникации бо­лее 50 м;

в местах сближения коммуникаций с сосредоточенными анодными заземлениями при расстоянии между ними 50 м;

не менее чем в четырех диаметрально противоположных точках по пе­риметру внешней поверхности резервуаров.

Допускается не устанавливать контрольно-измерительные пункты в указанных местах (кроме точек дренажа установок катодной защиты), ес­ли обеспечена возможность электрического контакта с сооружением.

4.1.5. Для контроля за состоянием комплексной защиты промысловых объектов провода контрольно-измерительных пунктов подключают:

на шлейфах - через каждые 500 м, а также дополнительно на расстоя­нии 50 м от скважин;

на коллекторах - на каждом километре и дополнительно в местах их пересечения или сближения, а также у головных сооружений.

4.1.6. В местах подключения контрольного провода к сооружению дол­жна быть обеспечена возможность контакта неполяризующего электрода сравнения с грунтом.

4.2. При контроле электрохимической защиты проводят:

снятие показаний амперметра, вольтметра и прибора оценки суммар­ного времени работы под нагрузкой катодной станции;

измерение потенциала трубопровода в точках дренажа установок ка­тодной и протекторной защиты;

измерение среднечасовых тока дренажа и потенциала трубопровода в точке дренажа в период максимальной нагрузки источника блуждающих токов;

измерение тока протекторной установки.

Результаты контроля электрохимической защиты заносят в полевой журнал непосредственно на месте.

4.2.1. Измерения защитных потенциалов «сооружение-земля» на всех контрольно-измерительных пунктах следует проводить не реже двух раз в год относительно неполяризующегося электрода сравнения прибором с входным сопротивлением не менее 10 МОм/В. Допустимо проводить из­мерения прибором с входным сопротивлением не менее 20 кОм/В на двух пределах с исключением ошибки измерения, при условии увлажнения грунта в местах установки электродов сравнения.

4.2.2. На участках защищаемых сооружений, имеющих минимальные (по абсолютной величине) значения защитных потенциалов, дополнитель­ные измерения защитных потенциалов проводят методом выносного эле­ктрода сравнения непрерывно или с шагом не более 10 м не менее одного раза в 3 года в период максимального увлажнения сооружения, а также дополнительно в случаях изменения режима работы установок катодной защиты и при изменениях, связанных с развитием технологической систе­мы электрохимической защиты, источников блуждающих токов и сети по­дземных сооружений.

4.2.3. Измерение поляризационных потенциалов на сооружениях, обо­рудованных для этих целей специальными контрольно-измерительными пунктами, проводят по методике ГОСТ 9.015-74. Специальные контроль­но-измерительные пункты должны быть установлены в точках дренажа, в зонах минимальных защитных потенциалов и в других местах по требова­нию НТД.

4.2.4. Защищенность сооружений по протяженности определяют по результатам периодических измерений их защитных потенциалов. Защи­щенность сооружений во времени определяют по результатам измерений расхода электроэнергии установками электрохимической защиты за вре­мя между периодическими измерениями защитных потенциалов путем приведения его к среднесуточному значению и сравнения с токами защи­ты установки при периодических измерениях защитных потенциалов.

4.2.5. Проверку работы электрохимической защиты следует осуществ­лять в соответствии с НТД на конкретные виды сооружений, но не реже:

одного раза в месяц - на установках катодной защиты, обеспеченных дистанционным контролем;

двух раз в месяц - на установках катодной защиты, не обеспеченных дистанционным контролем;

четыре раза в месяц - на установках дренажной защиты;

одного раза в 6 мес. - на контролируемых установках протекторной за­щиты.

4.3. Контроль за выполнением мероприятий по ограничению токов утечки с рельсовой цепи электрифицированного железнодорожного тран­спорта осуществляется по ГОСТ 9.015-74.

4.4. Оценку состояния защитных покрытий осуществляют в процессе строительства сооружений как в период нанесения защитных покрытий, так и при приемке сооружений.

4.5. Защитные покрытия сооружений при подземной, подводной (с за­глублением в дно) и наземной (с засыпкой) прокладках контролируют по­сле нанесения по показателям и нормам табл. 1, рекомендуемого прило­жения 1 и дополнительно по согласованию с заказчиком по показателям и нормам соответствующих НТД.

При разрушающих методах контроля защитное покрытие должно быть отремонтировано в соответствии с п. 2.5 и проконтролировано по п. 4.16.

4.6. При неудовлетворительных результатах испытаний по какому-либо показателю качества защитного покрытия проводят повторные испытания на удвоенном количестве образцов.

4.7. При нанесении любого защитного покрытия как в заводских, базо­вых, так и трассовых условиях следует проводить визуальный осмотр с це­лью контроля состояния покрытия (поры, вздутия, гофры, складки не до­пускаются).

4.8. При нанесении полимерных лент и оберток следует контролиро­вать ширину нахлеста смежных витков, которая при однослойном нанесе­нии составляет не менее 3 см, при двухслойном покрытии наносимый ви­ток должен перекрывать уложенный на 50 % его ширины плюс 3 см.

4.9. Толщину защитного покрытия контролирует без его разрушения с помощью толщиномеров типа МТ-30П и МТ-33П. Толщину покрытия из консистентной смазки контролируют толщиномером типа ИТСП-1. Про­верку толщины проводят:

при заводском или базовом нанесении - на 10 % труб и в местах, вы­зывающих сомнение, не менее чем в трех сечениях по длине трубы и в че­тырех точках каждого сечения;

при трассовом нанесении - не менее одного замера на каждые 100 м трубопровода и в местах, вызывающих сомнение, в четырех точках каж­дого сечения.

4.10. Адгезию защитного покрытия контролирует по методике справо­чного приложения 4 (метод А - для покрытий из полимерных лент; метод Б - для покрытий на основе битумных мастик):

при заводском или базовом нанесении - на 2 % труб, а также в местах, вызывающих сомнение;

при трассовом нанесении - через каждые 500 м, а также в местах, вы­зывающих сомнение.

4.10.1. Допускается в случаях, оговоренных примечанием 1 к табл. 1, контролировать адгезию защитного покрытия трассового нанесения вы­резом треугольника с углом около 60 0 и сторонами 3-5 см с последую­щим снятием покрытия ножом от вершины надреза.

Адгезия плечного покрытия считается удовлетворительной, если выре­занный треугольник самостоятельно не отслаивается, а поднимается но­жом с некоторым усилием, при этом на трубе должна остаться грунтовка и часть подклеивающего слоя.

Адгезия покрытия на битумной основе считается удовлетворительной, если вырезанный треугольник не отслаивается, а при отрыве значительная часть грунтовки и мастики остается на поверхности трубы.

4.11. Прочность при ударе защитного покрытия контролируют в завод­ских или базовых условиях по методике справочного приложения 5 на 2 % труб, а также в местах, вызывающих сомнение.

4.12. Переходное сопротивление защитного покрытия после его нане­сения контролируют методом «мокрого» контакта по рекомендуемому приложению 6.

Замеры проводят:

в заводских или базовых условиях - на 5 % труб и в местах, вызываю­щих сомнение;

в трассовых условиях - через каждые 200 м трубопровода и в местах, вызывающих сомнение.

4.13. Сплошность защитного покрытия смонтированного трубопрово­да контролируют перед укладкой в траншею искровым дефектоскопом типа ДИ-74 или ДЭП-1. Напряжение контроля сплошности выбирается по рекомендуемому приложению 1. Контролю на сплошность подлежит все сооружение.

4.13.1. В случае пробоя защитного покрытия проводят ремонт дефект­ных мест по ПТД на соответствующий вид защитного покрытия. Отремон­тированные участки следует повторно проконтролировать по п. 4.16.

4.14. Контроль сплошности защитного покрытия на уложенном или за­сыпанном трубопроводе, находящемся в незамерзшем грунте, проводят не ранее чем через две недели после засыпки, искателем повреждений ИН-74 или другим аналогичным прибором, после чего, в случае необхо­димости, изоляция должна быть отремонтирована по НТД на соответству­ющий вид покрытия.

4.15. Законченные строительством участки трубопроводов подлежат контролю по переходному сопротивлению методом катодной поляриза­ции (по рекомендуемому приложению 6) на соответствии нормам табл. 1 в период, когда глубина промерзания грунта не превышает 0,5 м. При не­соответствии действительной величины переходного сопротивления нор­мам табл. 1 необходимо обнаружить повреждение защитного покрытия, отремонтировать их и после засыпки трубопровода провести повторное измерение величины переходного сопротивления.

4.16. На деталях сооружения, перечисленных  в п. 2.5. состояние защит­ного покрытия контролируют:

по сплошности - на всей поверхности защитного покрытия этих дета­лей по п. 4.13;

по остальным показателям табл. 1 - в местах, вызывающих сомнение.

4.17. Защитные покрытия сооружений при наземной прокладке конт­ролируют по пп. 4.18-4.20.

4.18. Металлические покрытия контролируют:

визуально по п. 4.7;

по толщине по п. 4.9;

по величине адгезии не менее чем на 1 % труб и в местах, вызываю­щих сомнение, по НТД.

4.19. Лакокрасочные и стеклоэмалевые покрытия контролируют:

визуально по п. 4.7;

по толщине по п. 4.9;

по сплошности по п. 4.13;

лакокрасочные покрытия - по величине адгезии не менее чем на 1 % труб и в местах, вызывающих сомнение, по ГОСТ 15140-78.

4.20. Покрытия из консистентных смазок контролируют:

визуально по п. 4.7;

по толщине по п. 4.9.

4.21. Контроль состояния защитных покрытий сооружения в условиях эксплуатации должен проводиться не реже одного раза в год в весенне-осенний период.

Контроль переходного сопротивления проводят:

для интегральной оценки участка трубопровода - на основе данный из­мерений параметров электрохимической защиты по рекомендуемому приложению 6;

для выборочной оценки - методом «мокрого» контакта по рекомен­дуемому приложению 6 не менее чем в одном шурфе на каждые 10 км трубопровода.

4.22. Документация по контролю состояния электрохимической защи­ты и защитного покрытия подлежит хранению в течение всего периода эк­сплуатации сооружения.

5. ТРЕБОВАНИЯ БЕЗОПАСНОСТИ

5.1. До начала выполнения работ по комплексной защите сооружений от коррозии должен быть разработан проект производства работ с инже­нерными разработками, обеспечивающими безопасность работающих.

5.2. При осуществлении работ по комплексной защите сооружений от коррозии следует выполнять требования техники безопасности в соответ­ствии с ГОСТ 12.3.005-75, ГОСТ 12.3.008-75, ГОСТ 12.3.016-79 и «Правила­ми пожарной безопасности при проведении строительно-монтажных ра­бот».

5.3. К выполнению работ по комплексной защите сооружений от кор­розии допускаются лица не моложе 18 лет, прошедшие медицинское ос­видетельствование, обучение и инструктаж по ГОСТ 12.0.004-79.

5.4. Рабочие должны обеспечиваться спецодеждой, обовью и предо­хранительными приспособлениями, согласно существующим нормам.

5.5. При электромонтажных и электроизмерительных работах по элект­рохимической защите сооружений должны соблюдаться «Правила техни­ческой эксплуатации электроустановок потребителей и правила техники безопасности при эксплуатации электроустановок потребителей», утвер­жденные Госэнергонадзором.

5.6. При проведении работ по комплексной защите сооружений от коррозии на рабочих местах должны обеспечиваться требования:

по шуму - в соответствии с ГОСТ 12.1.003-83;

по вибрации - в соответствии с ГОСТ 12.1.012-78;

содержание вредных веществ в воздухе рабочей зоны не должно пре­вышать предельно допустимых концентраций, установленных ГОСТ 12.1.005-76.

ПРИЛОЖЕНИЕ 1

Рекомендуемое

ЭЛЕКТРИЧЕСКОЕ НАПРЯЖЕНИЕ ПРИ КОНТРОЛЕ

СПЛОШНОСТИ ЗАЩИТНЫХ ПОКРЫТИЙ

1. Сплошность защитных покрытий устанавливают по отсутствию про­боя при электрическом напряжении, 5 кВ на 1 мм толщины покрытия, включая обертку.

2. Исключение составляют защитные покрытия на основе эпоксидных красок и стеклоэмалей, для которых электрическое напряжение составля­ет 2 кВ на всю толщину, для лакокрасочных покрытий - 1 кВ на всю толщи­ну.

ПРИЛОЖЕНИЕ 2

Рекомендуемое

1. Минимальные защитные потенциалы «сооружение-земля» (относи­тельно медносульфатного электрода сравнения) в зависимости от условий прокладки приведены в табл. 1.

Таблица 1

Условия применения

катодной защиты

Минимальный защитный

потенциал, В

 

с омической составляющей

поляризационный

При прокладке сооружений в условиях возможной микроби­ологической коррозии; при на­личии блуждающих токов про­мышленной частоты; на участ­ках сооружений с температурой транспортируемого продукта выше 293 К (20 ОС) до 333 К (60 ОС); в грунтах с удельным соп­ротивлением менее 10 Ом×м или содержанием водораст­во­римых солей более 1 г на 1 кг грунта

 

 

 

 

 

 

 

 

 

 

 

-1,00

 

 

 

 

 

 

 

 

 

 

 

-0,95

На участках сооружений с тем­пературой транспортируемого продукта выше 333 К (80 ОС) до 353 К (80 ОС)

 

 

 

-1,10

 

 

 

-1,00

На участках сооружений с тем­пературой транспортируемого продукта выше 353 К (80 ОС)

 

 

-1,20

 

 

-1,05

2. Максимальные допустимые защитные потенциалы «сооружение-зе­мля» (относительно медносульфатного электрода сравнения) в зависимо­сти от условий прокладки приведены в табл. 2.

Условия применения

катодной защиты

Минимальный защитный

потенциал, В

 

с омической составляющей

поляризационный

При прокладке сооружений с температурой транспортируе­мого продукта выше 333 К (60 °С) на участках с уровнем грун­товых вод не менее 6 мес. в году выше нижней образующей тру­бопровода и при удельном эле­ктрическом сопротивлении гру­нта менее 10 Ом×м, при под­вод­ной прокладке сооружений с температурой транспортируе­мого продукта выше 333 К (60 °С)

 

 

 

 

 

 

 

 

 

 

 

 

-1,50

 

 

 

 

 

 

 

 

 

 

 

 

-1,15

При прокладке во всех других условиях сооружений:

 

 

с битумной изоляцией

-2,50

-1,15

с полимерной пленочной изо­ляцией

 

-3,50

 

-1,15

Примечание. Для сооружений из упрочненных сталей с пределом прочности 0,60 МПа (6 кгс/см2) и более не допускается повышение поляризационного потенци­ала ниже величины минус 1,1 В.

ПРИЛОЖЕНИЕ 3

Обязательное

ТРЕБОВАНИЯ К СРЕДСТВАМ ЭЛЕКТРОХИМИЧЕСКОЙ ЗАЩИТЫ

1. Средства электрохимической защиты должны обеспечивать катод­ную поляризацию сооружений в соответствии с требованиями настояще­го стандарта независимо от условий применения. Номинальные парамет­ры средств катодной и электродренажной защиты определяют по ГОСТ 9.015-74. Средства протекторной защиты должны быть изготовлены из сплавов на основе:

магния чистотой 99,90-99,96;

цинка чистотой 98,50-99,90;

алюминия чистотой 99,00-99,99.

2. Катодные станции, усиленные и поляризационные дренажи должны иметь плавную или ступенчатую регулировку выходных параметров по напряжению или току от 10 до 100 % номинальных значений.

3. Средства катодной электродренажной защиты должны обеспечивать безопасность обслуживания по классу защиты 01 ГОСТ 12.2.007.0-75.

4. Уровень шума, создаваемый средствами катодной и электродренаж­ной защиты, на всех частотах не должен превышать 60 дБ.

5. Катодные станции и усиленные дренажи должны иметь защиту от атмосферных перенапряжений на сторонах питания и нагрузки; напряже­ние срабатывания защиты должно быть менее обратного напряжения применяемых вентилей.

6. Уровень индустриальных радиопомех, создаваемых катодными стан­циями и дренажами по ГОСТ 16842-82, не должен превышать величин, предусмотренных ГОСТ 23511-79; уровень гармонических составляющих тока защиты при подключении к рельсовым сетям железных дорог не дол­жен превышать норм ГОСТ 9.015-74.

7. По условиям эксплуатации окрашенные поверхности катодных стан­ций и дренажей должны относится к категории размещения группы усло­вий эксплуатации Ж2 по ГОСТ 9.104-79, иметь показатели внешнего вида не ниже IV класса по ГОСТ 9.032-74, и окраска должна быть светлых тонов.

8. Конструкция и схема катодных станций и дренажей должны обеспе­чивать возможность непрерывной работы без профилактического обслу­живания не менее 6 мес.

9. Технический осмотр, профилактическое обслуживание и текущий ремонт катодных станций и дренажей следует проводить не реже одного раза в месяц и дополнительно при изменении параметров установок элек­трохимической защиты.

При этом проводят:

осмотр всех, доступных для внешнего наблюдения, конструктивных элементов;

проверку контактных соединений и устранение неисправностей;

регистрацию показаний приборов, измерение и, при необходимости, регулировку потенциала сооружения в точке дренажа;

техническое обслуживание в соответствии с требованиями НТД по эксплуатации.

Все виды неисправностей и отказов в работе следует фиксировать в полевом журнале с указанием времени их обнаружения и устранения.

10. Производственное оборудование, применяемое при проведении работ по комплексной защите сооружений от коррозии, должно соответ­ствовать требованиям ГОСТ 12.2.003-74. Машины и механизмы, применя­емые для профилактического обслуживания и текущего ремонта средств электрохимической защиты, а также при ремонтно-строительных работах, должны соответствовать требованиям ГОСТ 12.2.004-75.

11. Строительно-монтажные работы по ремонту комплексной защиты магистральных трубопроводов, заполненных транспортируемым продук­том, должны выполняться на основании письменного разрешения орга­низаций, эксплуатирующих их. На участках трубопроводов, при наличии утечки газа, нефти или нефтепродуктов запрещается проводить работы до удаления транспортируемого продукта.

12. Автоматические устройства катодной защиты должны обеспечи­вать стабильность тока или потенциала с погрешностью, не превышаю­щей 2,5 % от заданного значения.

Катодные станции и дренажи должны соответствовать ГОСТ 15150-69 в части:

климатического исполнения У категории размещения 1 для работы при температурах от 228 К (-45 ОС) до 318 К (+45 ОС) в атмосфере типа II и при относительной влажности до 98 % при температуре 298 К (+25 ОС);

климатического исполнения ХЛ категории размещения 1 для работы при температурах от 213 К (-60 ОС) до 313 К (+40 ОС) в атмосфере типа II и при относительной влажности до 98 % при температуре 298 К (+25 °С).

14. Катодные станции и дренажи должны иметь защиту от воздействия окружающей среды и соприкосновения с токоведущими частями степени не ниже IР34 по ГОСТ 12.2.007.0-75 и «Правилам устройства электроуста­новок».

15. Коэффициент полезного действия вновь разрабатываемых катод­ных станций должен быть не менее 70 %.

16. Соединительные кабели в установках катодной и дренажной защи­ты должны иметь полимерную шланговую изоляцию токоведущих жил без металлической оболочки с пластмассовым шланговым покровом.

17. Максимальная температура обмоток трансформатора и реакторов катодных станций не должна превышать 393 К (+120 °С) при температуре эксплуатации в соответствии с п. 13 настоящего положения.

18. Входное сопротивление регулирующих устройств на выводах под­ключения электродов сравнения автоматических катодных станций долж­но быть не менее 0,1 МОм.

19. Состав комплекта запасных частей и инструментов катодных стан­ций и дренажей должен определяться, исходя из параметров надежности их элементов, и обеспечить работу устройств не менее 30 % всего срока их службы.

20. Испытания опытных образцов средств электрохимической защиты должны проводиться в условиях трассы действующих трубопроводов, продолжительность испытаний должна быть не менее одного года.

ПРИЛОЖЕНИЕ 4

Справочное

ОПРЕДЕЛЕНИЕ АДГЕЗИИ ЗАЩИТНЫХ ПОКРЫТИЙ

1. Контроль адгезии покрытий проводится двумя методами:

Метод А применяется для контроля адгезии защитных покрытий из по­лимерных лент, метод Б - для контроля покрытий на основе битумных мастик.

2. Требования к образцам

2.1. Образцами для испытания служат трубы с защитными покрытия­ми из полимерных лент или на основе битумных мастик, отобранных по п. 4.10.

2.2. Определение адгезии проводят в трех точках, отстоящих друг от друга на расстоянии не менее 0,5 м.

3. Метод А

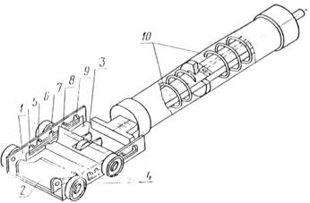
3.1. Аппаратура

Прибор адгезиметр АР-2 (черт. 1) состоит корпуса 1, на котором зак­реплен зажим 2 для удержания полосы отслаиваемого покрытия и сталь­ной нож 3 из двух параллельно установленных лезвий, расстояние между которыми может изменяться от 10 до 40 мм. Для опоры на трубу и фик­сации постоянного угла отслаивания »180О корпус установлен на ролики 4, одну пару из которых можно передвигать и фиксировать в гнездах 5-9 в зависимости от диаметра трубы. К корпусу прикреплен силоизмеритель с двумя последовательно расположенными пружинами 10.

 

 

Черт. 1

 

3.2. Подготовка к испытаниям

3.2.1. Подвижные ролики устанавливают на приборе в соответствую­щие гнезда в зависимости от диаметра трубы:

диаметр трубы, мм

гнездо

£720

5

820

6

1020

7

1220

8

1420

9

3.2.2. Ножи, закрепленные на корпусе прибора, опускают и с их помо­щью вырезают полосу 2 (черт. 2) защитного покрытия 1 шириной от 10 до 40 мм в зависимости от ожидаемой величины адгезии (см. табл. 1 настоя­щего стандарта):

при величине адгезии от 30 до 40 Н/см (от 3 до 4 кгс/см) ширина поло­сы 10-15 мм;

при величине адгезии от 1 до 5 Н/см (от 0,1 до 0,5 кгс/см) - 30-40 мм.

 

 

Черт. 2

 

3.2.3. Стальным ножом надрезают конец вырезанной полосы (черт. 2), приподнимают его и закрепляют в зажиме прибора.

3.2.4. Прибор устанавливают на трубу с защитным покрытием, добива­ясь ее контакта со всеми роликами.

3.3. Проведение испытаний

3.3.1. Передвигая прибор по трубе, проводят отслаивание надрезанной полосы на длину 100 мм, измеряя устойчивое усилие отслаивания и визу­ально определяя характер разрушения (адгезионный, когезионный, сме­шанный).

Адгезионный характер разрушения - обнажение до металла;

когезионный характер разрушения - отслаивание по подклеивающему слою или по грунтовке;

смешанный характер разрушения - совмещение адгезионного и коге­зионного характера разрушений.

4. Адгезию защитных покрытий (а), Н/см (кгс/см), определяют по фор­муле

                                                                            

где F-усилие отслаивания, Н (кгс);

b-ширина отслаиваемой ленты, см.

5. Обработка результатов испытаний

5.1. За величину адгезии защитного покрытия принимают среднее ари­фметическое трех измерений, вычисленное с погрешностью до 1,0 Н/см (0,1 кгс/см).

5.2. Запись результатов измерения проводят по форме 1.

Форма 1

Все графы обязательны к заполнению

Ведомство или принимающая организация

АКТ

определения адгезии защитных покрытий из полимерных лент

Вид, тип и конструкция защитного покрытия _________________

Диаметр трубы (трубопровода), мм __________________________

Да­та из­ме­ре­ния

Номер партии, участок трубо­провода

Темпе­ратура окру­жающе­го воз­духа К(ОС)

Номер измере­ний

Усилие отслаи­вания F, Н (кгс)

Ширина отслаи­ваемой полосы b, см

Величина адгезии А, Н/см (кгс/см)

Ха­рак­тер раз­ру­ше­ния

 

 

 

1

 

 

 

 

 

 

 

2

 

 

 

 

 

 

 

3

 

 

 

 

 

 

 

Среднее

 

 

 

 

Адгезия партии труб, участка трубопровода __________________

соответствует, не                  

соответствует требуемой величине

Дата. Подписи лиц, проводивших определение

 

 

6. Метод Б

6.1. Аппаратура

Прибор СМ-1 (черт. 3) состоит из корпуса 1, внутри которого располо­жена перемещающаяся система ведущего 2 и ведомого 3 штоков соеди­ненных между собой тарированной пружиной 4. Ведущий горизонталь­ный шток 2, предназначенный для сжатия пружины 4, приводится в дви­жение вращением винта 5, шарнирно закрепленного в торцевой части ко­рпуса прибора. На штоке 2 закреплен кронштейн 6 с регулировочным винтом 7 и стопорной гайкой 8, предназначенные для передачи значений линейной деформации тарированной пружины 4 на подвижную ножку индикатора 9. Индикатор 9 укреплен в чаше 10 при помощи стопорного винта 11.

Нож 12 для сдвига образца защитного покрытия укреплен внутри вер­тикального штока 13, перемещающегося внутри втулки 14 при вращении винта 15, закрепленного шарнирно в передней части корпуса прибора 16.

На нижнем основании корпуса прибора укреплены три опорных ножа 17, предназначенные для крепления прибора на поверхности изолирован­ного трубопровода.

На верхней съемной крышке прибора 18 укреплена шкала 19 для пе­ресчета показаний индикатора 9 на усиление сдвига образца.

В комплект прибора входит стальной нож для надреза защитного пок­рытия.

 

 

Черт. 3

 

6.2. Подготовка к испытаниям

6.2.1. Стальным ножом 12 вручную (черт. 3) делают надрез размером 10х10 мм до металла в испытуемом защитном покрытии 1 (черт. 4).

6.2.2. Вокруг надреза расчищают площадку 2 размером 30х35 мм (сни­мают покрытие) для сдвига образца покрытия 3.

6.2.3. Устанавливают прибор СМ-1 на защитное покрытие так, чтобы передняя грань ножа 12 находилась против торцевой плоскости вырезан­ного образца (черт. 4).

 

 

Черт. 4

 

6.2.4. Поднимают вверх нож 12 с помощью вращения винта 15, затем нажимают на корпус прибора так, чтобы опорные ножи 17 вошли в защи­тное покрытие.

6.2.5. Подводят нож 12 с помощью вращения винта 5 до соприкоснове­ния с торцевой плоскостью образца, вращением винта 15 опускают нож до металлической поверхности трубы.

6.2.6. Снимают крышку прибора 18, устанавливают нуль на индикато­ре доведением подвижной ножки индикатора до соприкосновения с тор­цом регулировочного винта 7 и вращением верхней подвижной обечайки индикатора.

6.3. Проведение испытаний

6.3.1. Передают усилие с помощью вращения винта 5 на нож 12, а сле­довательно, и на образец защитного покрытия через систему штока 2 и 3 и тарированную пружину 4. Вращение винта 5 проводят по часовой стрелке (приблизительно) со скоростью 1/4 об/с, что соответствует скорости дефо­рмации пружины 15 мм/мин.

Деформацию пружины, пропорциональную передаваемому усилию, фиксируют индикатором. Ведомый шток 3 вместе с ножом 12 горизонта­льно перемещается, в результате чего индикатор смещается относительно торцевой плоскости регулировочного винта 7. Рост показаний индикатора при этом прекращается. Фиксируют максимальный показатель индикато­ра в миллиметрах и по шкале 19 определяют усилие сдвига образца защит­ного покрытия. Визуально определяют характер разрушения (адгезион­ный, когезионный, смешанный) по п. 5.1 настоящего приложения.

6.3.3. Измерения проводят в интервале температур защитного покры­тия от 258 до 298 К (от минус 15 до 25 ОС). При температуре выше 298 к (25 ОС) допускается показатель менее 0,20 МПа (2,00 кгс/см2), характеризую­щий адгезию материала (см. табл. 1 настоящего стандарта).

7. Обработка результатов испытаний

7.1. За величину адгезии защитного покрытия, выраженную в МПа (кгс/см2), принимают среднее арифметическое трех измерений с точнос­тью до 0,01 МПа (0,1 кгс/см2).

7.2. Запись результатов измерений проводят по форме 2.

Форма 2

Все графы обязательны к заполнению

Ведомство или принимающая организация

АКТ

определения адгезии защитных покрытий на основе битума

Вид, тип и конструкция защитного покрытия _________________

Диаметр трубы (трубопровода), мм __________________________

Да­та из­ме­ре­ния

Номер партии, участок трубо­провода

Темпе­ратура окру­жающе­го воз­духа К(°С)

Номер измерений

Показа­ния инди­катора, мм

Величина адгезии МПа (кгс/см2)

Характер разруше­ния

 

 

 

1

 

 

 

 

 

 

2

 

 

 

 

 

 

3

 

 

 

 

 

 

Среднее

 

 

 

Адгезия партии труб, участка трубопровода _____________________

соответствует,   

не соответствует требуемой величине

Дата. Подписи лиц, проводивших определение

 

 

ПРИЛОЖЕНИЕ 5

Справочное

МЕТОД КОНТРОЛЯ ЗАЩИТНЫХ ПОКРЫТИЙ

ПО ЗАДАННОЙ ПРОЧНОСТИ ПРИ УДАРЕ

1. Требования к образцам

1.1. Измерения проводят на 2 % труб с защитным покрытием в 10 точ­ках, отстоящих друг от друга на расстоянии не менее 0,5 м, а также в мес­тах, вызывающих сомнение.

2. Аппаратура

2.1. Ударное приспособление (черт. 1), состоящее из основания 1, нап­равляющей 3 и свободно падающего груза 5.

 

 

Черт. 1

 

Основание 1-стальная треугольная плита толщиной 5 мм, снабженная уровнем (индикатором горизонтальности) для установки ее в горизонта­льном положении на трубе 8 с испытуемым покрытием и винтами-нож­ками 7 размером М5 х 50 с расстоянием между ними 100 мм, позволяю­щими устанавливать ударное приспособление на трубе любого диаметра.

Направляющая 3 со шкалой от 0 до 50 см - стальная труба, закреплен­ная под прямым углом к основанию высотой 700 мм, внутренним диамет­ром 60 мм, толщиной стенки 0,5 мм с продольной прорезью 600х5 мм.

Свободно падающий груз 5 с постоянной массой, равной (1±0,001) кг, включает в себя:

стальной стакан наружным диаметром 59 мм, высотой 150 мм, толщи­ной стенки 1 мм;

стальной боек 6 твердостью HRC 60 сферической формы с радиусом 8 мм, закрепленный у основания стакана;

винт-рукоятку 9 размером М4 х 100.

Масса свободно падающего груза может быть увеличена при помощи дозированных утяжелителей 4-стальных цилиндров наружным диаметром 57 мм и массой 0,25 кг, размещаемых в стакане.

2.2. Искровой дефектоскоп типа ДИ-74 или ДЭП-1 используют для оп­ределения сплошности защитного покрытия.

3. Подготовка к испытаниям

3.1. Контроль сплошности покрытия проводят по рекомендуемому приложению 1.

3.2. Массу падающего груза (m), кг, вычисляют по формуле

                                                                        

где Е - прочность при ударе, Дж (кгс×см) (по нормам табл. 1 настоящего стандарта)

g-ускорение свободного падения, 9,8 м/с2;

h-высота падения груза, 0,5 м.

3.3. С помощью дозированных утяжелителей устанавливают на прибо­ре требуемую массу свободно падающего груза, округляя ее в сторону увеличения до массы, кратной 0,25 кг.

3.4. Ударное приспособление устанавливают на поверхности покрытия в выбранной точке с помощью винтов-ножек 7 и уровня 2.

4. Проведение испытаний

4.1. Свободно падающий груз поднимают высоту 0,5 м и сбрасывают его на поверхность защитного покрытия.

4.2. Сплошность защитного покрытия в месте удара контролируют ис­кровым дефектоскопом по рекомендуемому приложению 1.

Критерием неразрушения защитного покрытия при ударе является от­сутствие в местах удара пор и трещин.

4.3. Испытания проводят при температуре защитного покрытия (293±5)ОС.

5. Обработка результатов испытаний

5.1. Защитное покрытие считают прошедшим контроль, если при ис­пытании 10 точках не менее, чем в 9-защитное покрытие оказалось нераз­рушенным.

5.2. Запись результатов проводят по формуле 1.

Форма 1

Все графы обязательны к заполнению

Ведомство или принимающая организация

АКТ

контроля прочности защитных покрытий при ударе

Вид, тип и конструкция защитного покрытия ___________________

Диаметр трубы (трубопровода), мм ___________________________

Количество испытанных труб _______________,шт.

Напряжение на щупе дефектоскопа, кВ ________________________

Требуемая прочность при ударе, Дж (кгс×см) (по табл. 1 настоящего стандарта) __________________________________________________

Дата изме­рения

Номер пар­тии, участок трубопрово­да

Номер измерений

Результат дефектоскопии

Заключение по каждой трубе

 

1-я труба

1

 

 

 

 

2

 

 

 

 

3

 

 

 

 

4

 

 

 

 

5

 

 

 

 

6

 

 

 

 

7

 

 

 

 

8

 

 

 

 

9

 

 

 

 

10

 

 

 

2-я труба

«

 

 

Прочность при ударе партии труб (участка трубопровода)__________

соответствует, не соответствует требуемой величине

Дата. Подписи лиц, проводивших контроль

 

 

ПРИЛОЖЕНИЕ 6

Рекомендуемое

ОПРЕДЕЛЕНИЕ ПЕРЕХОДНОГО

СОПРОТИВЛЕНИЯ ПОКРЫТИЙ

1. Метод «мокрого» контакта

1.1. Требования к образцам

1.1.1. Образцом является участок трубы длиной не менее 0,5 м.

1.1.2. Измерения проводят после нанесения покрытий в соответствии с п. 4.12 настоящего стандарта:

в заводских или базовых условиях - в одном сечении трубы;

в трассовых условиях - в одном сечении трубы;

на действующем трубопроводе - в соответствии с п. 4.21 настоящего стандарта - в одном сечении трубы по центру шурфа.

1.2. Аппаратура, материалы, реактивы

Источник постоянного напряжения на выходе ³ 30 В.

Вольтамперметр, класс точности 0,4 типа М 253.

Микроамперметр, класс точности 1,5 типа М 95.

Резистор переменный, нормальная величина сопротивления до 1,5 кОм, мощность рассеяния 1 Вт.

Электрический провод типа ПГВ сечением 0,75 мм2.

Металлический электрод-бандаж шириной не менее 0,3 м.

Полотенце тканевое площадью, равной площади электрода.

Натрий хлористый по ГОСТ 4233-77.

1.3. Подготовка к испытаниям

1.3.1. В месте измерения очищают поверхность защитного покрытия 4 (черт. 1) от свободной влаги и загрязнений.

1.3.2. Приготавливают 3 %-ный раствор хлористого натрия (NaCl).

1.3.3. Накладывают тканевое полотенце 3, смоченное в 3 %-ном раст­воре NaCl, на изолированную поверхность трубы по периметру. Наклады­вают металлический электрод-бандаж 2 на полотенце и плотно обжимают его по трубе с помощью болтов.

1.3.4. Собирают электрическую схему по черт. 1.

 

 

Черт. 1

 

1.3.5. Присоединяют отрицательный полюс источника питания к оголе­нному участку трубы 5 с помощью механического контакта 1.

1.3.6. На действующем трубопроводе перед проведением работ по пп. 1.3.1-1.3.4 настоящего приложения следует отрывать шурф таким обра­зом, чтобы можно было проводить замеры и визуальный осмотр защит­ного покрытия.

1.4. Проведение испытаний

1.4.1. Изменения проводят по схеме черт. 1.

1.4.2. Резистором r отбирают от источника питания GB рабочее напря­жение, равное 30В. Напряжение контролируют с помощью вольтметра Р1.

1.4.3. Фиксируют силу тока по амперметру Р2.

1.5. Обработка результатов испытаний

Величину переходного сопротивления (R), Ом×м2, вычисляют по фор­муле

                                                                                

где U-рабочее напряжение, В;

I-сила тока, А;

S-площадь металлического электрода-бандажа, м2.

Величину переходного сопротивления вычисляют для каждого значе­ния измеряемой силы тока. Запись результатов измерений в строитель­ный период - по форме 1; в период эксплуатации - по форме 2.

1.6. Оценка результатов

Величина переходного сопротивления в строительный период должна соответствовать нормам табл. 1 настоящего стандарта.

Форма 1

Все графы обязательны к заполнению

Ведомство или принимающая организация

АКТ

определения переходного сопротивления в строительный период

Вид, тип и конструкция защитного покрытия ___________________

Диаметр трубы (трубопровода), мм ___________________________

Замеряемая поверхность (площадь электрода), м2 ________________

Дата изме­рения

Номер пар­тии, участок трубопрово­да

Визуальная оценка защитного покрытия

Сила тока, А

Переходное сопротивле­ние, Ом×м2

При­меча­ние

 

 

 

 

 

 

 

 

 

 

 

 

 

 

 

 

 

 

 

 

 

 

 

 

Переходное сопротивление партии труб, участка трубопровода

соответствует, не  соответствует требуемой величине

Дата. Подписи лиц, проводивших определение

 

 

Форма 2

Все графы обязательны к заполнению

Ведомство или принимающая организация

АКТ

определения переходного сопротивления в период эксплуатации трубопровода

Наименование трассы ______________________________________

Район прокладки __________________________________________

Краткая характеристика района ______________________________

топография, характеристика                

________________________________________________________

грунта, наличие линий электропередач и железных дорог

Диаметр трубы (трубопровода), мм __________________________

Вид, тип и конструкция защитного покрытия __________________

Продолжительность работы, годы ___________________________

Да­та из­ме­ре­ния

Участок трубоп­ровода и ориента­ция его обнару­жения

Глуби­на зале­гания, м

Темпе­ратура транс­порти­руемого продук­та, К(ОС)

Потен­циал участка трубо­прово­да, В

Си­ла то­ка, А

Пере­ходное соп­ротив­ление, Ом×м2

Визуа­льная оценка защит­ного пок­рытия

При­ме­ча­ние

 

 

 

 

 

 

 

 

 

 

 

 

 

 

 

 

 

 

 

 

 

 

 

 

 

 

 

 

 

 

 

 

 

 

 

 

Дата. Подписи лиц, проводивших определение

 

 

2. МЕТОД ОЦЕНКИ ПЕРЕХОДНОГО СОПРОТИВЛЕНИЯ

НА ЗАКОНЧЕННЫХ СТРОИТЕЛЬСТВОМ

УЧАСТКАХ ТРУБОПРОВОДОВ

2.1. Сущность метода

Сущность метода состоит в катодной поляризации полностью постро­енного и засыпанного участка трубопровода и оценке переходного соп­ротивления по смещению разности потенциалов «труба-земля» и силе поляризующего тока, путем расчета по результатам измерения смещения потенциала при заданной силе тока на участке трубопровода определен­ных длины и диаметра.

2.2. Аппаратура

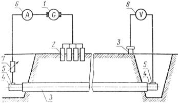
Для оценки переходного сопротивления используют передвижную исследовательскую лабораторию электрохимической защиты (ПЭЛ.ЭХЗ), аппаратура и приборы которой должны быть электрически подключены по схеме (черт. 2) которая включает в себя источник постоянного тока 1, временное анодное заземление 2, участок изолированного трубопровода, подлежащий контролю 3, неизолированные концы участка трубопровода 4, механические контакты 5, амперметр 6, резистор 7, вольтметр 8, мед­но-сульфатный электрод сравнения 9.

 

 

Черт. 2

 

2.3. Требования к образцам (участкам)

2.3.1. Контролируемый участок трубопровода не должен иметь конта­кта неизолированной поверхности трубы с грунтом, электрических и тех­нологических перемычек с другими сооружениями.

2.3.2. Временное анодное заземление оборудуют на расстоянии 200-400 м от участка трубопровода в местах с возможно меньшим удельным сопротивлением грунта из винтовых электродов, находящихся в комплекте лаборатории ПЭЛ.ЭХЗ.

2.4. Проведение испытаний

2.4.1. Измеряют естественную разность потенциалов «труба-земля» в конце участка с помощью вольтметра 8 и медно-сульфатного электрода сравнения 9, электрически соединенного с трубопроводами с помощью механического контакта 5. При этом измерении источник постоянного то­ка 1 должен быть выключен.

2.4.2. Включают источник постоянного тока и устанавливают силу тока, вычисленную по формулам:

для участков трубопроводов длиной, равной или более 4 км

                                                                  (1)

для участков трубопроводов длиной менее 4 км

                                                                  (2)

где l - длина участка трубопровода, м;

UТЗ - смещение разности потенциалов «труба-земля» в конце участка, В, вычисляемая по формулам:

для участков трубопроводов длиной, равной или более 4 км

                                                     (3)

для участков трубопроводов длиной менее 4 км

                                                    (4)

где DU1 - нормированное смещение разности потенциалов «труба-зе­мля» в конце длинного участка, равное 0,4 В;

DU2 - нормированное смещение разности потенциалов «труба-зе­мля» в конце короткого участка, равное 0,7 В;

RП - требуемое переходное сопротивление «труба-земля», Ом×м2, определяемое по табл. 1 (графа 9);

RК - конечное переходное сопротивление «труба-земля», Ом×м2, вычисляемое как сопротивление растрескиванию неизоли­рованного участка трубопровода по формуле

                                               

где Rт - продольное сопротивление трубопровода, Ом/м;

D - диаметр трубопровода, м;

Н - глубина залегания трубопровода, м;

rR - среднее электрическое сопротивление грунта, Ом×м, вычисляе­мое по формуле

                                                       

где li - длина i-го участка с удельным сопротивлением , м;

n - количество участков с различным удельным электрическим со­противлением ..

z - характеристическое сопротивление трубопровода, Ом, вычисля­емое по формуле

                                                                

shal - гиперфункция, описывающая изменение потенциала вдоль участка трубопровода;

a - постоянная распространения тока, , вычисляемая по формуле

                                                                 

Продольное сопротивление стального трубопровода, имеющего стан­дартные размеры в практике строительства магистральных трубопрово­дов, вычисляют по формуле

                                                            

где rТ - удельное сопротивление трубной стали, ;

d - толщина стенки трубопровода, мм.

2.4.3. По истечении 3 ч после включения источника тока измеряют раз­ность потенциалов «труба-земля» в конце участка.

2.5. Обработка результатов испытаний

2.5.1. Запись исходных, расчетных и измеренных данных проводят по форме 3.

Форма 3

Все графы обязательны к заполнению

Ведомство или принимающая организация

АКТ

оценки переходного сопротивления законченного строительством участка

Наименование трубопровода _______________________________

Участок трубопровода (начало __________ км, конец _______ км,

протяженность ________________________ м).

Диаметр трубы ________________ м, толщина стенки _____ мм.

Вид, тип и конструкция защитного покрытия _________________

Среднее удельное электрическое сопротивление грунта ___ Ом×м.

Требуемое переходное сопротивление __________________ Ом×м2

Конечное переходное сопротивление ___________________ Ом×м2

Продольное сопротивление ____________________________ Ом/м

Место подключения источника постоянного тока __________ км

Напряжение на выходе источника  _________________________ В

 

 

Разность потенциалов «труба-земля», В

 

Время измере­ния

Сила тока, А

естест­венная

при вклю­ченном источ­нике

Смеще­ние

Переходное сопротивление «труба-земля», Ом×м2

 

 

 

 

 

 

 

 

 

 

 

 

 

 

 

 

 

 

Переходное сопротивление участка трубопровода ________________

соответствует,   

соответствует, не  соответствует требуемой величине

Дата. Подписи лиц, проводивших определение

 

 

2.5.2. Смещение разности потенциалов () «труба-земля», вычисля­ют по формуле

                                                        

где- измеренная разности потенциалов «труба-земля» (после вклю­чения источника постоянного тока);

- естественная разность потенциалов «труба-земля» (до включе­ния источника постоянного тока).

2.5.3. Переходное сопротивление контролируемого участка вычисляют по формуле

                            

где Arsh - обратная гиперфункция расчетных аргументов.

Полученное значение величины переходного сопротивления должно соответствовать табл. 1 настоящего стандарта.

3. МЕТОД ИНТЕГРАЛЬНОЙ ОЦЕНКИ ПЕРЕХОДНОГО СОПРОТИВЛЕНИЯ НА ДЕЙСТВУЮЩИХ ТРУБОПРОВОДАХ

3.1. Сущность метода

Сущность метода аналогична изложенной оценке переходного сопро­тивления на законченных строительных участках трубопроводов (п. 2.1. приложения 6).

3.2. Аппаратура

Аппаратура и материалы аналогичны применяемым при оценке пере­ходного сопротивления на законченных строительством участках трубо­проводов. В качестве источника постоянного тока используют катодные станции, действующие на трубопроводе, и их анодные заземления, в качестве амперметра - ампер катодной станции. Соединение вольтметра с трубопроводом осуществляется в контрольно-измерительных пунктах.

Допускается использовать аппаратуру и приборы ПЭЛ.ЭХЗ, соблю­дая требования п. 2.3.2.

3.3. Требования к образцам (участкам)

3.3.1. Контролируемый участок трубопровода должен быть оборудо­ван контрольно-измерительными пунктами, количество которых должно составлять не менее одного на километр трассы.

3.3.2. До проведения измерений не менее чем за сутки включают уста­новки катодной защиты на участках трубопровода, примыкающих к конт­ролируемому.

3.4. Проведение испытаний

3.4.1. Измеряют естественную разность потенциалов «труба-земля».

3.4.2. Включают установку катодной защиты; по истечении не менее 3 ч поляризации измеряют силу тока установки и разность потенциалов «труба-земля» в контрольно-измерительных пунктах зоны действия одной установки катодной защиты.

3.5. Обработка результатов испытаний

3.5.1. Запись исходных, расчетных и измеренных величин проводят по форме 4.

Форма 4

Все графы обязательны к заполнению

Ведомство или принимающая организация

АКТ

оценки переходного сопротивления законченного строительством участка

Наименование трубопровода ________________________________

Участок трубопровода : начало __________ км, конец ________ км,

Протяженность ________________________ м

Диаметр трубы ________________________ м

Вид, тип и конструкция защитного покрытия _________________

Тип и рас­положение установки катодной защиты, км

Длина зоны дейст­вия од­ной ус­тановки l, м

Среднее значение смещения потенциала

Сила тока установки I, А

Плот­ность тока j, А/м2

Переходное сопротивление Rп, Ом×м2

 

 

 

 

 

 

 

 

 

 

 

 

 

 

 

 

 

 

 

 

 

 

 

 

 

 

 

 

 

 

 

 

 

 

 

 

Переходное сопротивление участка трубопровода _______ Ом×м2

Дата. Подписи лиц, проводивших определение

 

 

3.5.2. Переходное сопротивление на длине зоны действия одной уста­новки вычисляют по формуле

                                                                        

где- среднее значение смещения потенциала на длине зоны действия одной установки катодной защиты, В, вычисляемое по формуле

                                                         

где l - длина, определяемая расстоянием между минимальными значения­ми разности потенциалов по обе стороны от места установки катодной защиты, м;

li - длина i-го участка, м, со смещением разности потенциалов «труба-земля» Ui, В, рассчитываемым по формуле

                                                          

где- разность потенциалов «труба-земля», измеренная после вклю­чения установок катодной защиты, В;

- естественная разность потенциалов «труба-земля» до включе­ния установок катодной защиты, В;

к - количество i-ых участков, на которых смещение разности потен­циалов «труба-земля» подлежит сравнению;

j - плотность тока, А/м2, вычисляемая по формуле

                                                                         

где I - сила тока установки катодной защиты, А;

D - диаметр трубопровода, м.

3.5.3. Переходное сопротивление трубопровода (RПL), Ом·м2 вычисля­ют по формуле

                                                     

где m - число установок катодной защиты на длине L трубопровода, м, подлежащей испытанию.

СОДЕРЖАНИЕ

1. Общие положения

2. Требования к защитным покрытиям сооружений

3. Требования к электрохимической защите сооружений

4. Контроль состояния защиты от коррозии

5. Требования безопасности

Приложение 1. Электрическое напряжение при контроле сплошности за­щитных покрытий

Приложение 2. Минимальные и максимальные защитные потенциалы «сооружение-земля»

Приложение 3. Требования к средствам электрохимической защиты

Приложение 4. Определение адгезии защитных покрытий

Приложение 5. Метод контроля защитных покрытий по заданной прочно­сти при ударе

Приложение 6. Определение переходного сопротивления покрытий

ПРИЛОЖЕНИЕ 7

Справочное

СООТВЕТСТВИЕ ТРЕБОВАНИЙ

ГОСТ 25812-83 СТ СЭВ 5291-85

ГОСТ 25812-83

СТ СЭВ 5291-85

Пункт

Содержание требований

Пункт

Содержание требований

Раздел 2

Приведены требования к за­щитным покрытиям при строительстве сооружений, к их физико-механическим и защитным свойствам

1-8

Приведены требова­ния к защитным пок­рытиям при строи­тельстве

Раздел 3

Установлены требования к электрохимической защите сооружений

-

-

Раздел 4

Установлены требования к контролю состояния защиты от коррозии и в соответст­вующих приложениях при­ведены методы оценки свойств защитных покрытий

9-19

Установлены требо­вания к контролю состояния защиты от коррозии без приве­дения методов оцен­ки защитных покры­тий

Раздел 5

Установлены требования безопасности при проведе­нии работ по защите от кор­розии сооружений

-

-

(ИУС № 1 1987 г.)

Изменение № 2 ГОСТ 25812-83 Трубопроводы стальные магистраль­ные. Общие требования к защите от коррозии.

Утверждено и введено в действие Постановлением Государственного комитета СССР по стандартам от 26.06.87 № 2716

Дата введения 01.01.88

Пункт 1.4 дополнить абзацем: «Для нефтепромысловых объектов до­пускается не применять электрохимическую защиту и (или) защитные по­крытия при условии технико-экономического обоснования с учетом кор­розионной агрессивности грунтов и других условий эксплуатации при обеспечении проектного срока службы каждого объекта».

Пункт 2.1. Заменить ссылку: ГОСТ 16338-77 на ГОСТ 16338-85;

таблица 1. Обозначения сносок 4, 8 исключить;

сноски 4, 8 исключить.

Пункт 3.1 исключить.

Приложение 3. Пункт 6. Заменить ссылку: ГОСТ 16842-76 на ГОСТ 16842-82.

Пункт 14. Заменить обозначение: 1Р34 на IЗ34.

(ИУС № 11 1987 г.)




Яндекс цитирования



   Copyright © 2007-2026,  www.tehlit.ru.

[ ѓосты, стандарты, нормативы, инструкции, правила, строительные нормы ]