//
ТехЛит.ру
- крупнейшая бесплатная электронная интернет библиотека для "технически умных" людей.
WWW.TEHLIT.RU - ТЕХНИЧЕСКАЯ ЛИТЕРАТУРА

:: Алготрейдинг::


АЛГОТРЕЙДИНГ
шаг за шагом
с нуля по урокам!

Торговые роботы на PYTHON, BackTrader,
Pandas, Pine Script для TradingView. Связка с брокерами, телеграм и легкими приложениями.


ГОСУДАРСТВЕННЫЙ СТАНДАРТ СОЮЗА ССР

МАШИНЫ ЗЕМЛЕРОЙНЫЕ

СКРЕПЕРЫ С ЭЛЕВАТОРНОЙ ЗАГРУЗКОЙ

РАСЧЕТ ВМЕСТИМОСТИ КОВШЕЙ

ГОСТ 27255-87

(ИСО 6484-86)

ГОСУДАРСТВЕННЫЙ КОМИТЕТ СССР ПО СТАНДАРТАМ

Москва

ГОСУДАРСТВЕННЫЙ СТАНДАРТ СОЮЗА ССР

Машины землеройные

СКРЕПЕРЫ С ЭЛЕВАТОРНОЙ ЗАГРУЗКОЙ

Расчет вместимости ковшей

Earth-moving machinery.
Elevator scrapers.
Volumetric ratings

ГОСТ
27255-87

(ИСО 6484-86)

Срок действия с 01.01.88

до 01.01.93

1. НАЗНАЧЕНИЕ И ОБЛАСТЬ ПРИМЕНЕНИЯ

Настоящий стандарт устанавливает приближенный метод расчета объема типовых материалов, вмещаемых ковшом скрепера с элеваторной загрузкой, основанный на использовании данных о внутренних размерах ковша и условном объеме «шапки» ковша. Метод расчета используют для сравнения вместимостей ковшей.

2. ССЫЛКИ

Ссылочные документы приведены в обязательном приложении.

3. ТЕРМИНЫ И ОПРЕДЕЛЕНИЯ

3.1. Скрепер с элеваторной загрузкой - скрепер по ИСО 7133 с прикрепленным к ковшу вспомогательным механизмом для загрузки материала.

3.2. Составные части скрепера с элеваторной загрузкой - составные части по черт. 1-3.

4. РАСЧЕТ ВМЕСТИМОСТИ

4.1. Ковш располагают так, чтобы нижняя плоская поверхность ковша находилась в горизонтальном или близком к горизонтальному положении.

4.2. Положение механизма разгрузки ковша должно обеспечивать максимальную вместимость ковша.

4.3. Положение механизма элеваторной загрузки должно обеспечивать минимальное расстояние между ножом скрепера и траекторией наружных кромок скребков элеватора соответствовать документации изготовителя.

4.2. Границы геометрического объема ковша

Границами геометрического объема ковша служат:

а) внутренние поверхности боковых стенок;

б) внутренняя поверхность задней части или механизма выдвижения задней стенки;

в) днище;

г) плоскость, перпендикулярная передней поверхности ножа и проходящая через ось натяжной звездочки элеватора (черт. 3);

д) плоскость (или линейное продолжение) внутренней траектории скребков элеватора, ближайших к грузу в ковше (черт. 3);

е) плоскость, определяемая средними линиями (черт. 3), проведенными горизонтально, чтобы площадь боковой стенки, находящаяся выше этих линий, была равна площади, расположенной ниже их;

ж) вертикальные плоскости, соединяющие внутренние поверхности боковых стенок с плоскостью, определяемой средними линиями.

4.3. Границы объема «шапки» ковша

Границами объема «шапки» ковша служат:

а) верхняя горизонтальная поверхность геометрического объема (п. 4.2д)

б) плоскость (или линейное продолжение плоскости) внутренней траектории скребков элеватора (п. 4.2д);

и) плоскость, проведенная через верхнюю точку сплошной задней части ковша или механизма выдвижения задней стенки и касающаяся наружных кромок скребков элеватора (точка касания - верхний конец элеватора, черт. 4).

Уклон плоскости не должен быть менее 3:1 (18,4°) в направлении вперед и вверх от верхней точки сплошной задней части ковша или механизма выдвижения задней стенки. Если уклон менее 3:1, то ограничивающая плоскость должна соответствовать требованиям п. 4.3 г;

г) плоскость с уклоном 3:1 (в направлении назад и вниз), касательная к наружным кромкам скребков элеватора и доходящая до пересечения с задней частью ковша;

д) плоскости с уклоном 1:1 (45°), направленные вверх и к середине ковша от средних линий (черт. 5).

4.4. Номинальная вместимость ковша

Номинальная вместимость представляет собой сумму геометрического объема и объема «шапки» ковша.

Выступы (косынки, опорные рычаги элеватора в ковше скрепера и т.д.) при расчете вместимости ковша не учитывают.

5. РЕЗУЛЬТАТЫ РАСЧЕТА

5.1. Значения номинальной вместимости ковша не должны отличаться более чем на ±3% вместимости, определяемой по данному методу.

5.2. Значения номинальной вместимости ковша менее 10 м3 следует указывать с точностью до 0,1 м3, более 10 м3 - с точностью до 0,5 м3.

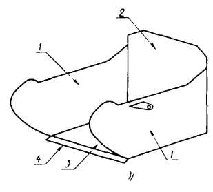
Скрепер с элеваторной загрузкой

1 - цепи; 2 - скребки: 3 - элеватор; 4 - нож

Черт. 1 Составные части ковша скрепера

Составные части ковша скрепера

1 - боковая стенка; 2 - выдвижная задняя стенка; 3 - днище; 4 - нож

Черт. 2

Границы геометрического объема

Плоскости, относящиеся к натяжной звездочке и скребкам элеватора

1 - см. п. 4.2д; 2 - средняя линия, см. п. 4.2е; 3 - днище; 4 - нож; 5 - см. п. 4.2г; 6 - см. п. 4.2д

Черт. 3

Границы объема «шапки» ковша. Касательная плоскость

1 - см. п. 4.3в; 2 - не менее 3:1, см. п. 4.3в и 4.3г; 3 - см. п. 4.3в

Черт. 4

Границы объема «шапки»

1 - см. п. 4.3д; 2 - не менее 3:1. см. п. 4.3п; 3 - средняя линия

Черт. 6

ПРИЛОЖЕНИЕ

Обязательное

ССЫЛОЧНЫЕ НОРМАТИВНО-ТЕХНИЧЕСКИЕ ДОКУМЕНТЫ

Раздел, пункт, в котором приведена ссылка

Обозначение соответствующего стандарта

Обозначение отечественного нормативно-технического документа, на который дана ссылка

3.1

ИCO 7133

-

ИНФОРМАЦИОННЫЕ ДАННЫЕ

1. ВНЕСЕН Министерством строительного, дорожного и коммунального машиностроения СССР

2. Постановлением Государственного комитета СССР по стандартам от 30.03.87 № 1033 введен в действие государственный стандарт СССР ГОСТ 27255-87, в качестве которого непосредственно применен международный стандарт ИСО 6484-86, с 01.01.88

СОДЕРЖАНИЕ

 




Яндекс цитирования



   Copyright © 2007-2026,  www.tehlit.ru.

[ ѓосты, стандарты, нормативы, инструкции, правила, строительные нормы ]