//
|
|
ГОСУДАРСТВЕННЫЙ СТАНДАРТ СОЮЗА ССР СТЕЛЛАЖИ ОСНОВЫ РАСЧЕТА ГОСТ 28766-90
ГОССТАНДАРТ РОССИИ Москва
СОДЕРЖАНИЕ 3. Расчет стеллажей с настилом для тарно-штучных грузов 4. Расчет консольных стеллажей для тарно-штучных грузов 5. Расчет консольных стеллажей для длинномерных грузов Приложение 1. Типы и исполнения стеллажей Приложение 2. Конструкция стеллажей и основные понятия
ГОСУДАРСТВЕННЫЙ СТАНДАРТ СОЮЗА ССР
Дата введения 01.01.92
Настоящий стандарт устанавливает основы расчета стальных конструкций стационарных стеллажей, обслуживаемых кранами-штабелерами по ГОСТ 16553, предназначенных для хранения грузов в производственной таре по ГОСТ 14861 и поддонах по ГОСТ 9078, а также пакетированных или уложенных в специальную тару длинномерных грузов на складах. Требования настоящего стандарта являются обязательными, за исключением требований приложений 1-2. 1. ОБЩИЕ ПОЛОЖЕНИЯ1.1. Обозначения типов и исполнений стеллажей даны в приложении 1. Конструкция стеллажей и применяемые основные понятия приведены в приложении 2. Количественный показатель номенклатуры грузов, т.е. число различных наименований изделий, хранимых в стеллаже, учитываемый в расчетах стеллажей, и типы складов приведены в табл. 1. Таблица 1
1.3. Проверку прочности, устойчивости и жесткости элементов стеллажа выполняют по методике СНиП II-23-81 «Нормы проектирования. Стальные конструкции», утвержденных Госстроем СССР, с учетом требований настоящего стандарта. При этом расчет изгибаемых элементов выполняется по формулам для упругой стадии работы материала с учетом требований настоящего стандарта. Коэффициенты условий работы принимают равными единице, для всех элементов, кроме следующих: 0,75 - для сжатых раскосов из одиночных уголков, прикрепляемых; одним болтом или привариваемых одной полкой (для неравнополочных уголков – только узкой полкой); 0,90 - для балок крановых путей стеллажей исполнений 1.2; 2.2; 3.2. Гибкость сжатых элементов стеллажей не должна превышать следующих величин:
2. НАГРУЗКИ И ИХ СОЧЕТАНИЯ2.1. Нормативная нагрузка от сил тяжести элементов стеллажа определяется по их проектным размерам. Коэффициент надежности по нагрузке принимается равным 1,05. Терминология принята по СНиП 2.01.07-85 «Нагрузки и воздействия», утвержденным Госстроем СССР. 2.2. Нормативную нагрузку от сил тяжести ограждающих конструкций стен и крыши склада определяют по данным стандартов и заводов-изготовителей или по проектным размерам и объемным, весам материалов. Коэффициент надежности по нагрузке принимается равным 1,2. 2.3. Нормативную нагрузку от сил тяжести мостового крана-штабелера с номинальным грузом определяют по данным проекта или завода-изготовителя. При этом грузовая тележка с грузом должна быть расположена в крайнем рабочем положении со стороны рассматриваемого стеллажа. Положение крана-штабелера по длине стеллажа должно быть таким, чтобы нагрузка на рассматриваемый элемент была наибольшей. Коэффициент надежности по нагрузке принимается равным 1,1. 2.4. Нормативную нагрузку от силы тяжести единичного груза (пакет или груз в таре) определяют по номинальной грузоподъемности обслуживающего крана-штабелера. При этом предполагается, что номинальная масса брутто тары соответствует номинальной грузоподъемности крана-штабелера. Значения коэффициентов надежности по нагрузке даны в разд. 3-5. 2.5. Нормативную нагрузку от сил тяжести группы складируемых грузов, приходящихся на одну стойку (колонну) стеллажа или на настил ячейки стеллажа типа 1, определяют как произведение нормативной нагрузки (п. 2.4) на число грузов в группе. 2.6. Нормативная горизонтальная нагрузка, направленная вдоль кранового пути, вызываемая торможением мостового крана-штабелера, принимается равной 0,1 от нормативной вертикальной нагрузки на приводное колесо, определенной при условиях п. 2.3. Коэффициент надежности по нагрузке принимается равным 1,1. 2.7. Нормативная горизонтальная нагрузка, направленная поперек кранового пути, вызываемая: торможением грузовой тележки мостового крана-штабелера, принимается равной 0,1 от силы тяжести грузовой тележки с номинальным грузом. Коэффициент надежности по нагрузке принимается равным 1,1. При учете этой нагрузки в расчетах прочности и устойчивости принимается, что она передается на одну балку кранового пути, распределяется поровну между опирающимися на нее колесами крана-штабелера и может быть направлена как внутрь пролета крана-штабелера, так и наружу. Горизонтальное перемещение стойки (колонны) стеллажа на уровне головки кранового рельса определяют от нормативной нагрузки, которая распределяется между двумя крайними стеллажами пропорционально жесткостям их стоек. Величина перемещения не должна превышать 1/4000 от высоты указанного уровня, отсчитываемой от основания стеллажа. Расчет выполняется путем рассмотрения балки кранового пути (вместе с горизонтальной фермой, если таковая имеется), как балки на упругих опорах. 2.8. Нормативная горизонтальная нагрузка упора в стеллаж грузозахватным органом при движении на малой скорости мостового крана-штабелера с номинальным грузом определяется как наименьшая из трех величин: суммарного тягового усилия на ободах приводных колес крана-штабелера, соответствующего пусковому моменту электродвигателей, или пробуксовке приводных колес с коэффициентом сцепления 0,2; или началу отрыва неприводных ходовых колес от крановых рельсов. Коэффициент надежности по нагрузке принимается равным 1,05. Указанная нагрузка применяется при расчете нижней панели передней ветви стоек стеллажей типов 1 и 2, в соответствии с чем грузозахватный орган принимается расположенным на уровне середины длины панели, измеряемой от основания стеллажа до первой продольной связи или ригеля. Если длина следующей панели передней ветви превосходит длину нижней панели, то и эта панель подвергается аналогичному расчету. 2.9. Нормативную горизонтальную нагрузку упора в стеллаж грузозахватным органом при движении на малой скорости грузовой тележки мостового крана-штабелера с номинальным грузом определяют как наименьшую из двух величин: суммарного тягового усилия на ободах приводных колес тележки, соответствующего пусковому моменту электродвигателя, или пробуксовку приводных колес с коэффициентом сцепления 0,2. Коэффициент надежности по нагрузке принимается равным 1,05. Направление силы упора принимается соответствующим увеличению нагрузки приводных колес. Указанная нагрузка применяется при расчете нижней панели, передней ветви стоек стеллажей типов 1 и 2, в связи с чем расположение грузозахватного органа по высоте принимается в соответствии со схемой стержневой решетки стойки. Указанная нагрузка применяется также при расчете колонн стеллажей типа 3. При этом для стеллажей исполнения 3.1 рассматривается верхнее положение грузозахватного органа, а для стеллажей исполнения 3.2 - среднее и нижнее положения. 2.10. Нормативную горизонтальную нагрузку на верхний рельсовый крановый (P1) путь при полностью выдвинутом грузозахватном органе стеллажного крана-штабелера в ньютонах, вычисляют по формуле P1=g(Ql3+M3)/Hp, (1) где g=9,81 м/с2 - ускорение свободного падения; Q - нормативная масса единичного груза, кг (см. п. 2.4); l3 - номинальный вылет грузозахватного органа, м; М3 - момент масс выдвижных частей грузозахватного органа относительно плоскости крановых путей, кг×м; Hp -расстояние верхнего рельсового кранового пути от уровня головки рельса наземного кранового пути, м. Коэффициент надежности по нагрузке принимается равным 1,25. Рассматриваемая нагрузка распределяется между верхними боковыми роликами одной стороны по правилу рычага, если число таких роликов более единицы. 2.11. Для видов нагрузок; указанных в 2.1-2.10, расчетную нагрузку, определяют как произведение нормативной нагрузки на коэффициент надежности по нагрузке. Расчетную нагрузку от сил тяжести группы складируемых грузов для расчета стоек (колонн) стеллажа получают умножением нормативной нагрузки (п. 2.5) на коэффициент сочетаний. 2.12. Расчетную нагрузку упора в стеллаж (P2) при выдвижении грузозахватного органа стеллажного крана-штабелера в случае, неправильного позиционирования грузоподъемника в ньютонах вычисляют по формуле P2=N3n3h3/u3, (2) где N3 - номинальная мощность электродвигателя выдвижения грузозахватного органа, Вт; n3 - кратность максимального момента электродвигателя; h3 - КПД механизма выдвижения грузозахватного органа; u3 - номинальная скорость выдвижения грузозахватного органа, м/с. 2.13. Расчетную нагрузку от удара мостового крана-штабелера о тупиковый упор, установленный на стеллаже, определяют согласно СНиП 2.01.07-85 «Нагрузки и воздействия», утвержденным Госстроем СССР. Нагрузка учитывается при расчете тупикового упора и элементов его крепления к балке кранового пути, а также при расчете раскосов задней плоскости стеллажей исполнений 1.2; 2.2; 3.2. 2.14. Расчетную ветровую нагрузку, действующую на стеновые ограждающие конструкции стеллажей исполнений 1.4; 2.4; и 3.4, определяют согласно СНиП 2.01.07-85 «Нагрузки и воздействия», утвержденным Госстроем СССР. Разгружающее действие ветра на крышу склада не учитывается. 2.15 Расчетную снеговую нагрузку на крышу склада определяют согласно СНиП 2.01.07-85 «Нагрузки и воздействия», утвержденным Госстроем СССР. 2.16. Расчетные сейсмические нагрузки определяют согласно СНиП II-7-81 «Строительство в сейсмических районах», утвержденным Госстроем СССР. При этом коэффициент К1, учитывающий допускаемые повреждения сооружений, принимается равным 0,25; коэффициенты К2 и Kf, учитывающие тип конструкции сооружения, принимаются равными 1,0. Сейсмические нагрузки могут действовать как в горизонтальных направлениях - вдоль или поперек стеллажа, так и в вертикальном направлении. Действие сил каждого из трех направлений рассматривается раздельно, т.е. без суммирования результатов воздействия между собой. Горизонтальные сейсмические нагрузки рассматриваются для всех исполнений стеллажей; при этом для стеллажей, установленных на уровне земли, допускается учитывать только первый тон собственных колебаний нагруженного стеллажа, а форму деформации стеллажа принимать в виде прямой для определения нагрузок, действующих вдоль стеллажа, и как для призматической консоли - для определения поперечных нагрузок. Для стеллажей, установленных на перекрытии здания, следует учитывать деформацию здания, которая принимается по результатам расчетов здания на сейсмические воздействия. Расчетную вертикальную сейсмическую нагрузку (Pc) на консоль, стеллажа в ньютонах, исполнения 3.1; 3.2; 3.3 или 3.4 вычисляют по формуле Pc=5AK1K2KfP, (3) где А - коэффициент по СНиП II-7-81; P - расчетная нагрузка на консоль по п. 5.1. 2.17. Условную горизонтальную нагрузку (Р4) вдоль стеллажа, в ньютонах, применяемую для расчета раскосов задней плоскости, вычисляют по формуле P4=200F×n, (4) где F - площадь сечения стойки (колонны) стеллажа, см2; n - количество стоек по длине стеллажа. Указанная нагрузка применяется в том случае, если она превышает продольные нагрузки (пп. 2.6; 2.13; 2.16). Нагрузка распределяется поровну между всеми расположенными в одном ярусе раскосами задней плоскости стеллажа. 2.18. Указания по учету сил тяжести складируемого груза и значения коэффициентов сочетаний нагрузок К и Кт даны в разд. 3-5. Значения коэффициентов сочетаний различных видов нагрузок для расчета стоек (колонн) стеллажей даны в табл. 2. Значения коэффициентов сочетаний нагрузок
Расчетные сочетания нагрузок для стоек (колонн) стеллажей должны приниматься согласно табл. 3.
3. РАСЧЕТ СТЕЛЛАЖЕЙ С НАСТИЛОМ ДЛЯ
| ||||||||||||||||||||||||||||||||||||||||||||||||||||||||||||||||||||||||||||||||||||||||||||||||||||||||||||||||||||||||||||||||||||||||||||||||||||||||||||||||||||||||||||||||||||||||||||||||||||||||||||||||||||||||||||||||||||||||||||||||||||||||||||||||||||||||||||||||||||||||||||||||||||||||||||||||||||||||||||||||||||||||||||||||||||||||||||||||||||||||||||||||||||||||||||||||||||||||||||||||||||||||||||||||||||||||||||||||||||||||||||||||||||||||||||||||||||||||||||||||||||||||||||||||||||||||||||||||||||||||||||||||||||||||||||||||||||
|
Количественный показатель номенклатуры грузов |
Значения коэффициентов сочетаний при числе этажей хранения |
|||
|
12 и более |
6 и менее |
|||
|
К |
Кт |
К |
Кт |
|
|
10 и более |
0,35 |
0,60 |
0,39 |
0,66 |
|
От 3 до 9 |
0,75 |
0,85 |
0,83 |
0,94 |
|
1 или 2 |
0,95 |
0,95 |
0,95 |
0,95 |
Примечание. При числе этажей хранения от 7 до 11 значения коэффициентов определяют интерполяцией.
Если в ячейке размещается только один груз, то значения коэффициентов сочетаний принимается по табл. 5.
3.7. При расчете ветви стойки на сочетания нагрузок 1, 4, 5, 8 по табл. 2 учитывается также узловой момент, равный половине момента согласно п. 3.4 (при этом подразумевается незанятость ячейки, соседней с узлом, передающим моментную нагрузку).
3.8. При проверке общей устойчивости ветви стойки в передней плоскости стеллажа учитывается жесткость передних ригелей полок и верхних горизонтальных связей при их изгибе в вертикальной плоскости, а также жесткость полок на сдвиг в горизонтальной плоскости.
4.1. Расчетная вертикальная нагрузка на консольную полку стеллажа, создаваемая любым из четырех углов тары (пакета), принимается согласно п. 3.2. При расчете консольной полки тара (пакет) устанавливается в крайнее возможное положение по ширине ячейки стеллажа.
4.2. Расчет стоек выполняется на сочетание нагрузок согласно табл. 2 и 3. При этом предполагается полная занятость ячеек стеллажа, а значения коэффициентов сочетаний сил тяжести грузов (п. 2.5) в соответствии с табл. 5.
|
Количественный показатель номенклатуры грузов |
Значения коэффициентов сочетаний при числе этажей хранения |
|||
|
12 и более |
6 и менее |
|||
|
К |
Кт |
К |
Кт |
|
|
10 и более |
0,40 |
0,65 |
0,44 |
0,72 |
|
От 3 до 9 |
0,80 |
0,90 |
0,88 |
0,95 |
|
1 или 2 |
0,95 |
0,95 |
0,95 |
0,95 |
Примечание. При числе этажей хранения от 7 до 11 значения коэффициентов определяют интерполяцией.
4.3. При проверке общей устойчивости ветви стойки в передней плоскости стеллажа учитывается жесткость продольных связей передней плоскости, а также наличие верхних горизонтальных связей. Жесткость стержневой решетки, связывающей переднюю ветвь с задней, не учитывается.
5.1. При расчете консолей и их соединений с колоннами коэффициент надежности по нагрузке для силы тяжести груза принимается равным 1,25.
Расчетная вертикальная нагрузка на одну консоль получается умножением полной расчетной нагрузки на коэффициент в соответствии с табл. 6.
|
Наименование рассчитываемого элемента |
Число консолей по длине груза |
||||
|
2 |
3 |
4 |
5 |
6 |
|
|
Консоль |
0,60 |
0,50 |
0,40 |
0,30 |
0,25 |
|
Колонна |
0,50 |
0,40 |
0,30 |
0,25 |
0,20 |
Полученная нагрузка на консоль делится на две одинаковые сосредоточенные силы, прикладываемые к консоли на расстоянии друг от друга, равном ширине груза с учетом положения последнего на вылете консоли.
Если консоль имеет двухветвевую конструкцию в виде горизонтальной рамы, то указанные две силы прикладываются полностью к одной ветви и консоль рассчитывается как плоско-пространственная рама с учетом кручения ветвей.
5.2. Расчет колонн выполняется на сочетание нагрузок согласно табл. 2 и 3. При этом предполагается полная занятость стеллажа по высоте, а значения коэффициентов сочетаний сил тяжести грузов (п. 2.5) в соответствии с табл. 7.
|
Количественный показатель номенклатуры грузов |
Значения коэффициентов сочетаний при нагружении стеллажа |
|||
|
двухстороннем |
одностороннем |
|||
|
К |
Кт |
К |
Кт |
|
|
10 и более |
0,60 |
0,75 |
0,66 |
0,83 |
|
От 3 до 9 |
0,75 |
0,90 |
0,83 |
0,95 |
|
1 или 2 |
0,95 |
0,95 |
0,95 |
0,95 |
Расчетная вертикальная нагрузка на каждую из консолей колонны получается умножением полной расчетной нагрузки от силы тяжести груза на коэффициенты в соответствии с табл. 6.
5.3. При расчете колонн необходимо рассматривать следующие случаи:
для стеллажей исполнений 3.1 и 3.2 - случаи одностороннего и двухстороннего нагружения (последний - для двухстороннего стеллажа);
для стеллажей исполнений 3.3 и 3.4, если последние представляют собой пару стеллажей с одним проходом между ними - случай, когда один стеллаж нагружен, а противоположный - пустой;
для стеллажей исполнений 3.3 и 3.4, если они представляют собой тройку стеллажей с двумя проходами между ними - два случая, причем в обоих случаях один из крайних стеллажей нагружен, другой пустой; средний же стеллаж в первом случае нагружен односторонне, во втором - полностью;
для стеллажей исполнений 3.3 и 3.4 при числе проходов три и более состояние крайних стеллажей соответствует предыдущему, а среди остальных - z1, нагруженных односторонне, прочие же нагружены полностью; здесь z1=0,25 (z+2); z - количество проходов.
5.4. При расчете на изгиб колонн в виде составных стержней следует учитывать местные узловые моменты в ветвях в местах присоединения к ним консолей, а также влияние продольных деформаций ветвей на величину узловых моментов.
5.5. При расчете анкерного или сварного крепления колонн к основанию следует для исполнений 3.1 и 3.2 дополнительно рассмотреть сочетания нагрузок по табл. 2 и 3, но без учета сил тяжести складируемого груза; для исполнений 3.3 и 3.4 следует рассматривать пустые стеллажи в составе блоков по п. 5.3.
5.6. Для стеллажей исполнения 3.1 горизонтальное перемещение колонны на уровне верхней консоли от действия односторонней нагрузки с коэффициентом Кт (табл. 7) не должно превышать 15 мм. Для стеллажей исполнения 3.1, имеющих увеличенную ширину межстеллажного прохода против требуемой по ГОСТ 16553, указанный норматив может быть увеличен на половину размера уширения прохода.
5.7. Для стеллажей исполнения 3.2 горизонтальное перемещение колонны на уровне головки кранового рельса от действия односторонней нагрузки с коэффициентом Кт (табл. 7) не должно превышать 3 мм.
Справочное
Таблица 8
ТИПЫ И ИСПОЛНЕНИЯ СТЕЛЛАЖЕЙ
|
Функция, выполняемая стеллажом |
Обозначение типов и исполнений стеллажей |
|||||||||||
|
1 - с настилом для тарно-штучных грузов |
2 - консольные для тарно-штучных грузов |
3 - консольные для длинномерных грузов |
||||||||||
|
1.1 |
1.2 |
1.3 |
1.4 |
2.1 |
2.2 |
2.3 |
2.4 |
3.1 |
3.2 |
3.3 |
3.4 |
|
|
Складирование грузов |
+ |
+ |
+ |
+ |
+ |
+ |
+ |
+ |
+ |
+ |
+ |
+ |
|
Поддержание балок кранового пути для мостового крана-штабелера |
- |
+ |
- |
- |
- |
+ |
- |
- |
- |
+ |
- |
- |
|
Поддержание верхнего рельсового кранового пути для стеллажного крана-штабелера |
- |
- |
+ |
+ |
- |
- |
+ |
+ |
- |
- |
+ |
+ |
|
Поддержание ограждающих конструкций стен и крыши склада |
- |
- |
- |
+ |
- |
- |
- |
+ |
- |
- |
- |
+ |
Справочное
КОНСТРУКЦИЯ СТЕЛЛАЖЕЙ И ОСНОВНЫЕ ПОНЯТИЯ
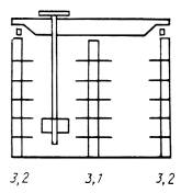
1. Схемы фронтальных проекций стеллажей представлены на черт. 1, схемы поперечных разрезов складов, оборудованных стеллажами и кранами-штабелерами, даны на черт. 2.
2. Стеллажи типов 1 и 2 представляют собой металлоконструкцию на основе двухветвевых вертикальных решетчатых стоек; шаг решетки по высоте стойки может совпадать или не совпадать с шагом расположения грузонесущих элементов.
Ветви стоек со стороны загрузки стеллажа именуются передними ветвями; их совокупность образует переднюю плоскость стеллажа.
Задние ветви образуют заднюю плоскость стеллажа.
Верхние обрезы стоек образуют верхнюю плоскость стеллажа.
В задней плоскости с определенным шагом по длине стеллажа устанавливаются раскосы или предварительно напрягаемые растяжки. В соответствующих панелях верхней плоскости стеллажа также устанавливаются раскосы.
3. Грузонесущим элементом стеллажей типа 1 является настил, состоящий, как минимум, из двух ригелей, выполняющих одновременно функцию продольных связей стеллажа. Между ригелями могут быть установлены поперечные связи, образуя решетчатый настил. При установке поверх указанных элементов листа настил называется сплошным.
4. Грузонесущим элементом стеллажей типа 2 являются консольные элементы, присоединенные к ветвям стоек. Эти элементы обычно конструируются, в виде уголков, выполняющих одновременно роль планок стержневой решетки стойки, но могут быть и в виде коротких элементов. Продольные связи, соединяющие стойки, устанавливаются в передней и задней плоскостях, причем поверху - обязательно.
5. Стеллаж типа 3 представляет собой металлоконструкцию на основе ряда колонн, снабженных консолями. Стеллаж может быть односторонним или двухсторонним (симметричным). Колонны связаны между собой продольными связями и в отдельных панелях - раскосами, установленными в средней плоскости колонн, условно именуемой задней плоскостью по аналогии с п. 2.
6. На полках (консолях) стеллажей, предназначенных для установки на площадках с сейсмичностью 8 и 9 баллов, должны быть предусмотрены упоры, предотвращающие сползание грузов с полок (консолей).
7. Исполнения 1.3; 2.3; 3.3 представляют собой блоки стеллажей, связанных поверху поперечными связями, к которым крепятся верхние рельсовые крановые пути стеллажных кранов-штабелеров. Во избежание появления дополнительных нагрузок на стеллажи, вызванных неравномерной просадкой фундаментов, крепление поперечных связей к стойкам (колоннам) стеллажей следует выполнять шарнирным (например, с помощью болта) или же применять поперечные связи малой жесткости на изгиб в вертикальной плоскости.
8. Исполнения 1.4; 2.4; 3.4 аналогичны по конструкции описанным в п. 7, но дополнительно имеют стропильные и стеновые элементы для установки ограждающих конструкций стен и крыши. Во избежание появления дополнительных нагрузок на стеллажи и стропила, вызванных неравномерной просадкой фундаментов, следует принимать конструктивные мероприятия по моментной развязке стропильных конструкций и стеллажных блоков.
Типы стеллажей



Исполнение стеллажей
|
|
|
|
|
|
|
|
|
|
|
|
|
|
|
|
ИНФОРМАЦИОННЫЕ ДАННЫЕ
1. РАЗРАБОТАН И ВНЕСЕН Министерством тяжелого машиностроения СССР
РАЗРАБОТЧИКИ
И.И. Бененсон (руководитель темы), С.Э. Усаковский, В.Г. Блинов, Л.А. Столярова
2. УТВЕРЖДЕН И ВВЕДЕН В ДЕЙСТВИЕ Постановлением Государственного комитета СССР по управлению качеством продукции и стандартам от 03.12.90 № 3007
3. Срок первой проверки - 1996 год; периодичность проверки - 5 лет
4. ВВЕДЕН ВПЕРВЫЕ
5. ССЫЛОЧНЫЕ НОРМАТИВНО-ТЕХНИЧЕСКИЕ ДОКУМЕНТЫ
|
Обозначение НТД, на который дана ссылка |
Номер пункта |
|
Вводная часть |
|
|
Вводная часть |
|
|
ГОСТ 16553-88 |
Вводная часть, 3.5, 5.6 |
|
2.1; 2.13; 2.14; 2.15; |
|
|
2.16 |
|
|
1.3 |
6. Переиздание. Июнь 1992
|
|
|
|