//
ТехЛит.ру
- крупнейшая бесплатная электронная интернет библиотека для "технически умных" людей.
WWW.TEHLIT.RU - ТЕХНИЧЕСКАЯ ЛИТЕРАТУРА

:: Алготрейдинг::


АЛГОТРЕЙДИНГ
шаг за шагом
с нуля по урокам!

Торговые роботы на PYTHON, BackTrader,
Pandas, Pine Script для TradingView. Связка с брокерами, телеграм и легкими приложениями.


ГОСУДАРСТВЕННЫЙ СТАНДАРТ СОЮЗА ССР

МАШИНЫ ЗЕМЛЕРОЙНЫЕ

ПОГРУЗЧИКИ. МЕТОДЫ ИЗМЕРЕНИЯ УСИЛИЙ
НА РАБОЧИХ ОРГАНАХ И ОПРОКИДЫВАЮЩИХ
НАГРУЗОК

ГОСТ 28770-90

(ИСО 8313-89)

ГОСУДАРСТВЕННЫЙ КОМИТЕТ СССР ПО УПРАВЛЕНИЮ
КАЧЕСТВОМ ПРОДУКЦИИ И СТАНДАРТАМ

Москва

ГОСУДАРСТВЕННЫЙ СТАНДАРТ СОЮЗА ССР

МАШИНЫ ЗЕМЛЕРОЙНЫЕ

Погрузчики. Методы измерения усилий на
рабочих органах и опрокидывающих нагрузок

Earth-moving machinery. Loaders. Methods of
measuring tool forces and tipping loads

ГОСТ
28770-90

(ИСО 8313-89)

Дата введения 01.01.92

1. НАЗНАЧЕНИЕ

Настоящий стандарт устанавливает методы определения усилий на рабочих органах и опрокидывающих нагрузок погрузчиков, а также лимитирующие их факторы. Он распространяется на колесные и гусеничные погрузчики по ГОСТ 28764 и по ГОСТ 27721.

2. ССЫЛКИ

Ссылочные документы приведены в приложении.

3. ТЕРМИНЫ И ОПРЕДЕЛЕНИЯ

В настоящем стандарте применяются следующие термины и определения:

3.1. Усилия на рабочих органах

3.1.1. Вырывное усилие - максимальное установившееся, направленное вверх усилие, возникающее в точке, находящейся на расстоянии 100 мм позади режущей кромки ковша, при действии гидроцилиндров перемещения стрелы или гидроцилиндров поворота ковша и при расположении нижней поверхности режущей кромки параллельно опорной плоскости GRP на высоте 20 мм над нею.

Для ковшей с прямолинейной, криволинейной или треугольной режущей кромкой вышеуказанное расстояние 100 мм следует измерять от середины режущей кромки.

3.1.2. Подъемное усилие - максимальный груз, который может быть поднят в запрокинутом ковше от уровня опорной поверхности на полную высоту при помощи гидроцилиндров перемещения стрелы при расположении центра тяжести нагрузки на одной вертикали с геометрическим центром тяжести номинального объема ковша ГОСТ 17257.

3.2. Опрокидывающая нагрузка на максимальном вылете или на определенной высоте - минимальная нагрузка, центр тяжести которой расположен на одной вертикали с геометрическим центром тяжести номинального объема ковша, приводящая машину в состояния, предельные для опрокидывания груза (см. пп. 3.5.3 и 7.1):

Ограничение по опрокидыванию

1 - на определенной высоте; 2 - нагрузка; 3 - на максимальном вылете

Черт. 1

а) для гусеничных погрузчиков при жесткой подвеске рамы ходовой части опрокидывающую нагрузку определяют при отрыве передних опорных катков от гусеничной ленты (см. черт. 1). При других видах подвески метод определения опрокидывающей нагрузки может быть установлен изготовителем и указан в отчете;

б) для колесных погрузчиков опрокидывающую нагрузку определяют при отрыве, по крайней мере, одного из задних колес от опорной поверхности.

В этом предельном состоянии машины достигается равновесие между опрокидывающим моментом, создаваемым опрокидывающей нагрузкой, и восстанавливающим моментом, создаваемым массой машины.

3.3. Масса - эксплуатационная масса машины по ГОСТ 27922.

3.4. Давление рабочей жидкости

3.4.1. Рабочее давление в контуре - номинальное давление, создаваемое в конкретном гидроконтуре насосом (насосами).

3.4.2. Давление удерживания в контуре - максимальное статическое давление в конкретном гидроконтуре, ограниченное предохранительным клапаном при расходе не свыше 10 % номинального расхода для данного контура.

3.5. Лимитирующие факторы (см. также п. 7.1).

3.5.1. Ограничение по возможностям гидросистемы - случай, когда усилия на рабочем органе или подъемное усилие лимитируется рабочим давлением или давлением удерживания в контуре.

3.5.2. Ограничение по возможностям двигателя - при усилиях на рабочем органе лимитирующими остановку двигателя.

3.5.3. Ограничение по опрокидыванию - при усилии на рабочем органе лимитирующими начало опрокидывания машины.

4. ПРИБОРЫ И ОБОРУДОВАНИЕ ДЛЯ ИСПЫТАНИЙ

Оборудование для испытаний должно включать устройства, перечисленные в пп. 4.1 - 4.4.

4.1. Динамометр или измерительный преобразователь силы, соответствующий значению измеряемого усилия на рабочем органе, с погрешностью ± 2 %, включая погрешность устройства для считывания показаний.

4.2. Масляный манометр с погрешностью ± 2 %.

4.3. Канаты, скобы, страховочные цепи и регулируемые рамы с точками крепления.

4.4. Прибор для измерения линейных размеров с погрешностью ± 2 %.

5. ПЛОЩАДКА ДЛЯ ИСПЫТАНИЙ

Площадка для испытаний должна иметь строго горизонтальную поверхность с твердым, предпочтительно бетонным покрытием, с точками крепления (анкерами) и достаточным пространством для размещения динамометров по п. 4.1.

Примечание. Измеряемое усилие предпочтительно прикладывать непосредственно к динамометру по п. 4.11 (черт. 2 и 3). Если усилие прикладывают через блок, следует учитывать трение в блоке для получения общей погрешности ± 2 %. Поскольку на точность измерений может повлиять масса каната, рекомендуется применять канат возможно меньшей длины.

6. ПОДГОТОВКА К ИСПЫТАНИЯМ

Погрузчик должен быть чистым, его общее оборудование должно отвечать требованиям ГОСТ 27922.

Машина должна быть оснащена ковшом или другим рабочим органом и соответствующими противовесами. Давление и балласт в шинах должны соответствовать требованиям, указанным изготовителем.

При испытаниях допускается снятие зубьев ковша для удобства крепления каната по п. 4.3, соединяющего ковш с динамометром.

Перед испытаниями двигатель и гидросистему прогревают до нормальных рабочих температур, после чего проверяют соответствие рабочих давлений и давлений удерживания в контурах рекомендациям изготовителя.

Затем машину устанавливают на испытательной площадке по п. 5 и размещают оборудование для проведения испытаний. Типовые схемы размещения оборудования приведены на черт. 2 - 5.

В процессе нагружения трансмиссия должна быть в нейтральном положении, тормоза отключены.

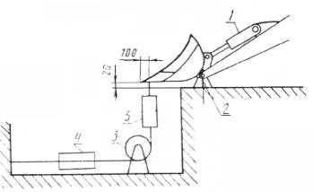
Типовая схема испытаний по определению максимального вырывного усилия, развиваемого гидроцилиндром (цилиндрами) перемещения стрелы

Размеры, мм

1 - гидроцилиндр (цилиндры) перемещения стрелы; 2 - ненатянутые страховочные цепи для предотвращения опрокидывания машины; 3 - опора у осевой линии моста; 4 - предпочтительное положение динамометра; 5 - альтернативное положение динамометра; 6 - блок

Черт. 2

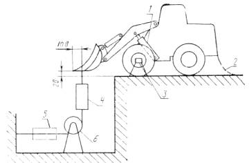
Типовая схема испытаний по определению максимального вырывного усилия, развиваемого гидроцилиндром (цилиндрами) поворота ковша

Размеры, мм

1 - гидроцилиндр (цилиндры) поворота ковша; 2 - опора под шарниром крепления ковша; 3 - блок; 4 - предпочтительное положение динамометра; 5 - альтернативное положение динамометра

Черт. 3

7. МЕТОДЫ ИЗМЕРЕНИЯ УСИЛИЙ НА РАБОЧИХ ОРГАНАХ

7.1. Общие положения

Испытания проводят при работе машины в соответствии с указаниями изготовителя по ее эксплуатации и при соблюдении правил техники безопасности.

Должны быть установлены страховочные цепи (п. 4.3) для предотвращения фактического опрокидывания машины при любом испытании, при котором лимитирующим фактором может оказаться ограничение по опрокидыванию.

Погрузчик устанавливают на площадке для испытаний, ковш соединяют с динамометром, как показано на черт. 2 или 3, в зависимости от вида проводимых испытаний.

При работе двигателя с максимальной частотой вращения коленчатого вала, рекомендованной изготовителем, включают отдельно нужный гидроцилиндр (цилиндры) и регистрируют усилие на кромке ковша или другом рабочем органе.

Для каждого испытания должен быть отмечен лимитирующий фактор по п. 3.5 (см. также п. 9.2).

В случае ограничения возможностей гидросистемы в протоколе указывают гидроцилиндр (цилиндры), в котором было превышено давление предохранительного клапана.

В случае ограничения по опрокидыванию усилий на рабочем органе измеряют после начала опрокидывания.

Страховочные цепи должны быть ненатянутыми, с тем чтобы машина могла достигнуть граничного положения и быть застрахована от опрокидывания.

Каждое испытание проводят три раза и регистрируют максимальное усилие для каждого опыта. В отчете о результатах испытаний указывают среднее арифметическое из этих трех значений.

Усилие на рабочем органе измеряют в соответствии с вышеизложенными общими требованиями, а также конкретными требованиями по пп. 7.2 - 7.4 и приведенными схемами.

7.2. Максимальное вырывное усилие, развиваемое гидроцилиндрами перемещения стрелы.

Нижнюю поверхность режущей кромки располагают параллельно опорной плоскости GRP на высоте 20 мм над нею. Для сохранения такого положения передний мост колесного погрузчика должен быть заблокирован в зоне осевой линии моста.

Канат для создания нагрузки закрепляют на расстоянии 100 мм сзади кромки ковша и располагают строго вертикально (см. черт. 2).

7.3. Максимальное вырывное усилие, развиваемое гидроцилиндрами поворота ковша.

Для предотвращения перемещения рычажной системы ковш должен опираться на деревянный брус, положенный под шарнир ковша, причем, нижняя поверхность режущей кромки должна располагаться параллельно GRP на высоте 20 мм над нею.

Канат для создания нагрузки закрепляют на расстоянии 100 мм сзади кромки ковша и располагают строго вертикально (см. черт. 3).

7.4. Подъемное усилие при подъеме оборудования на полную высоту.

Подъемное усилие при подъеме оборудования на полную высоту измеряют путем загрузки ковша грузами таким образом, чтобы центр тяжести груза находился на одной вертикали с геометрическим центром тяжести номинального объема ковша. Нагрузку увеличивают до тех пор, пока гидроцилиндры стрелы еще смогут поднимать груз на полную высоту. Регистрируют поднятый груз и лимитирующий фактор: ограничение по возможностям гидросистемы, опрокидыванию или возможностям двигателя (см. черт. 4).

Допускается использование альтернативного метода путем приложения реактивного усилия, эквивалентного этой нагрузке, с применением каната и динамометра. Линию действия усилия допускается перемещать в более удобную точку (например, палец шарнира крепления ковша), с последующим пересчетом на эквивалентную нагрузку, проходящую через геометрический центр тяжести номинального объема ковша. Измеряемая нагрузка должна создаваться действием гидросистемы машины, а не усилием тяги каната. Канат должен располагаться строго вертикально при любом положении ковша.

Типовая схема испытаний по определению максимального подъемного усилия при подъеме оборудования на полную высоту

Размеры, мм

1 - центр тяжести груза, находящийся на одной вертикали с геометрическим центром тяжести номинального объема ковша; 2 - гидроцилиндр (цилиндры) перемещения стрелы; 3 - ненатянутые страховочные цепи для предотвращения опрокидывания машины; 4 - груз, помещенный в ковш, полностью запрокинутый на уровне опорной поверхности

Черт. 4

Примечание. Подъемное усилие при подъеме ковша на полную высоту представляет собой подъемное усилие, которое погрузчик может развить при всех положениях ковша по ГОСТ 28635 и которое является одним из двух факторов, определяющих номинальную грузоподъемность погрузчика

8. МЕТОД ИЗМЕРЕНИЯ ОПРОКИДЫВАЮЩЕЙ НАГРУЗКИ

8.1. На максимальном вылете

Опрокидывающую нагрузку измеряют на максимальном вылете, т.е. перед ее измерением устанавливают шарниры стрелы и ковша на одинаковой высоте над уровнем опорной поверхности (см. черт. 5).

В ковш помещают грузы в соответствии с п. 7.4, увеличивая нагрузку до того момента, когда будет достигнута опрокидывающая нагрузка. При этом испытании гидросистема машины не должна приводиться в действие, т.е. погрузчик не должен поднимать груз. Допускается применение альтернативного метода путем приложения усилия при помощи каната, соединяющего ковш с динамометром или гидроцилиндром, с измерительным преобразователем, причем, канат должен быть расположен строго вертикально и линия действия усилия тяги каната должна проходить через геометрический центр тяжести номинального объема ковша.

Типовая схема испытаний по определению максимальной опрокидывающей нагрузки на максимальном вылете

1 - центр тяжести груза, находящийся на одной вертикали с геометрическим центром тяжести номинального объема ковша; 2 - шарнир стрелы; 3 - ненатянутые страховочные цепи для предотвращения опрокидывания машины; 4 - шарнир ковша; 5 - шарнир стрелы и шарнир ковша, находящиеся на одинаковой высоте над уровнем опорной поверхности

Черт. 5

Для шарнирно-сочлененных погрузчиков испытания проводят при центральном положении рулевого управления (нулевой угол складывания полурам), а также при полностью сложенных полурамах.

Примечание. Опрокидывающая нагрузка на максимальном вылете является вторым из двух факторов, определяющих номинальную грузоподъемность по ГОСТ 28635.

8.2. На определенной высоте

Опрокидывающую нагрузку измеряют при расположении шарнира ковша на высоте, установленной изготовителем. Ковш устанавливают на заданной высоте до того, как прикладывают нагрузку. Метод измерения - по п. 8.1.

9. ПРОТОКОЛ ИСПЫТАНИЙ

9.1. Общие сведения о машине

В протокол должны быть включены сведения по пп. 9.1.1 - 9.1.3

9.1.1. Машина:

а) тип;

б) модель;

в) изготовитель;

г) масса машины при испытаниях по ГОСТ 27922;

д) регулировка рабочего давления или давления удерживания в контурах гидросистемы, кПа.

9.1.2. Тип ходового устройства гусеничной или колесной машины по ГОСТ 28633:

а) гусеничная машина:

1) тип башмака гусеницы;

2) максимальная ширина (по гусеницам) w1, м;

3) колея гусеничного хода w2, м;

4) ширина башмака гусеницы w4, м;

5) база гусеничного хода (расстояние между вертикальными осевыми линиями передних и задних направляющих или ведущих колес L2, м;

б) колесная машина:

1) колея w3, м (указывается передняя и задняя колеи, если они отличаются друг от друга);

2) колесная база L3, м;

3) размер шин;

4) давление в шинах, кПа;

5) балласт, если предусмотрен, кг;

6) угол складывания полурам (в соответствующих случаях) А1

9.1.3. Ковш:

а) тип;

б) номинальная вместимость по ГОСТ 17257;

в) масса, кг.

9.2. Результаты испытаний

Усилия на рабочем органе и опрокидывающие нагрузки должны быть внесены в таблицу.

Результаты испытаний

Проверяемый параметр

Усилие, Н

Лимитирующий фактор

Максимальное вырывное усилие, развиваемое:

 

 

гидроцилиндрами перемещения стрелы

 

 

гидроцилиндрами поворота ковша

 

 

Подъемное усилие при подъеме на полную высоту

 

 

Опрокидывающая нагрузка

 

 

а) на максимальном вылете:

 

 

для гусеничного погрузчика;

 

 

для колесного шарнирно-сочлененного погрузчика;

 

 

для колесного погрузчика с передними или задними управляемыми колесами;

 

 

для колесного погрузчика со всеми управляемыми колесами в положении угла поворота;

 

 

б) на определенной высоте:

 

 

при высоте шарнира ковша, мм

 

 

ПРИЛОЖЕНИЕ

Справочное

ССЫЛОЧНЫЕ НОРМАТИВНО-ТЕХНИЧЕСКИЕ ДОКУМЕНТЫ

Раздел, пункт, на который приведена ссылка

Обозначение соответствующего стандарта

Обозначение отечественного нормативно-технического документа, на который дана ссылка

Вводная часть

ИСО 6165-87

ГОСТ 28764-90

ИСО 7131-84

ГОСТ 27721-88

Пп. 3.1.2, 9.1.3

ИСО 7546-83

ГОСТ 17257-87

Пп. 3.3, разд. 6, п. 9.1.1

ИСО 6016-82

ГОСТ 27922-88

Пп. 7.4, 8.1

ИСО 5998-86

ГОСТ 28635-90

П. 9.1.2

ИСО 6746/1-87

ГОСТ 28633-90

ИНФОРМАЦИОННЫЕ ДАННЫЕ

1. ПОДГОТОВЛЕН И ВНЕСЕН Министерством тяжелого машиностроения СССР

2. УТВЕРЖДЕН И ВВЕДЕН В ДЕЙСТВИЕ Постановлением Государственного комитета СССР по управлению качеством продукции и стандартам от 06.12.90 № 3055

Настоящий стандарт подготовлен методом прямого применения международного стандарта ИСО 8313-89 «Машины землеройные. Погрузчики. Методы измерения усилий на рабочих органах и опрокидывающих нагрузок» и полностью ему соответствует.

СОДЕРЖАНИЕ

 




Яндекс цитирования



   Copyright © 2007-2026,  www.tehlit.ru.

[ ѓосты, стандарты, нормативы, инструкции, правила, строительные нормы ]