//
ТехЛит.ру
- крупнейшая бесплатная электронная интернет библиотека для "технически умных" людей.
WWW.TEHLIT.RU - ТЕХНИЧЕСКАЯ ЛИТЕРАТУРА

:: Алготрейдинг::


АЛГОТРЕЙДИНГ
шаг за шагом
с нуля по урокам!

Торговые роботы на PYTHON, BackTrader,
Pandas, Pine Script для TradingView. Связка с брокерами, телеграм и легкими приложениями.


ГОСУДАРСТВЕННЫЙ СТАНДАРТ СОЮЗА ССР

МАШИНЫ ЗЕМЛЕРОЙНЫЕ

ТРАКТОРЫ С БУЛЬДОЗЕРНЫМ
ОБОРУДОВАНИЕМ
, АВТОГРЕЙДЕРЫ,
САМОХОДНЫЕ СКРЕПЕРЫ. НОЖИ

ОСНОВНЫЕ ФОРМЫ И РАЗМЕРЫ

ГОСТ 28771-90

(ИСО 7129-89)

ГОСУДАРСТВЕННЫЙ КОМИТЕТ СССР ПО УПРАВЛЕНИЮ
КАЧЕСТВОМ ПРОДУКЦИИ И СТАНДАРТАМ

Москва

ГОСУДАРСТВЕННЫЙ СТАНДАРТ СОЮЗА ССР

Машины землеройные

ТРАКТОРЫ С БУЛЬДОЗЕРНЫМ ОБОРУДОВАНИЕМ,
АВТОГРЕЙДЕРЫ
, САМОХОДНЫЕ СКРЕПЕРЫ.
НОЖИ

Основные формы и размеры

Earth-moving machinery. Tractors with dozer,
graders
, tractor scrapers. Cutting edges.
Principal shapes and basic dimensions

ГОСТ
28771-90

(ИСО 7129-89)

Дата введения 01.01.92

1. НАЗНАЧЕНИЕ

Стандарт устанавливает основные формы и размеры поперечного сечения ножей, а также расположение, формы и размеры отверстий под болты крепления ножей, используемых для тракторов с бульдозерным оборудованием, автогрейдеров и самоходных скреперов по ГОСТ 28764 с учетом их взаимозаменяемости.

Требования настоящего стандарта являются обязательными.

2. ССЫЛОЧНЫЕ НОРМАТИВНО-ТЕХНИЧЕСКИЕ ДОКУМЕНТЫ

Ссылочные документы приведены в приложении В.

3. НОЖИ. ПОПЕРЕЧНЫЕ СЕЧЕНИЯ. ОСНОВНЫЕ ФОРМЫ И РАЗМЕРЫ

Основные формы и размеры поперечных сечений ножей должны соответствовать приведенным в табл. 1 и 2 и на черт. 1.

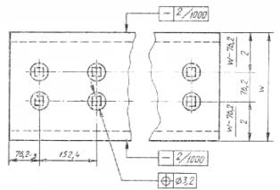
Трактор с бульдозерным оборудованием и самоходный скрепер

Черт. 1

Таблица 1

Размеры, мм

Рекомендуемое применение

Ширина W

Толщина Т

Скос F

Трактор с бульдозерным оборудованием

Самоходный скрепер

Номин.

Допуск

Номин.

Допуск

Не более

Не менее

Х

 

153

±3

12,7

Для литых ножей

+2,4

-0,6

Для других ножей

+0,8

-1,2

8

4,0

Х

 

153

10

10

Х

 

153

19

12

Х

 

165

+1,5

-4,5

16

10

Х

 

204

16

10

Х

 

204

19

12

Х

 

204

22

13

Х

 

204

25,4

14

Х

Х

254

19

12

 

Х

254

22

13

Х

Х

254

25,4

14

Х

 

254

32

20

 

Х

254

41

25

 

Х

305

19

12

 

Х

305

22

13

Х

 

305

25,4

14

Х

 

305

28,6

18

Х

 

305

32

20

 

Х

305

38

23

 

Х

330

19

12

 

Х

330

22

13

 

Х

330

25,4

14

Х

Х

330

28,6

18

Х

 

330

32

20

Х

Х

330

35

21

 

Х

330

38

23

 

Х

330

41

25

 

Х

330

44,5

27

 

Х

360

19

12

 

Х

360

22

13

 

Х

360

25,4

14

Х

 

360

28,6

18

Х

 

360

32

20

Х

 

360

35

21

 

Х

406

22

13

 

Х

406

25,4

14

 

Х

406

28,6

18

 

ХХ

406

32

20

Х

Х

406

35

21

Х

 

406

38

23

Х

 

406

41

25

 

Х

406

44,5

27

 

Х

482

28,6

18

 

Х

482

32

20

 

Х

482

35

21

 

Х

482

38

23

 

Х

482

41

25

 

Х

482

44,5

27

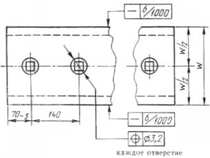
Примечание. Формы и размеры ножей с шагом отверстий 140 мм приведены в приложении А.

4. БОЛТЫ КРЕПЛЕНИЯ. РАСПОЛОЖЕНИЕ ОТВЕРСТИЙ

4.1. Расположение отверстий под болты крепления ножей должно соответствовать требованиям табл. 3, 4 и черт 2, 3.

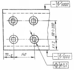
Автогрейдер

Черт. 2

Таблица 2

Размеры, мм

Ширина Т

Толщина W

Радиус закругления R

Скос

Номин.

Допуск

Номин.

Допуск

Номин.

Допуск

Е

F, не менее

152

 

13

 

 

 

 

 

152

+3

16

 

 

 

 

 

152

-1,5

19

±0,6

280

±10

30

2,5

204

 

16

 

 

 

 

 

204

 

19

 

 

 

 

 

Примечание. Формы и размеры ножей с шагом отверстий 140 мм и 280 мм приведены в приложении А.

Таблица 3

Трактор с бульдозерным оборудованием и самоходный скрепер

мм

Ширина W

Расположение отверстий

330 и менее

330 и более

Примечание. Формы и размеры ножей с шагом отверстий 140 мм приведены в приложении А.

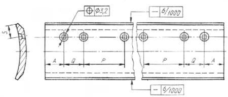
Автогрейдер

Черт. 3

Таблица 4

мм

Шаг отверстий

Расстояние от конца

Средняя часть Р

По бокам Q*

A

S

Номин.

Допуск

Номин.

Допуск

152,4

76,2

76,2

 

 

 

250

62,5

62,5

-3

42

-2

304,8

76,2

76,2

 

 

 

* Допускается не указывать для малогабаритных машин.

Примечание. Формы и размеры ножей с шагом отверстий 140 мм и 280 мм приведены в приложении А.

4.2. Центр зенковки должен находиться в пределах круговой зоны допуска диаметром 3,2 мм, очерченной вокруг точки, соответствующей геометрически правильному положению.

4.3. Кривизна ножа не должна превышать 2 мм/м.

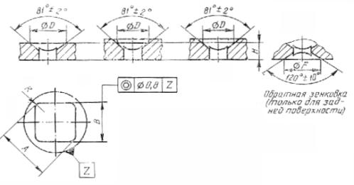
5. ОТВЕРСТИЯ ПОД БОЛТЫ КРЕПЛЕНИЯ. ФОРМЫ И РАЗМЕРЫ

5.1. Формы и размеры отверстий под болты крепления должны соответствовать указанным в табл. 5 и черт. 4.

5.2. Несоосность квадратного отверстия с зенковочным конусом не должна превышать 0,8 мм.

Отверстия под болты крепления

D - диаметр обратной зенковки для эффективной толщины Н; В - ширина между гранями квадратного отверстия; Н - минимальная эффективная толщина; R - радиус закругления квадратного отверстия; А - размер по диагонали квадратного отверстия; F - диаметр обратной зенковки квадратного отверстия

Черт. 4

Таблица 5

мм

D, не менее

24,5

29,3

33,3

38,8

46,6

58,7

В

Номин.

14,3

17,5

20,6

24,2

27,4

34,0

Допуск

+0,8

+1,5

+1,6

+2,0

+2,4

+2,9

Н

С обратной зенковкой

12,7

16

19

25,4

28,6

Без обратной зенковки

12,7

16

19

25,4

R»

2,5

3

А, не менее

18

22

26,5

31

36

45

F

Номин.

27

32

37

41

47

56

Допуск

±0,8

Размер болта (справочный)

12,7

15,88

19,05

22,22

25,4

31,75

Примечание. Формы и размеры отверстий под болты крепления ножей с шагом отверстий 140 и (или) 280 мм приведены в приложении А.

ПРИЛОЖЕНИЕ А

Обязательное

ОСНОВНЫЕ ФОРМЫ И РАЗМЕРЫ НОЖЕЙ С ШАГОМ ОТВЕРСТИЙ 140 и 280 мм

А 1. Область применения

Настоящее приложение предназначено для применения в странах, в которых используют ножи с шагом отверстий под болты крепления 140 и 280 мм.

А 2. Ножи. Поперечные сечения. Основные формы и размеры

Основные формы и размеры поперечного сечения ножей должны соответствовать табл. А1, А2 и черт. 5, 6.

Трактор с бульдозерным оборудованием

Черт. 5

Таблица А1

мм

Ширина W

Толщина Т

Скос F

Номин.

Допуск

Номин.

Допуск

Не более

Не менее

150

 

12

 

8

 

160

 

16

 

10

 

180

 

12

+1

8

 

180

+2

16

-2

10

 

250

-4,5

18

 

12

4

300

 

18

 

12

 

300

 

25

 

16

 

360

 

25

+1,5

16

 

400

 

25

-2,5

16

 

470

+2,5

30

 

20

 

-5

Автогрейдер

Черт. 6

Таблица А2

мм

Ширина W

Толщина Т

Радиус закругления R

Скос F

Номин.

Допуск

Номин.

Допуск

Номин.

Допуск

Не менее

180

+2,5

12

±1

350; 440

±30

2

180

-4,5

18

 

 

 

 

А.3. Болты крепления. Расположение отверстий

А.3.1. Расположение отверстий под болты крепления ножей должно соответствовать требованиям табл. А3, А4, А5 и черт. 7 - 9.

Таблица А3

Трактор с бульдозерным оборудованием

мм

Число рядов

Расположение отверстий

1

2

Таблица А4

А

26

34

36

44

48

66

В

62

77

58

72

107

132

128

156

176

202

Автогрейдер

Черт. 7

Таблица А5

мм

Шаг отверстий

Расстояние от конца

Средняя часть Р

По бокам Q*

A

S

Номин.

Допуск

Номин.

Допуск

140

70

70

-5

40; 75

-5

280

50; 60; 70

* Для вспомогательных отверстий, которые можно выполнять без зенковки, допускается не указывать.

Самоходный скрепер

Черт. 8

Примечание. Число рядов отверстий определяет заказчик.

А.3.2. Центр зенковки должен находиться в пределах круговой зоны допуска диаметром 3,2 мм, очерченной вокруг точки, соответствующей геометрически правильному положению.

А.3.3. Кривизна ножа не должна превышать 6 мм/м.

А.4. Отверстия под болты крепления. Формы и размеры

Формы и размеры отверстий под болты крепления должны соответствовать указанным в табл. А6 и черт. 9.

Отверстия под болты крепления

D - диаметр обратной зенковки для эффективной толщины Н; В - ширина между гранями квадратного отверстия; Н - минимальная эффективная толщина; R - радиус закругления квадратного отверстия; А - размер по диагонали квадратного отверстия; F - диаметр обратной зенковки квадратного отверстия

Черт. 9

Таблица А6

мм

D, не менее

24

29

36

44

65

В

Номин.

14

18

22

26

38

Допуск

+0,8

+1,5

+2

+2,4

+3,6

Н

С обратной зенковкой

12

16

18

25

30

Без обратной зенковки

12

12

12

18

18

R»

2,5

2,5

3

3

3

F»

24

29

36

44

65

ПРИЛОЖЕНИЕ В

Справочное

ССЫЛОЧНЫЕ НОРМАТИВНО-ТЕХНИЧЕСКИЕ ДОКУМЕНТЫ

Раздел, подраздел, пункт, в котором приведена ссылка

Обозначение соответствующего стандарта

Обозначение отечественного нормативно-технического документа, на который дана ссылка

1

ИСО 6165-87

ГОСТ 28764-90

ИНФОРМАЦИОННЫЕ ДАННЫЕ

1. ПОДГОТОВЛЕН И ВНЕСЕН Министерством тяжелого машиностроения СССР.

2. УТВЕРЖДЕН И ВВЕДЕН В ДЕЙСТВИЕ Постановлением Государственного комитета СССР по управлению качеством продукции и стандартам от 06.12.90 № 3056.

Настоящий стандарт подготовлен методом прямого применения международного стандарта ИСО 7129-89 «Машины землеройные. Тракторы с бульдозерным оборудованием, автогрейдеры, самоходные скреперы. Ножи» и полностью ему соответствует.

СОДЕРЖАНИЕ

 




Яндекс цитирования



   Copyright © 2007-2026,  www.tehlit.ru.

[ ѓосты, стандарты, нормативы, инструкции, правила, строительные нормы ]