//
ТехЛит.ру
- крупнейшая бесплатная электронная интернет библиотека для "технически умных" людей.
WWW.TEHLIT.RU - ТЕХНИЧЕСКАЯ ЛИТЕРАТУРА

:: Алготрейдинг::


АЛГОТРЕЙДИНГ
шаг за шагом
с нуля по урокам!

Торговые роботы на PYTHON, BackTrader,
Pandas, Pine Script для TradingView. Связка с брокерами, телеграм и легкими приложениями.


ГОСТ 16143-81

МЕЖГОСУДАРСТВЕННЫЙ СТАНДАРТ

ДЕТАЛИ И ИЗДЕЛИЯ ИЗ ДРЕВЕСИНЫ
И ДРЕВЕСНЫХ МАТЕРИАЛОВ

МЕТОДЫ ОПРЕДЕЛЕНИЯ БЛЕСКА ПРОЗРАЧНЫХ
ЛАКОВЫХ ПОКРЫТИЙ

ИПК ИЗДАТЕЛЬСТВО СТАНДАРТОВ

Москва

МЕЖГОСУДАРСТВЕННЫЙ СТАНДАРТ

ДЕТАЛИ И ИЗДЕЛИЯ ИЗ ДРЕВЕСИНЫ И ДРЕВЕСНЫХ МАТЕРИАЛОВ

Методы определения блеска прозрачных лаковых покрытий

Parts and products of wood and wooden materials.

Method for determination of transparent varnish coating gloss

ГОСТ
16143-81*

Взамен

ГОСТ 16143-75

Постановлением Государственного комитета СССР по стандартам от 27 февраля 1981 г. № 1088 дата введения установлена

01.01.82

Ограничение срока действия снято Постановлением Госстандарта от 27.12.91 № 2193

Настоящий стандарт распространяется на детали и изделия из древесины и древесных материалов и устанавливает методы определения блеска прозрачных лаковых покрытий на плоских поверхностях, рефлектоскопический и рефлектометрический.

Стандарт не устанавливает метод определения блеска матовых прозрачных лаковых покрытий.

Стандарт соответствует СТ СЭВ 5090-85 в части рефлектоскопического метода.

(Измененная редакция, Изм. № 1).

1. РЕФЛЕКТОСКОПИЧЕСКИЙ МЕТОД

Сущность рефлектоскопического метода определения блеска прозрачных лаковых покрытий заключается в определении степени искажения на его поверхности контуров светящегося тела.

(Измененная редакция, Изм. 1).

1.1. Аппаратура

Рефлектоскоп Р-4 (черт. 1).

1 - цилиндр из молочно-белого органического стекла; 2 - десятистрочная оценочная шкала из фотопленки; 3 - рефлектор; 4 - электрическая лампочка на 3,5 В и 0,28 А; 5 - корпус прибора; 6 - экран с прорезью; 7 - окуляр с очковой линзой в 5 дптр; 8 - контролируемая поверхность

Черт. 1

1.2. Подготовка к испытанию

1.2.1. Размеры контролируемой поверхности образцов или изделий должны быть не менее 90×120 мм. Образцы и изделия должны иметь ровную, гладкую и однородную поверхность. Перед испытанием контролируемая поверхность должна быть освобождена от пыли, жировых пятен и других загрязнений.

1.2.2. На контролируемой поверхности определяют визуально наличие структурных неровностей лакового покрытия в виде «просадки» над «порами» древесины, следов механической обработки и др. Условия освещения и наблюдения поверхности должны соответствовать санитарным нормам проектирования промышленных предприятий, утвержденным Государственным комитетом СССР по делам строительства.

(Измененная редакция, Изм. № 1).

1.2.3. Количество образцов для испытаний устанавливают в нормативно-технической или технической документации на конкретные виды изделий и материалов, но не менее трех.

(Введен дополнительно, Изм. № 1).

1.3. Проведение испытания

1.3.1. Рефлектоскоп Р-4 устанавливают на контролируемую поверхность. Вращением ручки цилиндра помещают в середину поля зрения окуляра любую читаемую строку шкалы. Вращением тубуса окуляра фокусируют изображение. Вращая цилиндр, находят наименьшую по размеру строку, числа которой могут быть прочитаны. Выполняют два измерения, устанавливая рефлектоскоп так, чтобы строка располагалась вдоль и поперек к имеющимся неровностям.

Измерения повторяют еще на двух участках контролируемой поверхности, и результаты заносят в журнал (приложение 1).

(Измененная редакция, Изм. № 1).

1.4. Обработка результатов

1.4.1. Блеск покрытия, определяемый рефлектоскопом Р-4, характеризуют меньшим номером прочитанной строки из всех измерений.

(Измененная редакция, Изм. № 1).

2. РЕФЛЕКТОМЕТРИЧЕСКИЙ МЕТОД

Сущность рефлектометрического метода определения блеска прозрачных лаковых покрытий заключается в определении величины фототока, возбуждаемого в фотоприемнике под действием света, зеркально отраженного от поверхности контролируемого покрытия с учетом светлоты подложки.

Рефлектометрический метод применяется для определения блеска покрытий на поверхности которых прочитывается десятая строка прибора Р-4 при любом расположении его на поверхности по отношению к направлению текстуры или рисунка подложки или неровностей лакового покрытия.

(Измененная редакция, Изм. № 1).

2.1. Аппаратура

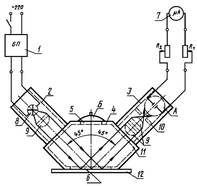
Фотоэлектрический блескомер ФБ-2 (черт. 2).

А - селеновый фотоэлемент; Б - заглушка; 1 - блок питания; 2 - тубус с осветителем; 3 - тубус для фотоэлемента; 4 - головка блескомера; 5 - отверстие для измерения диффузного отражения; 6 - отверстие для контролируемой поверхности; 7 - микроамперметр; 8 - лампа накаливания на 4 В; 9 - линзы; 10 - диафрагма; 11 - отверстие для измерения зеркального отражения; 12 - контролируемая поверхность; R1 - резистор точной настройки; R2 - резистор грубой настройки

Черт. 2

Пластинки инфракрасного темного стекла марки ИКС-6 (ГОСТ 9411-91) и отражающего нейтрального стекла марки МС-20 или другие подобного типа, входящие в комплект блескомера.

(Измененная редакция, Изм. 1).

2.2. Подготовка к испытанию

2.2.1. Размеры контролируемой поверхности образцов или изделий и состояние их поверхности должны соответствовать п. 1.2.1.

2.2.2. Для определения зеркального отражения (черт. 2) фотоэлемент блескомера ФБ-2 помещают в боковой тубус головки. Головку блескомера ставят на пластинку инфракрасного темного стекла и световой указатель микроамперметра устанавливают на деление 65.

Для определения диффузного отражения (светлоты) фотоэлемент помещают в среднем отверстии головки (черт. 3). Головку блескомера ставят на пластинку отражающего нейтрального стекла и световой указатель микроамперметра устанавливают на деление 96.

Черт. 3

Отклонение светового указателя проверяется перед каждым испытанием как при измерении зеркального, так и диффузного отражения.

(Измененная редакция, Изм. № 1).

2.2.3. В случае замены лампы прибор предварительно должен быть настроен так, чтобы нить светового тела лампы находилась в фокусе линзы осветителя. Последовательность такой регулировки и настройки блескомера ФБ-2 приведена в приложении 3.

2.3. Проведение испытания

2.3.1. Условия наблюдения контролируемой поверхности лакового покрытия соответствуют п. 1.2.2.

2.3.2. При определении блеска прозрачных лаковых покрытий блескомером ФБ-2 вначале определяют долю диффузного отражения, вносимую подложкой. Для этого фотоэлемент помещают в среднем отверстии головки и выполняют настройку отражающего нейтрального стекла. Головку блескомера устанавливают на контролируемую поверхность. Если поверхность подложки не имеет текстурного рисунка, то головку блескомера ставят на контролируемую поверхность так, чтобы свет был направлен вдоль наблюдаемых неровностей. Если на поверхности подложки наблюдается текстурный рисунок, то головку блескомера ставят на контролируемую поверхность так, чтобы свет был направлен вдоль текстурного рисунка (волокон древесины). Количество измерений диффузного отражения на образце должно быть не менее 3. Измерения проводят на расстоянии не менее 10 - 15 мм от края образца. Результаты записывают в журнал согласно приложению 2.

2.3.3. При определении зеркального отражения блескомер, предварительно настроенный на поверхности инфракрасного темного стекла, ставят на контролируемую поверхность. Расположение головки блескомера по отношению к наблюдаемым неровностям на поверхности лакового покрытия и текстурному рисунку подложки такое же, как и при измерении диффузного отражения по п. 2.3.2.

Количество измерений зеркального отражения на образце должно быть не менее 3. Измерения проводят на расстоянии не менее 10 - 15 мм от края образца. Результаты записывают в журнал (см. приложение 2).

2.3.1, 2.3.2. (Измененная редакция, Изм. № 1).

2.4. Обработка результатов

2.4.1. Блеск покрытия R0, определяемый блескомером ФБ-2, вычисляют по формуле

R0 = Rср - 0,17Dср

где Rср - среднее арифметическое показание микроамперметра всех измерений зеркального отражения;

Dcp - среднее арифметическое показание микроамперметра всех измерений диффузного отражения.

(Измененная редакция, Изм. № 1).

ПРИЛОЖЕНИЕ 1

Рекомендуемое

ЖУРНАЛ
записи результатов испытаний рефлектоскопическим методом

Марка материала покрытия ________________________________________________

Материал подложки ______________________________________________________

Дата ____________________________________________________________________

Вид изделия или детали

Толщина покрытия, мкм

Номер контролируемого участка

Номер прочитанной строки по Р-4 при установке к неровностям

Примечание

вдоль

поперек

1

2

3

4

5

6

 

 

 

 

 

 

Заключение _____________________________________________________________

__________________________________________________________________________

Подпись ________________________

ПРИЛОЖЕНИЕ 1. (Измененная редакция, Изм. № 1).

ПРИЛОЖЕНИЕ 2

Рекомендуемое

ЖУРНАЛ
записи результатов испытаний рефлектометрическим методом

Марка материала покрытия ________________________________________________

Материал подложки ______________________________________________________

Дата ____________________________________________________________________

Вид изделия или детали

Толщина покрытия, мкм

Номер контролируемого участка

Показания микроамперметра при измерении диффузного отражения

Показания микроамперметра при измерении зеркального отражения

Примечание

1

2

3

4

5

6

 

 

 

 

 

 

 

 

 

Dср

Rср

 

R0 = ....... - 0,17 .......

(Rср)  (Dср)

Подпись ____________________

ПРИЛОЖЕНИЕ 2. (Измененная редакция, Изм. № 1).

ПРИЛОЖЕНИЕ 3

Справочное

Последовательность регулировки и настройки блескомера ФБ-2 при замене лампы следующая:

расконтрить и вынуть патрон из тубуса осветителя;

заменить лампу и вставить патрон на место;

луч света при косо поставленной головке направить на экран, отстоящий на 1 м;

переместить патрон в тубусе до тех пор, пока не появится четкое изображение спирали лампы;

головку блескомера поставить на пластинку из инфракрасного темного стекла для определения зеркального отражения и перемещать патрон до достижения максимального отклонения светового указателя микроамперметра;

законтрить патрон стопорным винтом.

ПРИЛОЖЕНИЕ 3. (Измененная редакция, Изм. № 1).

СОДЕРЖАНИЕ

 




Яндекс цитирования



   Copyright © 2007-2026,  www.tehlit.ru.

[ ѓосты, стандарты, нормативы, инструкции, правила, строительные нормы ]