//
ТехЛит.ру
- крупнейшая бесплатная электронная интернет библиотека для "технически умных" людей.
WWW.TEHLIT.RU - ТЕХНИЧЕСКАЯ ЛИТЕРАТУРА

:: Алготрейдинг::


АЛГОТРЕЙДИНГ
шаг за шагом
с нуля по урокам!

Торговые роботы на PYTHON, BackTrader,
Pandas, Pine Script для TradingView. Связка с брокерами, телеграм и легкими приложениями.


ГОСУДАРСТВЕННЫЙ СТАНДАРТ СОЮЗА ССР

ДРЕВЕСИНА
Метод определения предела прочности при скалывании поперек волокон

ГОСТ 16483.12-72*

Wood. Method for determination
of ultimate strength in shearing
perpendicular to grain

Взамен
ГОСТ 11496-65
в части разд. В

* Переиздание (июнь 1985 г.) с Изменением № 1, утвержденным в июне 1984 г. (ИУС 9-84).

Постановлением Государственного комитета стандартов Совета Министров СССР от 28 января 1972 г. № 324 срок введения установлен

с 01.01.73

Постановлением Госстандарта от 21.06.84 № 2006 срок действия продлен

до 01.01.90

Несоблюдение стандарта преследуется по закону

Настоящий стандарт распространяется на древесину и устанавливает метод определения предела ее прочности при скалывании поперек волокон в тангентальном и радиальном направлениях.

1. АППАРАТУРА И МАТЕРИАЛЫ

1.1. Испытательная машина по ГОСТ 7855-74, с погрешностью измерения нагрузки не более 1 %.

1.2. Штангенциркуль по ГОСТ 166-80.

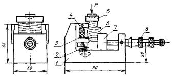
1.3. Приспособление к испытательной машине (черт. 1).

1 - корпус; 2 - пружина; 3 - подвижная планка; 4 - ролики; 5 - нажимная призма с шаровой опорой; 6 - образец; 7 - подвижная опора; 8 - микрометрический винт для прижима подвижной опоры
Черт. 1

1.4. Аппаратура и материалы для определения влажности древесины - по ГОСТ 16483.7-71.

2. ПОДГОТОВКА К ИСПЫТАНИЮ

2.1. Форма и размеры образца должны соответствовать черт. 2.

а - скалывание по тангентальной плоскости; б - скалывание по радиальной плоскости
Черт. 2

2.2. Точность изготовления, влажность и количество образцов для каждого направления действия нагрузки должны соответствовать требованиям ГОСТ 16483.0-78.

При определении минимального количества образцов коэффициент вариации предела прочности при скалывании поперек волокон принимают равным 20 %.

3. ПРОВЕДЕНИЕ ИСПЫТАНИЯ

3.1. Длину выступа образца l и высоту h измеряют с погрешностью не более 0,1 мм.

3.2. Образцы испытывают с помощью приспособления (см. черт. 1). Перемещением подвижной опоры 7 обеспечивают прилегание опорных граней образца к соответствующим поверхностям приспособления. Подвижная опора должна прижиматься к образцу с силой, равной 5 - 9 Н (до третьего щелчка трещотки микрометрического винта).

Нагрузку на образец передают через нажимную призму 5 равномерно со скоростью 2000 ± 500 Н/мин. Допускается проводить испытания при скорости перемещения нагружающей головки испытательной машины 4 мм/мин.

Испытание продолжают до разрушения образца. Максимальную нагрузку Pmax определяют с точностью до цены деления шкалы силоизмерителя.

3.3. После испытания определяют влажность образцов в соответствии с требованиями ГОСТ 16483.7-71. Пробой для определения влажности является большая часть разрушенного образца. Для определения средней влажности испытанных образцов допускается отбирать каждый четвертый образец, но не меньше трех.

4. ОБРАБОТКА РЕЗУЛЬТАТОВ

4.1. Предел прочности τW образца с влажностью W в момент испытания вычисляют с точностью до 0,1 МПа по формуле

где Pmax - максимальная нагрузка, Н;

h - высота выступа, мм;

l - длина выступа, мм.

4.2. Предел прочности τW образца с нормализованной влажностью пересчитывают к влажности 12% с точностью до 0,1 МПа по формуле

τ12 = τW[1 + α(W - 12)],

где τW - предел прочности образца с влажностью W в момент испытания, МПа;

α - поправочный коэффициент, равный 0,03;

W - влажность образца в момент испытания, %.

Предел прочности τW образца с влажностью, равной или больше предела насыщения клеточных стенок, пересчитывают к влажности 12 % с точностью до 0,1 МПа по формуле

τ12 = τW·K12,

где τW - предел прочности образца с влажностью W в момент испытания, МПа;

K12 - пересчетный коэффициент при влажности 30%, равный: 1,39 - для акации, вяза и дуба; 1,88 - для березы и ореха; 1,65 - для бука и груши, сосны кедровой и обыкновенной, ели и лиственницы; 1,76 -для граба, ивы, осины и тополя и 1,53 - для клена, липы, ольхи, пихты и ясеня.

4.1, 4.2. (Измененная редакция, Изм. №1).

4.3. (Исключен, Изм. № 1).

4.4. Статистическую обработку опытных данных выполняют по ГОСТ 16483.0-78.

4.5. Результаты измерений и расчетов заносят в протокол испытаний (см. приложение).

ПРИЛОЖЕНИЕ
Рекомендуемое

ПРОТОКОЛ
испытаний древесины на скалывание поперек волокон

Порода____________________________

Температура воздуха t, °С______________

Плоскость скалывания_____________________________

Степень насыщенности влагой воздуха φ, % ____________________________

Скорость нагружения:

Н/мин_____________________

мм/мин___________________

 

Маркировка образца

Размеры выступа образца, мм

Максимальная нагрузка Pmax Н

Влажность W, %

Предел прочности МПа

Примечание

длина l

толщина h

τW

τ12

 

 

 

 

 

 

 

 

 

«_____»_________________19_____

Подпись_________________________

(Измененная редакция, Изм. № 1).




Яндекс цитирования



   Copyright © 2007-2026,  www.tehlit.ru.

[ ѓосты, стандарты, нормативы, инструкции, правила, строительные нормы ]