//
|
|
ГОСУДАРСТВЕННЫЙ СТАНДАРТ СОЮЗА ССР ПЛИТЫ ГАЗОВЫЕ БЫТОВЫЕ ОБЩИЕ ТЕХНИЧЕСКИЕ УСЛОВИЯ ГОСТ 10798-85 ГОСУДАРСТВЕННЫЙ КОМИТЕТ СССР ПО СТАНДАРТАМ Москва ГОСУДАРСТВЕННЫЙ СТАНДАРТ СОЮЗА ССР
Срок действия с 01.01.86 до 01.01.91 Несоблюдение стандарта преследуется по закону Настоящий стандарт распространяется на бытовые газовые плиты (далее - плиты), предназначенные для приготовления пищи. Стандарт не распространяется на плиты с отводом продуктов сгорания в дымоход и на туристские плиты. Термины, применяемые в стандарте, и их пояснения указаны в справочном приложении 1. 1. КЛАССИФИКАЦИЯ1.1. Плиты классифицируют: по числу горелок стола: двухгорелочные (2); трехгорелочные (3); четырехгорелочиые (4); по месту установки: напольные (в том числе со встроенным баллоном - Б); настольные Н; по возможности компоновки с кухонной мебелью: встраиваемые В; отдельно стоящие; по степени комфортности: обычной; повышенной П. 2. ОСНОВНЫЕ ПАРАМЕТРЫ И РАЗМЕРЫ2.1. Основные параметры и размеры плит должны соответствовать указанным в табл. 1 - 2. (Измененная редакция, Изм. № 1). Таблица 1
* Для горелок пониженной тепловой мощности индекс окиси углерода в продуктах сгорания - не более 0,015 % по объему. Таблица 2
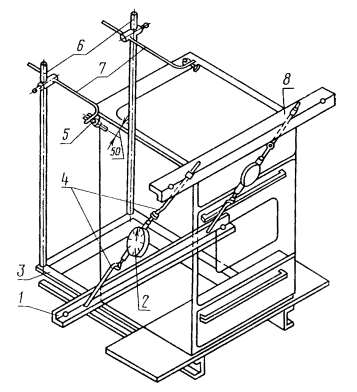
* Предельные отклонения размеров плиты: встраиваемой - минус 10 мм, отдельно стоящей - ± 5 мм. Примечание. Размеры, указанные в скобках, применимы только для отдельно стоящих плит. (Измененная редакция, Изм. № 1). 2.2. Другие технические характеристики, зависящие от конструктивных особенностей плит, должны быть указаны в технических условиях на плиты конкретных моделей. (Введен дополнительно, Изм. № 1). 3. ТЕХНИЧЕСКИЕ ТРЕБОВАНИЯ3.2. Плиты следует изготовлять в климатическом исполнении УХЛ 4.2 по ГОСТ 15150-69. 3.3. Плиты предназначены для работы на природном газе по ГОСТ 5542-87 номинальным давлением 1274 и 1960 Па и на сжиженном газе по ГОСТ 20448-80 номинальным давлением 2940 Па. 3.4. Плиты повышенной комфортности должны иметь: устройство освещения духовки; горелку стола повышенной тепловой мощности; устройство для регулирования горизонтального положения стола плиты. Плиты могут быть дополнительно оборудованы другими устройствами: горелкой стола пониженной тепловой мощности; электрическим розжигом горелок стола; электрическим розжигом горелок духовки; жарочной горелкой духовки; вертелом духовки с электрическим или ручным приводом; предохранительным устройством для контроля горения пламени горелок духовки (далее - предохранительное устройство); терморегулятором духовки. Допускается наличие других дополнительных устройств, повышающих комфортность плиты. 3.5. Газовые коммуникации плиты должны быть герметичными. 3.6. Корпус плиты должен быть жестким. 3.7. Плита должна иметь откидную крышку или щиток. Крышка не должна самопроизвольно закрываться. Высота щитка должна быть не менее 150 мм. Настольные плиты допускается изготовлять без крышки и щитка. 3.8. Конструкцией плиты должна обеспечиваться возможность визуального контроля наличия пламени горелок духовки при отсутствии предохранительного устройства. 3.9. Конструкцией напольных плит должна обеспечиваться возможность снятия каждого крана, терморегулятора и предохранительного устройства в отдельности без снятия коллектора. 3.10. Плиты, оборудованные предохранительным устройством и (или) терморегулятором, должны иметь фильтр для очистки газа. 3.11. Плиты, оснащенные электрооборудованием мощностью до 1,3 кВт, по типу защиты от влаги должны быть каплезащитными приборами по ГОСТ 14087-80 и по типу защиты от поражения электрическим током - II и III классов по ГОСТ 14087-80. Коэффициент диффузного отражения белых силикатных эмалей должен быть не менее 80 %. (Измененная редакция, Изм. № 1). 3.14. (Исключен, Изм. № 1). 3.15. Плиты в упакованном виде должны выдерживать транспортную тряску при средней перегрузке 2,4 g и частоте 120 ударов в минуту. (Измененная редакция, Изм. № 1). 3.16.1. Установленная безотказная наработка плиты - не менее 10000 циклов для каждого крана. Критерий отказа - нарушение герметичности крана. 3.16.2. Установленный срок службы плиты - не менее 14 лет. Критерий предельного состояния - прогар духовки. 3.16.1, 3.16.2. (Введены дополнительно, Изм. № 1). 3.17. Решетка стола 3.17.1. Решетка (решетки, конфорки) стола плиты должна быть съемной и фиксируемой в установленном положении. Устойчивое положение посуды диаметром 60 мм должно быть обеспечено конструкцией решетки или дополнительным приспособлением. (Измененная редакция, Изм. № 1). 3.18. Горелки 3.18.1. Горелки стола и духовки должны обеспечивать горение газа без отрыва и проскока пламени и без наличия желтых языков пламени. 3.18.2. Пламя горелок стола должно быть устойчивым к потоку воздуха скоростью 2 м/с. 3.18.3. При включенных горелках духовки горелки стола должны работать без отрыва и проскока пламени. 3.18.4. В местах соединения составных частей горелки утечка газовоздушной смеси не допускается. 3.18.5. Устройство для регулирования подачи первичного воздуха (при его наличии) должно обеспечивать плавное регулирование без самопроизвольного изменения установленного положения. 3.18.6. Межосевое расстояние смежных горелок в зависимости от их тепловой мощности должно быть, мм, не менее: 230 - между горелками нормальной и повышенной тепловой мощности и между горелками нормальной и нормальной тепловой мощности; 190 - между горелками повышенной и пониженной тепловой мощности и между горелками нормальной и пониженной тепловой мощности. 3.19. Краны горелок 3.19.1. Краны горелок должны обеспечивать бесступенчатое регулирование расхода газа. 3.19.2. Краны горелок должны иметь ограничители хода в крайних положениях. Краны горелок с положением «малое пламя» должны иметь ограничитель хода в этом положении. Открытие крана не должно производиться без предварительного его выведения из зафиксированного положения. 3.19.1, 3.19.2. (Измененная редакция, Изм. № 1). 3.19.3. Для кранов горелок следует применять смазочный материал, обеспечивающий нормальную работу крана не менее трех лет. 1/2 номинального значения - для горелок пониженной тепловой мощности; 1/4 номинального значения - для горелок нормальной и повышенной тепловой мощности. (Измененная редакция, Изм. № 1). 3.20. Ручки кранов 3.20.1. Захваты ручек кранов или указатели на ручках в закрытом положении должны быть расположены горизонтально. Отклонение от горизонтального положения - не более 5°. 3.20.2. Одновременная подача газа на основную и жарочную горелки духовки не допускается. (Измененная редакция, Изм. № 1). 3.20.3. Ручки кранов горелок стола должны отличаться от ручки крана горелки духовки (терморегулятора) цветом или формой. 3.21. Духовка на 230 °С превышающей температуру помещения, не более чем за 20 мин; до максимальной температуры не ниже 270 °С; до минимальной - не выше 165 °С; при наличии терморегулятора до температуры от (150 ± 15) до (270 ± 15) °С. (Измененная редакция, Изм. № 1). 3.21.2. Стекло дверцы духовки должно быть термически стойким. 3.21.3. (Исключен, Изм. № 1). Допускается установка противня на решетку. 25 % - для одной поверхности; 30 % - для различных поверхностей. (Измененная редакция, Изм. № 1). 3.21.7. Духовка должна иметь индикатор (указатель) температуры (при отсутствии терморегулятора). 3.22. Электрооборудование Время срабатывания предохранительного устройства при включении горелки также должно быть не более 30 с. 4. КОМПЛЕКТНОСТЬ4.1. В комплект плиты должны входить: противень для жарения (при наличии духовки) - 1 шт.; противень для выпечки (при наличии духовки) - 1 шт.; решетка стола (конфорка) - 1 шт. (комплект); решетка духовки (при наличии духовки) - 1 шт.; сопла* (по требованию заказчика) - в зависимости от количества горелок плиты. _________________ * Для плит, поступающих в розничную торговлю, за исключением плит со встроенным баллоном. К плите должно прилагаться руководство по эксплуатации по ГОСТ 2.606-71. Настольные плиты в соответствии с конструкторской документацией допускается комплектовать баллоном (баллонами) по ГОСТ 15860-84, регулятором давления по ГОСТ 2.1805-83 и резиновым рукавом длиной не менее 1500 мм по одному из следующих стандартов: ГОСТ 9356-75, ГОСТ 10362-76, ГОСТ 18698-79. Для плит повышенной комфортности, оборудованных дополнительными устройствами, комплект может быть расширен. (Измененная редакция, Изм. № 1). 5. ПРАВИЛА ПРИЕМКИ5.1. Для проверки соответствия плит требованиям настоящего стандарта следует проводить приемо-сдаточные, периодические, типовые испытания и испытания на надежность. 5.2. При приемо-сдаточных испытаниях плиты следует подвергать проверке на соответствие требованиям, указанным в табл. 3. Таблица 3
Результаты выборочной проверки распространяются на всю партию, из которой сделана выборка. 5.1, 5.2. (Измененная редакция, Изм. № 1). 5.3. Периодические испытания проводят не реже одного раза в год не менее чем на трех плитах из числа прошедших приемосдаточные испытания на соответствие всем требованиям настоящего стандарта, кроме пп. 3.15, 3.22.1. Типовые испытания проводят при изменении конструкции, технологии изготовления и материалов, влияющих на параметры и требования, установленные настоящим стандартом. Типовым испытаниям следует подвергать не менее трех плит на соответствие п. 3.15 и тем требованиям настоящего стандарта, на которые могли повлиять внесенные изменения. 5.4. Испытания плит на надежность (п. 3.16) должны проводиться раз в три года. (Введен дополнительно, Изм. № 1). 6. МЕТОДЫ ИСПЫТАНИЙПри проведении испытаний должны быть использованы следующие средства измерений и контроля: блескомер с погрешностью измерения ± 4 % для измерения коэффициента диффузного отражения белых силикатных эмалей и неравномерности цвета выпеченных изделий; угломер с погрешностью измерения ± 1°; вольтметр для измерения напряжения; весы с погрешностью взвешивания: ± 5 г для измерения массы воды и посуды; ± 200 г для измерения массы плиты; пробоотборник из нержавеющей стали (черт. 2); фотоколориметр с погрешностью измерения ± 1 % для измерения оптической плотности окрашенного раствора при определении содержания окислов азота в продуктах сгорания; динамометр по ГОСТ 13837-79 с погрешностью измерения ± 20 Н для измерения силы, прилагаемой к корпусу плиты и дверце духовки; индикатор по ГОСТ 577-68 с погрешностью измерения ± 2 мкм для измерения остаточной деформации. Погрешности средств измерения и контроля по другим параметрам и требованиям настоящего стандарта - по СТ СЭВ 4221-83. Допускается применять другие средства измерения и контроля, обеспечивающие указанную точность измерения. 6.2. Условия проведения испытаний 6.2.1. Периодические и типовые испытания следует проводить при следующих условиях: температура воздуха в помещении (20 ± 5) °С; объемное содержание углекислого газа (СО2) в воздухе помещения не более 0,2 %; скорость движения воздуха я помещении не более 0,5 м/с; относительная влажность воздуха в помещении не более 80 %. 6.2.2. Испытание плит следует проводить на испытательных газах в соответствии с тем видом газа, на который изготовлена плита: приемо-сдаточные испытания - на газах, указанных в табл. 4, периодические и типовые - на газах, указанных в табл. 5. Давление газа при проверке требований настоящего стандарта, кроме требований п. 3.18.1, должно соответствовать указанному в табл. 6, при проверке требований п. 3.18.1 - указанному в табл. 7. Таблица 4
Таблица 5
Таблица 6
* Требование п. 3 табл. 1 настоящего стандарта, кроме того, должно быть проверено на испытательном газе Г21. Таблица 7
Примечание к табл. 6 и 7. Предельное отклонение давления не должно превышать ± 10 Па (± 1 мм вод. ст.). (Измененная редакция, Изм. № 1). 6.3. Проведение испытаний 6.3.1. Тепловую мощность N горелок стола и жарочной горелки духовки (п. 1 табл. 1) в кВт следует определять при номинальном давлении газа, указанном в табл. 6, по формуле
где В - часовой расход газа, м3/ч,
Часовой расход газа B в м3/ч следует определять по формуле
где V0 - объем сухого газа, приведенный к нормальным условиям, м3; t - время, в течение которого измеряют объем расходуемого газа, ч (t не менее 6 мин). Объем сухого газа V0 в м3 определяют по формуле
где V - объем влажного газа, м3; t - температура газа на выходе из счетчика, °С; ps- - барометрическое давление воздуха в лаборатории, Па; pr - избыточное давление газа на выходе из счетчика, Па; pпар - парциальное давление насыщенных водяных паров в газе на выходе из счетчика, Па. Значения pпар должны соответствовать приведенным в обязательном приложении 2. Тепловую мощность N основной горелки духовки на единицу ее полезного объема (п. 1 табл. 1) в кВт/дм3 определяют при номинальном давлении газа, указанном в табл. 6, по формуле
где Vд - полезный объем духовки, дм3. До начала испытаний горелка должна проработать не менее 10 мин. 6.3.2. Коэффициент полезного действия h каждой горелки стола (п. 2 табл. 1) в процентах определяют при номинальной тепловой мощности по формуле
где cв - удельная теплоемкость воды, кДж/(кг·°С); Gв - масса воды в кастрюле, кг; cм - удельная теплоемкость металла кастрюли, кДж/(кг·°С); Gм - масса кастрюли с крышкой, кг; t1 - начальная температура воды в кастрюле, °С; t2 - конечная температура воды в кастрюле, °С; t1 - время, за которое происходит нагрев воды в кастрюле до температуры 90 °С, ч. До начала испытаний горелка должна проработать не менее 10 мин. На решетку стола в зависимости от тепловой мощности горелок устанавливают наполненную водой алюминиевую кастрюлю (табл. 8) с закрытой крышкой. В центре крышки должен быть закреплен термометр так, чтобы его ртутный резервуар находился в центре объема воды. Таблица 8
Наружная поверхность кастрюли должна быть сухой, наличие накипи в кастрюле не допускается. Начальная температура в кастрюле должна быть (20 ± 1) °С, затем ее температуру доводят до (90 ± 1) °С. При достижении этой температуры подачу газа к горелке прекращают и фиксируют наивысшую конечную температуру воды. 6.3.3. Индекс окиси углерода в продуктах сгорания СОa=1 в процентах по объему (п. 3 табл. 1) определяют для каждой горелки плиты в отдельности по формуле
где VСО - содержание окиси углерода в продуктах сгорания по данным анализа пробы, % по объему;
h - коэффициент разбавления продуктов сгорания. Коэффициент разбавления продуктов сгорания следует определять: по содержанию кислорода в продуктах сгорания по формуле
где О2в - содержание кислорода в воздухе помещения, % по объему; О2пр - содержание кислорода в продуктах сгорания по данным анализа пробы, % по объему; или по содержанию двуокиси углерода в продуктах сгорания по формуле
где CO2max - максимальное содержание двуокиси углерода в продуктах сгорания, % по объему; СО2пр - содержание двуокиси углерода в продуктах сгорания по данным анализа пробы, % по объему. Содержание окислов азота в
продуктах сгорания
где NOx - содержание окислов азота , в продуктах сгорания, мг/м3; NOxв - содержание окислов азота в воздухе помещения, мг/м3. Пробы продуктов сгорания от горелок стола отбирают при номинальном, максимальном и минимальном давлениях газа, указанных в табл. 6. На горелку стола устанавливают кастрюлю в соответствии с табл. 8. На кастрюлю устанавливают пробоотборник (см. черт. 2) и отбирают им пробы после закипания воды. Шибер для выхода продуктов сгорания из пробоотборника должен быть отрегулирован так, чтобы содержание CО2 при номинальной тепловой мощности горелки составляло не менее 3 % по объему. Отбор проб продуктов сгорания от основной горелки духовки производят при номинальном, максимальном и минимальном давлениях газа, от жарочной - при номинальном давлении газа в соответствии с табл. 6. Перед отбором испытуемая горелка должна проработать не менее 30 мин при номинальном давлении газа. Пробы от основной горелки духовки отбирают трубкой, открытый конец которой вводят в духовку через газоотводящее отверстие в задней стенке плиты (черт. 3). Пробы от жарочной горелки духовки, если ее работа предусмотрена при приоткрытой дверце духовки, отбирают со стороны дверцы (черт. 4) и в соответствии с черт. 3. Пробы от жарочной горелки духовки, если ее работа предусмотрена при закрытой дверце духовки, отбирают только в соответствии с черт. 3. Пробы для определения индекса окиси углерода отбирают в резиновые камеры (или стеклянные аспираторы), не менее чем троекратно промытые продуктами сгорания. Срок хранения проб в резиновых камерах - не более 2 ч. Пробы для определения окислов азота отбирают в вакуумированную до разрежения 0,18 - 0,19 Па (до появления «вскипания») стеклянную круглодонную колбу емкостью 1 л, заполненную 50 мл раствора Грисса-Илосвая, через U-образную стеклянную трубку, заполненную хромовым ангидридом. Трубку устанавливают перед колбой. Отбор проб от основной и жарочной горелок духовки 1 - газоотводящее отверстие; 2 - трубка; 3 - к насосу Черт. 3* ________________ * Чертежи 1, 2 исключены. Отбор проб от жарочной горелки духовки Bпр - ширина входного проема духовки; t - экран; 2 - трубка; 3 - к насосу; 4 - заглушить Черт. 4 Примечание. Трубки выполняют из нержавеющей стали. Перед отбором пробы систему продувают продуктами сгорания в десятикратном объеме. Допускается определять содержание окислов азота хемолюминесцентным методом. 6.3.1 - 6.3.3. (Измененная редакция, Изм. № 1). 6.3.4, 6.3.5. (Исключены, Изм. № 1). 6.3.6. Температуру нагрева стенок испытательного стенда и пола под плитой (пп. 5, 6 табл. 1) определяют следующим образом: плиту устанавливают так, чтобы расстояние от боковых стенок плиты до боковых стенок стенда (черт. 5) было равно 10 мм, от задней кромки стола плиты до задней стенки испытательного стенда - 50 мм. Внутренние поверхности стенда должны иметь матово-черный цвет и термоэлектрические термометры (рабочий спай) должны быть установлены заподлицо с внутренними поверхностями стенда; горелки стола с установленными на них кастрюлями с водой (табл. 8) и основная горелка духовки должны проработать 15 мин при номинальной тепловой мощности, после чего регулированием давления перед плитой устанавливают в центре духовки температуру 230 °С. Измерение температур проводят через 1 ч после начала работы плиты. Схема расположения точек измерения температур поверхностей стенда 1 - левая стенка; 2 - задняя стенка; 3 - правая стенка (подвижка); 4 - пол Черт. 5 Примечания: 1. Точки измерения температуры пола для каждого размера плиты должны располагаться по диагоналям в соответствии со схемой. 2. Измерение температур боковых и задней стенок стенда следует проводить в точках, охватываемых габаритными размерами плиты. При наличии жарочной горелки температуру нагрева измеряют после работы горелок стола и жарочной горелки духовки при номинальной тепловой мощности в течение 1 ч. На горелки стола должны быть установлены кастрюли с водой в соответствии с табл. 8. 6.3.7. Температуру нагрева боковых поверхностей и поверхности под плитой (п. 7 табл. 1) измеряют после работы горелок при номинальной тепловой мощности в течение 1 ч. Измерение проводят в одной точке, являющейся геометрическим центром каждой поверхности. 6.3.8. Температуру нагрева наружной поверхности стекла дверцы духовки (п. 8 табл. 1) определяют в точке, соответствующей геометрическому центру проема дверцы, при установившейся температуре в духовке 270 °С или при максимальной температуре, обеспечиваемой терморегулятором (при его наличии), через 1 ч после начала работы. 6.3.9. Температуру встроенного баллона (п. 9 табл. 1) измеряют термоэлектрическим термометром на наружной поверхности баллона со стороны духовки после 1 ч работы плиты при номинальной тепловой мощности. 6.3.6 - 6.3.9. (Измененная редакция, Изм. № 1). 6.3.10. (Исключен, Изм. № 1). 6.3.11. Испытание газовых коммуникаций плиты на герметичность (п. 3.5) проводят воздухом, подаваемым на вход плиты под давлением (15000 ± 20) Па. Утечку воздуха контролируют с помощью устройства, указанного в приложении 3, или с помощью других устройств, аттестованных в установленном порядке. Испытание проводят в следующей последовательности: при закрытых кранах и предохранительных устройствах (при их наличии) и открытых соплах всех горелок, при этом допускаемая утечка воздуха не должна превышать 70 см3/ч; при открытых кранах и предохранительных устройствах (при их наличии) и закрытых соплах всех горелок, при этом допускаемая утечки воздуха не должна превышать 100 см3/ч, или последовательно для каждой горелки при открытом кране и предохранительном устройстве (при его наличии) и закрытом сопле горелки, при этом суммарная утечка воздуха не должна превышать 100 см3/ч. Интервал времени между испытаниями при использовании устройства, указанного в приложении 3, должен быть не менее 5 мин, при использовании других устройств - не менее 5 с. При приемо-сдаточных испытаниях допускается определение утечки воздуха по падению давления. Допускаемое падение давления за 2 мин - не более 40 Па. Свободный объем приборов для измерения давления и пневмолинии - от 0,9 до 1,1 дм3. При испытаниях допускается проведение перерасчета величины утечки в зависимости от продолжительности испытания. 6.3.12. Испытание корпуса напольной плиты на жесткость проводят последовательным приложением горизонтального и вертикального усилий, корпуса настольной плиты - приложением вертикального усилия. Горизонтальное усилие 500 Н, приложенное в течение 15 мин к верхней части передней поверхности плиты, установленной на стенд (черт. 6), не должно вызывать остаточную деформацию поверхности более 2,5 мм. Измерение проводят через 5 мин после снятия усилия. При испытании декоративные и другие элементы плиты, не определяющие жесткость корпуса, при необходимости должны быть сняты. Вертикальное усилие 250 Н (груз диаметром 220 мм), приложенное к решетке над каждой горелкой стола в течение 15 мин, не должно вызывать остаточную деформацию решетки в любой ее точке более 1 мм. Измерение проводят через 5 мин после снятия усилия. 6.3.13. Соответствие плиты требованиям п. 3.1 (на соответствие образцу), 3.4, 3.7 (наличие крышки или щитка), 3.8 - 3.10, 3.17.1, 3.18.5, 3.19.1, 3.19.2, 3.19.3 (наличие смазочного материала), 3.20.1 (горизонтальность расположения), 3.20.2, 3.20.3, 3.21.4, 3.21.7, 4.1, 7.1 - 7.4, 7.6, 7.7 проверяют визуально. 6.3.11 - 6.3.13. (Измененная редакция, Изм. № 1). 6.3.14. Проверка электрооборудования - по разд. 3 ГОСТ 14087-80. 6.3.15. Материалы деталей, соприкасающиеся с пищевыми продуктами, а также материалы, применяемые в качестве антикоррозионного покрытия поверхностей (п. 3.12), должны входить в перечень материалов, разрешенных Минздравом СССР. 6.3.16. Проверку силикатного эмалевого покрытия (п. 3.13) проводят следующим образом: для проверки термической стойкости покрытия поверхность эмалированных деталей собранной плиты нагревают до максимальной температуры при номинальном давлении газа и в течение 3 с брызгают 100 мл воды температурой 20 °С в трех местах. Для обрызгивания необходимо выбирать наиболее нагретые места; после высыхания капель воды и охлаждения плиты проверяют испытуемую поверхность с помощью индикатора (фероксила): на обезжиренную с помощью хлористого углерода эмалированную поверхность накладывают целлофан, смоченный в индикаторе. Целлофан оставляют на испытуемой поверхности в течение 10 мин. После удаления целлофана с поверхности ни на нем, ни на испытуемой поверхности не должны быть заметны синие пятна; Стенд для испытания корпуса плиты на жесткость 1 - неподвижный уголок (50×50); 2 - динамометр; 3 - площадка; 4 - стяжка; 5 - индикатор; 6 - стойка; 7 - подвижный кронштейн; 8 - подвижный уголок Черт. 6 химическую стойкость покрытия следует определять «пробой пятном» на детали, снятой с плиты (при необходимости). Для этого участок испытуемой поверхности протирают спиртом и очерчивают восковым карандашом. В центр очерченного круга диаметром 20 мм вливают каплю 4 % уксусной кислоты, которую после выдержки в течение 1 мин смывают спиртом. На эмали не должно оставаться матового пятна; механическую прочность проверяют путем удара свободно падающего шарика массой от 50 до 60 г с определенной высоты на эмалевую поверхность одной из деталей, снятой с плиты. Произведение высоты на массу шарика должно составлять 0,02 кг·м. Для сохранения вертикального направления падения груза применяют металлическую трубу. Испытуемая деталь должна быть установлена на стальное кольцо наружным диаметром 60 мм, внутренним - 50 мм и кромками с радиусом закругления 1 мм. После удара на эмалевом покрытии не должно появляться скосов и трещин. Коэффициент диффузного отражения эмалевого покрытия Ко в процентах проверяют не менее чем на трех образцах и подсчитывают по формуле
где Kэ - коэффициент диффузного отражения эталона, %; iо, iэ - показания микроамперметра соответственно для образца и эталона. 6.3.17. Испытание плит на транспортную тряску (п. 3.15) проводят на специальном стенде в течение 30 мин при средней перегрузке 2,4 g и частоте 120 ударов в минуту. Упакованная плита должна быть жестко закреплена на стенде. После испытания визуально проверяют состояние упаковки. Нарушение упаковки не допускается. Плиту считают выдержавшей испытание, если после тряски не будут обнаружены механические повреждения, ослабление крепежа более чем на 1,5 оборота, а также нарушение герметичности газовых коммуникаций. Проверку герметичности проводят как указано в п. 6.3.11 - падение давления за 5 мин не должно превышать 100 Па. 6.3.18. Испытание плиты на соответствие требованию п. 3.16.1 проводят с помощью прибора или устройства, обеспечивающего вывод стержня крана из фиксированного положения и полный поворот пробки крана из положения «закрыто» в положение «открыто» и обратно. Испытание проводят в термокамере при периодичности поворота пробки крана (15 ± 2) циклов в минуту в течение двух часов при температуре (30 ± 5) °С и в течение двух часов при температуре (85 ± 5) °С. Проверку установленного срока службы плиты (п. 3.16.2) проводят по результатам данных эксплуатации или статистическим методом по ГОСТ 16468-79. 6.3.19. Проверку устойчивого положения посуды (п. 3.17.2) осуществляют установкой посуды диаметром 120 и 60 мм над горелками стола. Посуду устанавливают симметрично относительно оси горелки. При смещении посуды в любую сторону на 5 мм опрокидывание ее не допускается. 6.3.18, 6.3.19. (Измененная редакция, Изм. № 1). 6.3.20. (Исключен, Изм. № 1). 6.3.21. Проверку на отрыв и проскок пламени, а также наличие желтых языков пламени горелок стола и основной горелки духовки (п. 3.18.1) проводят на давлениях газа, указанных в табл. 7, при работе каждой горелки в отдельности. Жарочную горелку духовки проверяют при номинальном давлении газа. Проверку проводят как в холодном, так и нагретом состоянии горелок. Нагретое состояние горелок достигается их работой в течение 30 мин на номинальном давлении газа. Проверку горелок стола проводят без установки кастрюль на решетку. Проверку работы горелок духовки проводят при открывании и закрывании дверцы духовки с периодичностью 10 циклов (открываний и закрываний) за 15 с. 6.3.22. Устойчивость пламени (п. 3.18.2) горелок стола под воздействием потока воздуха проверяют при минимальном давлении газа перед плитой (табл. 6) без установки кастрюль. Проверку проводят по пять раз для каждой горелки. Воздушный поток не менее 15 с должен быть направлен на горелку стола плиты со скоростью 2 м/с. Скорость движения воздуха измеряют у кромки стола плиты со стороны испытуемой горелки. Допускается частичное погасание пламени, если оно становится стабильным после прекращения потока воздуха. 6.3.23. Влияние работы горелок духовки на работу горелок стола (п. 3.18.3) проверяют при давлении, указанном в табл. 6. Розжиг горелок стола проводят после работы духовки, в течение 30 мин при номинальном давлении газа. После розжига каждая горелка должна проработать не менее 6 мин, при этом повторная регулировка подачи первичного воздуха не допускается. Отрыв и проскок пламени не допускаются. 6.3.24. Проверку горелок на соответствие п. 3.18.4 осуществляют с помощью индикаторных трубок для окиси углерода. Пробы отбирают на расстоянии не более 2 мм от места соединения деталей. В процессе отбора проб случайное смещение составных частей горелок не допускается. 6.3.25. Проверку горелок на соответствие п. 3.19.4 осуществляют определением тепловой мощности горелки в положении крана «малое пламя» и сравнением полученного значения с номинальным значением тепловой мощности, соответствующим полностью открытому крану горелки. Тепловую мощность определяют по часовому расходу газа, для расчета которого применяют объем газа, измеренный счетчиком за 6 мин. До начала проверки горелка должна проработать 10 мин. 6.3.26. Нагрев духовки до температуры, на 230 °С превышающей температуру помещения, и до максимальной температуры по п. 3.21.1 при отсутствии терморегулятора проверяют при номинальном давлении газа, нагрев духовки до минимальной температуры проверяют при минимальном давлении газа, обеспечивающем работу горелки без проскока пламени. Проверку температуры нагрева духовки при наличии терморегулятора проводят при номинальном давлении газа. Температуры по указанным проверкам измеряют термоэлектрическим термометром, установленным в центре объема духовки, без установки противней. (Измененная редакция, Изм. № 1). 6.3.27. Проверку термической стойкости стекла дверцы духовки (п. 3.21.2) проводят после достижения температуры в духовке 200 °С. Сразу после открывания дверцы на поверхность стекла, обращенную внутрь духовки, в произвольно выбранную точку выплескивают 0,025 кг воды температурой (20 ± 1) °С. Появление трещин на стекле не допускается. 6.3.28. (Исключен, Изм. № 1). 6.3.29. Проверку плит на допустимые радиопомехи (п. 3.22.1) проводят по методике, указанной в Нормах 1-72 и Нормах 4-72, утвержденных Государственной комиссией по радиочастотам СССР 12.06.72. 6.3.30. Фиксирование дверцы духовки (п. 3.21.4) проверяют следующим образом: дверцу из закрытого положения отклоняют (приоткрывают) на 20 - 30 мм. Дверца после снятия усилия должна вернуться в исходное положение; дверцу из открытого положения отклоняют (прикрывают) на 20 - 30 мм. Дверца после снятия усилия не должна закрываться. 6.3.31. Проверку духовки на соответствие п. 3.21.5 осуществляют путем перемещения противня и решетки в направляющих усилием не более 5 кг. 6.3.32. Работу духовки (п. 3.21.6) определяют выпечкой кондитерского изделия из теста по рецепту и на режиме согласно приложению 4. При выпечке противень должен находиться на средней полке духовки или на полке в соответствии с руководством по эксплуатации. После остывания выпеченного изделия проводят оценку неравномерности цвета и определяют качество выпечки. Качество выпечки проверяют путем прокалывания изделия из теста деревянной заостренной палочкой. Готовность выпечки определяют отсутствием прилипания теста к палочке. Работу жарочной горелки духовки определяют обжариванием белого хлеба. Хлеб разрезают на ломти размером 70×70×10 мм, удаляют корку и сушат на воздухе в течение 24 ч. При сушке ломти кладут в один слой и переворачивают один раз. Высушенные ломти хлеба плотно укладывают на решетку духовки так, чтобы они покрывали всю ее площадь. Перед испытанием горелка должна проработать в течение 15 - 20 мин при номинальной тепловой мощности. Место установки противня (решетки) с хлебом должно быть указано в технических условиях на плиты конкретных моделей. Разница в цвете между контрольными (ломти хлеба, не подвергавшиеся обжариванию) и самыми темными ломтями обжаренного хлеба должна быть не менее 60 %. Площадь поверхности уложенных на решетку духовки ломтей хлеба, изменивших цвет в процессе обжаривания, должна быть не менее 200 см2. Неравномерность цвета выпеченного изделия из теста и разницу в цвете при обжаривании ломтей хлеба Ц в процентах определяют по формуле
где С - показание милливольтметра в наиболее светлом месте выпеченного изделия и контрольных ломтей хлеба; Т - показание милливольтметра в наиболее темном месте выпеченного изделия и обжаренных ломтей хлеба; Э - показание милливольтметра по эталону. 6.3.33. Проверку работоспособности терморегулятора духовки (п. 3.21.8) проводят в каждом положении ручки, которое соответствует заданной температуре при установившемся режиме работы духовки на номинальном давлении. Установившимся режимом. считают режим, при котором температура в духовке в течение 5 мин изменяется не более чем на 1 °С. Фактическую температуру измеряют в центре объема духовки три раза с интервалами по 5 мин. Средняя температура не должна отличаться от нормируемого значения более чем на ± 15. 6.3.34. Проверку на соответствие п. 3.22.2 проводят визуально по маркировке на табличке. 6.3.35. Работу электрического розжига (п. 3.22.3) проверяют при номинальном давлении газа не менее двух раз на холодной горелке и на горелке, проработавшей не менее 15 мин. Перед проверкой газопроводы плиты должны быть заполнены газом. 6.3.36. Проверку предохранительного устройства (п. 3.22.4) проводят следующим образом: пусковым органом переводят исполнительный механизм в открытое положение и разжигают горелку. По истечении 30 с освобождают пусковой орган, при этом горелка не должна гаснуть; на горелку, проработавшую не менее 5 с, прекращают подачу газа и после погасания пламени горелки подачу газа возобновляют. Через 30 с после погасания пламени расход газа не допускается. При необходимости повторного включения горелок духовки духовку предварительно полностью проветривают. 6.3.37. Проверку работы предохранительного устройства при выходе из строя чувствительного элемента (п. 3.22.5) осуществляют искусственным нарушением контакта чувствительного элемента с исполнительным механизмом. 7. МАРКИРОВКА, УПАКОВКА, ТРАНСПОРТИРОВАНИЕ И ХРАНЕНИЕтоварный знак или наименование предприятия-изготовителя; условное обозначение плиты и модель плиты (при необходимости); вид газа; номинальное давление газа; порядковый номер по системе нумерации предприятия-изготовителя; месяц и год выпуска; розничную цену для плит, предназначенных для продажи через розничную торговую сеть; государственный Знак качества, присвоенный в установленном порядке Госстандартом СССР, на плитах высшей категории качества. На плитах, оснащенных электрооборудованием, должны быть дополнительно нанесены следующие данные по ГОСТ 14087-80: номинальное напряжение; символ рода тока; символ степени защиты от поражения электрическим током для приборов класса II; символ степени защиты от влаги для каплезащитного прибора. На ручках или у ручек кранов и органов управления дополнительных устройств должны быть нанесены условные знаки, обозначающие: назначение органов управления; визуальное определение включаемой горелки (для плит с однорядным расположением горелок допускается не наносить); положение ручек кранов (закрытое, открытое, «малое пламя»). Сменные сопла, предназначенные для плит, работающих на сжиженном газе, должны иметь маркировку. 7.2. Отверстие входного патрубка газопровода плиты должно быть защищено от засорения. 7.3. Плиты должны быть упакованы: напольная - в дощатую обрешетку или специальную многооборотную пакетирующую кассету по рабочим чертежам предприятия-изготовителя, утвержденным в установленном порядке, или дощатый ящик типа II-1 по ГОСТ 2991-85 или в ящик из гофрированного картона марки П или Т по ГОСТ 9142-84 с усилением жесткости ящика вспомогательными упаковочными средствами - вкладышами; настольная - в дощатый ящик типа II-1 по ГОСТ 2991-85 или ящик из гофрированного картона марки П или Т по ГОСТ 9142-84. Регулятор и резиновый рукав (при их наличии) должны быть упакованы с плитой. Перед упаковыванием в дощатую обрешетку, пакетирующую кассету или дощатый ящик плита должна быть обернута двухслойной упаковочной бумагой любой из марок по ГОСТ 8828-75 или парафинированной бумагой по ГОСТ 9569-79 и обвязана шпагатом крестообразно. Допускается применение других упаковочных материалов. Допускается напольные плиты не упаковывать в тару при внутригородской перевозке автомобильным транспортом в контейнерах или специально оборудованных машинах. При отправке в районы Крайнего Севера и труднодоступные районы транспортная тара и упаковка плит должны соответствовать ГОСТ 15846-79. Съемные детали плиты и регулятор (при его наличии) должны быть обернуты двухслойной упаковочной бумагой по ГОСТ 8828-75 или парафинированной бумагой по ГОСТ 9569-79 и обвязаны шпагатом. Допускается применение других упаковочных материалов. При транспортировании железнодорожным транспортом размещение и крепление упакованных плит должно соответствовать техническим условиям погрузки и крепления грузов, утвержденным МПС. Настольные плиты транспортируют в пакетах по ГОСТ 21929-76, сформированных на плоских поддонах по ГОСТ 9078-84 или по ГОСТ 9570-84 грузоподъемностью не более 1 т, скрепленных по ГОСТ 21650-76 металлической лентой по одному из следующих стандартов: ГОСТ 3560-73, ГОСТ 6009-74, ГОСТ 503-81. При транспортировании автомобильным транспортом плиты устанавливают в один ярус. При транспортировании автомобильным транспортом с увеличенной высотой бортов напольные плиты допускается устанавливать в два яруса. 7.3 - 7.5. (Измененная редакция, Изм. № 1). 7.6. Упакованные плиты должны храниться по группе условий хранения С по ГОСТ 15150-69. Для плит, оснащенных электрооборудованием, дополнительно должен быть нанесен манипуляционный знак: «Боится сырости». 8. УКАЗАНИЯ ПО ЭКСПЛУАТАЦИИ8.1. Плиты следует устанавливать с соблюдением «Правил безопасности в газовом хозяйстве», утвержденных Госгортехнадзором СССР, и Строительных Норм и Правил на газоснабжение внутренних и наружных устройств, утвержденных Госстроем СССР. 8.2. Запрещается оставлять без присмотра включенную плиту. 8.3. После прекращения работы плиту следует отключить от источника подачи газа. 8.4. При появлении в помещении запаха газа следует немедленно прекратить пользоваться плитой. 8.5. Запрещается пользоваться плитой в случае неисправности ее газопроводов и электрооборудования. 8.6. При комплектовании плит с кухонной мебелью необходимо установить дополнительную изоляцию между плитой и мебелью. 8.7. Техническое обслуживание, перевод плит с одного вида газа на другой, устранение неисправностей должны проводить организации, обслуживающие бытовые газовые плиты. Перевод плит на другой вид газа следует осуществлять заменой сопел, выпускаемых предприятиями-изготовителями плит. 9. ГАРАНТИИ ИЗГОТОВИТЕЛЯ9.1. Предприятие-изготовитель гарантирует соответствие плит требованиям настоящего стандарта при соблюдении условий эксплуатации, транспортирования и хранения. 9.2. Гарантийный срок эксплуатации плит - 4 года со дня продажи через розничную торговую сеть, а при внерыночном потреблении - со дня получения потребителем. ПРИЛОЖЕНИЕ 1
| ||||||||||||||||||||||||||||||||||||||||||||||||||||||||||||||||||||||||||||||||||||||||||||||||||||||||||||||||||||||||||||||||||||||||||||||||||||||||||||||||||||||||||||||||||||||||||||||||||||||||||||||||||||||||||||||||||||||||||||||||||||||||||||||||||||||||||||||||||||||||||||||||||||||||||||||||||||||||||||||||||||||||||||||||||||||||||||||||||||||||||||||||||||||||||||||||||||||||||||||||||||||||||||||||||||||||||||||||||||||||||||||||||||||
|
Температура газа, °С |
Парциальное давление насыщенных водяных паров в газе, Па |
Температура газа, °С |
Парциальное давление насыщенных водяных паров в газе, Па |
|
10 |
1227 |
26 |
3360 |
|
11 |
1311 |
27 |
3564 |
|
12 |
1402 |
28 |
3779 |
|
13 |
1497 |
29 |
4004 |
|
14 |
1597 |
30 |
4242 |
|
15 |
1704 |
31 |
4491 |
|
16 |
1817 |
32 |
4754 |
|
17 |
1936 |
33 |
5029 |
|
18 |
2062 |
34 |
5318 |
|
19 |
2196 |
35 |
5622 |
|
20 |
2337 |
36 |
5640 |
|
21 |
2486 |
37 |
6274 |
|
22 |
2642 |
38 |
6624 |
|
23 |
2808 |
39 |
6991 |
|
24 |
2982 |
40 |
7375 |
|
25 |
3166 |
|
|

1 - измерительная бюретка; 2 - место подачи воздуха под давлением; 3 - резервный сосуд; 4 - сосуд для поддержания необходимого уровня; 5 - место подключения проверяемого аппарата
Черт. 7
|
Наименование продуктов |
Количество продуктов, г, для духовки объемом |
Вид изделия |
Режим выпечки |
||
|
35-45 дм3 |
45 дм3 и более |
время, мин |
температура, °С |
||
|
Мука высшего сорта |
300 |
500 |
Плоское, равномерно раскатанное по размерам противня |
20 - 25 |
180 - 190 |
|
Сахар |
85 |
142 |
|||
|
Масло сливочное (маргарин) |
66 |
110 |
|||
|
Молоко |
90 |
150 |
|||
|
Дрожжи (сухие) |
12 |
20 |
|||
|
Меланж |
60 |
100 |
|||
|
Соль |
0,9 |
1,5 |
|||
ИНФОРМАЦИОННЫЕ ДАННЫЕ
1. РАЗРАБОТАН И ВНЕСЕН Министерством газовой промышленности
ИСПОЛНИТЕЛИ
Л. В. Коваленко (руководитель темы); Н. Д. Отычко; Е. С. Кравченко; А. Д. Корсун; В. X. Новохатний; А. Д. Немировский; Е. Я. Ломакин; А. П. Петренко; А. Е. Шевцов; Я. К. Забудкина
2. УТВЕРЖДЕН И ВВЕДЕН В ДЕЙСТВИЕ Постановлением Государственного комитета СССР по стандартам от 05.05.85 № 1295.
3. Срок проверки - 1990 г.; периодичность проверки - 5 лет.
4. Взамен ГОСТ 10798-77.
5. ССЫЛОЧНЫЕ НОРМАТИВНО-ТЕХНИЧЕСКИЕ ДОКУМЕНТЫ
|
Обозначение НТД, на которую дана ссылка |
Номер пункта |
|
ГОСТ 2.606-71 |
|
|
ГОСТ 577-68 |
|
|
ГОСТ 2991-85 |
|
|
ГОСТ 6357-81 |
|
|
ГОСТ 8828-75 |
|
|
ГОСТ 9142-84 |
|
|
ГОСТ 9356-75 |
|
|
ГОСТ 9569-79 |
|
|
ГОСТ 10362-76 |
|
|
ГОСТ 12971-67 |
|
|
ГОСТ 13837-79 |
|
|
ГОСТ 14087-80 |
|
|
ГОСТ 14192-77 |
|
|
ГОСТ 15860-84 |
|
|
ГОСТ 16468-79 |
|
|
ГОСТ 18698-79 |
|
|
ГОСТ 20448-80 |
|
|
ГОСТ 21805-83 |
|
|
ГОСТ 21929-76 |
6. ПЕРЕИЗДАНИЕ (декабрь 1987 г.) с Изменением № 1, утвержденным в сентябре 1987 г. (ИУС 1-88).
СОДЕРЖАНИЕ
|
|
|
|