//
ТехЛит.ру
- крупнейшая бесплатная электронная интернет библиотека для "технически умных" людей.
WWW.TEHLIT.RU - ТЕХНИЧЕСКАЯ ЛИТЕРАТУРА

:: Алготрейдинг::


АЛГОТРЕЙДИНГ
шаг за шагом
с нуля по урокам!

Торговые роботы на PYTHON, BackTrader,
Pandas, Pine Script для TradingView. Связка с брокерами, телеграм и легкими приложениями.


МИНИСТЕРСТВО ВНУТРЕННИХ ДЕЛ РОССИЙСКОЙ ФЕДЕРАЦИИ

ГОСУДАРСТВЕННАЯ ПРОТИВОПОЖАРНАЯ СЛУЖБА

Нормы Государственной противопожарной службы МВД России

ИЗВЕЩАТЕЛИ ПОЖАРНЫЕ ДЫМОВЫЕ ОПТИКО-ЭЛЕКТРОННЫЕ.

Общие технические требования. Методы испытаний

НПБ 65-97

OPTICAL SMOKE DETECTORS.

Specifications. Test Methods

Дата введения 01.11. 1997 г.

Разработаны Филиалом Всероссийского научно-исследовательского института противопожарной обороны (ВНИИПО) МВД России в г. Санкт-Петербург (С.В. Михайлов, С.В. Сычев, Н. А. Беляков).

Внесены и подготовлены к утверждению нормативно- техническим отделом Главного управления Государственной противопожарной службы (ГУГПС) МВД России.

Утверждены главным государственным инспектором Российской Федерации по пожарному надзору.

Введены в действие приказом начальника ГУГПС МВД России № 57 от 25.08.1997 г.

Дата введения в действие 01.11.1997 г.

Содержание

1. ОБЛАСТЬ ПРИМЕНЕНИЯ

2. НОРМАТИВНЫЕ ССЫЛКИ

3. ОПРЕДЕЛЕНИЯ

4. ОБЩИЕ ТЕХНИЧЕСКИЕ ТРЕБОВАНИЯ

4.1. Требования назначения

4.2. Требования устойчивости к внешним воздействиям

4.3. Требования помехоустойчивости и помехоэмиссии

4.4. Требования надежности

4.5. Требования к конструкции

4.6. Требования к маркировке

4.7. Требования к комплектности

4.8. Требования к упаковке

4.9. Требования безопасности

5. МЕТОДЫ ИСПЫТАНИЙ

5.1. Общие положения

5.2. Методы контроля характеристик

5.3. Проведение испытаний

6. ТРАНСПОРТИРОВАНИЕ И ХРАНЕНИЕ

7. ГАРАНТИИ ИЗГОТОВИТЕЛЯ

Приложение 1 (рекомендуемое) ИСПЫТАТЕЛЬНАЯ КАМЕРА. ОСНОВНЫЕ ПАРАМЕТРЫ И РАЗМЕРЫ

Приложение 2 (рекомендуемое) УСТРОЙСТВО ДЛЯ ОПРЕДЕЛЕНИЯ УДЕЛЬНОЙ ОПТИЧЕСКОЙ ПЛОТНОСТИ ПРОДУКТОВ ГОРЕНИЯ (АЭРОЗОЛЯ)

Приложение 3 (обязательное) УСТРОЙСТВО ДЛЯ ПРОВЕРКИ СОХРАНЕНИЯ РАБОТОСПОСОБНОСТИ ОПТИЧЕСКИХ ИЗВЕЩАТЕЛЕЙ ПРИ ВОЗДЕЙСТВИИ ФОНОВОЙ ОСВЕЩЕННОСТИ

Приложение 4 (обязательное) УСТАНОВКА ДЛЯ ПРОВЕРКИ УСТОЙЧИВОСТИ ПОЖАРНЫХ ИЗВЕЩАТЕЛЕЙ К ПРЯМОМУ МЕХАНИЧЕСКОМУ УДАРУ (УДАР МОЛОТКОМ). ОСНОВНЫЕ ПАРАМЕТРЫ И РАЗМЕРЫ

1. ОБЛАСТЬ ПРИМЕНЕНИЯ

Настоящие нормы пожарной безопасности распространяются на точечные дымовые оптико-электронные пожарные извещатели (далее - оптические извещатели), применяемые в системах пожарной сигнализации и предназначенные для обнаружения загораний в помещениях различных зданий и сооружений.

Нормы не распространяются на оптические извещатели с принудительной доставкой среды и оптические извещатели специального назначения.

Оптические извещатели не являются средствами измерения.

Нормы устанавливают общие технические требования и методы испытаний точечных оптико-электронных дымовых пожарных извещателей.

Настоящие нормы могут применяться при сертификации вновь разрабатываемых и импортируемых оптических извещателей.

2. НОРМАТИВНЫЕ ССЫЛКИ

В настоящих нормах используются ссылки на следующие стандарты:

ГОСТ 28199-89 Основные методы испытаний на воздействие внешних факторов. Часть 2. Испытания. Испытание А: Холод.

ГОСТ 28200-89 Основные методы испытаний на воздействие внешних факторов. Часть 2. Испытания. Испытание В: Сухое тепло.

ГОСТ 28201-89 Основные методы испытаний на воздействие внешних факторов. Часть 2. Испытания. Испытание Са: Влажное тепло, постоянный режим.

ГОСТ 28213-89 Основные методы испытаний на воздействие внешних факторов. Часть 2. Испытания. Испытание Еа и руководство: Одиночный удар.

ГОСТ 28203-89 Основные методы испытаний на воздействие внешних факторов. Часть 2. Испытания. Испытание Fc и руководство: Вибрация (синусоидальная).

ГОСТ Р 50009-92 Совместимость технических средств охранной, пожарной и охранно-пожарной сигнализации электромагнитная.

ГОСТ Р 50008-92 Совместимость технических средств электромагнитная. Устойчивость к радиочастотным электромагнитным полям в полосе 26-1000 МГц. Технические требования и методы испытаний.

ГОСТ 29156-91 (МЭК 801-4-88) Совместимость технических средств электромагнитная. Устойчивость к наносекундным импульсным помехам. Технические требования и методы испытаний.

ГОСТ 29191-91 (МЭК 801-2-88) Совместимость технических средств электромагнитная. Устойчивость к электростатическим разрядам. Технические требования и методы испытаний.

ГОСТ 23511-79 Радиопомехи индустриальные от электротехнических устройств, эксплуатируемых в жилых домах или подключаемых к их электрическим линиям. Нормы и методы измерений.

ГОСТ 2.601-68 ЕСКД. Эксплуатационные документы.

ГОСТ 14192-77 Маркировка грузов.

ГОСТ 12.2.003-91 ССБТ. Оборудование производственное. Общие требования безопасности.

ГОСТ 12.2.007.0-75 ССБТ. Изделия электротехнические.

Общие требования безопасности.

ГОСТ 27.410-87 Надежность в технике. Методы контроля показателей и планы контрольных испытаний на надежность.

ГОСТ 15150-69 Машины, приборы и другие технические изделия. Исполнения для различных климатических районов.

3. ОПРЕДЕЛЕНИЯ

В настоящих нормах применяют следующие определения.

Дымовой пожарный извещатель - извещатель, реагирующий на частицы твердых или жидких продуктов горения и/или пиролиза в атмосфере.

Оптический дымовой пожарный извещатель - извещатель, реагирующий на продукты горения, способные воздействовать на поглощающую или рассеивающую способность излучения в инфракрасном, ультрафиолетовом или видимом диапазоне электромагнитного спектра.

Точечный (однопозиционный) извещатель - извещатель, реагирующий на параметр (явление), контролируемый вблизи от его компактного чувствительного элемента.

Чувствительность извещателя - численное значение контролируемого параметра, при превышении которого должно происходить срабатывание извещателя.

Оптическая плотность среды - десятичный логарифм отношения потока излучения, прошедшего через незадымленную среду, к потоку излучения, ослабленного средой при ее частичном или полном задымлении.

Удельная оптическая плотность среды - отношение оптической плотности задымленной среды к оптической длине пути луча в контролируемой среде.

4. ОБЩИЕ ТЕХНИЧЕСКИЕ ТРЕБОВАНИЯ

Оптические извещатели должны соответствовать требованиям настоящих норм и технической документации (технических условий) на конкретный оптический извещатель, введенных в установленном порядке и согласованных с Государственной противопожарной службой МВД России.

4.1. Требования назначения

4.1.1. По виду выходного сигнала оптические извещатели разделяют на два типа:

- с дискретным выходным сигналом;

- с аналоговым выходным сигналом.

Вид выходного электрического сигнала оптического извещателя должен соответствовать технической документации на конкретный извещатель.

4.1.2. Сигнал срабатывания оптических пожарных извещателей с дискретным выходным сигналом должен сохраняться после окончания воздействия продуктов горения. Отключение сигнала должно производиться отключением питания на время не более 3 с или с помощью специального устройства.

4.1.3. Номинальное значение напряжения питания оптических извещателей должно выбираться из ряда 6, 9, 12, 18, 20, 24, 30 В.

Предельные отклонения от номинального значения напряжения питания устанавливаются в технической документации на конкретный оптический извещатель.

4.1.4. Чувствительность оптических извещателей выбирают в пределах 0,05 - 0,2 дБ м-1.

4.1.5. В технической документации на оптический извещатель с дискретным выходным сигналом должно устанавливаться конкретное значение чувствительности.

4.1.6. В технической документации на конкретный оптический извещатель с аналоговым выходным сигналом должен устанавливаться диапазон значений чувствительности.

4.1.7. Максимальная удельная оптическая плотность, контролируемая оптическим извещателем с аналоговым выходным сигналом, в нормальных условиях должна быть не менее 0,2 дБ×м-1.

4.1.8. Значение чувствительности оптического извещателя не должно зависеть от количества срабатываний извещателя (повторяемость).

4.1.9. Значение чувствительности оптического извещателя не должно зависеть от воздействия воздушных потоков.

4.1.10. Значение чувствительности оптического извещателя не должно зависеть от ориентации к направлению воздушного потока.

4.1.11. Значение чувствительности оптического извещателя не должно меняться от образца к образцу (стабильность).

4.1.12. Значение чувствительности оптического извещателя не должно зависеть от напряжения питания внутри диапазона напряжений, указанных в технической документации на конкретный извещатель.

4.1.13. Оптические извещатели должны соответствовать ГОСТ Р 50898.

4.2. Требования устойчивости к внешним воздействиям

4.2.1. Оптический извещатель должен сохранять работоспособность при пониженной температуре, установленной в технических условиях на извещатели конкретных типов, но не выше минус 10 °С.

В обоснованных случаях диапазон температур окружающей среды допускается расширять в пределах до минус 30 °С.

4.2.2. Оптический извещатель должен сохранять работоспособность при повышенной температуре, установленной в технических условиях на извещатели конкретного типа, но не ниже 55 °С.

4.2.3. Оптический извещатель должен сохранять работоспособность после воздействия повышенной температуры плюс 40 °С при относительной влажности воздуха 93 %.

4.2.4. Оптический извещатель должен сохранять работоспособность после воздействия механических ударов со следующими характеристиками:

- форма ударного импульса - полусинусоида;

- длительность ударного импульса - 6 мс;

- пиковое ускорение (100 - 20M)g, где М - масса оптического извещателя, кг;

- число направлений - 6;

- число импульсов в каждом направлении - 3.

4.2.5. Оптический извещатель должен сохранять работоспособность после нанесения удара с энергией 1,9 Дж.

4.2.6. Оптический извещатель должен сохранять работоспособность при воздействии в любом направлении синусоидальной вибрации с ускорением 0,5 g в диапазоне частот от 10 до 150 Гц.

4.2.7. Оптический извещатель должен сохранять работоспособность при воздействии фоновой освещённости от искусственного и (или) естественного освещения величиной не менее 12 000 лк.

4.3. Требования помехоустойчивости и помехоэмиссии

По устойчивости к электрическим помехам в цепи источника электрического питания и по помехоэмиссии оптические извещатели должны соответствовать требованиям НПБ 57-96 "Приборы и аппаратура автоматических установок пожаротушения и пожарной сигнализации. Помехоустойчивость и помехоэмиссия. Общие технические требования. Методы испытаний" (не ниже 2-й степени жесткости по ГОСТ 50009).

Примечание. В техническую документацию на оптический пожарный извещатель должны быть внесены требования по устойчивости к электрическим помехам и цепи источника электрического питания и по помехоэмиссии согласно требованиям НПБ 57-96.

4.4. Требования надежности

4.4.1. Оптический извещатель должен быть рассчитан на круглосуточную непрерывную работу.

4.4.2. Средняя наработка на отказ оптических извещателей должна быть не менее 60000 часов.

Примечание. Для оптических извещателей с дистанционным контролем работоспособности этот показатель может быть заменен вероятностью безотказной работы за время между моментами контроля, значение которой устанавливают в технической документации на извещатели конкретного типа.

4.4.3. Условия, для которых нормируются показатели безотказности, сохраняемости и долговечности, должны быть указаны в технической документации на конкретный оптический извещатель.

4.5. Требования к конструкции

4.5.1. Оптические извещатели должны иметь встроенную оптическую индикацию срабатывания красного цвета.

4.5.2. Оптический извещатель должен быть обеспечен средствами, позволяющими надежно фиксировать его положение при монтаже.

Если конструкция оптического извещателя предусматривает крепление в розетке, то при отделении извещателя от розетки пожарный приемно-контрольный прибор должен зарегистрировать сигнал "Неисправность".

4.5.3. Масса и габаритные размеры оптических извещателей должны устанавливаться в технической документации на конкретный извещатель.

4.6. Требования к маркировке

4.6.1. Маркировка оптических извещателей должна содержать:

- номер настоящих норм;

- условное обозначение;

- степень защиты оболочки извещателя по ГОСТ 14254-80;

- товарный знак изготовителя.

Дополнительные надписи оговариваются в технической документации на конкретный извещатель.

4.6.2. Место и способ нанесения маркировки должны быть указаны в чертежах на конкретный извещатель.

4.6.3. Содержание и место нанесения транспортной маркировки должны соответствовать ГОСТ 14192.

4.6.4. На упаковочной таре должны быть нанесены манипуляционные знаки и надписи "Осторожно, хрупкое!", "Боится сырости", "Верх, не кантовать" согласно ГОСТ 14192.

4.7. Требования к комплектности

4.7.1. Перечень и число прилагаемых присоединительных деталей и приспособлений, запасных частей и принадлежностей должны устанавливаться в технической документации на конкретный извещатель.

4.7.2. К изделиям должна прилагаться эксплуатационная документация, выполненная в соответствии с ГОСТ 2.601.

4.7.3. Комплект поставки оптического извещателя должен обеспечивать его монтаж, проведение пусконаладочных работ и эксплуатацию без применения, нестандартного оборудования и нестандартных инструментов (кроме кабельных изделий, предназначенных для выполнения соединительных линий).

4.8. Требования к упаковке

4.8.1. Оптические извещатели должны быть упакованы в потребительскую тару в соответствии с требованиями ГОСТ 9.014-78.

4.8.2. Оптические пожарные извещатели должны быть упакованы в транспортную тару с целью их защиты от повреждений при транспортировании и хранении.

4.8.3. Оптические извещатели следует упаковывать в закрытых вентилируемых помещениях с температурой от плюс 15 до плюс 40 °С и относительной влажности воздуха до 80 % при отсутствии в окружающей среде агрессивных примесей.

4.9. Требования безопасности

4.9.1. Оптические извещатели должны быть безопасными для обслуживающего персонала при монтаже, ремонте и регламентных работах в соответствии с требованиями ГОСТ 12.2.003-91.

4.9.2. Оптические извещатели должны быть пожаробезопасными в соответствии с требованиями ГОСТ 12.2.007.0-75 при условии правильности их монтажа, эксплуатации и обслуживания.

5. МЕТОДЫ ИСПЫТАНИЙ

Методы контроля требований назначения (п. 4.1), устойчивости к внешним воздействиям (п. 4.2), помехоустойчивости и помехоэмиссии (п. 4.3), надежности (п. 4.4), требований к конструкции (п. 4.5), маркировке (п. 4.6), комплектности (п. 4.7), упаковке (п. 4.8), а также требований безопасности (п. 4.9) должны быть изложены в технической документации (технических условиях) на конкретный оптический извещатель.

5.1. Общие положения

5.1.1. Перед проведением испытаний оптический извещатель должен быть проверен на соответствие чертежам и технической документации, он не должен иметь видимых механических повреждений.

5.1.2. Для проведения испытании берутся 8 оптических извещателей с присоединительными розетками.

Извещатели с перестраиваемой чувствительностью испытываются при минимальном и максимальном устанавливаемых значениях чувствительности.

При испытаниях аналоговых оптических извещателей проводят проверку нижнего и верхнего значений диапазона чувствительности, указанного в технической документации.

5.1.3. По умолчанию погрешность условий испытаний не должна превышать 5 %.

5.1.4. Испытания оптических извещателей проводятся в соответствия с программой испытаний, приведенной в таблице.

Примечание. Испытываемые оптические извещатели произвольно нумеруются с 1 по 8 номер.

ПРОГРАММА ИСПЫТАНИЙ

Вид испытаний

Номер пункта

Номер извещателя

требований

испытаний

1

2

3

4

5

6

7

8

Повторяемость значения чувствительности

4.1.8

5.3.1

+

 

 

 

 

 

 

 

Устойчивость к воздушным потокам

4.1.9

5.3.2

 

+

 

 

 

 

 

 

Зависимость значения чувствительности от направленности ПИ относительно воздушного потока

4.1.10

5.3.3

 

 

+

 

 

 

 

 

Стабильность

4.1.11

5.3.4

+

+

+

+

+

+

+

+

Изменение питающего напряжения

4.1.12

5.3.5

 

 

 

+

 

 

 

 

Огневые испытания

4.1.13

5.3.6

В соответствии с ГОСТ Р 50898

Холод

4.2.1

5.3.7

 

 

 

 

+

 

 

 

Сухое тепло

4.2.2

5.3.8

 

 

 

 

 

+

 

 

Влажное тепло

4.2.3

5.3.9

 

 

 

 

 

 

+

 

Одиночный удар

4.2.4

5.3.10

 

 

 

 

 

 

 

+

Прямой удар (мех.)

4.2.5

5.3.11

+

 

 

 

 

 

 

 

Синусоидальная вибрация

4.2.6

5.3.12

 

+

 

 

 

 

 

 

Фоновая освещенность

4.2.7

5.3.13

 

 

+

 

 

 

 

 

Электрич. импульс в цепи питания, электростатический разряд, э/магнитное поле

4.3

5.3.14

В соответствии с НПБ 57-96

Вероятность безотказной работы

4.4.2

5.3.15

В соответствии с ГОСТ 27.410

5.2. Методы контроля характеристик

5.2.1. Условия испытаний.

Проверку оптического извещателя в нормальных условиях проводят при:

- температуре окружающего воздуха (23 ± 5) °С;

- относительной влажности от 30 до 80 %;

- атмосферном давлении от 98 до 104 кПа;

- отклонении напряжения питания от номинального значения не более (7 ± 0,2) %,

- отсутствии внешних электрических и магнитных полей, превышающих пределы, при которых они могут влиять на работу извещателей.

5.2.2. Аппаратура, оборудование и вспомогательные средства.

Контрольно-измерительная аппаратура, оборудование и вспомогательные средства, применяемые при испытаниях оптических извещателей, должны соответствовать стандартам и технической документации на них и быть поверены или аттестованы в установленном порядке.

5.2.2.1. Для испытаний оптических извещателей должна применяться испытательная камера, размеры и технические характеристики которой представлены в приложении 1.

5.2.2.2. Чувствительность оптических пожарных извещателей при испытаниях определяют по удельной оптической плотности среды (m) из следующего выражения:

                                                                                                      (1)

где т - удельная оптическая плотность, дБ×м-1; d - оптическая длина пути луча в контролируемой среде, м; Ро - мощность регистрируемого излучения, прошедшего через незадымленную среду; Р - мощность регистрируемого излучения, ослабленного средой при ее задымлении.

5.2.2.3. Для определения условий оптической плотности дыма (аэрозоля) в испытательной камере должно применяться измерительное устройство, технические характеристики которого представлены в приложении 2.

5.2.2.4 При проведении испытаний оптических извещателей в качестве материала дымообразования должен использоваться хлопчатобумажный фитиль.

Допускается использование генератора аэрозоля, использующего в качестве материала дымообразования парафиновое масло, со средним диаметром частиц аэрозоля от 0,5 до 1,0 мкм и показателем преломления частиц (1,4±0,1).

Характеристики частиц генерируемого аэрозоля должны быть стабильны в течение времени проведения испытаний.

5.3. Проведение испытаний

5.3.1. Проверку зависимости чувствительности оптического извещателя от количества срабатываний (повторяемость) оптического извещателя (п. 4.1.8) следует проводить в следующей последовательности.

5.3.1.1. Проверяемый оптический извещатель установить в испытательную камеру в рабочем положении, подключить к контрольно-измерительной аппаратуре, подать номинальное напряжение питания и выдержать во включенном состоянии в течение 15 мин.

Ориентацию оптического извещателя относительно направления воздушного потока в испытательной камере выбирать произвольно, но одинаковую для всех испытаний.

5.3.1.2. В испытательной камере установить нормальные условия и установить скорость воздушного потока (0,2±0,04) м×с-1.

5.3.1.3. Установить значение удельной оптической плотности в измерительной зоне испытательной камеры, равное (0±0,02) дБ×м-1 и создать нарастающую концентрацию продуктов горения (аэрозоля) в соответствии с условием:

0,015 £ Dт×Dt-1 £ 0,1,                                                                                       (2)

где Dт - величина изменения значения оптической плотности за единицу времени, дБ×м-1; Dt - промежуток времени между измерениями, мин.

5.3.1.4. В момент срабатывания оптического извещателя фиксировать значение удельной оптической плотности продуктов горения (аэрозоля), рассчитываемую по формуле (1).

5.3.1.5 Повторить испытания шесть раз.

5.3.1.6. Определить наибольшее (mmax) и наименьшее (mmin) значения чувствительности оптического извещателя и определить отношение mmax/mmin.

5.3.1.7. Оптический извещатель считается выдержавшим испытания, если отношение mmax/mmin не превышает 1,6. При этом наибольшее значение чувствительности не должно превышать значения 0,2 дБ×м-1, а наименьшее значение чувствительности не должно быть менее 0,05 дБ×м-1.

5.3.2. Проверку устойчивости оптического извещателя к воздействию воздушного потока (п. 4.1.9) проводить в следующей последовательности.

5.3.2.1. Подключить оптический извещатель в порядке, изложенном в п. 5.3.1.1.

5.3.2.2. По методике, изложенной в пп. 5.3.1.2-5.3.1.4, определить чувствительность оптического извещателя для положения с минимальной m(0,2)min и максимальной m(0,2)max чувствительностью.

5.3.2.3. Установить значение скорости воздушного потока в испытательной установке равным 1 ± 0,2 м×с-1.

5.3.2.4. По методике, изложенной в пп. 5.3.1.2-5.3.1.4, определить чувствительность оптического извещателя для положения с минимальной m(1,0)min и максимальной m(1,0)max чувствительностью.

5.3.2.5. Оптический извещатель считается выдержавшим испытания, если выполняется отношение

0,625 £ [m(0,2)min + m(0,2)max]×[m(1,0)min + m(1,0)max]-1 £ 1,6                                    (3)

5.3.3. Проверку чувствительности оптического извещателя в зависимости от ориентации к направлению воздушного потока (п. 4.1.10) следует проводить в следующей последовательности.

5.3.3.1. Подключить оптический, извещатель в порядке, изложенном в п. 5.3.1.1.

5.3.3.2. По методике, изложенной в пп. 5.3.1.2-5.3.1.4, определить восемь раз чувствительность оптического извещателя. Перед каждым определением чувствительности оптический извещатель повернуть на (45 ± 3)° вокруг вертикальной оси.

5.3.3.3. Определить наибольшее (mmax) и наименьшее (mmin) значения чувствительности оптического извещателя и определить отношение mmax/mmin.

Оптический извещатель считается выдержавшим испытания, если отношение mmax/mmin не превышает 1.6. При этом наибольшее значение чувствительности не должно превышать значения 0,2 дБ×м-1, а наименьшее значение чувствительности не должно быть менее 0,05 дБ×м-1.

Примечание. В последующих испытаниях положение оптического извещателя, для которого в момент срабатывания зафиксировано наибольшее значение удельной оптической плотности, считается положением с минимальной чувствительностью, положение оптического извещателя, для которого зафиксировано наименьшее значение удельной оптической плотности, - положением с максимальной чувствительностью.

5.3.4. Проверку стабильности чувствительности оптического пожарного извещателя (п. 4.1.11) следует проводить в следующей последовательности.

5.3.4.1. Установить оптический извещатель в испытательную камеру в положении с минимальной чувствительностью. По методике, изложенной в пп. 5.3.1.2-5.3.1.4, определить чувствительность всех испытываемых оптических извещателей.

5.3.4.2. Определить наибольшее (mmax) и наименьшее (mmin) значения чувствительности оптического извещателя и определить отношение mmax/mmin.

5.3.4.3. Оптический извещатель считается выдержавшим испытания, если отношение mmax/mmin не превышает 1,3.

5.3.5. Проверку сохранения работоспособности при изменении напряжения питания оптического извещателя (п. 4.1.12) следует проводить в следующей последовательности.

5.3.5.1. Оптический извещатель установить в испытательную камеру в положении с минимальной чувствительностью, подключить к контрольно-измерительной аппаратуре, подать номинальное напряжение питания и выдержать во включенном состоянии в течение 15 мин. Выключить напряжение питания.

5.3.5.2. Установить напряжение питания оптического извещателя, соответствующее верхнему (нижнему) пределу напряжения питания, указанного в технической документации. Выдержать в течение 5 мин.

5.3.5.3. По методике, изложенной в пп. 5.3.1.2-5.3.1.4, определить чувствительность оптического извещателя.

5.3.5.4. Определить наибольшее (mmax) и наименьшее (mmin) значения чувствительности оптического извещателя и определить отношение mmax/mmin.

5.3.5.5. Оптический извещатель считается выдержавшим испытания, если отношение mmax/mmin не превышает 1.5. При этом наибольшее значение чувствительности не должно превышать значения 0,2 дБ×м-1, а наименьшее значение чувствительности не должно быть менее 0,05 дБ×м-1.

Примечание. Если пределы изменения напряжения не указаны в технической документации, то испытания производить с напряжением питания 110 В и 85 % от номинального.

5.3.6. Проверку чувствительности оптических извещателей к дымам различной природы (огневые испытания) (п. 4.1.13) проводить в соответствии с методиками испытаний по ГОСТ 50898.

5.3.7. Проверку сохранения работоспособности оптического извещателя при воздействии окружающей среды с пониженной температурой (холод) (п. 4.2.1) проводить в соответствии с методом испытания Аb (ГОСТ 28199-89) следующим образом.

5.3.7.1. Оптический пожарный извещатель поместить в камеру холода, температура в которой соответствует нормальным условиям, подключить к контрольно-измерительной аппаратуре, подать номинальное напряжение питания.

5.3.7.2. Понизить температуру в камере до нижнего предела, указанного в технической документации (но не выше минус (10±3) °С), и поддерживать температуру в указанных пределах в течение 16 часов.

5.3.7.3. После выдержки при пониженной температуре оптический извещатель должен оставаться в камере, температура в ней должна постепенно повышаться до значения, соответствующего нормальным условиям.

Скорость изменения температуры, усредненная за период времени не более 5 мин, не должна превышать 1 °С×мин-1.

Примечание. Перед повышением температуры оптический извещатель должен быть отключен от источника питания.

5.3.7.4. Выдержать оптический извещатель в нормальных условиях в течение 1 часа.

5.3.7.5. Установить оптический извещатель в испытательную камеру в положении с минимальной чувствительностью. По методике, изложенной в пп. 5.3.1.2-5.3.1.4, определить чувствительность оптического извещателя и отношение mmax/mmin, для расчета которого берутся значения чувствительности, измеренные при данных испытаниях и при испытаниях по п. 5.3.3.

5.3.7.6. Оптический извещатель считается выдержавшим испытания, если в процессе испытаний отсутствовали сигналы "Неисправность", "Пожар" и отношение mmax/mmin не превышает 1,6.

5.3.8. Проверку сохранения работоспособности оптического извещателя к воздействию повышенной температуры (сухое тепло) (п. 4.2.2) проводить в следующей последовательности.

5.3.8.1. Оптический извещатель установить в испытательную камеру в положении с минимальной чувствительностью, подключить к контрольно-измерительной аппаратуре, подать номинальное напряжение питания и выдержать во включенном состоянии в течение 15 мин.

5.3.8.2. Повысить температуру в испытательной камере до (55±3) °С со скоростью не более 1 °С×мин-1 и выдержать оптический извещатель в течение 2 часов.

5.3.8.3. По методике, изложенной в пп. 5.3.1.2-5.3.1.4, определить чувствительность оптического извещателя при температуре (55±2) °С и отношение mmax/mmin, для расчета которого берутся значения чувствительности, измеренные при данных испытаниях и при испытаниях по п. 5.3.3.

5.3.8.4. Оптический извещатель считается выдержавшим испытания, если в процессе испытаний отсутствовали сигналы "Неисправность", "Пожар" и отношение mmax/mmin не превышает 1,6.

5.3.9. Проверку сохранения работоспособности оптического извещателя при воздействии повышенной влажности (влажное тепло) (п. 4.2.3) проводить в соответствии с методами испытаний Са (ГОСТ 28201-89) следующим образом.

5.3.9.1 Оптический пожарный извещатель поместить в камеру тепла и влаги, температура в которой соответствует нормальным условиям. Подключить оптический извещатель к контрольно-измерительной аппаратуре, подать номинальное напряжение питания и выдержать во включенном состоянии в течение 15 мин.

5.3.9.2. Довести относительную влажность в камере до значения (93+2-3) % при температуре плюс (40±2) °С и выдержать при данных условиях в течение 4 суток.

5.3.9.3 По окончании периода выдержки оптический извещатель выдерживают в нормальных условиях восстановления в течение времени не менее 1 ч.

5.3.9.4 Установить оптический извещатель в испытательную камеру в положении с минимальной чувствительностью. По методике, изложенной в пп. 5.3.1.2-5.3.1.4, определить чувствительность оптического извещателя и отношение mmax/mmin, для расчета которого берутся значения чувствительности, измеренные при данных испытаниях и при испытаниях по п. 5.3.3.

5.3.9.5. Оптический извещатель считается выдержавшим испытания, если в процессе испытаний отсутствовали сигналы "Неисправность", "Пожар" и отношение mmax/mmin не превышает 1,6.

5.3.10. Проверку сохранения работоспособности оптического извещателя при воздействии одиночных ударов (п. 4.2.4) проводить в соответствии с методами испытаний ГОСТ 28213 следующим образом.

5.3.10.1. Осмотреть составные части оптического извещателя и убедиться в отсутствии механических повреждений. Подключить оптический извещатель к контрольно-измерительной аппаратуре, подать номинальное напряжение питания и выдержать во включенном состоянии в течение 15 мин.

5.3.10.2. Во включенном состоянии оптического извещателя приложить три последовательных удара в шести направлениях по трём взаимно перпендикулярным осям с параметрами, указанными в п. 4.2.4.

5.3.10.3. Установить оптический извещатель в испытательную камеру в положении с минимальной чувствительностью. По методике, изложенной в пп. 5.3.1.2-5.3.1.4, определить чувствительность оптического извещателя и отношение mmax/mmin, для расчета которого берутся значения чувствительности измеренные при данных испытаниях и при испытаниях по п. 5.3.3.

5.3.10.4. Оптический извещатель считается выдержавшим испытания, если в процессе испытаний отсутствовали сигналы "Неисправность", "Пожар" и отношение mmax/mmin не превышает 1,6.

5.3.11. Проверку устойчивости оптического пожарного извещателя к воздействию прямого механического удара (удар молотка) (п. 4.2.5) проводить в следующей последовательности.

5.3.11.1. Осмотреть составные части оптического извещателя и убедиться в отсутствии механических повреждений.

5.3.11.2. Закрепить оптический извещатель с помощью фиксирующих устройств на опорной горизонтальной плите и подключить к контрольно-измерительной аппаратуре (пожарному приемно-контрольному пульту). Подать напряжение питания.

5.3.11.3. Подвергнуть оптический извещатель механическому удару с энергией 1,9 Дж и линейной скоростью движения ударного элемента в момент касания оптического извещателя, равной (1,5±0,125) м×с-1.

5.3.11.4. Установить оптический извещатель в испытательную камеру в положении с минимальной чувствительностью. По методике, изложенной в пп. 5.3.1.2 - 5.3.1.4, определить чувствительность оптического извещателя и отношение mmax/mmin, для расчета которого берутся значения чувствительности, измеренные при данных испытаниях и при испытаниях по п. 5.3.3.

5.3.11.5. Оптический извещатель считается выдержавшим испытания, если в процессе испытаний отсутствовали сигналы "Неисправность", "Пожар" и отношение mmax/mmin не превышает 1,6.

Примечание. Технические характеристики устройства для проведения испытаний приведены в приложении 4.

5.3.12. Проверку сохранения работоспособности оптического извещателя при воздействии вибрации (п. 4.2.6) проводить в соответствии с методами испытаний ГОСТ 28203 следующим образом.

5.3.12.1. Осмотреть составные части оптического извещателя и убедиться в отсутствии механических повреждений.

5.3.12.2. Подвергнуть оптический извещатель во включенном состоянии воздействию вибрации с параметрами, указанными в п. 4.2.6, в трех взаимно перпендикулярных направлениях, причём одна из осей должна быть перпендикулярна к нормальной плоскости монтажа.

5.3.12.3. Установить оптический извещатель в испытательную камеру в положении с минимальной чувствительностью. По методике, изложенной в пп. 5.3.1.2-5.3.1.4, определить чувствительность оптического извещателя и отношение mmax/mmin, для расчета которого берутся значения чувствительности, измеренные при данных испытаниях и при испытаниях по п. 5.3.3.

5.3.12.4. Оптический извещатель считается выдержавшим испытания, если в процессе испытаний отсутствовали сигналы "Неисправность", "Пожар" и отношение mmax/mmin не превышает 1,6.

5.3.13. Испытания по сохранению работоспособности оптического извещателя при воздействии фоновой освещенности (п. 4.2.7) проводить в испытательной камере. Описание и конструкция устройства для проведения испытаний представлена в приложении 3.

5.3.13.1. Оптический извещатель установить в испытательную камеру в положении с минимальной чувствительностью, подключить к контрольно-измерительной аппаратуре, подать номинальное напряжение питания и выдержать во включенном состоянии в течение 15 мин.

5.3.13.2. Включить на 10 с первую лампу, затем выключить ее на 10 с и повторить эту процедуру 10 раз. Испытания провести для каждой из остальных трех ламп.

5.3.13.3. Одновременно включить лампы, расположенные противоположно в порядке, изложенном в п. 5.3.13.2.

5.3.13.4. Одновременно включить все четыре лампы на время не менее (60±1) с и, не выключая ламп по методике, изложенной в пп. 5.3.1.2-5.3.1.4, определить чувствительность оптического извещателя.

5.3.13.5. Выключить все лампы и повернуть оптический извещатель на 90° относительно вертикальной оси в любом направлении. Повторить испытания по пп. 5.3.13.2-5.3.13.4.

5.3.13.6. Определить наибольшее (mmax) и наименьшее (mmin) значения чувствительности оптического извещателя и определить их отношение.

5.3.13.7. Оптический извещатель считается выдержавшим испытания, если в процессе испытаний отсутствовали сигналы "Неисправность", "Пожар", а отношение mmax/mmin не превышает 1.6.

5.3.14. Испытания по проверке устойчивости оптических извещателей к электрическим помехам в цепи источника питания и помехоэмиссии (п. 4.3) проводить в соответствии с НПБ 57-96.

5.3.15. Проверку вероятности безотказной работы оптического извещателя (п. 4.4.2) проводить в соответствии с требованиями ГОСТ 27.410-87 одноступенчатым методом с ограниченной продолжительностью испытаний при наблюдаемом риске поставщика, равном риску потребителя (0,2), и с приёмочным числом отказов, равным 1. Объём выборки определяется, исходя из приёмочного уровня вероятности безотказной работы и времени испытаний, по таблице 35 ГОСТ 27.410-87.

Испытаниям на надёжность должны подвергаться оптические извещатели, прошедшие приемосдаточные испытания. Формирование выборки должно осуществляться методом случайного отбора.

В процессе испытаний оптические извещатели должны находиться в дежурном режиме.

Оптические извещатели считаются прошедшими испытание на надёжность, если в процессе испытания отсутствовали ложные сигналы срабатывания, после испытания оптические извещатели сохранили работоспособность, а чувствительность соответствует требованиям технических условий.

Оптические извещатели, прошедшие испытание на надежность, допускается отправлять потребителю с обязательным указанием в технической документации времени наработки в процессе испытаний на надёжность.

6. ТРАНСПОРТИРОВАНИЕ И ХРАНЕНИЕ

6.1. Транспортирование оптических извещателей в транспортной упаковке должно осуществляться в закрытых транспортных средствах.

6.2. Хранение оптических извещателей в упаковке должно осуществляться на закрытых складах, обеспечивающих защиту от влияния влаги, солнечной радиации, вредных испарений и плесени. Температурный режим хранения должен соответствовать условиям хранения 2 по ГОСТ 15150-69.

7. ГАРАНТИИ ИЗГОТОВИТЕЛЯ

7.1. Изготовитель должен гарантировать соответствие оптических извещателей требованиям настоящих норм и технических условий при соблюдении потребителем требований транспортирования, хранения, монтажа и эксплуатации.

7.2. Гарантийный срок эксплуатации оптических извещателей должен быть не менее 18 месяцев с момента ввода в эксплуатацию или 24 месяцев с момента изготовления.

Изготовитель в течение гарантийного срока должен обеспечить бесплатный ремонт или замену вышедших из строя по его вине составных частей оптических извещателей.

Приложение 1
(рекомендуемое)

ИСПЫТАТЕЛЬНАЯ КАМЕРА. ОСНОВНЫЕ ПАРАМЕТРЫ И РАЗМЕРЫ

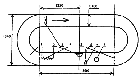
1. Испытательная камера состоит из аэродинамической трубы замкнутого типа, снабженной специальным устройством ввода продуктов горения (аэрозоля); применяется при определении чувствительности (порога срабатывания) автономных пожарных извещателей.

2. Форма испытательной камеры, а также размещение измерительной аппаратуры и испытуемых оптических извещателей показаны на рисунке.

В измерительной зоне испытательной камеры 1 устанавливается испытываемый автономный пожарный извещатель 2. Воздушный поток в объеме камеры создается с помощью вентилятора 3. Подъем температуры в объеме испытательной камеры обеспечивается электронагревателем 4. Сетка 5 предназначена для равномерного распределения продуктов горения (аэрозоля) по поперечному сечению и выравниванию воздушного потока. Контроль температуры осуществляется при помощи датчика температуры 6, контроль скорости воздушного потока при помощи измерителя скорости воздушного потока 7, удельная оптическая плотность определяется при помощи оптической плотности 8.

3. Поперечное сечение аэродинамической трубы испытательной камеры - не менее 380´380 мм.

4. Длина измерительной зоны испытательной камеры должна быть не менее 750 мм.

5. Испытательная камера должна обеспечивать возможность повышения температуры контролируемой среды до плюс 55 °С со скоростью не более 1 °С×мин-1.

Испытательная камера должна обеспечивать создание скорости воздушного потока от 0,2±0,04 до 1,0±0,04 м×с-1.

Испытательная камера

Приложение 2
(рекомендуемое)

УСТРОЙСТВО ДЛЯ ОПРЕДЕЛЕНИЯ УДЕЛЬНОЙ ОПТИЧЕСКОЙ ПЛОТНОСТИ ПРОДУКТОВ ГОРЕНИЯ (АЭРОЗОЛЯ)

Устройство для определения удельной оптической плотности продуктов горения (аэрозоля) должно иметь следующие характеристики:

- длина волны излучателя (приемника) - от 850 до 950 нм;

- диапазон измеряемой удельной оптической плотности от 0 до 2 дБ×м-1;

- погрешность измерения не более 0,02 дБ×м-1;

- длина зоны измерения оптической плотности не более 1,1 м.

Приложение 3
(обязательное)

УСТРОЙСТВО ДЛЯ ПРОВЕРКИ СОХРАНЕНИЯ РАБОТОСПОСОБНОСТИ ОПТИЧЕСКИХ ИЗВЕЩАТЕЛЕЙ ПРИ ВОЗДЕЙСТВИИ ФОНОВОЙ ОСВЕЩЕННОСТИ

Устройство устанавливается в испытательной камере.

Размеры устройства соответствуют размерам испытательной установки. Устройство имеет форму куба, у которого четыре замкнутые поверхности выложены алюминиевой фольгой с хорошей отражающей способностью, а две противоположные открыты для свободного прохождения дыма (аэрозоля).

На поверхностях устройства устанавливаются кольцевые люминесцентные лампы, обеспечивающие значение цветовой температуры на уровне (3800±300) К.

Проверяемый оптический извещатель устанавливается в центре верхней поверхности куба таким образом, чтобы свет попадал на него сверху, снизу и с двух боковых сторон. Конструкция устройства представлена на рисунке.

Устройство для проверки сохранения работоспособности оптических извещателей при воздействии фоновой освещенности

Приложение 4
(обязательное)

УСТАНОВКА ДЛЯ ПРОВЕРКИ УСТОЙЧИВОСТИ ПОЖАРНЫХ ИЗВЕЩАТЕЛЕЙ К ПРЯМОМУ МЕХАНИЧЕСКОМУ УДАРУ (УДАР МОЛОТКОМ). ОСНОВНЫЕ ПАРАМЕТРЫ И РАЗМЕРЫ

Установка (см. рисунок) состоит из качающегося молотка, включающего в себя прямоугольную головку (ударник) со скошенной под углом 60° толчковой поверхностью (1), закрепленную на ручке молотка (2). Молоток зафиксирован в стальном цилиндре (3), который свободно вращается на подшипниках (4) на фиксированном стальном столбе (5), установленном на жесткой стальной раме (6). Конструкция жесткой рамы такова, что позволяет смонтированному молотку совершать полный оборот при отсутствии испытуемого извещателя (7).

Ударник выполнен из алюминиевого сплава AlCuSiMg и имеет габариты 76´50´94 мм. Ручка молотка выполнена из стальной трубки, которая имеет внешний диаметр (25±0,1) мм и стенки толщиной (1,6±0,1) мм.

Продольная ось ударника находится на расстоянии 305 мм от оси вращения конструкции, эти оси взаимно перпендикулярны. Стальной цилиндр имеет внешний диаметр 102 мм, длину 200 мм и установлен соосно на фиксированном стальном столбе диаметром 25 мм (диаметр стального столба зависит от диаметра используемых подшипников).

Диаметрально противоположно молотку к стальному цилиндру прикреплены две стальных ручки (8) с внешним диаметром 20 мм и длиной 185 мм. Ручки ввинчиваются в стальной цилиндр. На ручки устанавливается стальной противовес (9) таким образом, что можно сбалансировать вес молотка и противовеса. На конце стального цилиндра установлен ворот (10) шириной 12 мм и диаметром 150 мм, выполненный из алюминиевого сплава. На ворот накручена нерастяжимая нить, один конец которой зафиксирован в вороте. На другом конце нити прикрепляется рабочий груз (11).

К жесткой раме крепится плита (12), на которую нормальным образом устанавливается испытываемый извещатель. Плита устанавливается таким образом, что центр ударной поверхности ударника попадает в извещатель тогда, когда молот движется горизонтально.

При подготовке к испытаниям извещатель устанавливается на плиту, после чего доска крепится к жесткой раме. Затем молоток тщательно балансируется путем подстройки противовеса при удаленном рабочем весе. После этого молоток отводится от извещателя на угол 3/2p (ручка молотка переводится в горизонтальное положение) и устанавливается рабочий вес. При освобождении сборки рабочий вес вращает молоток на угол 3/2p. Масса рабочего веса, необходимая для создания энергии удара 1,9 Дж, равна 0,388/3 r, где r - радиус ворота в метрах.

Для достижения скорости ударника (1,5±0,125) м×с-1 масса ударника должна быть приближенно равна 0,56 кг, но этот параметр должен быть дополнительно определен на опыте.

Установка для проверки устойчивости пожарных извещателей к прямому механическому удару

 




Яндекс цитирования



   Copyright © 2007-2026,  www.tehlit.ru.

[ ѓосты, стандарты, нормативы, инструкции, правила, строительные нормы ]