//
ТехЛит.ру
- крупнейшая бесплатная электронная интернет библиотека для "технически умных" людей.
WWW.TEHLIT.RU - ТЕХНИЧЕСКАЯ ЛИТЕРАТУРА

:: Алготрейдинг::


АЛГОТРЕЙДИНГ
шаг за шагом
с нуля по урокам!

Торговые роботы на PYTHON, BackTrader,
Pandas, Pine Script для TradingView. Связка с брокерами, телеграм и легкими приложениями.


ГОСТ Р 51616-2000

ГОСУДАРСТВЕННЫЙ СТАНДАРТ РОССИЙСКОЙ ФЕДЕРАЦИИ

Автомобильные транспортные средства

ШУМ ВНУТРЕННИЙ

Допустимые уровни и методы испытаний

ГОССТАНДАРТ РОССИИ

Москва

Предисловие

1 РАЗРАБОТАН И ВНЕСЕН Техническим комитетом ТК 56 «Дорожный транспорт»

2 ПРИНЯТ И ВВЕДЕН В ДЕЙСТВИЕ Постановлением Госстандарта России от 14 июня 2000 г. № 156-ст

3 Стандарт соответствует международному стандарту ИСО 5128-80 «Акустика. Измерение шума в салоне автомобиля» в части методов измерений

4 ВВЕДЕН ВПЕРВЫЕ

5 ПЕРЕИЗДАНИЕ. Январь 2003 г.

Содержание

1 Область применения

2 Нормативные ссылки

3 Определения

4 Допустимые уровни внутреннего шума

5 Методы испытаний

ПРИЛОЖЕНИЕ А (обязательное) Техническое описание автотранспортного средства

ПРИЛОЖЕНИЕ Б (обязательное) Проведение инспекционных испытаний сертифицированных автотранспортных средств

ПРИЛОЖЕНИЕ В (рекомендуемое) Форма протокола испытаний автотранспортного средства

ПРИЛОЖЕНИЕ Г (рекомендуемое) Образец технического описания автотранспортного средства

ПРИЛОЖЕНИЕ Д (справочное) Библиография

 

Автомобильные транспортные средства

ШУМ ВНУТРЕННИЙ

Допустимые уровни и методы испытаний

Motor vehicles. Internal noise.
Permissible levels and methods of tests

Дата введения 2001-01-01

1 Область применения

Настоящий стандарт распространяется на автомобильные транспортные средства (далее - автотранспортные средства) категорий M1 М2, M3, N1, N2, N3*, в том числе с электродвигателем, полуприцепы, предназначенные для перевозки пассажиров, троллейбусы и устанавливает допустимые уровни шума, которые воздействуют на водителя в кабине и пассажиров в пассажирском помещении автотранспортных средств, и методы испытаний.

Стандарт не распространяется на автотранспортные средства, находящиеся в эксплуатации.

Требования стандарта являются обязательными.

___________

*В соответствии с определениями, приведенными в ЕЭК ООН [1].

2 Нормативные ссылки

В настоящем стандарте использованы ссылки на следующие стандарты:

ГОСТ 17187-81 Шумомеры. Общие технические требования и методы испытаний

ГОСТ 27815-88 (Правила ЕЭК ООН № 36) Автобусы. Общие требования к безопасности конструкции

ГОСТ Р 41.85-99 (Правила ЕЭК ООН № 85) Единообразные предписания, касающиеся официального утверждения двигателей внутреннего сгорания или систем электротяги, предназначенных для приведения в движение механических транспортных средств категорий М и N, в отношении измерения полезной мощности и максимальной 30-минутной мощности систем электротяги

ГОСТ Р 51401-99 (ИСО 3744-94) Шум машин. Определение уровней звуковой мощности источников шума по звуковому давлению. Технический метод в существенно свободном звуковом поле над звукоотражающей плоскостью

3 Определения

В настоящем стандарте применяют следующие термины с соответствующими определениями:

3.1 система, влияющая на образование внутреннего шума: Комплекс элементов автотранспортного средства, изменяющих уровень звука в кабине (пассажирском помещении) и вибрацию, передаваемую элементами кабины (пассажирского помещения).

3.2 элемент системы, влияющей на изменение уровня внутреннего шума: Любой отдельный элемент автотранспортного средства: элемент упругой подвески кузова, двигателя, коробки передач (силового агрегата), раздаточной коробки, карданного вала, системы выпуска отработавших газов; глушители шума впуска воздуха и выпуска отработавших газов; перегородки в пассажирском помещении; вибродемпфирующие, звукоизолирующие и звукопоглощающие материалы и т.п.

3.3 полная масса автотранспортного средства: Масса автотранспортного средства, состоящая из снаряженной массы, массы груза (по грузоподъемности) или пассажиров (по числу мест), их багажа, водителя и другого обслуживающего персонала.

3.4 снаряженная масса автотранспортного средства: Масса полностью заправленного (топливом, маслами, охлаждающей жидкостью и пр.) и укомплектованного (запасным колесом, инструментом и т.п.) автотранспортного средства, но без груза или пассажиров, водителя, другого обслуживающего персонала и их багажа.

3.5 максимальная мощность двигателя: Мощность двигателя в киловаттах, определенная по ГОСТ Р 41.85.

4 Допустимые уровни внутреннего шума

4.1 Автотранспортные средства одного типа в отношении внутреннего шума не должны иметь существенных различий в следующих характеристиках:

- конструкции кузова, места установки двигателя;

- длины и ширины автотранспортного средства;

- типа двигателя (с искровым зажиганием или с воспламенением от сжатия, двухтактный или четырехтактный, поршневой или роторный), типа и конструкции системы питания и газораспределения, номинальной или максимальной мощности и соответствующей частоты вращения коленчатого вала двигателя, типа электродвигателя и т.д.;

- наличия вспомогательных систем, не являющихся необходимыми для получения движения, но используемых при движении автотранспортного средства (система отопления, кондиционирования и вентиляции кузова или пассажирского помещения, далее - вентиляционная установка);

- конструкции трансмиссии (в части типов: коробки передач, главной передачи, раздаточной коробки, дополнительной коробки), числа передач и передаточных чисел;

- других систем, влияющих на образование внутреннего шума.

4.2 В качестве оценочного показателя внутреннего шума принимается уровень звука в децибелах.

Допустимые уровни внутреннего шума автотранспортных средств приведены в таблице 1.

Таблица 1 - Допустимые уровни внутреннего шума автотранспортных средств

Автотранспортное средство

Допустимый уровень звука, дБА

Автомобили и автобусы для перевозки пассажиров

 

Категория M1 (кроме вагонной или полукапотной компоновки кузова)

78

Категория M1 (вагонная или полукапотная компоновка кузова)

80

Категории М2, М3 (кроме расположения двигателя впереди или рядом с местом водителя):

 

- на рабочем месте водителя

78

- в пассажирском помещении автобусов классов II и III по ГОСТ 27815

80

- в пассажирском помещении автобусов класса I

82

Категории М2, М3 (с расположением двигателя впереди или рядом с местом водителя):

 

- на рабочем месте водителя и в пассажирском помещении

80

Автомобили для перевозки грузов

 

Категории N1 полной массой до 2 т

80

Категория N1 полной массой от 2 до 3,5 т

82

Категории N2, N3 кроме предназначенных для международных и междугородных перевозок

82

Категории N2, N3, для международных и междугородных перевозок

80

Полуприцепы, предназначенные для перевозки пассажиров

80

Троллейбусы

 

- на рабочем месте водителя

78

- в пассажирском помещении

82

Примечания

1 Для автотранспортных средств повышенной проходимости* категории M1 допустимые уровни увеличиваются на 2 дБА.

2 При проведении инспекционных испытаний сертифицированного типа автотранспортного средства допускается превышение допустимых уровней звука не более чем на 1 дБА.

3 Для автотранспортных средств, имеющих мягкий верх, допускается увеличение предельных значений на 2 дБА до 01.07.2001.

4 Для автотранспортных средств, поставленных на производство до 01.01.91, допускается увеличение предельных значений на 2 дБА.

___________

* В соответствии с определением, приведенным в ЕЭК ООН [1].

5 Методы испытаний

5.1 Общие требования

5.1.1 Методы испытаний, изложенные в настоящем стандарте, используют при проведении испытаний автотранспортных средств (в том числе периодических, сертификационных, инспекционных и др.).

5.1.2 Автотранспортное средство, представленное на испытание, должно соответствовать требованиям технической и эксплуатационной документации, что определяется при его идентификации.

5.1.3 Для проведения испытаний должно быть представлено техническое описание автотранспортного средства конкретного типа в трех экземплярах в соответствии с приложением А.

5.1.4 Порядок проведения инспекционных испытаний сертифицированных автотранспортных средств изложен в приложении Б.

5.2 Средства измерений и регистрации

5.2.1 Для измерения внутреннего шума автотранспортного средства должны применяться следующие приборы:

- шумомер 1-го класса точности по ГОСТ 17187. При измерениях рекомендуется использовать микрофон с всенаправленной характеристикой;

- приборы для измерения скорости автотранспортного средства и частоты вращения коленчатого вала двигателя с относительной погрешностью измерения ±3 %;

- прибор для измерения скорости ветра с диапазоном измерения от 1 до 10 м/с и погрешностью измерения ±0,5 м/с;

- прибор для измерения температуры окружающего воздуха с погрешностью измерения ±1 °С;

- прибор для измерения атмосферного давления с погрешностью измерения ±2,6 гПа.

5.2.2 Шумомер следует калибровать по стандартному источнику звука непосредственно до и после каждой серии испытаний. Если при этой проверке показания шумомера отличаются более чем на 1 дБА, то испытание считают недействительным.

5.2.3 Допускается использовать другие средства измерений и регистрации, если их электроакустические характеристики соответствуют ГОСТ 17187.

5.3 Условия проведения испытаний

5.3.1 Автотранспортные средства, на которых для условий бездорожья используются шины повышенной проходимости, на время испытаний могут быть оборудованы дорожными шинами, указанными в документации предприятия-изготовителя. Допустимый износ шин не должен превышать 30 % первоначальной высоты рисунка протектора.

5.3.2 Автотранспортное средство испытывают без нагрузки, прицепов и полуприцепов, если они не предназначены для перевозки пассажиров. В кабине автотранспортного средства могут находиться два человека: водитель и испытатель. В автотранспортном средстве с числом мест для сиденья более 9 (категории М2, М3) допускается присутствие второго испытателя. Наличие посторонних предметов не допускается.

5.3.3 В процессе испытаний ни одно из сидений в автотранспортном средстве, где измеряется уровень звука, не должно быть занято, за исключением места водителя.

5.3.4 На автотранспортном средстве, оборудованном вспомогательной (дополнительной) коробкой передач с ручным переключением и/или приводом более чем на один мост с включением дополнительных мостов, следует установить положение переключателя и количество ведущих мостов, используемое при нормальных условиях движения в городе. Не следует использовать устройства, предназначенные для движения на малой скорости, стоянки или торможения.

5.3.5 При измерениях окна, двери и люки в крыше должны быть закрыты, мягкий тент установлен.

5.3.6 Передвижные регулируемые сиденья, возле которых проводятся измерения, должны находиться в среднем положении. Спинка сиденья, если имеется возможность ее регулирования, должна находиться в удобном для водителя рабочем положении. Регулируемые подголовники сидений должны находиться в среднем положении.

5.3.7 Перед испытаниями двигатель и другие агрегаты автотранспортного средства должны быть прогреты до рабочей температуры.

5.3.8 Испытания следует проводить на прямом сухом гладком и чистом участке дороги с покрытием из асфальтобетона в хорошем техническом состоянии. Продольный уклон измерительного участка не должен превышать 1 %. На расстоянии 20 м от продольной оси измерительного участка не должны находиться крупные звукоотражающие объекты (заборы, камни, мосты или здания).

5.3.9 Уровень шумовых помех должен быть не менее чем на 15 дБА ниже измеряемого уровня шума. Если это условие не соблюдается, следует внести поправку уровня помех по ГОСТ Р 51401.

5.3.10 При измерении шума вспомогательное оборудование (системы обмыва и очистки стекол, аудиоаппаратура и т.д.) должно быть выключено. Если автотранспортное средство оборудовано жалюзи и/или вентилятором системы охлаждения двигателя с автоматическим приводом, испытания должны проводиться при их работе в автоматическом режиме. Если автотранспортное средство оборудовано жалюзи с ручным управлением, испытания проводят при полностью открытых жалюзи.

5.3.11 При измерении уровня шума по методикам, изложенным в 5.5.1 и 5.5.2, вентиляционные установки, отопители, кондиционеры должны быть выключены.

5.3.12 Испытания проводят при следующих метеорологических условиях:

- отсутствии атмосферных осадков;

- атмосферном давлении 1013 гПа (760 мм рт. ст.); допустимое отклонение ±5 %;

- температуре окружающего воздуха от минус 10 до плюс 30 °С;

- скорости ветра, измеряемой на измерительном участке на высоте приблизительно 1,2 м, не более 5 м/с.

5.4 Методы измерения шума

5.4.1 Измерения уровня шума необходимо проводить в следующих точках.

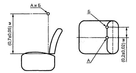
У сиденья водителя (для всех категорий автотранспортных средств) - микрофон, расположенный у сиденья водителя, должен быть смещен от его оси симметрии на (0,20 ± 0,02) м в направлении центра автотранспортного средства согласно точке Б, указанной на рисунке 1.

Над каждым рядом сидений - микрофон, расположенный у сидений пассажиров, устанавливают в точке А, указанной на рисунке 1.

В зонах, предназначенных для стояния пассажиров, измерения проводят на высоте (1,6 ± 0,1) м от пола ближе к продольной оси симметрии автотранспортных средств.

В зонах, предназначенных для лежания пассажиров, измерения проводят над серединой подушки на высоте (0,15 ± 0,02) м.

5.4.2 Расстояние от микрофона до стенок кабины или испытателя, проводящего измерения, должно быть не менее 0,15 м. Если при измерении в автотранспортном средстве находится испытатель, расстояние от него до микрофона должно быть не менее 1 м.

Микрофон должен быть расположен горизонтально; его ось максимальной чувствительности (в соответствии с характеристикой прибора) должна быть ориентирована в направлении взгляда сидящего человека. Если это направление не определено, то в направлении движения автотранспортного средства.

Рисунок 1 - Положение микрофона относительно сиденья

5.4.3 В протоколе испытаний указывают зоны, в которых были проведены измерения.

5.5 Измерение шума при разгоне

5.5.1 Измерения проводят следующим образом.

Стабилизируют начальную скорость движения v0 автотранспортного средства и режим работы двигателя в соответствии с условиями испытаний.

При достижении стабильной начальной скорости v0 резко нажимают до упора на педаль управления дроссельной заслонкой или подачей топлива и удерживают ее в таком положении до достижения окончания разгона скорости vк указанной в 5.5.2. Не допускается переключение передач во время разгона.

За результат измерения принимают максимальное значение уровня звука, зарегистрированное в процессе разгона автотранспортного средства от v0 до vк.

5.5.2 Выбор режима испытаний

5.5.2.1 Испытание автотранспортного средства с механической коробкой передач, имеющей ручное управление

В коробке передач должна быть включена наиболее высокая передача (не ниже третьей, если коробка передач имеет четыре и более передач, и не ниже второй, если коробка передач имеет менее четырех передач), обеспечивающая движение автотранспортного средства со скоростью, не превышающей 120 км/ч при частоте вращения двигателя, равной 90 % режима максимальной мощности. Полученная скорость принимается за скорость окончания разгона vк.

Если при включении выбранной передачи при частоте вращения, равной 90 % режима максимальной мощности двигателя, скорость превышает 120 км/ч, то скорость vк считают равной 120 км/ч.

Испытания проводят на выбранной передаче, начиная со скорости v0, соответствующей 45 % режима максимальной мощности двигателя.

Если на выбранной передаче скорость vк равна 120 км/ч, то v0 должна быть 60 км/ч.

Если на автотранспортном средстве категории N3 установлен ограничитель скорости, не позволяющий на высшей передаче развить скорость, соответствующую 90% режима максимальной мощности, то необходимо переходить на более низкую передачу и осуществлять разгон с 45 % до 90 % режима максимальной мощности двигателя.

5.5.2.2 Испытание автотранспортного средства с автоматической коробкой передач

В автотранспортном средстве с автоматической коробкой передач измерения проводят начиная со скорости v0, соответствующей 45 % режима максимальной мощности двигателя. При этом скорость v0 не должна быть более 60 км/ч. Если в коробке передач происходит переключение передач раньше, чем автотранспортное средство достигнет скорости, соответствующей 90 % частоты режима максимальной мощности двигателя или 120 км/ч, начальную скорость v0 принимают равной 50 % скорости, при которой происходит переключение передач. За скорость окончания разгона vк принимают скорость, на которой происходит переключение передач. Не допускается принудительное включение понижающей передачи.

5.5.2.3 Испытание автотранспортных средств всех категорий, приводимых в движение с помощью электродвигателя, и троллейбусов

Для автотранспортных средств всех категорий, приводимых в движение с помощью электродвигателя, и троллейбусов начальную скорость v0 устанавливают равной 45 % максимальной скорости, указанной предприятием-изготовителем. Разгон осуществляют до скорости vк соответствующей 90 % максимальной скорости, указанной предприятием-изготовителем.

5.5.2.4 Испытание автотранспортных средств, у которых максимальная скорость автотранспортного средства снаряженной массы с водителем и оператором на высшей передаче меньше скорости, соответствующей 90 % максимальной мощности двигателя и скорости 120 км/ч

В коробке передач включают более низкую передачу, но не ниже третьей. Начальная скорость v0 должна соответствовать минимальной частоте вращения коленчатого вала двигателя, обеспечивающей ее постоянное увеличение при полном нажатии на педаль дроссельной заслонки или подачи топлива, но не ниже 45 % скорости, соответствующей режиму максимальной мощности двигателя. Разгон заканчивается при скорости автомобиля vк, соответствующей 90 % максимальной мощности двигателя.

5.6 Измерение шума при движении автотранспортного средства с постоянной скоростью

5.6.1 Измерение шума при движении с постоянной скоростью проводят на высшей передаче в диапазоне скоростей, начиная с 60 км/ч или 40 % максимальной скорости автотранспортного средства до скорости, соответствующей 80 % максимальной, но не более 120 км/ч. Из указанных скоростей выбирают наименьшую.

5.6.2 Измерения проводят не менее чем при пяти значениях постоянных скоростей с округлением до 5 км/ч: наименьшей, наибольшей и промежуточных, обеспечивая равномерность интервалов между значениями скоростей. В каждой точке измерения по 5.4 и при каждой скорости в течение 5 с регистрируют среднее значение показания шумомера.

5.7 Измерение шума вентиляционных установок автотранспортного средства

5.7.1 Измерение проводят на неподвижном автотранспортном средстве при работе двигателя на холостом ходу (минимальная частота вращения холостого хода).

При измерении шума вентиляционной установки кондиционеры, отопители или вентиляторы должны быть включены в наиболее шумном режиме, предусмотренном изготовителем для продолжительной работы при движении автотранспортного средства. В каждой точке расположения микрофона проводят не менее трех измерений. Результаты измерений заносят в протокол испытаний (приложение В).

5.8 Измеряемые значения

5.8.1 При испытаниях по 5.5 измерения проводят с использованием постоянной времени усреднения «Быстро» (Fast), при испытаниях по 5.6 и 5.7 измерения проводят с использованием постоянной времени усреднения «Медленно» (Slow).

5.8.2 Измерения в процессе испытаний проводят при включенной частотной коррекции, соответствующей шкале А.

5.9 При измерениях по 5.5 и 5.6 в каждой точке расположения микрофона проводят не менее трех измерений. За результат измерения в каждой точке принимают среднее арифметическое значение, округленное до целого числа, которое сравнивают с допустимыми уровнями, приведенными в таблице 1. Если разность наибольшего и наименьшего значений уровней шума в каждой точке превышает 2 дБА, проводят повторное испытание.

За окончательный результат измерения уровня шума в пассажирском помещении принимают максимальное значение, полученное в измерительных точках.

5.10 По результатам испытаний оформляют протокол испытаний в соответствии с приложением В.

ПРИЛОЖЕНИЕ А
(обязательное)

Техническое описание автотранспортного средства

Техническое описание автотранспортного средства должно включать следующие данные

А.1 Подробное описание автотранспортного средства конкретного типа в отношении характеристик, указанных в 4.1. Следует указать также номера и (или) обозначения, характеризующие тип двигателя и тип автотранспортного средства.

А.2 Список обозначенных надлежащим образом элементов, образующих систему, влияющую на образование внутреннего шума, включая сведения, относящиеся к их изготовлению и типу.

А.3 Описание (чертеж, схема, эскиз) системы, влияющей на образование внутреннего шума, и указания о ее расположении на автотранспортном средстве.

А.4 Типы (марки) материалов, из которых изготовлены элементы системы, влияющей на образование внутреннего шума.

А.5 Чертеж или описание размещения вибродемпфирующих, звукоизолирующих и звукопоглощающих материалов, применяемых в автотранспортном средстве.

А.6 Марки (модели) используемых виброизоляторов. Схему их установки на автотранспортном средстве и чертежи (схемы) элементов виброизоляторов.

А.7 Полную массу автотранспортного средства и число сидений, включая сиденье водителя.

А.8 Описание (в форме схемы) внутреннего устройства кузова (расположение сидений, системы отопления и т.д.).

А.9 Характеристики установленных шин, а также шин, рекомендуемых предприятием-изготовителем (тип, описание, обозначение, динамический радиус), давление в шинах.

А.10 На элементах системы, влияющей на образование внутреннего шума, должна быть нанесена четкая несмываемая маркировка предприятия-изготовителя (заводская или коммерческая) и товарного знака.

Допускается не маркировать элементы пассивной защиты от вибрации и шума, представляющие собой битумные или синтетические мастики, листовые прокладочные материалы или их сочетания и т.п.

А.11 Образец технического описания приведен в приложении Г.

Примечание - Для других видов испытаний (контрольных, заводских, оценочных и т.п.) необходимо представить технические характеристики автотранспортного средства без графической части.

ПРИЛОЖЕНИЕ Б
(обязательное)

Проведение инспекционных испытаний сертифицированных автотранспортных средств

Б.1 Порядок проведения испытаний

Инспекционные испытания проводят на одном образце автотранспортного средства конкретного типа.

Измерения внутреннего шума при разгоне автотранспортного средства и при движении с постоянной скоростью - по 5.5 и 5.6.

Б.2 Оценка результатов

Если уровень шума испытуемого автотранспортного средства не превышает более чем на 1 дБА предельное значение, приведенное в таблице 1 настоящего стандарта, считают, что тип автотранспортного средства соответствует требованиям настоящего стандарта.

Если автотранспортное средство не соответствует требованиям настоящего стандарта, то испытанию подвергают два дополнительных автотранспортных средства того же типа.

Если при дополнительных испытаниях уровень шума хотя бы одного из испытуемых автотранспортных средств превышает более чем на 1 дБА предельное значение, приведенное в таблице 1 настоящего стандарта, считают, что тип автотранспортного средства не соответствует требованиям настоящего стандарта.

ПРИЛОЖЕНИЕ В
(рекомендуемое)

Форма протокола испытаний автотранспортного средства

Наименование испытательной лаборатории (центра)

Протокол №_____________

испытаний автотранспортного средства____________________

на соответствие ГОСТ_______________

Объект испытаний

Заводская или торговая марка__________________________________________________

Тип автотранспортного средства________________________________________________

Наименование и адрес предприятия-изготовителя_________________________________

Категория автотранспортного средства __________________________________________

Модель кузова (шасси) ________________________________________________________

Год выпуска _________________________________________________________________

Год начала производства_______________________________________________________

Номер шасси (кузова) и двигателя_______________________________________________

Технические характеристики автотранспортного средства:

обозначение двигателя (модель) _________________________________________________

тип двигателя ________________________________________________________________

с искровым зажиганием, дизель, электродвигатель

тактность двигателя___________________________________________________________

двухтактный, четырехтактный

количество цилиндров, шт, и их расположение ____________________________________

рабочий объем цилиндров, л ___________________________________________________

максимальная или номинальная мощность двигателя, кВт___________________________

частота вращения коленчатого вала при максимальной мощности двигателя, мин-1______

дополнительное оборудование для отопления и вентиляции кузова (салона)____________

_____________________________________________________________________________

тип, модель

полная масса автотранспортного средства (с полуприцепом - для тягачей), кг__________

число сидений, включая сиденье водителя _______________________________________

модель, обозначение шин и давление в них_______________________________________

тип трансмиссии _____________________________________________________________

число передач в коробке передач________________________________________________

передаточные числа __________________________________________________________

коробка передач, дополнительная коробка, главная передача

общее передаточное число, используемое при проведении испытаний_____________

скорость автотранспортного средства при частоте вращения коленчатого вала 1000 мин-1

при общем выбранном передаточном числе, км/ч__________________________________

Условия проведения испытаний

Тип (модель) используемых шумомера и микрофона _______________________________

Отклонение в тарировке _______________________________________________________

Тип (модель) других приборов, используемых при проведении испытаний ____________

Результаты испытаний

Передача, на которой проводились испытания ____________________________________

Скорость движения автотранспортного средства, км/ч, и соответствующая частота

вращения коленчатого вала двигателя: начальная, мин-1_____, конечная, мин-1_________

Уровни звука, измеренные при разгоне автотранспортного средства, дБА______________

Уровни звука, измеренные при движении автотранспортного средства с постоянной

скоростью, дБА___________________________________________________________

Допустимые уровни шума, дБА_________________________________________________

Уровни звука, измеренные при работе системы вентиляции кузова (пассажирского

помещения), дБА_____________________________________________________________

Заключение

Заявленный на сертификацию___________________________________________________

тип автотранспортного средства, модель, марка

соответствует (не соответствует) требованиям ГОСТ _______________________________

Дата

Руководитель
испытательной лаборатории_______________________________

Личная подпись _________________________________________

Расшифровка подписи____________________________________

М.П

 

ПРИЛОЖЕНИЕ Г
(рекомендуемое)

Образец технического описания автотранспортного средства

 

 

 

 

 

 

 

 

 

 

 

 

 

 

 

 

Техническое описание
автотранспортного средства в отношении внутреннего шума

 

 

 

 

 

 

 

 

 

 

 

 

 

 

 

 

 

 

 

 

 

 

На каждой странице технического описания указывается общее количество страниц описания и номер данной страницы

 

 

Г.1 Общие сведения

Г.1.1 Заводская или торговая марка_____________________________________________

Г.1.2 Тип автотранспортного средства___________________________________________

Г.1.3 Модификации ___________________________________________________________

Г.1.4 Категория ______________________________________________________________

Г.1.5 Идентификационный номер (VIN)__________________________________________

Г.1.6 Код ОКП (ТН ВЭД - для импортируемых транспортных средств)________________

Г.1.7 Наименование и адрес предприятия-изготовителя ____________________________

Г.1.8 Наименование и адрес заявителя сертификации ______________________________

 

Г.2 Технические характеристики

Параметр

Модификация автотранспортного средства - объекта сертификации

1

2

3

Общие технические данные

Габаритные размеры:

 

 

 

 

длина, мм

 

 

 

 

ширина, мм

 

 

 

 

высота в снаряженном состоянии, мм

 

 

 

 

Полная масса, кг

 

 

 

 

Снаряженная масса, кг

 

 

 

 

Колесная формула

 

 

 

 

Тип кузова

 

 

 

 

Расположение двигателя

 

 

 

 

Расположение кабины

 

 

 

 

Двигатель

Заводская или торговая марка

 

 

 

 

Модель или обозначение

 

 

 

 

Адрес предприятия-изготовителя

 

 

 

 

Тип двигателя (с воспламенением от сжатия, от искры и т.д.)

 

 

 

 

Тактность

 

 

 

 

Количество и расположение цилиндров

 

 

 

 

Рабочий объем двигателя, см3

 

 

 

 

Марка применяемого топлива

 

 

 

 

Количество и тип применяемых карбюраторов или систем впрыска топлива

 

 

Количество клапанов на цилиндр

 

 

 

 

Номинальная мощность двигателя, кВт

 

 

 

 

Частота вращения коленчатого вала двигателя, при которой развивается номинальная мощность, мин-1

 

 

 

 

Максимальный момент

 

 

 

 

Частота вращения коленчатого вала, при которой развивается максимальный момент, мин-1

 

 

 

 

Минимальная частота холостого хода двигателя, мин-1

 

 

 

 

Максимальная допустимая частота двигателя, мин-1

 

 

 

 

Тип, модель компрессора системы наддува двигателя; наличие промохлаждения

 

 

 

 

Вид системы охлаждения (жидкостная, воздушная)

 

 

 

 

Тип (модель) вентилятора системы охлаждения двигателя; тип (модель) автомата включения вентилятора (с указанием принципа работы)

 

 

 

 

Трансмиссия

Коробка передач:

 

 

 

 

модель

 

 

 

 

тип

 

 

 

 

способ переключения (ручное, автоматическое)

 

 

 

 

количество передач переднего хода

 

 

 

 

передаточные числа

 

 

 

 

Раздаточная (дополнительная) коробка:

 

 

 

 

модель

 

 

 

 

передаточные числа

 

 

 

 

Главная передача:

 

 

 

 

модель

 

 

 

 

тип

 

 

 

 

передаточные числа

 

 

 

 

Модель промопоры карданного вала (если имеется)

 

 

 

 

Шины
 (рекомендуемые предприятием-изготовителем для движения в городских условиях)

Модель, обозначение

 

 

 

 

Высота протектора по документации предприятия-изготовителя

 

 

 

 

Давление воздуха в шинах, кПа

 

 

 

 

Радиус качения, мм

 

 

 

 

Система снижения шума впуска

Наименование (например: воздушный фильтр, глушитель впуска и т.д.)

 

 

 

 

Фабричная или торговая марка

 

 

 

 

Тип (модель)

 

 

 

 

Предприятие-изготовитель

 

 

 

 

Материалы, из которых изготовлены элементы системы снижения шума впуска (например сталь 08 кп)

 

 

 

 

Система снижения шума выпуска

Наименование (например: передний глушитель, задний глушитель и т.д.)

 

 

 

 

Фабричная или торговая марка

 

 

 

 

Тип (модель)

 

 

 

 

Предприятие-изготовитель

 

 

 

 

Материалы, из которых изготовлены элементы системы снижения шума выпуска (глушители)

 

 

 

 

Набивка глушителя волокнистыми материалами (да/нет, если «да», то указать материал)

 

 

 

 

Система отопления, кондиционирования и вентиляции пассажирского помещения транспортного средства

Наименование

 

 

 

 

Краткое описание

 

 

 

 

Тип (модель) вентилятора, электродвигателя, компрессора

 

 

 

 

Описание возможных регулировок режимами работы отопителя

 

 

 

 

Г.3 Графический материал (максимальный размер А4)

Г.3.1 Сборочный чертеж (схема) системы впуска с указанием о ее размещении на автотранспортном средстве, позволяющий легко определить местоположение элементов этой системы.

Г.3.2 Чертежи каждого элемента системы снижения шума впуска, позволяющие легко идентифицировать эти элементы с указанием материалов, из которых они изготовлены. На чертежах следует указать места нанесения маркировки и ее вид.

Г.3.3 Сборочный чертеж (схема) системы выпуска с указанием о ее размещении на автотранспортном средстве, позволяющий легко определить местоположение элементов этой системы.

Г.3.4 Чертежи каждого элемента системы снижения шума выпуска, позволяющие легко идентифицировать элементы с указанием материалов, из которых они изготовлены. На чертежах следует указать места нанесения маркировки и ее вид.

Г.3.5 Схема подвески силового агрегата, позволяющая легко определить местоположение ее элементов на транспортном средстве. Чертежи элементов подвески (опор), позволяющие их легко идентифицировать. Схема подвески кузова к раме (если имеется). Чертежи опор (виброизоляторов).

Г.3.6 Схема установки в моторном отсеке автотранспортного средства звуко- и вибропоглощающих материалов, элементов капсулирования, позволяющая легко определить их местоположение с указанием фабричной или торговой марки или заводского обозначения применяемых материалов.

Г.3.7 Схема установки в салоне (кабине) автотранспортного средства звуко- и вибропоглощающих материалов, позволяющая легко определить их местоположение с указанием фабричной или торговой марки или заводского обозначения применяемых материалов.

Г.3.8 Общий вид транспортных средств с указанием основных габаритных размеров. Чертеж (схема) внутреннего устройства салона или кабины с указанием расположения сидений, отопителей (вентиляторов).

Г.3.9 Схема карданной передачи (при наличии промежуточной опоры - чертеж промежуточной опоры с указанием ее фабричной торговой марки или заводского обозначения, а также чертеж (схема) ее крепления к транспортному средству).

Г.4 Описание маркировки автотранспортного средства

Г.4.1 Место расположения и форма знака соответствия.

Г.4.2 Место расположения таблички изготовителя.

Г.4.3 Место расположения идентификационного номера (код VIN).

Г.4.4 Структура и содержание идентификационного номера (номеров) транспортных средств.

1

2

3

4

5

6

7

8

9

10

11

12

13

14

15

16

17

-

-

-

-

-

-

-

-

-

-

-

-

-

-

-

-

-

поз. 1 - 3: VMI (международный код изготовителя).

поз. 4 - 9: описательная часть идентификационного номера.

поз. 10: год выпуска.

поз. 11 - 17: производственный номер транспортного средства.

ПРИЛОЖЕНИЕ Д
(справочное)

Библиография

[1] ЕЭК ООН Сводная резолюция о конструкции транспортных средств (TRANS/WP.29/78/Rev.l)

Ключевые слова: автотранспортные средства, шум внутренний, допустимые уровни, методы испытаний

 




Яндекс цитирования



   Copyright © 2007-2026,  www.tehlit.ru.

[ ѓосты, стандарты, нормативы, инструкции, правила, строительные нормы ]