//
ТехЛит.ру
- крупнейшая бесплатная электронная интернет библиотека для "технически умных" людей.
WWW.TEHLIT.RU - ТЕХНИЧЕСКАЯ ЛИТЕРАТУРА

:: Алготрейдинг::


АЛГОТРЕЙДИНГ
шаг за шагом
с нуля по урокам!

Торговые роботы на PYTHON, BackTrader,
Pandas, Pine Script для TradingView. Связка с брокерами, телеграм и легкими приложениями.


ГОСТ 30683-2000

(ИСО 11204-95)

МЕЖГОСУДАРСТВЕННЫЙ СТАНДАРТ

ШУМ МАШИН

ИЗМЕРЕНИЕ УРОВНЕЙ
ЗВУКОВОГО ДАВЛЕНИЯ ИЗЛУЧЕНИЯ
НА РАБОЧЕМ МЕСТЕ И В ДРУГИХ
КОНТРОЛЬНЫХ ТОЧКАХ

МЕТОД С КОРРЕКЦИЯМИ НА АКУСТИЧЕСКИЕ УСЛОВИЯ

МЕЖГОСУДАРСТВЕННЫЙ СОВЕТ
ПО СТАНДАРТИЗАЦИИ, МЕТРОЛОГИИ И СЕРТИФИКАЦИИ

МИНСК

Предисловие

1 РАЗРАБОТАН Техническим комитетом по стандартизации ТК 358 «Шум машин»

ВНЕСЕН Госстандартом России

2 ПРИНЯТ Межгосударственным Советом по стандартизации, метрологии и сертификации (протокол № 17 от 22 июня 2000 г.).

За принятие проголосовали:

Наименование государства

Наименование национального органа по стандартизации

Азербайджанская республика

Азгосстандарт

Республика Армения

Армгосстандарт

Республика Беларусь

Госстандарт Республики Беларусь

Республика Казахстан

Госстандарт Республики Казахстан

Кыргызская Республика

Кыргызстандарт

Республика Молдова

Молдовастандарт

Республика Таджикистан

Таджикстандарт

Туркменистан

Главгосслужба «Туркменстандартлары»

Российская Федерация

Госстандарт России

Республика Узбекистан

Узгосстандарт

3 Стандарт соответствует международному стандарту ИСО 11204-95 «Акустика. Шум, излучаемый машинами и оборудованием. Измерение уровней звукового давления излучения на рабочем месте и в других установленных точках. Метод, требующий коррекций на окружающую среду» в части требований проведения и обработки результатов измерений

4 Постановлением Государственного комитета Российской Федерации по стандартизации и метрологии от 3 апреля 2002 г. № 126-ст межгосударственный стандарт ГОСТ 30683-2000 (ИСО 11204-95) введен в действие непосредственно в качестве государственного стандарта Российской Федерации с 1 января 2003 г.

5 ВВЕДЕН ВПЕРВЫЕ

СОДЕРЖАНИЕ

1 Область применения. 2

2 Нормативные ссылки. 2

3 Определения. 3

4 Неопределенность измерений. 5

5 Средства измерения. 5

6 Условия измерений. 6

7 Измеряемые величины.. 6

8 Рассчитываемые величины.. 6

9 Установка и режим работы испытуемой машины.. 6

10 Измерения. 8

11 Положения микрофона. 9

12 Регистрируемая информация. 10

13 Данные, включаемые в протокол испытаний. 11

Приложение А Определение локальной коррекции на акустические условия К3 11

Приложение Б Пример испытательного стола. 14

Приложение В Указания по обнаружению импульсного шума. 14

Приложение Г Библиография. 15

Введение

Настоящий стандарт является одним из серии стандартов, устанавливающих методы определения шумовых характеристик машин и оборудования. Метод измерения уровней звукового давления излучения на рабочем месте и в других контрольных точках вблизи машин, оборудования или их частей допускает проведение измерений в натурных условиях, позволяет определять и учитывать влияние акустических условий испытаний. В зависимости от значения локальной коррекции на акустические условия результаты измерения соответствуют техническому методу (степень точности 2) или ориентировочному методу (степень точности 3).

ГОСТ 30683-2000

(ИСО 11204-95)

 

МЕЖГОСУДАРСТВЕННЫЙ СТАНДАРТ            

Шум машин

ИЗМЕРЕНИЕ УРОВНЕЙ ЗВУКОВОГО ДАВЛЕНИЯ ИЗЛУЧЕНИЯ
НА РАБОЧЕМ МЕСТЕ И В ДРУГИХ КОНТРОЛЬНЫХ ТОЧКАХ

Метод с коррекциями на акустические условия

Noise of machines. Measurement of emission sound pressure levels at a work station and at other specified positions.
Method requiring environmental corrections

Дата введения 2003-01-01

1 Область применения

Настоящий стандарт распространяется на стационарные, передвигающиеся и переносные машины, механизмы и другое оборудование (далее - машины), эксплуатируемые в помещении или вне его и являющиеся источниками шума в воздушной среде, классифицируемого по ГОСТ 12.1.003, и устанавливает метод измерения уровней звукового давления излучения на рабочем месте, расположенном непосредственно у машины, в ее кабине, за частичным или полным звукозащитным ограждением (в выгородке), и в других контрольных точках в любом испытательном пространстве, которое удовлетворяет установленным к нему стандартом требованиям.

2 Нормативные ссылки

В настоящем стандарте использованы ссылки на следующие стандарты:

ГОСТ 12.1.003-83 Система стандартов безопасности труда. Шум. Общие требования безопасности

ГОСТ 12.1.025-81 Система стандартов безопасности труда. Шум. Определение шумовых характеристик источников шума в реверберационной камере. Точный метод

ГОСТ 12.1.026-80* Система стандартов безопасности труда. Шум. Определение шумовых характеристик источников шума в свободном звуковом поле над звукоотражающей плоскостью. Технический метод

* На территории Российской Федерации действует ГОСТ Р 51401-99 (ИСО 3744-94).

ГОСТ 12.1.028-80** Система стандартов безопасности труда. Шум. Определение шумовых характеристик источников шума. Ориентировочный метод

** На территории Российской Федерации действует ГОСТ Р 51402-99 (ИСО 3746-95).

ГОСТ 17168-82 Фильтры электронные октавные и третьоктавные. Общие технические требования и методы испытаний

ГОСТ 17187-81 Шумомеры. Общие технические требования и методы испытаний

ГОСТ 30720-2001 (ИСО 11203-95) Шум машин. Определение уровней звукового давления излучения на рабочем месте и в других контрольных точках по уровню звуковой мощности

3 Определения

В настоящем стандарте применяются следующие термины с соответствующими определениями.

3.1 излучение: Воздушный шум, излучаемый определенным источником звука (например, испытуемой машиной).

Примечание - В отличие от излучения, называемого также эмиссией, воздушный шум, создаваемый всеми функционирующими источниками, включающий также отражение и рассеивание звука на преградах и характеризующий шумовое воздействие (экспозицию) на находящихся в зоне его действия людей, называют имиссией.

3.2 звуковое давление излучения p (Па): Звуковое давление в заданной точке вблизи источника шума при определенных рабочем режиме и условиях установки источника на звукоотражающей плоскости, когда исключено влияние фонового шума и отражений от поверхностей, отличных от тех, которые допускаются для целей испытания.

3.3 уровень звукового давления излучения Lp (дБ): Десятикратный логарифм при основании, равном десяти, отношения квадрата звукового давления излучения, измеренного с определенными временной и частотной характеристиками шумомера, выбранными из числа установленных ГОСТ 17187, к опорному звуковому давлению p0 (p0 = 20 мкПа).

Примеры

1 Максимальный корректированный по частотной характеристике А шумомера уровень звукового давления излучения (максимальный уровень звука излучения) с временной характеристикой   (дБА).

2 Корректированный по частотной характеристике С шумомера (далее - корректированный по С) пиковый уровень звукового давления излучения:  (дБС).

3.3.1 эквивалентный уровень звукового давления излучения  (дБ): Усредненный по времени уровень звукового давления излучения, равный уровню звукового давления излучения постоянного шума, имеющего такое же среднее значение квадрата звукового давления, что и данный непостоянный шум за тот же период времени усреднения Т, равный продолжительности измерений.

Примечание -  рассчитывают по формуле

                                                           (1)

3.3.2 эквивалентный уровень звука излучения : Эквивалентный уровень звукового давления излучения, измеренный с частотной характеристикой А шумомера.

Примечание - Обычно обозначение  сокращают до .

3.3.3 пиковый уровень звукового давления излучения  (дБ): Наибольшее мгновенное значение уровня звукового давления излучения, полученное за рабочий цикл.

3.3.4 уровень звукового давления излучения единичного сигнала: Интегрированный по времени уровень звукового давления излучения одного отдельного звукового сигнала установленной продолжительности Т (или при установленной продолжительности измерений Т), нормированный относительно Т0 = 1 с.

Примечание -, дБ, рассчитывают по формуле

                                         (2)

3.4 показатель импульсного шума (импульсность) (дБ): Величина, с помощью которой шум может быть охарактеризован как импульсный.

3.5 свободное звуковое поле над звукоотражающей плоскостью: Звуковое поле в однородной изотропной среде в полупространстве над бесконечной жесткой плоской поверхностью, на которой расположена испытуемая машина.

3.6 место оператора: Рабочее место вблизи испытуемой машины, предназначенное для оператора.

3.7 оператор: Лицо, рабочее место которого находится вблизи машины и которое выполняет рабочее задание, связанное с этой машиной.

3.8 контрольная точка: Точка, определяемая относительно машины, совпадающая или не совпадающая с местом оператора.

Примечание - Точка может быть единственной, либо может быть использовано несколько точек вдоль траектории обхода оператора или на поверхности, расположенной на заданном расстоянии от машины, как установлено в соответствующем стандарте по испытаниям на шум. Точки, расположенные вблизи рабочего места либо вблизи необслуживаемой машины, где могут находиться лица, не являющиеся оператором (наблюдатели), называют вспомогательными.

3.9 операционный период: Период времени, в течение которого испытуемая машина выполняет заданную операцию.

3.10 рабочий цикл: Определенная последовательность операционных периодов при выполнении испытуемой машиной полного комплекса заданных работ.

Примечание - Каждый операционный период соответствует определенному процессу, который может быть выполнен один раз или может повторяться в течение рабочего цикла.

3.11 продолжительность измерений: Время, соответствующее части или нескольким операционным периодам или рабочим циклам, в течение которого для них определяют уровень звукового давления излучения или максимальный уровень звукового давления излучения.

3.12 уровнеграмма: Непрерывная запись уровня звукового давления как функции времени, получаемая в течение одного или более операционных периодов или рабочего цикла.

3.13 фоновый шум: Шум от всех источников, кроме испытуемой машины.

Примечание - Фоновый шум может включать воздушный шум, шум от вибрации конструкций, возбуждаемый испытуемой машиной, электрический шум средств измерения.

3.14 уровень фонового шума (дБ): Уровень звукового давления, измеренный при выключенной испытуемой машине.

3.15 коррекция на фоновый шум К1: Величина для учета влияния фонового шума на уровень звукового давления в контрольных точках.

Примечание - К1 зависит от частоты. При применении коррекции А величину К1А определяют по измеренным значениям уровня звука или эквивалентного уровня звука.

3.16 показатель акустических условий К2 (дБ): Величина для учета влияния отраженного либо поглощенного звука на уровень звукового давления на измерительной поверхности.

Примечание - К2 зависит от частоты. При применении коррекции А показатель обозначают К2А.

3.17 локальная коррекция на акустические условия К3 (дБ): Величина для учета влияния отраженного звука на уровень звукового давления излучения в контрольной точке.

Примечание - К3 зависит как от частоты, так и от положения точки. При применении коррекции А локальную коррекцию обозначают К3А.

3.18 стандарт по испытаниям на шум: Документ по стандартизации (стандарт, правила или аттестованная национальным органом по стандартизации методика испытаний, применимые к заданному типу или модели машин), содержащий всю необходимую информацию для определения, заявления и контроля шумовых характеристик в стандартизованных условиях.

4 Неопределенность измерений

Неопределенность измерения обусловлена акустическими условиями и методикой измерений. Она зависит от среднеквадратического отклонения воспроизводимости измерений sR, которое может быть неодинаково для различных контрольных точек, и от доверительной вероятности. Среднеквадратическое отклонение воспроизводимости измерений определяют с помощью повторных измерений, и оно должно быть указано в стандарте по испытаниям на шум.

Среднеквадратическое отклонение воспроизводимости корректированных по А измерений излучения может быть не более 2,5 дБ (исключая изменения в режиме работы и условиях установки машины) для технического метода и 5 дБ - для ориентировочного метода для источника, излучающего широкополосный шум с относительно равномерным спектром в диапазоне от 100 до 10000 Гц.

Устанавливают следующие критерии, характеризующие степень точности, к которой могут быть отнесены результаты измерений.

К3А £ 2 дБА - соответствует техническому методу (степень точности 2);

2 дБА < К3А £ 7 дБА - соответствует ориентировочному методу (степень точности 3).

Достигаемая степень точности зависит от положения контрольной точки.

5 Средства измерения

Средства измерения, включая микрофон и кабель, должны соответствовать требованиям класса 1 по ГОСТ 17187, октавные и третьоктавные фильтры - ГОСТ 17168. Если применяют интегрирующие шумомеры, то они должны соответствовать требованиям, установленным в [1].

До или после проведения измерений средства измерения следует калибровать калибратором звука с погрешностью в пределах ± 0,3 дБ на одной или нескольких частотах диапазона измерений.

6 Условия измерений

6.1 Критерий соответствия акустических условий

Показатель акустических условий К2А, определенный по методам ГОСТ 12.1.026 или ГОСТ 12.1.028, не должны превышать 7 дБА

6.2 Случай изолированного рабочего места

Если оператор находится в изолированной кабине или выгородке, отдаленной от испытуемой машины, то кабину и выгородку рассматривают как неотъемлемую часть испытуемой машины. Отражения звука внутри кабины или выгородки рассматривают как добавление к уровню звукового давления излучения. Коррекцию на акустические условия не проводят.

Во время измерений двери и окна кабины или выгородки должны быть открыты либо закрыты, как указано в стандарте по испытаниям на шум.

В стандарте по испытаниям на шум должно быть установлено дополнительное условное рабочее место или место наблюдателя вне кабины и выгородки.

6.3 Критерий фонового шума

Коррекцию на фоновый шум К1, дБ, определяют для каждой контрольной точки, в которой располагают микрофон, по формуле

К1 = -10lg(l - 10-0,1DL),                                                   (3)

где DL - разность между уровнями звукового давления при включенной и выключенной машине.

Если DL > 15 дБ, то считают К1 = 0. Если DL < 6 дБ (т.е. К1А > 1,3 дБ), то результат измерений считают недействительным.

6.4 Внешние условия измерений

Следует избегать сильных электрических и магнитных полей, ветра, высоких и низких температур, воздушного потока от испытуемой машины, принимая соответствующие меры или выбирая соответствующее положение микрофона.

6.5 Локальная коррекция на акустические условия

В приложении А описана методика определения локальной коррекции на акустические условия К3.

7 Измеряемые величины

Измерению в каждой точке подлежат следующие величины:

- корректированный по А уровень звукового давления (уровень звука или эквивалентный уровень звука) L¢рА;

- корректированный по С пиковый уровень звукового давления LpCpeak.

Допускаются измерения уровней звукового давления с другими частотными характеристиками; в октавных и третьоктавных полосах частот; зависимостей уровней звукового давления от времени; уровня звукового давления единичного сигнала и др.

Выбор измеряемой величины должен быть указан в стандарте по испытаниям на шум.

8 Рассчитываемые величины

Рассчитываемые величины получают из измеренных величин путем вычитания из них коррекции на фоновый шум К1 и локальной коррекции на акустические условия К3. Для пиковых уровней коррекции не проводят.

Уровень звука излучения или эквивалентный уровень звука излучения LpA, дБА вычисляют по формуле

LpA = L¢pA - К1A - К,                                                       (4)

где L¢pA - измеренный уровень звука или эквивалентный уровень звука, дБА

9 Установка и режим работы испытуемой машины

9.1 Общие положения

Расположение, установка и режим работы испытуемой машины должны быть указаны в стандарте по испытаниям на шум. При измерении уровней звукового давления излучения и уровней звуковой мощности (по соответствующим стандартам) расположение, установка и режим работы машины должны быть одинаковыми.

Источники шума, работающие на столах, могут быть установлены при испытании на полу.

В стандарте по испытаниям на шум для больших машин должны быть даны указания относительно деталей, узлов, дополнительного оборудования, источников энергии и т.д., включаемых в состав машины.

9.2 Расположение источника шума

Испытуемую машину следует устанавливать относительно звукоотражающей плоскости в одном или нескольких положениях, соответствующих нормальному применению машины, и в отдалении от стен, потолка и других звукоотражающих объектов. Может быть одна или несколько звукоотражающих плоскостей. Машина может быть установлена: на открытой площадке; в проеме стены так, что она будет давать излучение одновременно по обе стороны стены как звукоотражающей плоскости; другим образом, указываемом в стандарте по испытаниям на шум.

9.3 Установка источника шума

Следует использовать или моделировать типовые условия установки, если такие имеются, принимать меры по снижению излучения опорными конструкциями. Многие малые источники шума могут вызывать вибрацию связанных с ними больших поверхностей и тем самым усиливать низкочастотный шум. Для предотвращения этого следует применять виброизолирующие прокладки, если они используются при эксплуатации машины.

9.3.1 Ручные машины

Ручные машины должны быть подвешены или удерживаться в руках, чтобы исключить шум от опорной конструкции. Если используется опорная конструкция, она должна быть небольшой, являться частью испытуемой машины и должна быть описана в стандарте по испытаниям на шум.

9.3.2 Машины и оборудование, устанавливаемые на полу и стене

Машины и оборудование должны располагаться на звукоотражающей плоскости (на полу или стене) либо на полу перед стеной, как указано в условиях эксплуатации. Эксплуатируемые на столе машины следует устанавливать при испытаниях на испытательном столе или подставке (консоли, стойке и т.д.) в соответствии со стандартом по испытаниям на шум. Испытательный стол располагают на расстоянии не менее 1,5 м от звукоотражающих поверхностей испытательного помещения.

Пример конструкции стола приведен в приложении Б.

9.4 Вспомогательное оборудование

Вспомогательное оборудование следует располагать вне испытательного помещения. Если это невозможно, его включают в состав машины и описывают режим его работы в протоколе испытаний.

9.5 Режим работы машины во время испытаний

Соответствующий режим работы должен быть указан в стандарте по испытаниям на шум. Если такой код отсутствует, машина должна работать, если это возможно, в режиме, характерном для ее нормального использования. В этом случае должны быть выбраны один или несколько следующих режимов:

а) при установленной нагрузке и заданном режиме работы;

б) при полной нагрузке [если она отличается от указанной в перечислении а)];

в) без нагрузки (холостой ход);

г) при режиме, соответствующем максимальному излучению, характерному для условий эксплуатации;

д) с моделируемой нагрузкой при заданных условиях;

е) в режиме работы с характерным рабочим циклом.

Испытания следует проводить при заданных условиях: температуре, влажности, числе оборотов и т.д. До начала испытаний машина должна быть выведена на требуемый режим.

Если излучение зависит от вида обрабатываемого материала, вида инструмента, то следует определить типичные условия, обеспечивающие воспроизводимость результатов измерений.

В особых случаях результаты измерений при разных режимах работы можно объединять, рассчитывая среднеквадратическое значение при различной продолжительности измерений в соответствии с 10.1.1 на каждом из режимов.

Режимы работы машины во время измерений должны быть детально описаны в протоколе испытаний.

10 Измерения

10.1 Продолжительность измерений

10.1.1 Общие положения

Общая продолжительность измерений Т равна сумме продолжительностей измерений Ti, каждая из которых соответствует определенному операционному периоду. В этом случае обычно требуется рассчитать объединенный результат измерения уровня звукового давления излучения. Уровень звука излучения или эквивалентный уровень звука излучения, соответствующий продолжительности измерений Т, дБ, рассчитывают по формуле

                                                (5)

где Т - общая продолжительность измерений, равная ;

Ti - продолжительность i-го измерения (повторного или на i-м операционном периоде);

N - общее число отдельных измерений или операционных периодов;

 - уровень звука излучения или эквивалентный уровень звука излучения, соответствующий продолжительности измерений Ti.

Продолжительность измерений должна соответствовать последовательности операционных периодов, для которых требуется определить уровни звукового давления излучения и, когда необходимо, временным характеристикам излучения. Значения величин Т и Ti должны быть такими же, как и при измерении по соответствующим стандартам уровня звуковой мощности машины. Эти значения должны быть указаны в стандарте по испытаниям на шум.

10.1.2 Постоянный шум

Для постоянного шума продолжительность измерений на рабочем режиме должна быть не менее 15 с.

10.1.3 Непостоянный шум

Для непостоянного шума необходимо провести исследования для определения продолжительности измерений и операционных периодов машины.

Продолжительность измерений и операционные периоды указывают в стандарте по испытаниям на шум, если он имеется. Выбранные продолжительности измерений и операционные периоды должны быть приведены в протоколе испытаний.

10.1.4 Измерения в полосах частот

Минимальная продолжительность измерений должна составлять 30 с для полос со среднегеометрическими частотами, равными или менее 160 Гц, и 15 с - для полос со среднегеометрическими частотами, равными или более 200 Гц.

10.2 Методика измерения

10.2.1 Общие положения

Уровни звукового давления измеряют в течение характерного периода работы машины (см. 10.1.1) в контрольных точках. Шумомер по ГОСТ 17187 используют в случае, если уровень звукового давления, измеренный с применением временной характеристики S, колеблется в пределах ± 3 дБ. За результат измерения принимают среднеарифметическое максимального и минимального значений. В противном случае применяют интегрирующий шумомер.

10.2.2 Повторение измерений

Для уменьшения неопределенности измерений проводят согласно стандарту по испытаниям на шум повторные измерения по шуму по следующей методике:

а) испытуемую машину выключают и снова включают, если возможно;

б) отодвигают микрофон и снова помещают его в контрольной точке;

в) проводят измерения в одинаковых акустических условиях, одинаковыми средствами, при той же продолжительности измерений, на одном и том же режиме работы и неизменных условиях монтажа.

Определяют среднее или максимальное значение, как указано в стандарте по испытаниям на шум.

10.2.3 Измерение импульсного шума и единичных сигналов

Показатель импульсного шума определяют по приложению В.

Продолжительность измерений импульсного шума должна быть не менее времени прохождения 10 импульсов, если иное не установлено в стандарте по испытаниям на шум. В качестве результата измерений принимают среднеарифметическое значение. При необходимости определения пикового значения  в качестве него принимают наибольшее из измеренных пиковых значений.

Если машина издает единичные звуковые сигналы, следует определить уровень звукового давления излучения единичного сигнала Lp, 1s (см. 3.3.4)

11 Положения микрофона

11.1 Общие положения

Микрофон должен быть ориентирован по возможности в направлении наибольшего шума от испытуемой машины. Измерения, если это осуществимо, следует проводить при отсутствии оператора.

Одежда и головной убор оператора не должны сильно поглощать звук. В присутствии оператора микрофон располагают на расстоянии (0,20 ± 0,02) м от середины головы оператора на уровне глаз по оси, параллельной направлению взгляда оператора, на той стороне, где значение величины LpA (уровень звука или эквивалентный уровень звука) максимально.

Если LpA существенно изменяется вблизи контрольной точки, следует определять среднее значение LpA в окрестности контрольной точки.

Положение микрофона должно соответствовать 11.2 - 11.5, если нет других указаний в стандарте по испытаниям на шум.

11.2 Положение микрофона для оператора, работающего сидя

При выполнении измерений в отсутствие оператора для машин с закрепленным сидением микрофон должен быть установлен на высоте (0,80 ± 0,05) м над серединой поверхности сиденья, если стандарт по испытаниям на шум не содержит иных указаний.

Если сидение не является частью машины, положение микрофона должно быть установлено в стандарте по испытаниям на шум. При отсутствии такого стандарта положение микрофона указывают в протоколе испытаний.

11.3 Положение микрофона для оператора, работающего стоя на одном месте

При выполнении измерений в присутствии оператора выполняют указания по 11.1. При отсутствии оператора микрофон должен быть установлен на высоте (1,550 ± 0,075) м над опорной точкой, являющейся проекцией центра головы оператора на пол, если стандарт по испытаниям на шум не содержит других указаний.

11.4 Положение микрофона для оператора, перемещающегося вдоль определенной траектории

Микрофон должен быть установлен на высоте (1,550 ± 0,075) м над опорной линией, проходящей через проекции на пол середины головы перемещающегося оператора, если стандарт по испытаниям на шум не содержит иных указаний. Микрофон должен быть установлен во всех положениях, указанных в стандарте по испытаниям на шум. При отсутствии такого стандарта или определенных положений оператора должно быть выбрано не менее четырех характерных для представления звукового поля точек измерения вдоль траектории. Среднеквадратическое значение уровня звука или эквивалентного уровня звука при измерениях по точкам вдоль траектории вычисляют по формуле (5). Допускается непрерывное измерение вдоль траектории с использованием интегрирующего шумомера.

Примечание - Если траектория лежит на измерительной поверхности в виде прямоугольного параллелепипеда на одинаковом расстоянии от огибающего параллелепипеда, рекомендуется метод, установленный ГОСТ 30720.

11.5 Положение микрофона для машины, находящейся под наблюдением

Если машина не имеет рабочего места, то в стандарте по испытаниям на шум должно быть установлено условное рабочее место или одна и более точек наблюдения. При отсутствии стандарта по испытаниям на шум измерения проводят в четырех и более точках, расположенных на расстоянии 1 м от огибающего параллелепипеда по ГОСТ 12.1.026, ГОСТ 12.1.028 на высоте (1,550 ± 0,075) м над полом. Определяют максимальный уровень звукового давления излучения и указывают точку, в которой измерено это значение. Стандарт по испытаниям на шум может потребовать определения среднего уровня звукового давления излучения в четырех и более точках.

Примечание - Вместо измерения в дискретных точках может быть более приемлемым использование уровня звукового давления на поверхности, рассчитанного по звуковой мощности в соответствии с ГОСТ 30720.

12 Регистрируемая информация

12.1 Испытуемая машина

Описание машины, содержащее следующие данные:

- обозначение, тип;

- технические характеристики;

- размеры;

- данные об изготовителе;

- серийный номер;

- год изготовления.

12.2 Условия испытаний

- точное количественное описание режима работы и, если нужно, операционных периодов и рабочего цикла;

- условия установки машины;

- расположение машины в испытательном пространстве;

- при наличии у испытуемой машины нескольких источников шума, описание каждого из них, работающего при измерениях.

12.3 Акустические внешние условия

Описание испытательного пространства:

а) при измерении внутри помещения необходимо указать:

- обработку стен, потолка и пола;

- схему расположения машины и находящихся в помещении других объектов;

- соответствие показателя акустических условий требованиям 6.1;

б) при измерении на открытой площадке дают схему расположения машины относительно окружающей местности и приводят следующие данные:

- физические свойства испытательного пространства;

- температуру воздуха, атмосферное давление и относительную влажность;

- скорость ветра.

12.4 Средства измерений:

а) аппаратура, применяемая при измерениях (наименование, тип, серийный номер, предприятие-изготовитель);

б) метод, применяемый для поверки измерительной системы (дата, место и результат поверки);

в) характеристики ветрозащитного экрана микрофона, если он применяется.

12.5 Расположение контрольных точек

Следует точно количественно описать положение всех контрольных точек, в которых проводят измерения.

12.6 Акустические данные:

а) измеренные уровни звука или эквивалентные уровни звука и уровни звукового давления в полосах частот в контрольных точках;

б) уровни звука излучения или эквивалентные уровни звука излучения в контрольных точках;

в) корректированные по С пиковые уровни звукового давления излучения, если измерялись;

г) уровни звука или эквивалентные уровни звука фонового шума и коррекции на фоновый шум К1А в каждой контрольной точке;

д) если требуется, уровни звукового давления излучения и коррекции на фоновый шум К1 в полосах частот;

е) коррекции на акустические условия К3А в каждой контрольной точке;

ж) место и дата проведения измерений, а также фамилия ответственного за испытания.

13 Данные, включаемые в протокол испытаний

В протокол испытаний включают те данные по разделу 12, которые отвечают целям измерений и которые необходимы в соответствии с требованиями стандарта по испытаниям на шум, если он имеется. Кроме того, указывают:

- проведены ли измерения в полном соответствии с требованиями настоящего стандарта или с отступлениями от указанных требований (указать, какие допущены отступления);

- стандарт по испытаниям на шум, если он имеется;

- уровни звука излучения или эквивалентные уровни звука излучения и звукового давления излучения, округленные до 0,5 дБ;

- коррекции на акустические условия в каждой контрольной точке К3А;

- степень точности, которой соответствуют полученные результаты, т.е. реализован ли технический или ориентировочный метод;

- место и дату проведения измерений, фамилию ответственного за испытания.

ПРИЛОЖЕНИЕ А

(обязательное)

Определение локальной коррекции на акустические условия К3

А.1 Общие положения

Коррекцию на акустические условия К3j в контрольной точке j в зависимости от располагаемых данных определяют либо на основе показателя акустических условий К2 на измерительной поверхности S по А.2, либо используя отношение A/S по А.3 (где А - эквивалентная площадь звукопоглощения в испытательном помещении). Оба способа основаны на одинаковых предположениях и в принципе дают одинаковые значения К3.

Методы, приведенные в А.2 и А.3, неприменимы, если расстояние между контрольной точкой и ближайшей поверхностью машины превышает 3 м, либо имеются преграды, препятствующие распространению звука от источника до контрольной точки.

А.2 Определение локальной коррекции на акустические условия К3 на основе показателя акустических условий К2.

Для случаев, когда  и К3j £ 7, и , и К3j £ 2, коррекцию К3j вычисляют по формуле

                                         (А.1)

где L¢j - уровень звукового давления, дБ, измеренный в контрольной точке.

Примечание - В случае, когда оператор движется по траектории, длина которой меньше максимального габаритного размера источника, значение L¢j должно быть определено для траектории по измерениям в точках, равномерно распределенных по траектории. Значение L¢j для траектории рассчитывают как среднеквадратическое значение результатов измерений по точкам траектории.

Если длина траектории более максимального габаритного размера, используют один из методов по ГОСТ 30720.

                                                   (А.2)

где L¢i - измеренные уровни звукового давления, дБ, в N точках измерительной поверхности по ГОСТ 12.1.026 и ГОСТ 12.1.028.

Если известен уровень звуковой мощности LW, то  определяют по формуле

                                                     (A.3)

где LS = 10lg(S/S0), дБ, (S - площадь измерительной поверхности, м2; S0 = 1 м2);

К2 - показатель акустических условий для измерительной поверхности S, для которой определено значение , определяемый по ГОСТ 12.1.026 и ГОСТ 12.1.028.

Формула (А.1) графически представлена на рисунке А.1.

А.3 Определение локальной коррекции на акустические условия К3 на основе эквивалентной площади звукопоглощения в помещении А

Для случаев, когда  и К3j £ 7, и , и К3j £ 2, коррекцию K3j вычисляют по формуле

                                        (A.4)

где S - площадь измерительной поверхности, для которой было получено значение , м2;

А - эквивалентная площадь звукопоглощения в испытательном помещении, м2.

Величину А определяют приближенным методом по формуле

A = aSV,                                                                  (A.5)

где a - средний коэффициент звукопоглощения в помещении, приближенные значения которого принимают по приложению 2 ГОСТ 12.1.028;

SV - общая площадь поверхности испытательного помещения (стены, потолок и пол), м2,

либо реверберационным методом по формуле

                                                            (А.6)

где V - объем испытательного помещения, м3;

Т - время реверберации испытательного помещения, с, определяемое для корректированных по А измерений или в полосах частот согласно приложению 4 ГОСТ 12.1.025.

Вместо вычислений по формуле (А.4) можно воспользоваться графиком, представленным на рисунке А.2.

Рисунок А.1 - График для определения К3j по значению К2 и L¢j -

Рисунок А.2 - График для определения К3j по значению A/S и L¢3 -

ПРИЛОЖЕНИЕ Б

(справочное)

Пример испытательного стола

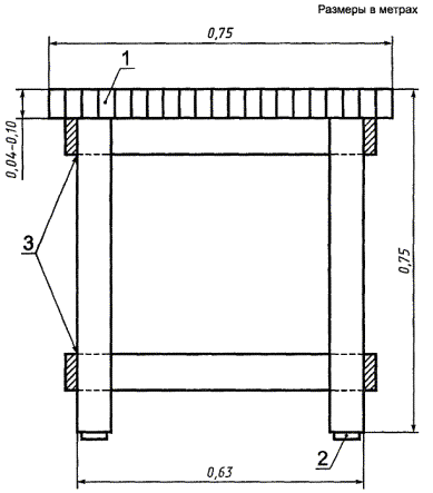
Испытательный стол представлен на рисунке Б.1.

Столешницу толщиной от 0,04 до 0,10 м набирают из пластин фанеры. Площадь стола должна быть не менее 0,5 м2, ширина - не менее 0,7 м. В столешнице проделывают пазы и отверстия для крепления машины и обеспечения ее работы.

1 - столешница из пластин фанеры; 2 - виброизолирующие прокладки; 3 - места скрепления ножек

Рисунок Б. 1 - Пример конструкции испытательного стола

ПРИЛОЖЕНИЕ В

(справочное)

Указания по обнаружению импульсного шума

Шум признают импульсным по значению показателя импульсного шума, сравниваемого с нормативным значением.

Показатель импульсного шума KI определяют по нижеприведенным формулам:

                                                    (В.1)

где  и  - эквивалентные уровни звука, измеренные при временных характеристиках I и S шумомера не менее чем на десяти рабочих циклах в каждой контрольной точке при одном или нескольких положениях микрофона.

                                                    (В.2)

где  - корректированный по С пиковый уровень звукового давления на рабочем цикле;

 корректированный по С усредненный по времени уровень звукового давления, измеренный при временной характеристике S шумомера на том же рабочем цикле.

При единичных звуковых сигналах

                                                 (В.3)

где  и  - максимальные значения корректированных по А уровней звукового давления для единичного сигнала, измеренные при временных характеристиках I и S шумомера.

При последовательности единичных звуковых сигналов, следующих с интервалом 1 с и более, в качестве показателя импульсного шума принимают разность между корректированным по А среднеарифметическим максимальных значений уровней всех единичных сигналов, измеренных при характеристике I шумомера, и максимальным уровнем, измеренным по совокупности сигналов при характеристике S шумомера.

При единичном импульсном сигнале

                                                 (В.4)

где  - корректированный по С пиковый уровень звукового давления;

 - корректированный по С максимальный уровень звукового давления, измеренный при временной характеристике S шумомера.

ПРИЛОЖЕНИЕ Г

(справочное)

Библиография

[1] МЭК 804-85 Интегрирующие шумомеры

Ключевые слова: шум, машина, оборудование, источник шума, излучение, звуковое давление излучения, место оператора, измерение звукового давления




Яндекс цитирования



   Copyright © 2007-2026,  www.tehlit.ru.

[ ѓосты, стандарты, нормативы, инструкции, правила, строительные нормы ]