|
| |
ОСТ 24.125.154-01
СТАНДАРТ ОТРАСЛИ
ОПОРЫ СКОЛЬЗЯЩИЕ
ТРУБОПРОВОДОВ ТЭС И АЭС
КОНСТРУКЦИЯ И РАЗМЕРЫ
Предисловие
1 РАЗРАБОТАН открытым акционерным
обществом «Научно-производственное объединение по исследованию и проектированию энергетического оборудования им. И.
И. Ползунова» (ОАО «НПО ЦКТИ») и открытым акционерным обществом «Белгородский завод энергетического
машиностроения» (ОАО «Белэнергомаш»)
ИСПОЛНИТЕЛИ: от ОАО «Белэнергомаш» ЗАВГОРОДНИЙ Ю.В., СЕРГЕЕВ О.А., РОГОВ В.А.; от ОАО «НПО ЦКТИ» ПЕТРЕНЯ Ю.К., д-р физ.-мат. наук; СУДАКОВ А.В., д-р техн. наук; ДАНЮШЕВСКИЙ И.А., канд. техн. наук; ИВАНОВ Б.Н., канд. техн. наук; ТАБАКМАН
М.Л.; ГЕОРГИЕВСКИЙ Н.В.
2 ПРИНЯТ И ВВЕДЕН В ДЕЙСТВИЕ Департаментом промышленной и инновационной политики в машиностроении Министерства промышленности,
науки и технологий Российской Федерации письмом № 10-1984 от 31.10.2001 г.
3 ВЗАМЕН ОСТ 108.275.29-80, ОСТ
108.275.30-80, ОСТ 108.275.31-80, ОСТ 108.275.32-80. ОСТ 108.275.37-80, ОСТ
108.275.38-80
СТАНДАРТ ОТРАСЛИ
|
ОПОРЫ
СКОЛЬЗЯЩИЕ ТРУБОПРОВОДОВ ТЭС И АЭС
Конструкция и размеры
|
Дата
введения 2002-01-01
1 Область применения
Настоящий стандарт распространяется на опоры скользящие
трубопроводов ТЭС и АЭС:
- из хромомолибденованадиевых сталей наружным диаметром от
57 до 920 мм с температурой среды t ≤ 560 °С;
- из углеродистой и кремнемарганцовистых сталей наружным
диаметром от 57 до 820 мм с температурой среды t ≤ 440 °С;
- из сталей аустенитного класса наружным диаметром от 57 до
325 мм с температурой среды t ≤ 440 °С.
В настоящем стандарте использованы ссылки на следующие
стандарты:
ГОСТ
1050-88 Прокат сортовой калиброванный со специальной отделкой поверхности
из углеродистой качественной конструкционной стали. Общие технические условия
ГОСТ
5520-79 Сталь листовая углеродистая низколегированная и легированная для
котлов и сосудов, работающих под давлением. Технические условия
ГОСТ
5915-70 Гайки шестигранные класса точности В. Конструкция и размеры
ГОСТ
5916-70 Гайки шестигранные низкие класса точности В. Конструкция и размеры
ГОСТ
9066-75 Шпильки для фланцевых соединений с температурой среды от 0 до 650
°С. Типы и основные размеры
ГОСТ
11371-78 Шайбы. Технические условия
ГОСТ
14637-89 Прокат толстолистовой из углеродистой стали обыкновенного
качества. Технические условия
ГОСТ
16523-97 Прокат тонколистовой из углеродистой стали качественной и
обыкновенного качества общего назначения. Технические условия
ГОСТ 20072-74 Сталь
теплоустойчивая. Технические условия
ОСТ 24.125.115-01 Подвески трубопроводов ТЭС и АЭС.
Прокладки. Конструкция и размеры
ОСТ 24.125.120-01 Подвески трубопроводов ТЭС и АЭС.
Полухомуты для хомутовых опор. Конструкция и размеры
ОСТ
24.125.152-01 Корпуса неподвижных опор трубопроводов ТЭС и АЭС. Конструкция
и размеры
ОСТ
24.125.155-01 Корпуса скользящих опор трубопроводов ТЭС и АЭС. Конструкция
и размеры
ОСТ
24.125.170-01 Детали и сборочные единицы опор, подвесок, стяжек для линзовых
компенсаторов и приводов дистанционного управления арматурой трубопроводов ТЭС
и АЭС. Общие технические условия
3.1 Конструкция и основные размеры опор должны
соответствовать указанным на рисунках 1 - 5 и в таблицах 1
- 6.
3.2 Маркировка и остальные технические требования по ОСТ
24.125.170.
3.3 Пример условного обозначения скользящей опоры исполнения
05:
ОПОРА 05
ОСТ 24.125.154
|
3.4 Пример маркировки: 05 ОСТ
24.125.154
|

|

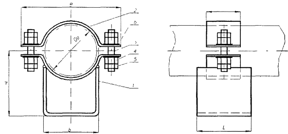
1 - корпус, 2 - полухомут, 3 -
шпилька, 4, 5 - гайка, 6 - шайба
Рисунок 1.

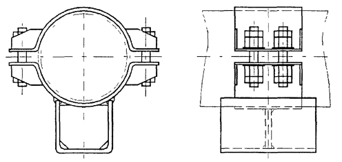
См. рисунок 1
Рисунок 2.

См. рисунок 1
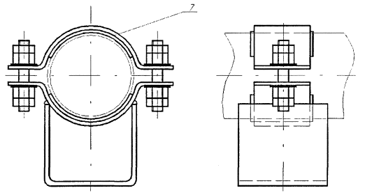
Рисунок 3.

7 - прокладка
Остальное - см. рисунок 1
Рисунок 4.

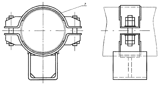
7 - прокладка
Остальное - см. рисунок 1
Рисунок 5.
Таблица
1
Основные размеры скользящих опор трубопроводов из
хромомолибденованадиевых сталей
Размеры в миллиметрах
|
Исполнение
|
Наружный диаметр
трубопровода Da
|
Рисунок
|
B
|
b
|
L
|
l
|
H
|
Масса, кг
|
|
01
|
57
|
1
|
140
|
60
|
80
|
60
|
135
|
1,99
|
|
02
|
76
|
160
|
146
|
2,13
|
|
03
|
108
|
200
|
100
|
90
|
180
|
2,97
|
|
04
|
133
|
240
|
198
|
3,23
|
|
05
|
159
|
270
|
213
|
3,43
|
|
06
|
194
|
330
|
150
|
110
|
261
|
6,62
|
|
07
|
219
|
355
|
277
|
6,88
|
|
08
|
245
|
2
|
390
|
200
|
120
|
80
|
290
|
11,41
|
|
09
|
273
|
430
|
310
|
11,75
|
|
10
|
325
|
490
|
280
|
140
|
100
|
345
|
16,20
|
|
11
|
377
|
560
|
360
|
360
|
25,98
|
|
12
|
426
|
610
|
120
|
404
|
29,46
|
|
13
|
465
|
3
|
660
|
200
|
160
|
433
|
38,46
|
|
14
|
530
|
740
|
480
|
430
|
44,64
|
|
15
|
630
|
850
|
540
|
180
|
500
|
68,04
|
|
16
|
720
|
950
|
620
|
542
|
76,24
|
|
17
|
920
|
1150
|
686
|
86,32
|
Таблица 2
Основные размеры скользящих опор трубопроводов из углеродистой
и кремнемарганцовистых сталей
Размеры в миллиметрах
|
Исполнение
|
Наружный диаметр
трубопровода Da
|
Рисунок
|
B
|
b
|
L
|
l
|
H
|
Масса, кг
|
|
18
|
57
|
1
|
140
|
60
|
80
|
50
|
112
|
1,40
|
|
19
|
76
|
160
|
124
|
1,50
|
|
20
|
89
|
185
|
100
|
90
|
137
|
2,79
|
|
21
|
108
|
200
|
157
|
3,15
|
|
22
|
133
|
240
|
175
|
3,43
|
|
23
|
159
|
270
|
192
|
3,57
|
|
24
|
194
|
330
|
150
|
110
|
241
|
5,98
|
|
25
|
219
|
355
|
257
|
6,18
|
|
26
|
245
|
2
|
390
|
200
|
120
|
70
|
270
|
10,54
|
|
27
|
273
|
430
|
290
|
10,84
|
|
28
|
325
|
490
|
280
|
140
|
90
|
326
|
15,03
|
|
29
|
377
|
560
|
360
|
340
|
24,38
|
|
30
|
426
|
610
|
110
|
384
|
27,60
|
|
31
|
465
|
3
|
660
|
200
|
160
|
413
|
36,64
|
|
32
|
530
|
740
|
480
|
410
|
42,60
|
|
33
|
630
|
850
|
540
|
170
|
480
|
64,90
|
|
34
|
720
|
950
|
620
|
522
|
72,10
|
|
35
|
820
|
1110
|
598
|
80,70
|
(Измененная редакция).
Таблица 3
Основные размеры скользящих опор трубопроводов из аустенитной
стали
Размеры в миллиметрах
|
Исполнение
|
Наружный диаметр
трубопровода Da
|
Рисунок
|
B
|
b
|
L
|
l
|
H
|
Масса, кг
|
|
36
|
57
|
4
|
140
|
60
|
80
|
50
|
113
|
1,48
|
|
37
|
76
|
160
|
125
|
1,62
|
|
38
|
89
|
185
|
100
|
90
|
138
|
2,90
|
|
39
|
108
|
200
|
158
|
3,31
|
|
40
|
133
|
240
|
176
|
3,67
|
|
41
|
159
|
270
|
193
|
3,85
|
|
42
|
219
|
355
|
150
|
110
|
258
|
6,52
|
|
43
|
245
|
5
|
390
|
200
|
120
|
70
|
271
|
11,04
|
|
44
|
273
|
430
|
291
|
11,40
|
|
45
|
325
|
490
|
280
|
140
|
90
|
327
|
15,90
|
Таблица 4
Спецификация скользящих опор трубопроводов из
хромомолибденованадиевых сталей
Размеры в миллиметрах
|
Исполнение
|
Наружный диаметр
трубопровода Da
|
Корпус, поз. 1,
1 шт.
|
Полухомут, поз.
2, 1 шт.
|
Шпилька по ГОСТ
9066, поз. 3
|
Гайка по ГОСТ
5915, поз. 4
|
Гайка по ГОСТ
5916, поз. 5
|
Шайба по ГОСТ 11371, поз. 6
|
|
Материал
|
|
Сталь 20X1
М1Ф1ТР ГОСТ
20072
|
Сталь 12ХМ-3 ГОСТ
5520
|
|
Исполнение по ОСТ
24.125.152
|
Исполнение по ОСТ
24.125.155
|
Исполнение по
ОСТ 24.125.120
|
Диаметр резьбы
|
Длина, мм
|
Количество
|
Масса, кг
|
Диаметр резьбы
|
Количество
|
Масса, кг
|
|
Диаметр резьбы
|
Количество
|
Масса, кг
|
Диаметр, мм
|
Количество
|
Масса, кг
|
|
1 шт.
|
Общая
|
1 шт.
|
Общая
|
1 шт.
|
Общая
|
1 шт.
|
Общая
|
|
01
|
57
|
01
|
-
|
01
|
М12
|
80
|
2
|
0,059
|
0,12
|
М12
|
4
|
0,015
|
0,060
|
М12
|
4
|
0,011
|
0,044
|
12
|
4
|
0,006
|
0,024
|
|
02
|
76
|
02
|
-
|
02
|
|
03
|
108
|
-
|
01
|
03
|
М16
|
90
|
0,126
|
0,252
|
М16
|
0,033
|
0,132
|
М16
|
0,020
|
0,080
|
16
|
0,009
|
0,036
|
|
04
|
133
|
-
|
02
|
05
|
|
05
|
159
|
-
|
03
|
07
|
|
06
|
194
|
-
|
04
|
09
|
М20
|
110
|
0,22
|
0,44
|
М20
|
0,063
|
0,252
|
М20
|
0,035
|
0,140
|
20
|
0,017
|
0,068
|
|
07
|
219
|
-
|
05
|
10
|
|
08
|
245
|
-
|
06
|
22
|
М24
|
120
|
0,358
|
0,716
|
М24
|
0,107
|
0,428
|
М24
|
0,055
|
0,220
|
24
|
0,032
|
0,128
|
|
09
|
273
|
-
|
07
|
23
|
|
10
|
325
|
-
|
08
|
24
|
|
11
|
377
|
-
|
09
|
25
|
М30
|
150
|
0,725
|
1,45
|
М30
|
0,224
|
0,896
|
М30
|
0,110
|
0,440
|
30
|
0,053
|
0,212
|
|
12
|
426
|
-
|
10
|
26
|
|
13
|
465
|
-
|
11
|
27
|
М24
|
130
|
4
|
0,388
|
1,552
|
М24
|
8
|
0,107
|
0,856
|
М24
|
8
|
0,055
|
0,440
|
24
|
8
|
0,032
|
0,256
|
|
14
|
530
|
-
|
12
|
28
|
|
15
|
630
|
-
|
13
|
29
|
М30
|
160
|
0,773
|
3,100
|
М30
|
0,225
|
1,800
|
М30
|
0,110
|
0,880
|
30
|
0,053
|
0,424
|
|
16
|
720
|
-
|
14
|
30
|
|
17
|
920
|
-
|
15
|
31
|
170
|
0,845
|
3,380
|
Таблица 5
Спецификация скользящих опор трубопроводов из углеродистой и
кремнемарганцовистых сталей
Размеры в миллиметрах
|
Исполнение
|
Наружный диаметр
трубопровода Da
|
Корпус поз. 1, 1
шт.
|
Полухомут, поз.
2, 1 шт.
|
Шпилька по ГОСТ
9066, поз. 3
|
Гайка по ГОСТ
5915, поз. 4
|
Гайка по ГОСТ
5916, поз. 5
|
Шайба по ГОСТ 11371, поз. 6
|
|
|
Материал
|
|
|
Сталь 35 ГОСТ
1050
|
|
|
|
Исполнение по ОСТ
24.125.152
|
Исполнение по ОСТ
24.125.155
|
Исполнение по
ОСТ 24.125.120
|
Диаметр резьбы
|
Длина, мм
|
Количество
|
Масса, кг
|
Диаметр резьбы
|
Количество
|
Масса, кг
|
Диаметр резьбы
|
Количество
|
Масса, кг
|
Диаметр, мм
|
Количество
|
Материал
|
Масса, кг
|
|
|
1 шт.
|
Общая
|
1 шт.
|
Общая
|
1 шт.
|
Общая
|
1 шт.
|
Общая
|
|
|
18
|
57
|
18
|
-
|
11
|
М12
|
80
|
2
|
0,063
|
0,126
|
М12
|
4
|
0,015
|
0,060
|
М12
|
4
|
0,011
|
0,044
|
12
|
4
|
4-IV-Ст3сп ГОСТ
16523
|
0,0063
|
0,025
|
|
|
19
|
76
|
19
|
-
|
12
|
|
|
20
|
89
|
20
|
-
|
13
|
|
|
21
|
108
|
-
|
16
|
14
|
М16
|
90
|
0,126
|
0,252
|
М16
|
0,033
|
0,132
|
М16
|
0,020
|
0,080
|
16
|
0,011
|
0,044
|
|
|
22
|
133
|
-
|
17
|
16
|
|
|
23
|
159
|
-
|
18
|
18
|
|
|
24
|
194
|
-
|
19
|
20
|
М20
|
110
|
0,241
|
0,482
|
М20
|
0,063
|
0,252
|
М20
|
0,035
|
0,140
|
20
|
0,017
|
0,068
|
|
|
25
|
219
|
-
|
20
|
21
|
|
|
26
|
245
|
-
|
21
|
32
|
М24
|
120
|
0,371
|
0,742
|
М24
|
0,107
|
0,428
|
М24
|
0,055
|
0,220
|
24
|
Сталь 20 ГОСТ
1050
|
0,032
|
0,128
|
|
|
27
|
273
|
-
|
22
|
33
|
|
|
28
|
325
|
-
|
23
|
34
|
|
|
29
|
377
|
-
|
24
|
35
|
М30
|
150
|
0,734
|
1,468
|
М30
|
0,225
|
0,900
|
М30
|
0,110
|
0,440
|
30
|
0,054
|
0,216
|
|
|
30
|
426
|
|
25
|
36
|
|
|
31
|
465
|
-
|
26
|
37
|
М24
|
130
|
4
|
0,407
|
1,628
|
М24
|
8
|
0,107
|
0,856
|
М24
|
8
|
0,055
|
0,440
|
24
|
8
|
0,032
|
0,256
|
|
|
32
|
530
|
|
27
|
38
|
|
|
33
|
630
|
|
28
|
39
|
М30
|
160
|
0,790
|
3,160
|
М30
|
0,225
|
1,800
|
М30
|
0,110
|
0,880
|
30
|
0,054
|
0,432
|
|
|
34
|
720
|
|
29
|
40
|
|
|
35
|
820
|
|
30
|
41
|
170
|
0,845
|
3,380
|
|
Таблица 6
Спецификация скользящих опор трубопроводов из аустенитных
сталей
Размеры в миллиметрах
|
Исполнение
|
Наружный диаметр
трубопровода Da
|
Корпус, поз. 1,
1 шт.
|
Полухомут, поз.
2, 2 шт.
|
Прокладка, поз.
7, 2 шт.
|
Шпилька по ГОСТ
9066, поз. 3
|
Гайка по ГОСТ
5915, поз. 4
|
Гайка по ГОСТ
5916, поз. 5
|
Шайба по ГОСТ 11371 поз. 6
|
|
Материал
|
|
Исполнение
|
Исполнение по
ОСТ 24.125.120
|
Исполнение по
ОСТ 24.125.115
|
Сталь 35 ГОСТ
1050
|
|
Диаметр резьбы
|
Длина
|
Количество
|
Масса, кг
|
Диаметр резьбы
|
Количество
|
Масса, кг
|
Диаметр резьбы
|
Количество
|
Масса, кг
|
d, мм
|
Количество
|
Материал
|
Масса, кг
|
|
1 шт.
|
Общая
|
1 шт.
|
Общая
|
1 шт.
|
Общая
|
1 шт.
|
Общая
|
|
36
|
57
|
18 ОСТ 24.125.120
|
11
|
01
|
М12
|
80
|
2
|
0,063
|
0,126
|
М12
|
4
|
0,015
|
0,060
|
М12
|
4
|
0,011
|
0,044
|
12
|
4
|
4-IV-Ст3сп ГОСТ
14637
|
0,006
|
0,024
|
|
37
|
76
|
19 ОСТ 24.125.120
|
12
|
02
|
|
38
|
89
|
20 ОСТ 24.125.120
|
13
|
03
|
|
39
|
108
|
16 ОСТ
24.125.155
|
14
|
05
|
М16
|
90
|
0,126
|
0,252
|
M16
|
0,033
|
0,132
|
М16
|
0,020
|
0,080
|
16
|
0,011
|
0,044
|
|
40
|
133
|
17 ОСТ
24.125.155
|
16
|
08
|
|
41
|
159
|
18 ОСТ
24.125.155
|
18
|
10
|
|
42
|
219
|
20 ОСТ
24.125.155
|
21
|
12
|
М20
|
110
|
0,241
|
0,482
|
М20
|
0,063
|
0,252
|
М20
|
0,035
|
0,140
|
20
|
0,017
|
0,068
|
|
43
|
245
|
21 ОСТ
24.125.155
|
32
|
16
|
М24
|
120
|
0,371
|
0,724
|
М24
|
0,107
|
0,428
|
М24
|
0,055
|
0,220
|
24
|
Сталь 20 ГОСТ
1050
|
0,032
|
0,128
|
|
44
|
273
|
22 ОСТ
24.125.155
|
33
|
19
|
|
45
|
325
|
23 ОСТ
24.125.155
|
34
|
21
|
Ключевые
слова: скользящие опоры, трубопроводы, конструкция, размеры.
СОДЕРЖАНИЕ
| |
|