//
ТехЛит.ру
- крупнейшая бесплатная электронная интернет библиотека для "технически умных" людей.
WWW.TEHLIT.RU - ТЕХНИЧЕСКАЯ ЛИТЕРАТУРА

:: Алготрейдинг::


АЛГОТРЕЙДИНГ
шаг за шагом
с нуля по урокам!

Торговые роботы на PYTHON, BackTrader,
Pandas, Pine Script для TradingView. Связка с брокерами, телеграм и легкими приложениями.


Министерство жилищно-коммунального хозяйства РСФСР
Орде
на Трудового Красного Знамени
Академия
коммунального хозяйства им. К.Д. Памфилова

Утверждено
приказом Министерства жилищно-
коммунального хозяйства РСФСР
от
4 октября 1986 г. № 431

 

УКАЗАНИЯ
ПО ПРИМЕНЕНИЮ ТЕХНОЛОГИИ ОЧИСТКИ ВОДЫ
НА КОНТАКТНЫХ ОСВЕТИТЕЛЯХ
С ИСПОЛЬЗОВАНИЕМ ОПТИМАЛЬНЫХ РЕЖИМОВ
ПЕРЕМЕШИВАНИЯ КОАГУЛЯНТА С ВОДОЙ

Отдел научно-технической информации АКХ

Москва 1986

Изложен один из путей интенсификации технологии контактного осветления воды - совершенствование процесса перемешивания реагентов с водой. Приведены данные для проектирования устройств для распределения реагентов в очищаемой воде и гидравлических смесителей коагулянта с водой.

Указания разработаны НИИ коммунального водоснабжения и очистки воды АКХ им. К.Д. Памфилова (кандидаты технических наук В. Мельцер и Е.И. Апельцина) при участии МИСИ им. В.В. Куйбышева (инж. Е.Ю. Рождественская) с учетом опыта эксплуатации водоочистной станции г. Мурманска. Предназначены для инженерного персонала эксплуатационных, пуско-наладочных и проектных организаций водопроводного хозяйства.

Замечания и предложения по указаниям просьба направлять по адресу: 123371, Москва, Волоколамское шоссе, 87, НИИ Коммунального водоснабжения и очистки воды АКХ им. К.Д. Памфилова.

ОБЩИЕ ПОЛОЖЕНИЯ

1. Очистка воды поверхностных источников с высокой цветностью, низким содержанием взвеси и низкой температурой на протяжении значительной части года (озера, водохранилища, рек северных, северо-западных и некоторых других районов страны) обычно осуществляется с помощью контактной коагуляции взвеси в фильтрующей среде. Увеличение объема водоснабжения из северных источников и зарегулирование рек приводят ко все более широкому использованию контактного осветления воды. Такая технология реализуется при использовании одноступенчатых схем очистки воды на контактных осветлителях и схем двухступенчатого фильтрования с контактными префильтрами и фильтрами.

2. Одним из путей интенсификации технологии контактного осветления является совершенствование процесса перемешивания коагулянта с водой. При рассмотрении процесса перемешивания коагулянта с водой следует выделять две стадии: 1) смешивание коагулянта с водой с целью его быстрого и равномерного распределения в объеме обрабатываемой воды; 2) последующее интенсивное перемешивание воды, способствующее образованию зародышей хлопьев и влияющее на дальнейшее образование отложений в фильтрующей загрузке.

3. Обеспечение быстрого распределения коагулянта в объеме обрабатываемой воды на первой стадии позволяет получить экономию коагулянта на 10 - 20 % или добиться более высокого эффекта очистки воды при той же дозе коагулянта. Это достигается путем полного использования промежуточных продуктов гидролиза коагулянта и усиления процесса взаимной коагуляции продуктов гидролиза коагулянта и частиц загрязнений.

4. Изменение интенсивности перемешивания после введения коагулянта в воду на второй стадии дает возможность воздействовать на физико-химические свойства образующихся хлопьев (размер, плотность, прочность, способность к прилипанию), что приводит к повышении грязеемкости фильтрующей загрузки и увеличению продолжительности фильтроцикла на 30 - 40 %. Оптимальная интенсивность перемешивания зависит от качества обрабатываемой воды (мутности, цветности, температуры). Выбор и уточнение оптимальных режимов перемешивания следует проводить экспериментально для каждого конкретного водоисточника.

5. Настоящие указания являются руководством для проектирования устройств, обеспечивающих распределение реагентов в обрабатываемой воде, и гидравлических смесителей коагулянта с водой, устанавливаемых во входных камерах станций контактного осветления и двухступенчатого фильтрования.

6. Указания составлены на основе лабораторных и производственных экспериментов по определению оптимальных режимов перемешивания коагулянта с водой, а также испытаний разработанной технологии в промышленных условиях. Рекомендуемые устройства могут быть применены как при строительстве новых, так и при реконструкции существующих водоочистных сооружений.

УСТРОЙСТВА ДЛЯ РАСПРЕДЕЛЕНИЯ РЕАГЕНТОВ

7. При обработке воды коагулянтами в схемах контактного осветления требуется быстрое распределение раствора коагулянта в обрабатываемой воде для обеспечения оптимальных условий использования продуктов гидролиза алюминия.

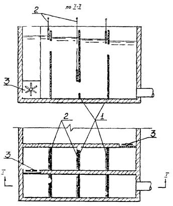
8. С целью повышения скорости распределения коагулянта (и при необходимости флокулянта) рекомендуется использовать специальные распределители (рис. 1), которые могут быть установлены в месте поступления воды в смеситель из подающей трубы или из входной камеры (рис. 2). В последнем случае рекомендуется устанавливать распределитель в проеме перегородки, создающем сужение потока и повышение его турбулентности. Проем для установки распределителя должен быть расположен в нижней части перегородки.

Рис. 1. Трубчатый распределитель коагулянта:

1 - подвод раствора коагулянта; 2 - штуцер для присоединений шланга подачи коагулянта; 3 - центральный бачок; 4 - перфорированная трубка-луч; 5 - отверстия

Рис. 2. Установка трубчатого распределителя коагулянта в перегородчатом или корплорном смесителе входной камере станции контактного осветления воды:

1 - распределитель коагулянта; 2 - штанга для подъема распределителя; 3 - подача коагулянта

9. Распределитель коагулянта состоит из центрального бачка со штуцером, на который надевается шланг для подачи коагулянта, и радиальных перфорированных трубок-лучей, имеющих торцевые заглушки и отверстия, направленные перпендикулярно движению потока воды (см. рис. 1).

10. Потери напора в проеме, где установлен распределитель, рекомендуется принимать равным 15 см вод. ст.

11. Распределители из перфорированных трубок не рекомендуется применять при обработке воды неосветленным раствором коагулянта.

12. Для введения растворов минеральных коагулянтов следует применять распределители из винипластовых труб или нержавеющей стали.

13. Количество отверстий в распределителе следует определять по расходу коагулянта и величине потери напора в распределителе 30 - 50 см вод. ст.

14. Расход раствора коагулянта QК, подаваемого в смеситель, следует определять по формуле

                                                   (1)

где ДК - доза коагулянта, г/м3; QВ - расход воды через смеситель, м3/с; C - концентрация раствора коагулянта по массе, %; γ - плотность раствора коагулянта концентрации C, г/см3.

Плотность раствора коагулянта при заданной его концентрации принимают в соответствии со следующими данными.

Концентрация раствора Al2(SO4)3 по массе, %        Плотность раствора, г/м3

1................................................................... 1,009

2................................................................... 1,019

4................................................................... 1,04

6................................................................... 1,06

8................................................................... 1,083

10................................................................. 1,105

20................................................................. 1,226

15. Расход раствора коагулянта q через одно отверстие следует определять по формуле

q = μω см3/с,                                                               (2)

μ - коэффициент расхода, принимаемый равным 0,75; ω - площадь отверстия, см2; h - заданная потеря напора в распределителе (см. п. 13).

Определенные по формуле (2) величины расходов раствора коагулянта через одно отверстие при потере напора в распределителе 30 и 50 см приведены в табл. 1. В этой же таблице указаны рекомендуемые диаметры лучей в зависимости от размера отверстий.

Таблица 1

Диаметр отверстия, мм

Расход раствора коагулянта через отверстие, см3

Диаметр луча, мм

при h = 30 см

при h = 50 см

3

12,8

16,6

15

4

22,8

29,5

20

5

35,6

46,1

25

6

51,3

66,4

32

16. Количество отверстий в распределителе (при выбранном диаметре отверстий) надлежит определять по формуле

n = QК/q.                                                                          (3)

Если n > 32, следует увеличить диаметр отверстий и повторить расчет.

Для предотвращения засорения отверстий в распределителе при недостаточном осветлении раствора коагулянта отверстия диаметром 3 мм допускается принимать только в тех случаях, когда расчетное значение n 4.

17. В целях уменьшения опасности засорения отверстий после их сверления на лучах сверлом расчетного диаметра отверстия должны быть раззенкованы так, чтобы их диаметр увеличивался от внутренней к наружной поверхности луча.

18. Количество лучей в распределителя выбирается таким образом, чтобы на каждом луче было не более 3 - 4 отверстий. Количество лучей должно быть не более 8.

19. Отверстия на лучах распределителя должны быть расположены симметрично относительно оси потока обрабатываемой воды, а на каждом луча - симметрично относительно точки, отстоящей от центра распределителя на 0,25D (где D - диаметр подающей трубы или ширина проема в перегородке).

Расположение отверстий на лучах распределителя следует выбирать в соответствии с данными, приведенными ниже.

Количество отверстий на луче        Расстояние от центра распределителя до отверстия

1....................................................... 0,25D

2....................................................... 0,2D; 0,3D

3....................................................... 0,2D; 0,25D; 0,3D

4....................................................... 0,16D; 0,22D; 0,28D; 0,34D

20. При установке распределителя должна быть предусмотрена возможность его извлечения из воды для ревизии и прочистки без опорожнения смесителя. Для этого, например, может быть применена установка распределителя с помощью свинчивающейся из отдельных секций штанги. Следует также предусматривать возможность обратной промывки распределителя. Промывку распределителя рекомендуется проводить обратным током воды с помощью сифона, используя шланг, подающий раствор коагулянта.

Пример 1. Рассчитать распределитель коагулянта при следующих условиях: производительность станции Q = 100000 м3/сут (1,16 м3); максимальная доза коагулянта 50 г/м3 (по Al2(SO4)3); концентрация рабочего раствора коагулянта 5 %.

В соответствии с рекомендациями СНиП 2.04.02-84 следует предусмотреть два смесителя. Поэтому расчетный расход обрабатываемой воды составляет 0,58 м3/с.

Расход раствора коагулянта, подаваемого в смеситель:

При потере напора 50 см через одно отверстие диаметром 5 мм может пройти расход 46,1 см3/с (см. табл. 1).

Необходимое количество отверстий диаметром 5 мм составит:

n = QК/q = 552,4 : 46,1 = 12.

Принимаем распределитель из 6 лучей с двумя отверстиями на каждом луче. Диаметр луча 25 мм. Распределитель следует установить в месте подвода трубопровода к смесителю или в проеме перегородки при поступлении воды в смеситель из входной камеры.

Принимаем скорость движения воды в проеме, в котором устанавливается распределитель, равной 1 м/с. Тогда площадь сечения проема равна 0,58 м2, размеры проема 0,76 × 0,76 мм. Отверстия d = 5 мм на лучах должны быть расположены на расстояниях 0,15 и 0,23 м от центра распределителя коагулянта.

При меньшем расходе коагулянта потери напора в распределителе уменьшаются. Верх воронки для подачи раствора коагулянта в распределитель должен быть установлен на 0,7 м выше уровня воды в смесителе, чтобы обеспечить запас напора в случае приготовления раствора коагулянта несколько меньшей концентрации.

РЕЖИМ ПЕРЕМЕШИВАНИЯ КОАГУЛЯНТА С ВОДОЙ

21. Для оценки интенсивности перемешивания воды в смесителях используется понятие среднего градиента скорости G, который характеризует затраты энергии, расходуемой на единицу объема, перемешиваемой жидкости в единицу времени:

                                                          (4)

где W - затраты энергии и смесителе, Вт·с; η - вязкость воды, Па-с; T - время пребывания воды в смесителе, с; V - объем смесителя, м3.

Величина G, характеризуя интенсивность перемешивания, отражает возможность контактов между собой частиц в объеме перемешиваемой воды и разрушения образовавшихся хлопьев и поэтому влияет на такие показатели хлопьев, как их плотность, объемная концентрация и распределение по размеру. Не являясь исчерпывающей характеристикой режима перемешивания, величина G может быть успешно использована для ориентировочного сопоставления работы различных смесителей и для характеристики режимов перемешивания в конкретном смесителе.

22. При контактном осветлении оптимальная интенсивность быстрого перемешивания коагулянта с водой (после его распределения в объеме очищаемой воды) зависит от качества обрабатываемой воды и продолжительности перемешивания и находится в диапазоне значений среднего градиента скорости 100 - 250 с-1. Точное определение оптимальных режимов перемешивания на стадии проектирования невозможно. В связи с этим необходимо предусматривать возможность регулирования интенсивности перемешивания для подбора условий, соответствующих наибольшей эффективности очистки воды методом контактного осветления.

23. Регулирование интенсивности перемешивания реагента с водой может осуществляться либо в механических смесителях (мешалки с регулируемым электроприводом), либо в гидравлических смесителях. Поскольку механические смесители практически не используются на коммунальных водопроводах, в настоящих рекомендациях приведены уточненные данные по проектированию перегородчатых смесителей, располагаемых во входных камерах станции контактного осветления. Большинство действующих станций контактного осветления оборудовано смесителями с дырчатыми перегородками. Дырчатые смесители не обеспечивают необходимых условий перемешивания коагулянта с водой, поэтому они исключены из действующего СНиП 2.04.02-84 и не используются при новом проектировании. При необходимости интенсификации действующих сооружений рекомендуется переоборудование дырчатых смесителей в перегородчатые.

24. В гидравлических смесителях величина затрачиваемой на перемешивание энергии определяется потерей напора. Мощность N потока с расходом Q может быть определена по формуле

N = gρQH,                                                                       (5)

где g - ускорение свободного падания, равное 9,8 м2; ρ - плотность воды, кг/м3 (ρ = 1000); Q - расход воды, м3/с; H - потеря напора в смесителе, м.

Так как N = W/T и V = QT, расчет среднего градиента скорости может быть произведен по формуле (6):

                                                          (6)

При вычислении значения G по формуле (6) следует учитывать изменение вязкости воды при изменении ее температуры. На рис. 3 представлена номограмма, составленная по формуле (6), с помощью которой можно определить величину G по заданным значениям H и T в зависимости от температуры воды, а также величину H, необходимую для обеспечения заданной величины G.

25. Регулирование интенсивности перемешивания в гидравлическом смесителе следует производить путем изменения величины потери напора в нем. Рекомендуется применение гидравлических смесителей с перегородками, имеющими проемы, которые обеспечивают вертикальное давление воды с поворотами на 180° ис. 4). Для осуществления регулирования интенсивности перемешивания перегородчатые смесители должны быть снабжены подвижными шиберами.

26. Проектирование и реконструкцию смесительных устройств перегородчатого типа следует выполнять в соответствии с требованиями СНиП 2.04.02-84 «Водоснабжение, наружные сети и сооружения» с учетом нижеизложенных дополнительных требований.

27. Объем перегородчатого смесителя с вертикальным движением воды рассчитывается исходя из времени пребывания воды в нем 1,5 мин, при этом для возможности регулирования продолжительности смешивания при сезонном изменении качества воды предусматривается установка устройства для ввода коагулянта не только в начале смесителя, но и в его середине.

28. Ширина коридоров смесителя и размер проемов в перегородках выбираются исходя из скорости движения воды в смесителе, равной 0,4 - 0,6 м/с.

29. Число перегородок следует принимать равным 6 - 10. При реконструкции смесителей, рассчитанных на время пребывания воды менее 1,5 мин, количество перегородок может быть принято меньшим, но не менее 3.

30. Потеря напора в проемах перегородчатого смесителя рассчитывается с учетом сужений и поворотов потока воды по формуле

h = 2,2/2g,                                                                       (7)

где υ - скорость движения воды в проеме, м/с.

Рис. 3. Номограмма для определения величины среднего градиента скорости и необходимой потери напора

Рис. 4. Конструкция перегородчатого смесителя:

1 - перегородки с окнами; 2 - подвижные шибера; 3 - трубчатый распределитель коагулянта

31. Шибера, перекрывающие проемы в перегородках, должны обеспечивать изменение потери напора в смесителе в пределах от 0,2 до 1,0 м вод. ст., что соответствует диапазону, в котором находится оптимум условий смешения, определяемый фильтрационными показателями работы контактных осветлителей. Вариант устройства шиберов представлен за рис. 5.

32. Расчет перегородчатого смесителя с подвижными шиберами рекомендуется производить в следующем порядке:

по заданному расходу воды Q 3/мин) и времени пребывания воды в смесителе T определяют объем смесителя

V = QT м3;

по определенной из высотной схемы сооружений высоте слоя воды h (м) во входной камере вычисляют площадь горизонтального сечения смесителя

F = V/h м3;

по номограмме на рис. 3 определяют необходимую потерю напора в зимний период для перемешивания коагулянта с водой исходя из максимальной величины среднего градиента скорости, равной 250 с-1;

задавая число, перегородок n, определяют необходимую потерю напора в одной перегородке

H1 = H/n;

Рис. 5. Пример устройства подвижных шиберов:

1 - подвижный шибер; 2 - направляющие швеллера; 3 - стопор для фиксации положения шибера

по формуле (7) определят максимальную скорость потока υмакс/с) в проеме перегородки при максимальном перекрытии проемов шиберами

определяют максимальную площадь проема в перегородке (соответствующую максимальному перекрытию шиберами)

fмин = Q/υ;

определяют площадь одного отделения смесителя

f0 = F/(n + 1) м2;

определяют скорость вертикального движения воды в смесителе

υв = Q/f м/с;

определяют максимальную площадь проема в перегородке (соответствующую полному открытию проема) из условия

fмин = Q/υмин;

по формуле (7) определяют потери напора в смесителе при водном открытии проемов и по номограмме (см. рис. 3) оценивают величину среднего градиента скорости;

подбирают габариты смесителя, перегородок и шиберов из условия, чтобы расстояния между перегородками были не менее 0,7 м.

Пример 2. Рассчитать перегородчатый смеситель для станции контактного осветления производительностью 100000 м3/сут (2063 м3/ч).

В соответствии с рекомендациями СНиП 2.04.02-84 следует предусмотреть не менее двух смесителей. Соответственно расчетный расход равен 1042,5 м3/ч (34,7 м3/мин = 0,58 м3/с).

Объем смесителя V при времени пребывания в нем воды T = 1,5 мин равен

V = QT = 34,7 × 1,5 = 52,05 м3.

При высоте слоя воды в смесителе h = 4,5 м (соответствующей слою воды во входной камере) площадь смесителя в плане F равна

F = V/h = 52,05 : 4,5 = 11,57 м2.

При значении G = 250 с-1, времени пребывания воды в смесителе 1,5 мин и температуре воды 0,1 °С (по номограмме на рис. 3) необходимая величина потери напора в смесителе составит 1 м.

При установке в смесителе 7 перегородок необходимая потеря напора в одной перегородке составит 0,143 м.

При максимальном перекрытии проема максимальная скорость потока воды в проеме

Минимальная площадь проема составляет

fмин = Q/υмакс = 0,58 : 0,98 = 0,59 м2.

Площадь одного отделения смесителя при количестве перегородок n = 7 составляет

f0 = F/(n + 1) = 11,57/(7 + 1) = 1,45 м2.

Скорость вертикального движения воды между перегородками

υв = Q/f0 = 0,58 : 1,45 = 0,4 м/с,

что соответствует нижнему пределу υмин = υв = 0,4 м/с рекомендуемого диапазона.

Максимальная площадь проема в перегородке

fмакс = Q/υ = 0,58 : 0,4 = 1,45 м2.

Потери напора в смесителе при полностью открытых проемах

H = n·2,9υ2мин/(2g) = 7 × 2,9·0,42/(2 × 9,8) = 0,16 м.

По номограмме на рис. 3 устанавливаем, что этой величине потери напора при температуре воды 20 °С соответствует средний градиент скорости 130 с-1, а при температуре 0,1 °С - 100 с-1, что соответствует нижнему пределу рекомендуемого диапазона значений.

Если в летний период эта интенсивность перемешивания в каком-либо конкретном случае окажется избыточной (что можно заметить по сокращению продолжительности фильтроцикла), то при сохранении полученного значения градиента скорости целесообразно уменьшить время пребывания воды в смесителе, осуществив ввод коагулянта перед четвертой перегородкой. Таким образом, уменьшатся общие затраты энергии на перемешивание воды с коагулянтом.

Отделения смесителя можно расположить в два ряда с поворотом потока в четвертом отделении.

Распределители коагулянта следует установить на входе воды в смеситель и в проеме четвертой перегородки.

Распределитель для ввода флокулянта (полиакриламида или активной кремнекислоты) следует установить на выходе воды из смесителя.

Габариты проектируемого смесителя следует принимать из удобства компоновки с входной камерой, например, 4,8 × 2,4 м. Расстояние между перегородками 1,2 м. Максимальный размер проема 1,2 × 1,2 м. Заглубление верха проемов в перегородках под уровень воды принимается 0,2 м.

33. Для удобства проведения регулирования интенсивности смешения путем изменения положении шиберов над последними коридорами входных камер (в месте установки смесителя) не следует устанавливать емкости с барабанными сетками или микрофильтрами. Изменение вертикального положения шиберов осуществляется с помощью кран-балки или тали с фиксированием заданного их положения.

34. С целью исключения коррозии отдельных конструктивных элементов смесительных устройств перегородки и шибера выполняются деревянными или из других некорродирующих материалов.

35. При наладке и эксплуатации очистных сооружений установление требуемого положения шиберов и определение оптимальных условий перемешивания коагулянта с водой в различные периоды года при изменении качества исходной воды (температуры, мутности, цветности) рекомендуется проводить путем сопоставления продолжительности фильтроциклов для двух контактных осветлителей (или префильтров), расположенных в наиболее близкой и наиболее удаленной точках по отношению к смесителю.

Определение продолжительности фильтроциклов следует проводить последовательно при 3 - 4 положениях подвижных перегородок, соответствующих минимальному, максимальному и промежуточным открытиям окон подвижными перегородками. По результатам испытаний определяется положение шиберов, при котором достигается максимальная продолжительность фильтроцикла, после чего шибера фиксируются в этом положении.

Пример 3. Определить оптимальный режим перемешивания коагулянта с водой на действующей станции контактного осветления в зимний и летний периоды года.

Станция оборудованная перегородчатыми смесителями с подвижными шиберами, описанными в примере 1.

В каждый из указанных периодов года при постоянном качестве воды и дозе коагулянта, обеспечивающей выполнение нормативов ГОСТ 2874-82 по мутности и цветности, определены продолжительности фильтроциклов при четырех значениях потерь напора в смесителе (табл. 2).

Таблица 2

Показатели качества исходной воды

Потеря напора в смесителе, м

Продолжительность фильтроцикла КО, ч

Ц, град.

М, мг/л

t, °С

Зима

 

 

100

5

0,1

1

10

 

0,8

11

 

0,6

10

 

0,4

8

Лето

 

 

70

30

20

1

8

 

0,8

9

 

0,5

10

 

0,3

8

Результаты наблюдений представлены также на рис. 6. Как следует из графиков, максимальная продолжительность фильтроцикла достигается зимой при потере напора в смесителе 0,8 м, летом - 0,5 м.

Рис. 6. Определение оптимальной потери напора в смесителе (к примеру 3):

1 - зимний период; 2 - летний период

СОДЕРЖАНИЕ

 




Яндекс цитирования



   Copyright © 2007-2026,  www.tehlit.ru.

[ ѓосты, стандарты, нормативы, инструкции, правила, строительные нормы ]